CN102853476A - Safe and efficient gas water heater with automatic humidification function - Google Patents
Safe and efficient gas water heater with automatic humidification function Download PDFInfo
- Publication number
- CN102853476A CN102853476A CN2011101763641A CN201110176364A CN102853476A CN 102853476 A CN102853476 A CN 102853476A CN 2011101763641 A CN2011101763641 A CN 2011101763641A CN 201110176364 A CN201110176364 A CN 201110176364A CN 102853476 A CN102853476 A CN 102853476A
- Authority
- CN
- China
- Prior art keywords
- gas
- water
- combustion
- radiator
- humidification
- Prior art date
- Legal status (The legal status is an assumption and is not a legal conclusion. Google has not performed a legal analysis and makes no representation as to the accuracy of the status listed.)
- Pending
Links
- XLYOFNOQVPJJNP-UHFFFAOYSA-N water Substances O XLYOFNOQVPJJNP-UHFFFAOYSA-N 0.000 title claims abstract description 71
- 239000007789 gas Substances 0.000 claims abstract description 49
- 238000002485 combustion reaction Methods 0.000 claims abstract description 30
- 238000010438 heat treatment Methods 0.000 claims abstract description 30
- 239000003546 flue gas Substances 0.000 claims abstract description 11
- UGFAIRIUMAVXCW-UHFFFAOYSA-N Carbon monoxide Chemical compound [O+]#[C-] UGFAIRIUMAVXCW-UHFFFAOYSA-N 0.000 claims abstract description 10
- QVGXLLKOCUKJST-UHFFFAOYSA-N atomic oxygen Chemical compound [O] QVGXLLKOCUKJST-UHFFFAOYSA-N 0.000 claims abstract description 4
- 239000001301 oxygen Substances 0.000 claims abstract description 4
- 229910052760 oxygen Inorganic materials 0.000 claims abstract description 4
- 239000011229 interlayer Substances 0.000 claims description 16
- 239000000779 smoke Substances 0.000 claims description 8
- 239000000567 combustion gas Substances 0.000 claims 3
- 238000007599 discharging Methods 0.000 claims 1
- 239000008236 heating water Substances 0.000 claims 1
- 239000011159 matrix material Substances 0.000 claims 1
- 230000005855 radiation Effects 0.000 claims 1
- 238000000034 method Methods 0.000 description 11
- 230000017525 heat dissipation Effects 0.000 description 7
- 238000002347 injection Methods 0.000 description 7
- 239000007924 injection Substances 0.000 description 7
- 238000009434 installation Methods 0.000 description 4
- 238000005516 engineering process Methods 0.000 description 3
- 238000004891 communication Methods 0.000 description 2
- 238000005728 strengthening Methods 0.000 description 2
- 230000002528 anti-freeze Effects 0.000 description 1
- 230000009286 beneficial effect Effects 0.000 description 1
- 238000005034 decoration Methods 0.000 description 1
- 238000010586 diagram Methods 0.000 description 1
- 238000001035 drying Methods 0.000 description 1
- 230000005611 electricity Effects 0.000 description 1
- 230000002708 enhancing effect Effects 0.000 description 1
- 239000002184 metal Substances 0.000 description 1
- 239000000243 solution Substances 0.000 description 1
Images
Landscapes
- Air Humidification (AREA)
Abstract
本发明专利涉及一种自动加湿安全高效燃气水暖汀,属于燃气热水采暖系统。在热水散热器内腔中嵌入密闭燃烧系统,将燃气输送到燃烧装置,就地燃烧,直接加热水而采暖。散热器水箱上部设水蒸气逸出口,实现自动加湿功能。整个燃烧系统完全封闭,只通过空气管道和排烟管道与室外大气联通,烟气通过微型引风扇排至室外,不消耗室内氧气,不使用机械送风,利用旋转射流燃气喷嘴和燃气自身额定压力实现免驱动全预混燃烧。燃气进气管内藏于空气道内,从室外接入气源。本发明专利所述燃气水暖汀安全舒适、高效节能、成本低、无噪音、可加湿、外形美观、经济适用,适合于分散式采暖。
The patent of the present invention relates to an automatic humidifying safe and high-efficiency gas water heater, which belongs to the gas hot water heating system. A closed combustion system is embedded in the inner cavity of the hot water radiator, and the gas is transported to the combustion device, where it is burned and the water is directly heated for heating. The upper part of the radiator water tank is provided with a water vapor escape port to realize the automatic humidification function. The entire combustion system is completely closed, and only communicates with the outdoor atmosphere through air ducts and exhaust ducts. The flue gas is exhausted to the outside through a micro-induced fan, without consuming indoor oxygen, without using mechanical air supply, and using the rotating jet gas nozzle and the rated pressure of the gas itself. Realize drive-free full premixed combustion. The gas intake pipe is built in the air duct and is connected to the gas source from the outside. The gas water heater described in the patent of the invention is safe and comfortable, highly efficient and energy-saving, low in cost, noiseless, capable of humidification, beautiful in appearance, economical and applicable, and suitable for decentralized heating.
Description
技术领域 technical field
本发明专利涉及一种燃气热水采暖系统,尤其是燃气燃烧装置与热水散热器集成一体的安全高效燃气暖水汀。The patent of the invention relates to a gas-fired hot water heating system, especially a safe and efficient gas-fired water heater integrated with a gas burning device and a hot water radiator.
背景技术 Background technique
目前,利用燃气进行采暖的方式按燃气燃烧装置与散热装置的空间位置分类可分为集中采暖方式和分散采暖方式,将燃气在锅炉中燃烧,集中加热热水,再将热水通过管道输送到各采暖空间的热水散热器进行散热的采暖方式为集中采暖方式,将燃气直接输送到各采暖空间的燃烧装置中,直接燃烧就地放热的采暖方式为分散采暖方式。集中采暖方式安全舒适、清洁卫生,但系统复杂,设备多,成本高,效率低,需专业设计和安装,破坏装修,影响美观,后期维修不便,还需消耗电能驱动水循环和考虑水的防冻问题,适合我国北方需集中供暖地区和南方大型公建和宾馆酒店等有大范围连续采暖需求的地方。而分散式燃气采暖方式如燃气采暖炉或燃气暖风机等由于设备简单、成本低、安装方便、启动迅速,适合于夏热冬冷地区家庭局部临时采暖,但空气品质差,排烟温度高,舒适度低,风机产生噪音,更严重的是有的燃气烤火炉直接消耗室内氧气,甚至将烟气直接排放室内,存在严重安全隐患。另外,以上两种燃气采暖方式都存在不能自动加湿易使空气干燥的缺点。At present, the way of using gas for heating can be divided into centralized heating method and decentralized heating method according to the spatial position of gas burning device and heat dissipation device. The heating method in which the hot water radiators in each heating space dissipate heat is the central heating method, and the gas is directly transported to the combustion device in each heating space, and the heating method in which the direct combustion and local heat release is the decentralized heating method. The central heating method is safe, comfortable, clean and hygienic, but the system is complicated, there are many equipments, the cost is high, and the efficiency is low. It needs professional design and installation, which damages the decoration and affects the appearance. It is inconvenient to maintain later, and it needs to consume electricity to drive the water cycle and consider the problem of water antifreeze. It is suitable for areas that require central heating in northern my country and places that require large-scale continuous heating such as large-scale public buildings and hotels in the south. Distributed gas heating methods such as gas heating furnaces or gas heaters are suitable for local temporary heating of households in hot summer and cold winter regions due to simple equipment, low cost, convenient installation, and quick start-up, but the air quality is poor and the exhaust gas temperature is high. The comfort level is low, the fan produces noise, and what is more serious is that some gas ovens directly consume indoor oxygen, and even discharge the smoke directly into the room, posing serious safety hazards. In addition, the above two gas heating methods all have the disadvantage of not being able to automatically humidify and easily drying the air.
发明内容 Contents of the invention
本发明提供一种能自动加湿、安全高效的燃气水暖系统,该系统克服了现有两种燃气采暖方式的缺点,综合了优点,既具有集中水暖系统舒适安静、安全卫生的特点,又具有燃气烤火炉的设备简单、成本低、使用灵活方便的特点,而且还具有自动加湿功能。要解决的技术问题包括免驱动全预混闭式高效燃烧技术和烟气-水-空气换热强化技术。The invention provides a safe and efficient gas-fired water heating system capable of automatic humidification. The system overcomes the shortcomings of the two existing gas-fired heating methods and integrates the advantages. The oven has the characteristics of simple equipment, low cost, flexible and convenient use, and also has the function of automatic humidification. The technical problems to be solved include drive-free fully premixed closed-type high-efficiency combustion technology and flue gas-water-air heat exchange enhancement technology.
本发明解决其技术问题所采用的技术方案是:在热水散热器内腔中嵌入燃气燃烧装置,使燃气在密闭燃烧室内燃烧,直接加热散热器中的水,再通过散热器外表面将热散至采暖空间。该燃气水暖系统主要由热水散热器、燃气燃烧系统和控制保护系统组成。本发明的热水散热器由金属平板制作而成的夹层水套构成,中间是一个扁平的矩形内腔,燃烧装置藏于内腔下部,内腔中上部布置烟气换热管以强化烟气-水换热和降低排烟温度,管子与夹层联通。夹层中注入水,夹层上部留有供水膨胀的空间,设有注水口和水蒸气逸出口。注水口周向开小孔,带内螺纹。水蒸气逸出口是一个开度可调节的旋塞,旋塞为倒凹型,有外螺纹,中间开有针孔,在周向开有小孔,旋塞旋入注水口内。通过旋入深度与角度,调节水蒸汽逸出口开度,以实现可调节的自动加湿。夹层下部设有泄水口供排尽夹层中的水用。热水散热器可以通过沿厚度方向外挂平板夹层来成倍扩展散热面积,实现水-空气强化换热。外挂的平板夹层通过上下部设置的水连通管与主热水散热器联通,通过自然对流自动实现热水循环。本发明的燃烧系统主要由空气管道、燃烧装置、烟气腔和排烟管道组成。为确保燃气和烟气不泄漏,采取的主要措施是将整个燃烧系统完全封闭在夹层水套内部,只通过空气管道和排烟管道与室外大气联通。排烟管道设在主热水散热器内腔顶部,水平穿过热水夹层伸出室外。排烟管道出口处装有微型排风扇,以实现微负压燃烧,进一步保证燃气和烟气不向室内泄漏。空气管道分水平部分和垂直部分,水平部分套在排烟管道外构成烟气-空气预热器,垂直部分在热水散热器背面处转折向下连接到散热器内腔下部燃烧室。这样,燃烧所需空气全部来至室外,不消耗室内氧气。燃烧系统的核心为燃烧装置,包括燃气喷嘴、缩放喷管和燃烧头,置于热水散热器内腔下部燃烧室。为实现密闭空间的完全燃烧,保证足够空气供给非常关键。为了克服空气管道阻力,利用燃气自身压力实现空气足够供给,加强燃气射流对空气的卷吸非常必要。为此,燃气喷嘴采用旋转射流喷嘴,该喷嘴利用燃气的额定压力,将燃气从喷嘴中高速旋转射出,从风道中卷吸足够的空气,经喷管充分混合和扩压后,从高效无焰红外燃烧头流出,实现全预混充分燃烧。由于燃烧室处于负压,加上旋转射流对空气卷吸的强化,实现了免驱动全预混燃烧。燃气进气管内藏于空气道内,从室外接入气源。本发明的控制保护系统主要为点火装置、熄火保护、热水温度控制、空气湿度控制等,再次为系统的安全运行提供保障。本发明采用多重技术,彻底根除目前燃气烤火炉的安全隐患,保证室内空气品质干净卫生。又由于采用热水自然对流对房间加热和加湿,且不使用水泵和风机,所以热舒适度高,环境安静无噪,热效率高,运行费用低。The technical solution adopted by the present invention to solve the technical problem is: a gas burning device is embedded in the inner cavity of the hot water radiator, so that the gas burns in the closed combustion chamber, directly heats the water in the radiator, and then passes the heat through the outer surface of the radiator. Diffuse into heated spaces. The gas water heating system is mainly composed of a hot water radiator, a gas combustion system and a control and protection system. The hot water radiator of the present invention is composed of a sandwich water jacket made of a metal plate, with a flat rectangular inner cavity in the middle, the combustion device is hidden in the lower part of the inner cavity, and a flue gas heat exchange tube is arranged in the upper part of the inner cavity to strengthen the flue gas. -Water heat exchange and lower exhaust gas temperature, pipes communicate with the interlayer. Water is injected into the interlayer, and the upper part of the interlayer leaves a space for water supply and expansion, and is provided with a water injection port and a water vapor escape port. The water injection port is provided with small holes in the circumferential direction and internal threads. The steam escape outlet is a cock with an adjustable opening. The cock is concave and has external threads. There are pinholes in the middle and small holes in the circumferential direction. The cock is screwed into the water injection port. By screwing in the depth and angle, the opening of the water vapor escape port is adjusted to achieve adjustable automatic humidification. The lower part of the interlayer is provided with a water outlet for draining the water in the interlayer. The hot water radiator can double the heat dissipation area by hanging the flat plate interlayer along the thickness direction, and realize the water-air enhanced heat exchange. The external flat interlayer communicates with the main hot water radiator through the water connecting pipes provided at the upper and lower parts, and automatically realizes hot water circulation through natural convection. The combustion system of the present invention is mainly composed of an air duct, a combustion device, a flue gas chamber and a flue exhaust duct. In order to ensure no leakage of gas and flue gas, the main measure taken is to completely seal the entire combustion system inside the interlayer water jacket, and communicate with the outdoor atmosphere only through air pipes and smoke exhaust pipes. The smoke exhaust pipe is arranged on the top of the inner cavity of the main hot water radiator, and horizontally passes through the hot water interlayer and protrudes outside. A micro-exhaust fan is installed at the outlet of the smoke exhaust pipe to achieve micro-negative pressure combustion and further ensure that gas and smoke do not leak into the room. The air pipe is divided into a horizontal part and a vertical part. The horizontal part is set outside the smoke exhaust pipe to form a flue gas-air preheater. The vertical part turns at the back of the hot water radiator and connects downward to the combustion chamber at the lower part of the radiator inner cavity. Like this, the air required for combustion all comes outside, does not consume indoor oxygen. The core of the combustion system is the combustion device, including gas nozzles, zoom nozzles and combustion heads, which are placed in the combustion chamber at the lower part of the inner cavity of the hot water radiator. In order to achieve complete combustion in a confined space, it is critical to ensure sufficient air supply. In order to overcome the resistance of the air pipeline and realize sufficient air supply by using the pressure of the gas itself, it is necessary to strengthen the entrainment of the air by the gas jet. To this end, the gas nozzle adopts a rotating jet nozzle, which utilizes the rated pressure of the gas to rotate and inject the gas from the nozzle at high speed, entrains enough air from the air duct, and after being fully mixed and diffused by the nozzle, the high-efficiency flameless The infrared combustion head flows out to realize fully premixed and complete combustion. Due to the negative pressure in the combustion chamber and the enhancement of air entrainment by the rotating jet, the drive-free fully premixed combustion is realized. The gas intake pipe is built in the air duct and is connected to the gas source from the outside. The control and protection system of the present invention mainly includes ignition device, flameout protection, hot water temperature control, air humidity control, etc., again providing guarantee for the safe operation of the system. The invention adopts multiple technologies to thoroughly eradicate the safety hazards of the current gas-fired ovens and ensure clean and hygienic indoor air quality. And because the hot water natural convection is used to heat and humidify the room, and no water pump and fan are used, the thermal comfort is high, the environment is quiet and noiseless, the thermal efficiency is high, and the operating cost is low.
本发明的有益效果是:安全舒适,高效节能,成本低,无噪音,可加湿,外形美观,经济适用。The beneficial effects of the invention are: safety and comfort, high efficiency and energy saving, low cost, no noise, humidification, beautiful appearance, economical and applicable.
附图说明 Description of drawings
下面结合附图和实施例对本发明进一步说明。The present invention will be further described below in conjunction with the accompanying drawings and embodiments.
图1是自动加湿安全高效燃气水暖汀的正面图。Fig. 1 is a front view of an automatic humidifying safe and high-efficiency gas water heater.
图2是自动加湿安全高效燃气水暖汀的侧面图。Fig. 2 is a side view of an automatic humidifying safe and high-efficiency gas water heater.
图3是安装实施例剖面图。Fig. 3 is a sectional view of an installation embodiment.
图4是扩展散热面与主散热面连接示意图。FIG. 4 is a schematic diagram of the connection between the extended heat dissipation surface and the main heat dissipation surface.
图5是注水口与旋塞剖面图。Fig. 5 is a sectional view of the water injection port and the cock.
具体实施方式 Detailed ways
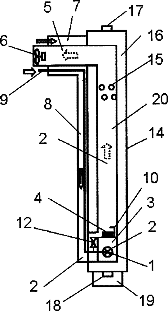
图中1-喷嘴,2-喷管,3-混合室,4-燃烧头,5-排烟管道,6-微型排风扇,7-进风道水平部分,8-空气道竖向部分,9-燃气管,10-点火针,11-熄火保护针,12-电磁阀,13-温度传感器,14-散热器外表面,15-烟气-水换热强化管,16-热水夹层,17-注水口,18-泄水口,19-支脚,20-烟气腔,21-外墙,22-电源控制按纽,23-热水-空气强化散热热水夹层,24-联通管,25-旋塞In the figure 1-nozzle, 2-nozzle, 3-mixing chamber, 4-combustion head, 5-exhaust pipe, 6-miniature exhaust fan, 7-horizontal part of air inlet, 8-vertical part of air duct, 9- Gas pipe, 10-ignition pin, 11-flame protection pin, 12-solenoid valve, 13-temperature sensor, 14-outer surface of radiator, 15-flue gas-water heat exchange strengthening tube, 16-hot water interlayer, 17- Water injection port, 18-drain outlet, 19-foot, 20-flue gas chamber, 21-outer wall, 22-power control button, 23-hot water-air enhanced heat dissipation hot water interlayer, 24-communication pipe, 25-cock
在图1、图2中,燃气经燃气管(9)从外部引入,经过喷嘴(1),利用自身压力变成高速旋转射流,从与室外相通的风道(8)中卷吸足够的空气,经过缩放喷管(2)充分混合和扩压后送至混合室(3),再经燃烧头(4)燃烧;充分燃烧后的烟气,在烟气腔(20)中上升并放热,再与烟气-水换热强化管(15)交换热量后经排烟管道(5)排出。微型排风扇(6)使烟气腔(20)保持微负压。烟气加热热水夹层(16)中的水,热水经过散热器外表面(14)散热。热水的温度通过温度传感器(13)和电磁阀(12)控制。利用注水口(17)和旋塞(25)的配合,调节水蒸汽逸量,实现对空气自动加湿。旋塞(25)可手动或自动。熄火保护针(11)与燃气电磁阀联动,确保安全。In Figure 1 and Figure 2, the gas is introduced from the outside through the gas pipe (9), passes through the nozzle (1), uses its own pressure to become a high-speed rotating jet, and entrains enough air from the air duct (8) communicating with the outside , after being fully mixed and diffused by the scaling nozzle (2), it is sent to the mixing chamber (3), and then burned by the combustion head (4); the fully burned flue gas rises in the flue gas chamber (20) and releases heat , and then discharge through the exhaust pipe (5) after exchanging heat with the flue gas-water heat exchange strengthening tube (15). The miniature exhaust fan (6) keeps the flue gas cavity (20) at a slight negative pressure. The flue gas heats the water in the hot water interlayer (16), and the hot water dissipates heat through the radiator outer surface (14). The temperature of hot water is controlled by temperature sensor (13) and electromagnetic valve (12). Utilize the cooperation of the water injection port (17) and the cock (25) to adjust the fugitive amount of water vapor and realize the automatic humidification of the air. The cock (25) can be manually or automatically. The flameout protection pin (11) is linked with the gas solenoid valve to ensure safety.
在图3安装实施例剖面图中,在外墙开孔,将烟气排烟管道(5)和空气进气管道(7)组成的套筒伸出室外。燃气管内藏于空气道(7)中。燃气接口设在室外。In the sectional view of the installation embodiment in Fig. 3, a hole is opened in the outer wall, and the sleeve composed of the smoke exhaust duct (5) and the air intake duct (7) is stretched out of the room. The gas pipe is embedded in the air duct (7). The gas connection is located outdoors.
在图4中,强化散热时,可在散热器厚度方向外挂热水-空气强化散热热水夹层(23),通过联通管(24)与主散热器联通,其中的水利用自然对流实现循环。In Fig. 4, when enhancing heat dissipation, a hot water-air heat dissipation hot water interlayer (23) can be hung outside the thickness direction of the radiator, and communicated with the main radiator through a communication pipe (24), and the water in it can be circulated by natural convection.
在图5中,调节旋塞(25)旋入注水口(17)的深度和角度,控制蒸汽出口的面积,从而控制加湿量。旋塞(25)可手动或自动控制。In Fig. 5, adjust the depth and angle of the cock (25) screwed into the water injection port (17) to control the area of the steam outlet, thereby controlling the amount of humidification. The cock (25) can be controlled manually or automatically.
Claims (5)
Priority Applications (1)
| Application Number | Priority Date | Filing Date | Title |
|---|---|---|---|
| CN2011101763641A CN102853476A (en) | 2011-06-28 | 2011-06-28 | Safe and efficient gas water heater with automatic humidification function |
Applications Claiming Priority (1)
| Application Number | Priority Date | Filing Date | Title |
|---|---|---|---|
| CN2011101763641A CN102853476A (en) | 2011-06-28 | 2011-06-28 | Safe and efficient gas water heater with automatic humidification function |
Publications (1)
| Publication Number | Publication Date |
|---|---|
| CN102853476A true CN102853476A (en) | 2013-01-02 |
Family
ID=47400294
Family Applications (1)
| Application Number | Title | Priority Date | Filing Date |
|---|---|---|---|
| CN2011101763641A Pending CN102853476A (en) | 2011-06-28 | 2011-06-28 | Safe and efficient gas water heater with automatic humidification function |
Country Status (1)
| Country | Link |
|---|---|
| CN (1) | CN102853476A (en) |
Citations (6)
| Publication number | Priority date | Publication date | Assignee | Title |
|---|---|---|---|---|
| CN86207261U (en) * | 1986-09-26 | 1987-08-12 | 天津市土木工程学会煤气工程分科学会 | Domestic efficient gas warmer |
| CN2069537U (en) * | 1990-07-30 | 1991-01-16 | 温沛林 | Gas burner for warming |
| CN2246775Y (en) * | 1996-01-26 | 1997-02-05 | 薛占平 | Multi-functional radiator |
| CN2478001Y (en) * | 2001-02-12 | 2002-02-20 | 何国辉 | Gas warmer |
| CN201772561U (en) * | 2010-07-21 | 2011-03-23 | 美的集团有限公司 | Built-in humidifying device of warmer |
| CN202118998U (en) * | 2011-06-28 | 2012-01-18 | 敬成君 | Automatic humidification safe high-efficient gas water heating device |
-
2011
- 2011-06-28 CN CN2011101763641A patent/CN102853476A/en active Pending
Patent Citations (6)
| Publication number | Priority date | Publication date | Assignee | Title |
|---|---|---|---|---|
| CN86207261U (en) * | 1986-09-26 | 1987-08-12 | 天津市土木工程学会煤气工程分科学会 | Domestic efficient gas warmer |
| CN2069537U (en) * | 1990-07-30 | 1991-01-16 | 温沛林 | Gas burner for warming |
| CN2246775Y (en) * | 1996-01-26 | 1997-02-05 | 薛占平 | Multi-functional radiator |
| CN2478001Y (en) * | 2001-02-12 | 2002-02-20 | 何国辉 | Gas warmer |
| CN201772561U (en) * | 2010-07-21 | 2011-03-23 | 美的集团有限公司 | Built-in humidifying device of warmer |
| CN202118998U (en) * | 2011-06-28 | 2012-01-18 | 敬成君 | Automatic humidification safe high-efficient gas water heating device |
Similar Documents
| Publication | Publication Date | Title |
|---|---|---|
| CN105387613A (en) | Sectionalized combustion type gas-fired water heating furnace | |
| CN205174787U (en) | Gas heating water heater of formula of burning by stage | |
| CN110986098B (en) | Gas multi-function stove | |
| CN203964125U (en) | A kind of intelligent electromagnetic heating water warmer | |
| CN201615538U (en) | Double-source wall-mounted boiler | |
| CN102116501A (en) | Hybrid power wall-hung boiler | |
| CN206563419U (en) | Domestic energy-saving gas boiler | |
| CN201844612U (en) | Water heater capable of using cold air | |
| CN202118998U (en) | Automatic humidification safe high-efficient gas water heating device | |
| CN205717193U (en) | An energy-saving gas stove with an integrated heat energy recovery and utilization device | |
| CN102853476A (en) | Safe and efficient gas water heater with automatic humidification function | |
| CN209623110U (en) | A kind of burnt gas wall hanging furnace | |
| CN204629684U (en) | A kind of novel Total heat exchange heating system | |
| CN206145952U (en) | High -efficient type sectional type hanging stove | |
| CN211781248U (en) | Gas multifunctional stove | |
| CN202328496U (en) | Split type gas water heating device capable of automatic humidification | |
| CN205447846U (en) | Novel energy -saving heating stove | |
| CN103398413A (en) | Intelligent water electromagnetic heating warmer | |
| CN203907732U (en) | Economic building heating and ventilation system | |
| CN103411261B (en) | The automatic warm keeping apparatus and method of building energy conservation | |
| CN102384522A (en) | Split-type automatic-humidification gas water heater | |
| CN106016730A (en) | Wall-mounting type gas boiler | |
| CN201875776U (en) | Integrated oven integrated with water heaters using various energy sources | |
| CN2511875Y (en) | Combustion accelerator for gas cooker | |
| CN110332594A (en) | Heating stove with circulating humidifying mechanism |
Legal Events
| Date | Code | Title | Description |
|---|---|---|---|
| C06 | Publication | ||
| PB01 | Publication | ||
| C10 | Entry into substantive examination | ||
| SE01 | Entry into force of request for substantive examination | ||
| ASS | Succession or assignment of patent right |
Owner name: SICHUAN UNIVERSITY Free format text: FORMER OWNER: JING CHENGJUN Effective date: 20130228 |
|
| C41 | Transfer of patent application or patent right or utility model | ||
| C53 | Correction of patent of invention or patent application | ||
| CB03 | Change of inventor or designer information |
Inventor after: Jing Chengjun Inventor after: Bai Yinfu Inventor after: Jia Chenxia Inventor after: Yan Xiaoguang Inventor after: Hu Zheng Inventor after: Li Bing Inventor after: Huo Haie Inventor after: Duan Shuangping Inventor after: Ye Xiaoxuan Inventor after: Zhang Xuanming Inventor before: Jing Chengjun |
|
| COR | Change of bibliographic data |
Free format text: CORRECT: INVENTOR; FROM: JING CHENGJUN TO: JING CHENGJUN JIA CHENXIA YAN XIAOGUANG HU ZHENG LI BINGHUO HAIE DUAN SHUANGPING YE XIAOXUAN ZHANG XUANMING BAI YINFU Free format text: CORRECT: ADDRESS; FROM: 610041 CHENGDU, SICHUAN PROVINCE TO: 610000 CHENGDU, SICHUAN PROVINCE |
|
| TA01 | Transfer of patent application right |
Effective date of registration: 20130228 Address after: 610000 Sichuan, Chengdu, South Ring Road, No. 1, No. 24 Applicant after: Sichuan University Address before: Wuhou District Chengdu City, Sichuan Province, 610041 Mill Lane No. 8 1-3-15 Applicant before: Jing Chengjun |
|
| C02 | Deemed withdrawal of patent application after publication (patent law 2001) | ||
| WD01 | Invention patent application deemed withdrawn after publication |
Application publication date: 20130102 |
