CN102827765B - Split heating biogas digester - Google Patents

Split heating biogas digester Download PDF

Info

Publication number
CN102827765B
CN102827765B CN201210262188.8A CN201210262188A CN102827765B CN 102827765 B CN102827765 B CN 102827765B CN 201210262188 A CN201210262188 A CN 201210262188A CN 102827765 B CN102827765 B CN 102827765B
Authority
CN
China
Prior art keywords
biogas
temperature
reactor
efficiency
methane
Prior art date
Legal status (The legal status is an assumption and is not a legal conclusion. Google has not performed a legal analysis and makes no representation as to the accuracy of the status listed.)
Expired - Fee Related
Application number
CN201210262188.8A
Other languages
Chinese (zh)
Other versions
CN102827765A (en
Inventor
李金洋
刘庆玉
敖永华
张敏
李轶
孙清
陈东雨
赵玲
谷士艳
张春梅
牛卫生
高微
Current Assignee (The listed assignees may be inaccurate. Google has not performed a legal analysis and makes no representation or warranty as to the accuracy of the list.)
Shenyang Agricultural University
Original Assignee
Shenyang Agricultural University
Priority date (The priority date is an assumption and is not a legal conclusion. Google has not performed a legal analysis and makes no representation as to the accuracy of the date listed.)
Filing date
Publication date
Application filed by Shenyang Agricultural University filed Critical Shenyang Agricultural University
Priority to CN201210262188.8A priority Critical patent/CN102827765B/en
Publication of CN102827765A publication Critical patent/CN102827765A/en
Application granted granted Critical
Publication of CN102827765B publication Critical patent/CN102827765B/en
Expired - Fee Related legal-status Critical Current
Anticipated expiration legal-status Critical

Links

Images

Classifications

    • CCHEMISTRY; METALLURGY
    • C12BIOCHEMISTRY; BEER; SPIRITS; WINE; VINEGAR; MICROBIOLOGY; ENZYMOLOGY; MUTATION OR GENETIC ENGINEERING
    • C12MAPPARATUS FOR ENZYMOLOGY OR MICROBIOLOGY; APPARATUS FOR CULTURING MICROORGANISMS FOR PRODUCING BIOMASS, FOR GROWING CELLS OR FOR OBTAINING FERMENTATION OR METABOLIC PRODUCTS, i.e. BIOREACTORS OR FERMENTERS
    • C12M21/00Bioreactors or fermenters specially adapted for specific uses
    • C12M21/04Bioreactors or fermenters specially adapted for specific uses for producing gas, e.g. biogas
    • CCHEMISTRY; METALLURGY
    • C12BIOCHEMISTRY; BEER; SPIRITS; WINE; VINEGAR; MICROBIOLOGY; ENZYMOLOGY; MUTATION OR GENETIC ENGINEERING
    • C12MAPPARATUS FOR ENZYMOLOGY OR MICROBIOLOGY; APPARATUS FOR CULTURING MICROORGANISMS FOR PRODUCING BIOMASS, FOR GROWING CELLS OR FOR OBTAINING FERMENTATION OR METABOLIC PRODUCTS, i.e. BIOREACTORS OR FERMENTERS
    • C12M41/00Means for regulation, monitoring, measurement or control, e.g. flow regulation
    • C12M41/12Means for regulation, monitoring, measurement or control, e.g. flow regulation of temperature
    • CCHEMISTRY; METALLURGY
    • C12BIOCHEMISTRY; BEER; SPIRITS; WINE; VINEGAR; MICROBIOLOGY; ENZYMOLOGY; MUTATION OR GENETIC ENGINEERING
    • C12MAPPARATUS FOR ENZYMOLOGY OR MICROBIOLOGY; APPARATUS FOR CULTURING MICROORGANISMS FOR PRODUCING BIOMASS, FOR GROWING CELLS OR FOR OBTAINING FERMENTATION OR METABOLIC PRODUCTS, i.e. BIOREACTORS OR FERMENTERS
    • C12M41/00Means for regulation, monitoring, measurement or control, e.g. flow regulation
    • C12M41/12Means for regulation, monitoring, measurement or control, e.g. flow regulation of temperature
    • C12M41/18Heat exchange systems, e.g. heat jackets or outer envelopes
    • C12M41/24Heat exchange systems, e.g. heat jackets or outer envelopes inside the vessel
    • YGENERAL TAGGING OF NEW TECHNOLOGICAL DEVELOPMENTS; GENERAL TAGGING OF CROSS-SECTIONAL TECHNOLOGIES SPANNING OVER SEVERAL SECTIONS OF THE IPC; TECHNICAL SUBJECTS COVERED BY FORMER USPC CROSS-REFERENCE ART COLLECTIONS [XRACs] AND DIGESTS
    • Y02TECHNOLOGIES OR APPLICATIONS FOR MITIGATION OR ADAPTATION AGAINST CLIMATE CHANGE
    • Y02EREDUCTION OF GREENHOUSE GAS [GHG] EMISSIONS, RELATED TO ENERGY GENERATION, TRANSMISSION OR DISTRIBUTION
    • Y02E50/00Technologies for the production of fuel of non-fossil origin
    • Y02E50/30Fuel from waste, e.g. synthetic alcohol or diesel

Landscapes

  • Chemical & Material Sciences (AREA)
  • Health & Medical Sciences (AREA)
  • Life Sciences & Earth Sciences (AREA)
  • Engineering & Computer Science (AREA)
  • Wood Science & Technology (AREA)
  • Organic Chemistry (AREA)
  • Bioinformatics & Cheminformatics (AREA)
  • Zoology (AREA)
  • Genetics & Genomics (AREA)
  • Microbiology (AREA)
  • General Health & Medical Sciences (AREA)
  • Sustainable Development (AREA)
  • Biotechnology (AREA)
  • Biomedical Technology (AREA)
  • Biochemistry (AREA)
  • General Engineering & Computer Science (AREA)
  • Physics & Mathematics (AREA)
  • Analytical Chemistry (AREA)
  • Thermal Sciences (AREA)
  • Molecular Biology (AREA)
  • General Chemical & Material Sciences (AREA)
  • Oil, Petroleum & Natural Gas (AREA)
  • Apparatus Associated With Microorganisms And Enzymes (AREA)

Abstract

一种分体式增温沼气池,包括沼气池和高效沼气反应器,其特征是:高效沼气反应器内部设置换热器,外部设保温层,其进、出料管与沼气池相连接,出气管与沼气池的出气管相连接;在高效沼气反应器的进料管上组装水泵,高效沼气反应器内设置温控仪的温度传感器,温控仪连接水泵;高效沼气反应器内的换热器与热水进出水管连接。本发明的积极效果在普通沼气池上增加高效沼气反应器进行增温,便于对普通沼气池的改造,降低了增温保温的建设成本。通过增温,保证了高效沼气反应器内的温度,同时也提高了沼气池内的温度,增加了沼气产气率。通过水泵循环起到了搅拌作用,促进了沼气发酵。

Figure 201210262188

A split-type temperature-increasing biogas digester, including a biogas digester and a high-efficiency biogas reactor, is characterized in that: a heat exchanger is arranged inside the high-efficiency biogas reactor, and an insulation layer is arranged on the outside; The air pipe is connected with the outlet pipe of the biogas digester; the water pump is assembled on the feed pipe of the high-efficiency biogas reactor, the temperature sensor of the temperature controller is installed in the high-efficiency biogas reactor, and the temperature controller is connected to the water pump; the heat exchange in the high-efficiency biogas reactor The appliance is connected to the hot water inlet and outlet pipes. The positive effect of the present invention is to add a high-efficiency biogas reactor to the ordinary biogas tank to increase the temperature, which facilitates the transformation of the ordinary biogas tank and reduces the construction cost of warming and heat preservation. By increasing the temperature, the temperature in the high-efficiency biogas reactor is ensured, and at the same time, the temperature in the biogas tank is increased, and the biogas production rate is increased. The stirring effect is played by the water pump circulation, which promotes the biogas fermentation.

Figure 201210262188

Description

Split type temperature-raising marsh pool
Technical field
The present invention relates to a kind of biogas generating device, particularly a kind of split type temperature-raising marsh pool.
Background technology
Biogas is a kind of renewable energy source, the generation of being fermented in methane-generating pit by organism.Temperature is one of key factor affecting biogas fermentation aerogenesis rate, and when methane-generating pit temperature is when more than 15 ℃, biogas fermentation could carry out preferably, and 35 ℃ is a peak of biogas fermentation aerogenesis.Temperature in methane-generating pit is with changing season.The northern area of China cold in winter is very long, and temperature, surface temperature are lower, and methane tank gas production rate is low, cannot meet peasant household's demand, causes winter methane-generating pit to have a large amount of idle problems.Even if in summer, be subject to the impact of ground temperature, the temperature in methane-generating pit is not high yet, and the factor of created gase of methane-generating pit is affected.For improving the temperature of methane-generating pit, conventionally take measures methane-generating pit to heat, methane-generating pit volume is larger, not only makes that to heat the heat needing more for whole methane-generating pit, and the radiating surface of methane-generating pit is also larger simultaneously, and heat dissipation capacity is also many.If built methane-generating pit is carried out to temperature raising and maintaining, also need again to excavate methane-generating pit and construct, difficulty increases.
Summary of the invention
The object of this invention is to provide a kind of split type temperature-raising marsh pool, improve the temperature of biogas fermentation, improve biogas fermentation condition, improve production rate of methane.
The invention provides following technical scheme: comprise methane-generating pit and efficient methane reactor, it is characterized in that: efficient methane inside reactor arranges interchanger, thermal insulation layer is established in outside, and its charging and discharging pipe is connected with methane-generating pit, and escape pipe is connected with the escape pipe of methane-generating pit; On the feed-pipe of efficient methane reactor, assemble water pump, the temperature sensor of temperature controller is set in efficient methane reactor, temperature controller connects water pump; Interchanger in efficient methane reactor arranges into hot-water line and rising pipe.
Positively effect of the present invention: increase efficient methane reactor and heat on common methane-generating pit, be convenient to common methane-generating pit to transform, reduced the construction cost of temperature raising and maintaining.By taking to heat measure, guaranteed the leavening temperature in efficient methane reactor, also improved the temperature in methane-generating pit simultaneously, increased production rate of methane.By water pump, circulate and played stirring action, promoted biogas fermentation.
accompanying drawing explanation
Fig. 1 is structural representation of the present invention.
Fig. 2 is the structure iron of efficient methane reactor.
Fig. 3 is temperature controller and water pump junction circuit principle schematic.
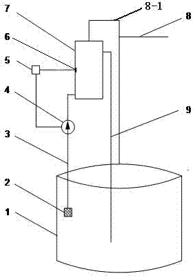
Component serial number explanation in figure: methane-generating pit 1; Strainer 2; Feed-pipe 3; Water pump 4; Temperature controller 5; Temperature sensor 6; Efficient methane reactor 7; Escape pipe 8,8-1; Discharge nozzle 9; Interchanger 10; Heat-storing material 11; Thermal insulation layer 12.
Embodiment
As shown in accompanying drawing 1-3, the present invention is comprised of major portions such as methane-generating pit 1, efficient methane reactor 7, temperature controller 5, water pumps 4.Efficient methane reactor 7 inside arrange interchanger 10; Efficient methane reactor 7 connects charging and discharging pipe 3,9 and escape pipe 8, the charging and discharging pipe 3,9 of efficient methane reactor 7 connects methane-generating pit 1, the opening for feed of feed-pipe 3 is positioned at methane-generating pit middle part, for preventing stopping up, the strainer 2 that filtering net surrounds is housed before opening for feed; On feed-pipe 3, connect water pump 4; The escape pipe 8-1 of efficient methane reactor 7 connects the escape pipe 8 of methane-generating pit; The temperature sensor 6 of temperature controller 5 can adopt thermal resistance type sensor, is arranged in efficient methane reactor 7, for controlling the running of water pump 4; If water pump 4 power are less, temperature controller 5 can directly be connected with water pump 4; If water pump 4 power are larger, can on temperature controller 5, increase rly. and be connected with water pump 4, as shown in Figure 3.The interchanger 10 of efficient methane reactor is connected with the water inlet pipe and water outlet pipe of hot water.
Efficient methane reactor can add heat-storing material layer 11 and carry out accumulation of heat, and to improve the stability of leavening temperature, the heat-storing material of heat-storing material layer 11 can adopt phase change heat storage material, as paraffin, Na 2sO 410H 2o etc., are used after encapsulation.In efficient methane reactor outside, adding lagging material 12 is incubated.Described efficient methane reactor 7 can adopt the anaerobic reactor of the patterns such as fluidized-bed or up-flow anaerobic sludge blanket.Hot water in described interchanger can utilize the low-grade energy heating such as sun power, biomass energy, waste heat to obtain.
Principle of work: send in efficient methane reactor 7 with the natural pond liquid that water pump 4 extracts in methane-generating pit 1, hot water inflow heat exchanger 10 is rear to be heated efficient methane reactor 7, with temperature controller 5, control temperature in efficient methane reactors 7 in optimal temperature, temperature controller has bound function, during higher than design temperature, can open water pump, during lower than design temperature, switch off the pump.When temperature raises, temperature controller 5 is controlled water pump 4 unlatchings, low temperature natural pond liquid pump in methane-generating pit is entered in reactor, high temperature natural pond liquid in efficient methane reactor 7 is discharged in methane-generating pit 1, maintain the temperature in efficient methane reactor 7, make the temperature in methane-generating pit 1 improve simultaneously, so continuous circulation, when guaranteeing efficient methane reactor temperature, can progressively improve the temperature in methane-generating pit 1.When arriving control temperature, water pump quits work, and in efficient methane reactor 7, maintains leavening temperature.

Claims (2)

1.一种分体式增温沼气池,包括沼气池和高效沼气反应器,其特征是:高效沼气反应器内部设置换热器,外部设保温层,其进、出料管与沼气池相连接,出气管与沼气池的出气管相连接;在高效沼气反应器的进料管上组装水泵,高效沼气反应器内设置温控仪的温度传感器,温控仪连接水泵;高效沼气反应器内的换热器与热水进出水管连接。 1. A split-type temperature-increasing biogas digester, including a biogas digester and a high-efficiency biogas reactor, characterized in that: the high-efficiency biogas reactor is provided with a heat exchanger inside and an insulation layer outside, and its inlet and outlet pipes are connected with the biogas digester , the outlet pipe is connected with the outlet pipe of the biogas digester; the water pump is assembled on the feed pipe of the high-efficiency biogas reactor, the temperature sensor of the temperature controller is installed in the high-efficiency biogas reactor, and the temperature controller is connected to the water pump; the high-efficiency biogas reactor The heat exchanger is connected with the hot water inlet and outlet pipes. 2.根据权利要求1所述的分体式增温沼气池,其特征是:在高效沼气反应器内设有蓄热材料层,在外部设有保温材料层。 2. The split-type temperature-increasing biogas digester according to claim 1, characterized in that: a thermal storage material layer is provided inside the high-efficiency biogas reactor, and a thermal insulation material layer is provided outside.
CN201210262188.8A 2012-07-27 2012-07-27 Split heating biogas digester Expired - Fee Related CN102827765B (en)

Priority Applications (1)

Application Number Priority Date Filing Date Title
CN201210262188.8A CN102827765B (en) 2012-07-27 2012-07-27 Split heating biogas digester

Applications Claiming Priority (1)

Application Number Priority Date Filing Date Title
CN201210262188.8A CN102827765B (en) 2012-07-27 2012-07-27 Split heating biogas digester

Publications (2)

Publication Number Publication Date
CN102827765A CN102827765A (en) 2012-12-19
CN102827765B true CN102827765B (en) 2014-03-05

Family

ID=47331079

Family Applications (1)

Application Number Title Priority Date Filing Date
CN201210262188.8A Expired - Fee Related CN102827765B (en) 2012-07-27 2012-07-27 Split heating biogas digester

Country Status (1)

Country Link
CN (1) CN102827765B (en)

Families Citing this family (1)

* Cited by examiner, † Cited by third party
Publication number Priority date Publication date Assignee Title
CN109735436A (en) * 2019-01-07 2019-05-10 安徽农业大学 A biogas digester with a water circulation heating tube inside the pool wall

Citations (4)

* Cited by examiner, † Cited by third party
Publication number Priority date Publication date Assignee Title
CN2743668Y (en) * 2004-09-27 2005-11-30 孔繁鹏 Separated sewage gas tank
CN101348765A (en) * 2008-06-06 2009-01-21 兰州理工大学 Three-stage constant temperature biogas production system
CN201442939U (en) * 2009-03-23 2010-04-28 罗竞明 Combined reversible circulated biogas pool
CN202730119U (en) * 2012-07-27 2013-02-13 沈阳农业大学 Split type heating biogas digester

Patent Citations (4)

* Cited by examiner, † Cited by third party
Publication number Priority date Publication date Assignee Title
CN2743668Y (en) * 2004-09-27 2005-11-30 孔繁鹏 Separated sewage gas tank
CN101348765A (en) * 2008-06-06 2009-01-21 兰州理工大学 Three-stage constant temperature biogas production system
CN201442939U (en) * 2009-03-23 2010-04-28 罗竞明 Combined reversible circulated biogas pool
CN202730119U (en) * 2012-07-27 2013-02-13 沈阳农业大学 Split type heating biogas digester

Also Published As

Publication number Publication date
CN102827765A (en) 2012-12-19

Similar Documents

Publication Publication Date Title
CN102297525B (en) High-temperature anaerobic fermentation heating system of solar energy-biogas slurry waste heat recovery type heat pump and operation control method
CN103087901B (en) Distributed biological fermentation energy supply system
CN201362714Y (en) Heating device for domestic heat supply biogas generating pit
CN201183793Y (en) Biogas boiler heating biogas digester
CN202297602U (en) Solar dry fermentation methane tank device
CN201873678U (en) Solar auxiliary heating countryside household methane system
CN101130749B (en) System for heat-producing sludge gas by combination of solar and electric heating tubes
CN202912950U (en) Biogas digester
CN202958400U (en) Floor heating system of pig farm hog house
CN203741339U (en) Methane fermentation device
CN102827765B (en) Split heating biogas digester
CN202730119U (en) Split type heating biogas digester
CN101693869A (en) Wind-solar complementary anaerobic fermentation temperature increase heat-insulation device and method thereof
CN203346382U (en) Solar constant-temperature methane fermentation tank
CN202350388U (en) Composite low-grade heat source heat pump heating system used in two-stage anaerobic fermentation process
CN206014926U (en) A kind of hot water storage tank formula solar-energy methane pit
CN206014927U (en) A kind of intellectual solar-energy methane pit
CN206001686U (en) Large-scale ring water direct heat-exchange solid heat storage electric furnace
CN205741051U (en) The solar energy-heat pump combined heating system of constant temperature fermentation methane tank
CN203333656U (en) Warming and heat preservation system for above-ground biogas digesters
CN101240237A (en) Method and Application of Using Engine Waste Heat to Warm Biogas Slurry
CN203256273U (en) Solar-assisted-heating large biogas digester system
CN209782788U (en) A clean heating and air supply system for villages and towns
CN103361261B (en) Warming and warm-keeping system of overground marsh gas tank
CN203393142U (en) Kang-kitchen range connection type hot smoke channel biogas digester

Legal Events

Date Code Title Description
C06 Publication
PB01 Publication
C10 Entry into substantive examination
SE01 Entry into force of request for substantive examination
GR01 Patent grant
GR01 Patent grant
CF01 Termination of patent right due to non-payment of annual fee

Granted publication date: 20140305

Termination date: 20140727

EXPY Termination of patent right or utility model