CN102783902A - Automatic slag-discharging juicer and slag-discharging juicing method thereof - Google Patents

Automatic slag-discharging juicer and slag-discharging juicing method thereof Download PDF

Info

Publication number
CN102783902A
CN102783902A CN2012102611373A CN201210261137A CN102783902A CN 102783902 A CN102783902 A CN 102783902A CN 2012102611373 A CN2012102611373 A CN 2012102611373A CN 201210261137 A CN201210261137 A CN 201210261137A CN 102783902 A CN102783902 A CN 102783902A
Authority
CN
China
Prior art keywords
frame
juice
pomace
sediment
slag
Prior art date
Legal status (The legal status is an assumption and is not a legal conclusion. Google has not performed a legal analysis and makes no representation as to the accuracy of the status listed.)
Pending
Application number
CN2012102611373A
Other languages
Chinese (zh)
Inventor
刘秦汉
倪堂荣
皮学军
Current Assignee (The listed assignees may be inaccurate. Google has not performed a legal analysis and makes no representation or warranty as to the accuracy of the list.)
Midea Group
Original Assignee
Midea Group
Priority date (The priority date is an assumption and is not a legal conclusion. Google has not performed a legal analysis and makes no representation as to the accuracy of the date listed.)
Filing date
Publication date
Application filed by Midea Group filed Critical Midea Group
Priority to CN2012102611373A priority Critical patent/CN102783902A/en
Publication of CN102783902A publication Critical patent/CN102783902A/en
Pending legal-status Critical Current

Links

Images

Landscapes

  • Food-Manufacturing Devices (AREA)
  • Apparatuses For Bulk Treatment Of Fruits And Vegetables And Apparatuses For Preparing Feeds (AREA)

Abstract

The invention relates to the field of food processing, in particular to an automatic slag-discharging juicer and a slag-discharging juicing method thereof. The utility model provides an automatic arrange sediment juice extractor, includes frame, upper cover, and the upper cover is equipped with the feed inlet, and wherein, automatic arrange sediment juice extractor still includes and holds juice chamber, pomace discharge port, fruit juice discharge port, motor, blade disc frame and cover locate the outside sediment frame that separates of blade disc frame, blade disc frame and separate and be equipped with between the sediment frame with separate the sediment frame relative motion arrange the sediment structure, the motor passes through reduction gears respectively with arrange sediment structure, separate the sediment frame and be connected, arrange the difference in rotation speed between sediment structure and the sediment frame and be 5-45 rpm. The structure is stable, the cutter head is matched with the filter screen to realize small slip, and continuous juicing and residue discharge are realized; avoided the pomace to store up the processing that influences the machine to the material, need not to shut down and wash the pomace, also greatly reduced the pomace store up the vibration and the noise that the uneven production of machine during operation that causes of distribution, this row's sediment structure sustainable work, machining efficiency and juice rate height and wash portably.

Description

A kind of automatic discharge juice extractor and deslagging juice press method thereof
Technical field
The present invention relates to food processing field, be specifically related to a kind of automatic discharge juice extractor and deslagging juice press method thereof.
Background technology
The Along with people's growth in the living standard; Various small household appliances are come into every family successively, and mixer, egg-whisk, juice extractor etc., juice extractor are a kind of small household appliances that are used for squeezing fruits and vegetables group foods such as various fruit juice, vegetables; Powerful; Can be used for making various beverage made of fruits or vegetables, satisfy the needs of consumer's health diet, easy to use.
Existing high speed juice extractor all is to adopt centrifugal force to carry out slag, juice separation; Extract fruit juice; Mainly be divided into common high speed juice extractor and get rid of two types in juice machine, but the operation principle of two kinds of juice extractors has all determined to be difficult to separately the shortcoming that overcomes, causing all has very big defective in producing and using.
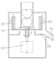
As shown in Figure 1; The motor 50 of common high speed juice extractor is connected with filter screen 20; During work, fruit moves downward and gets in the charging aperture, and fruit is got rid of to filter screen 20 inwalls by centrifugal force by cutterhead 10 chopping backs; Fruit juice is filtered to collection in the Sheng juice chamber 30 through the aperture of filter screen 20, and is discharged by fruit juice outlet 60; And pomace moves upward along filter screen 20, breaks away from filter screen 20 at last and discharges through pomace outlet 40, and this type of juice extractor is called again throws slag formula juice extractor at a high speed.Filled arrows is the moving line of pomace among the figure; Hollow arrow is the moving line of fruit juice.But; The cutting speed of cutterhead 10 is very high, and the centrifugal force that produces after the chopping fruit is very big, and the speed that fruit is thrown out of is also very fast; Behind filter screen 20 walls of running into inclination in the process that throws away; Inclination filter screen 20 will produce a component that makes progress to pomace, and with the pomace filter screen 20 of dishing out rapidly, whole pomace rests on time on the filter screen 20 probably about 0.1 second.The fruit juice that the so short time causes pomace to contain can't fully be filtered by filter screen 20 and throw away, so the crushing juice rate of common high speed juice extractor is relatively low.
As shown in Figure 2, the motor 50 that gets rid of the juice machine is connected with cutterhead 10, cutterhead 10 rotation at a high speed; Filter screen 20 low speed rotation; During work, fruit moves downward the entering charging aperture, and fruit is got rid of to filter screen 20 inwalls by centrifugal force by cutterhead 10 chopping backs; Fruit juice is upwards thrown away after through the slit of filter screen 20 to containing in the juice chamber 30 and is collected, and is discharged by fruit juice outlet 40; Because filter screen 20 adopts the cylinder tubbiness, sidewall is vertical, and pomace 60 will rest on filter screen 20 inwalls always, just is removed up to shutting down.Figure hollow core arrow is the moving line of fruit juice.Because pomace 60 bears action of centrifugal force in machine in the whole process of squeezing the juice always, the fruit juice that pomace 60 contains will be thrown away fully, and time of on filter screen 20, stopping of pomace 60 is infinity in theory.Because filter screen 20 exactly likes a cage, this type of juice extractor is called cage storage slag formula juice extractor again.The low problem of common high speed juice extractor crushing juice rate, the other problems of having derived have again been solved though get rid of the juice machine.At first, because pomace 60 constantly accumulates filter screen 20 in, along with the increase of cumulative thickness, the resistance that fruit juice is thrown out of is also increasing, thus its crushing juice rate is not for we imagine so high; Secondly, because pomace 60 can't be evenly distributed on filter screen 20 inwalls in the process of squeezing the juice, thereby can produce certain out-of-balance force, the filter screen 20 that causes rotating produces vibration and noise, to the service life of machine and user's experience very big influence being arranged all.
Summary of the invention
The technical problem that the present invention solves provides a kind of automatic discharge juice extractor, and its Stability Analysis of Structures cooperates and realizes little slip, continues to squeeze the juice, continues deslagging, and its working (machining) efficiency and crushing juice rate are high, and convenience for washing.
For solving the problems of the technologies described above; The technical scheme that the present invention adopts is: a kind of automatic discharge juice extractor; Comprise support, loam cake, on cover and be provided with charging aperture, wherein; The automatic discharge juice extractor also comprises to be contained juice chamber, pomace outlet, fruit juice outlet, motor, cutterhead frame and is sheathed on the outside separated slag frame of cutterhead frame; Said cutterhead frame and being provided with between the slag frame and deslagging structure at a distance from the relative motion of slag frame, motor via reducer structure are respectively with the deslagging structure, is connected at a distance from the slag frame, and the speed discrepancy between said deslagging structure and the separated slag frame is 5-45rpm.
Further, the speed discrepancy between described deslagging structure and the separated slag frame is 20-30rpm.
Further, be provided with gap d, 0<d≤1.5mm between the outer wall of described deslagging structure and the separated inwall of slag frame.Preferably, 0.5≤d≤1mm.This gap d can have influence on crushing juice rate and vibrating noise, too little mutual friction, the increase resistance and generation vibration of causing easily in gap; But the gap is more little, and the long-term pomace thickness that stops is thin more, and crushing juice rate is high more.Be provided with above-mentioned gap d, guaranteed that effectively crushing juice rate has reduced vibrating noise.
Further, described deslagging structure is identical with cutterhead frame rotating speed.When the cutterhead frame rotated, the deslagging structure was with same rotational speed and scrape and discharge the pomace that is attached on the slag frame.Described deslagging structure is one-body molded with the cutterhead frame or be fixedly connected.
Further, described deslagging structure is for promoting the rib that pomace moves downward.The bar number of rib is at least one.Rib can be merely one or several separate rib of inclination for being obliquely installed, and also can be a spiral helicine independent rib; No matter how version designs; When the cutterhead frame rotated, rib rotated simultaneously, and the movement locus of rib is a helical form; And the direction of spiral is scraped pomace and moves downward, and finally is discharged from.
A kind of deslagging juice press method may further comprise the steps:
A, fruit get in the automatic discharge juice extractor from charging aperture, open motor, driven by motor deslagging structure and separated slag frame output different rotating speed;
After B, fruit were shredded by the cutterhead on the cutterhead frame, fruit juice was collected through behind the slit of slag frame, upwards getting rid of to containing the juice chamber, discharges from the fruit juice outlet; Pomace is got rid of to behind slag frame inwall, and elapsed time T is scraped downwards by the deslagging structure, discharges from the pomace outlet.
0.3s≤T among the described step B≤6s.Preferably, 0.6s≤T≤2s.Pomace determines crushing juice rate at the time of staying T on the slag frame, and has influence on the vibration and the noise of complete machine, so pomace is crucial parameter at the time of staying T on the slag frame.The pomace time of staying, T was long more, and crushing juice rate is high more, and the probability that produces vibration, noise is also big more.Through the cooperation of speed discrepancy and the setting of gap d, make that being provided with of time of staying T is reasonable, guaranteed that crushing juice rate has reduced vibrating noise.
Compared with prior art; Beneficial effect is: automatic discharge juice extractor of the present invention also comprises to be contained juice chamber, pomace outlet, fruit juice outlet, motor, cutterhead frame and is sheathed on the outside separated slag frame of cutterhead frame; Be provided with deslagging structure between said cutterhead frame and the separated slag frame with separated slag frame relative motion; The motor via reducer structure is connected with deslagging structure, separated slag frame respectively, and the speed discrepancy between said deslagging structure and the separated slag frame is 5-45rpm.Its Stability Analysis of Structures, cutterhead cooperate the little slip of realization with filter screen, continue to squeeze the juice, continue deslagging; Having avoided pomace to accumulate influences the processing of machine to material; Need not to shut down the cleaning pomace; Also greatly reduce pomace and accumulate vibrations and the noise that produces when skewness causes machine works, the sustainable work of this deslagging structure, working (machining) efficiency and crushing juice rate are high and clean easy.
Description of drawings
Fig. 1 is existing common high speed juice extractor overall structure sketch map;
Fig. 2 is the existing juice machine overall structure sketch map that gets rid of;
Fig. 3 is an overall structure sketch map of the present invention;
Fig. 4 is first group of datagram of the present invention;
Fig. 5 is off-limits datagram;
Fig. 6 is second group of datagram of the present invention;
Fig. 7 is the 3rd a group of datagram of the present invention;
Fig. 8 is the 4th a group of datagram of the present invention;
Fig. 9 is the 5th a group of datagram of the present invention.
The specific embodiment
As shown in Figure 3; A kind of automatic discharge juice extractor; Comprise support, loam cake, on cover and be provided with charging aperture 70, wherein; The automatic discharge juice extractor also comprises the separated slag frame 20 of containing juice chamber 90, pomace outlet 50, fruit juice outlet 60, motor 40, cutterhead frame 10 and being sheathed on cutterhead frame 10 outsides; Respectively with deslagging structure 30, is connected at a distance from slag frame 20, the speed discrepancy between said deslagging structure 30 and the separated slag frame 20 is 5-45rpm through reducing gear 80 for said cutterhead frame 10 and being provided with between the slag frame 20 and deslagging structure 30 at a distance from 20 relative motions of slag frame, motor 40.
Further, the speed discrepancy between described deslagging structure 30 and the separated slag frame 20 is 20-30rpm.
Further, be provided with gap d, 0<d≤1.5mm between the outer wall of described deslagging structure 30 and the separated inwall of slag frame 20.Be preferably 0.5≤d≤1mm.This gap d can have influence on crushing juice rate and vibrating noise, too little mutual friction, the increase resistance and generation vibration of causing easily in gap; But the gap is more little, and the long-term pomace thickness that stops is thin more, and crushing juice rate is high more.Be provided with above-mentioned gap d, guaranteed that effectively crushing juice rate has reduced vibrating noise.
Further, described deslagging structure 30 is identical with cutterhead frame 10 rotating speeds.When cutterhead frame 10 rotated, deslagging structure 30 was with same rotational speed and scrape and discharge the pomace that is attached on slag frame 20.Described deslagging structure 30 and cutterhead frame 10 are one-body molded or be fixedly connected.
Further, described deslagging structure 30 is for promoting the rib that pomace moves downward.The bar number of rib is at least one.Rib can be merely one or several separate rib of inclination for being obliquely installed, and also can be a spiral helicine independent rib; No matter how version designs; When cutterhead frame 10 rotated, rib rotated simultaneously, and the movement locus of rib is a helical form; And the direction of spiral is scraped pomace and moves downward, and finally is discharged from.
A kind of deslagging juice press method may further comprise the steps:
A, fruit get in the automatic discharge juice extractor from charging aperture 70, open motor 40, and motor 40 drives deslagging structure 30 and exports different rotating speed at a distance from slag frame 20;
After B, fruit were shredded by the cutterhead on the cutterhead frame 10, fruit juice was collected through behind the slit of slag frame 20, upwards getting rid of to containing juice chamber 90, discharges from fruit juice outlet 60; Pomace is got rid of to behind slag frame 20 inwalls, and elapsed time T is scraped downwards by deslagging structure 30, discharges from pomace outlet 50.
Further, 0.3s≤T≤6s among the described step B.Be preferably 0.6s≤T≤2s.Pomace determines crushing juice rate at the time of staying T on slag frame 20, and has influence on the vibration and the noise of complete machine, so pomace is crucial parameter at the time of staying T on slag frame 20.The pomace time of staying, T was long more, and crushing juice rate is high more, and the probability that produces vibration, noise is also big more.Through the cooperation of speed discrepancy and the setting of gap d, make that being provided with of time of staying T is reasonable, guaranteed that crushing juice rate has reduced vibrating noise.
As shown in Figure 4; Realize little slip through two very little gearratios of gap of reducing gear 80 outputs,, all will bring the significantly variation of slip owing in whole drive system, change the number of teeth of certain link arbitrarily; And the output speed that needs usually all must be in the scope of 2000-4500rpm (output speed is too high finds out vibration easily; It is low then unfavorable to the cutting of fruit to cross, and crushing juice rate also can reduce), so increased the difficulty of the little slip that realizes that this is specific.Generally about 15000-20000rpm, what choose here is the motor of 15000rpm to the rotating speed of motor output, adopts the mode that belt slows down to realize that obtained two very approaching gearratios through double reduction, speed discrepancy is about 26rpm.
As shown in Figure 5, if a tooth of increase, any belt wheel that adds deduct less, slip will have very big variation.Slip as a result will become 130rpm to 21 teeth to increase by 1 such as the number of teeth of belt wheel 71, exceed selected scope.
Shown in Fig. 6-9, be the comparison reasonable parameter of calculation, but realize that the Reasonable Parameters of this little speed discrepancy is not limited only to this.
The above only is a preferred implementation of the present invention, should be pointed out that for those skilled in the art, under the prerequisite that does not break away from the principle of the invention, can do the improvement of some suitable actual conditions to the technical scheme of invention.Therefore, protection scope of the present invention is not limited thereto, and those of skill in the art are any to be included within protection domain of the present invention based on non-material change on the technical scheme of the present invention.

Claims (10)

1. automatic discharge juice extractor; Comprise support, loam cake; On cover and be provided with charging aperture (70); It is characterized in that: the automatic discharge juice extractor also comprises to be contained juice chamber (90), pomace outlet (50), fruit juice outlet (60), motor (40), cutterhead frame (10) and is sheathed on the outside separated slag frame (20) of cutterhead frame (10); Be provided with deslagging structure (30) between said cutterhead frame (10) and the separated slag frame (20) with separated slag frame (20) relative motion; Motor (40) is connected with deslagging structure (30), separated slag frame (20) respectively through reducing gear (80), and the speed discrepancy between said deslagging structure (30) and the separated slag frame (20) is 5-45rpm.
2. a kind of automatic discharge juice extractor according to claim 1 is characterized in that: the speed discrepancy between described deslagging structure (30) and the separated slag frame (20) is 20-30rpm.
3. a kind of automatic discharge juice extractor according to claim 1 is characterized in that: be provided with gap d, 0<d≤1.5mm between the outer wall of described deslagging structure (30) and the separated inwall of slag frame (20).
4. a kind of automatic discharge juice extractor according to claim 3 is characterized in that: 0.5≤d≤1mm.
5. a kind of automatic discharge juice extractor according to claim 1 is characterized in that: described deslagging structure (30) is identical with cutterhead frame (10) rotating speed.
6. a kind of automatic discharge juice extractor according to claim 5 is characterized in that: described deslagging structure (30) is one-body molded with cutterhead frame (10) or be fixedly connected.
7. a kind of automatic discharge juice extractor according to claim 1 is characterized in that: described deslagging structure (30) is for promoting the rib that pomace moves downward.
8. deslagging juice press method is characterized in that comprising may further comprise the steps the juice press method of the arbitrary described automatic discharge juice extractor of claim 1-7:
A, fruit get in the automatic discharge juice extractor from charging aperture (70), open motor (40), and motor (40) drives deslagging structure (30) and exports different rotating speed at a distance from slag frame (20);
After B, fruit were shredded by the cutterhead on the cutterhead frame (10), fruit juice was collected through behind the slit of slag frame (20), upwards getting rid of to containing juice chamber (90), discharges from fruit juice outlet (60); Pomace is got rid of to behind slag frame (20) inwall, and elapsed time T is scraped downwards by deslagging structure (30), discharges from pomace outlet (50).
9. a kind of deslagging juice press method according to claim 1 is characterized in that: 0.3s≤T among the described step B≤6s.
10. a kind of deslagging juice press method according to claim 9 is characterized in that: 0.6s≤T≤2s.
CN2012102611373A 2012-07-26 2012-07-26 Automatic slag-discharging juicer and slag-discharging juicing method thereof Pending CN102783902A (en)

Priority Applications (1)

Application Number Priority Date Filing Date Title
CN2012102611373A CN102783902A (en) 2012-07-26 2012-07-26 Automatic slag-discharging juicer and slag-discharging juicing method thereof

Applications Claiming Priority (1)

Application Number Priority Date Filing Date Title
CN2012102611373A CN102783902A (en) 2012-07-26 2012-07-26 Automatic slag-discharging juicer and slag-discharging juicing method thereof

Publications (1)

Publication Number Publication Date
CN102783902A true CN102783902A (en) 2012-11-21

Family

ID=47149651

Family Applications (1)

Application Number Title Priority Date Filing Date
CN2012102611373A Pending CN102783902A (en) 2012-07-26 2012-07-26 Automatic slag-discharging juicer and slag-discharging juicing method thereof

Country Status (1)

Country Link
CN (1) CN102783902A (en)

Cited By (5)

* Cited by examiner, † Cited by third party
Publication number Priority date Publication date Assignee Title
CN103479202A (en) * 2013-09-10 2014-01-01 常熟市微尘电器有限公司 Universal juice extractor
CN107997561A (en) * 2017-11-30 2018-05-08 重庆星湖茶酒厂 Pressing device for fruit
CN108641842A (en) * 2018-06-25 2018-10-12 贵州贵果王实业有限公司 A kind of pomace of red pitaya wine preparation and wine separator
CN110617675A (en) * 2019-10-17 2019-12-27 康芬生物科技(上海)有限公司 Fresh bean dreg drying treatment device and processing technology
CN111743428A (en) * 2019-03-27 2020-10-09 九阳股份有限公司 A kind of automatic slag discharge method of food processor

Citations (6)

* Cited by examiner, † Cited by third party
Publication number Priority date Publication date Assignee Title
CN1376438A (en) * 2001-12-31 2002-10-30 赵树清 Full-automatic fruit-vegetable juice squeezer
KR20090125374A (en) * 2008-06-02 2009-12-07 김홍배 Juice Extractor With Multistage Filtration Basket
CN102028392A (en) * 2010-11-23 2011-04-27 美的集团有限公司 Juice extractor
CN201987253U (en) * 2011-03-24 2011-09-28 比亚迪股份有限公司 a juicer
CN202234694U (en) * 2011-08-08 2012-05-30 九阳股份有限公司 Automatic residue-eliminating juice extractor
CN202874932U (en) * 2012-07-26 2013-04-17 美的集团股份有限公司 Automatic residue discharging juicer

Patent Citations (6)

* Cited by examiner, † Cited by third party
Publication number Priority date Publication date Assignee Title
CN1376438A (en) * 2001-12-31 2002-10-30 赵树清 Full-automatic fruit-vegetable juice squeezer
KR20090125374A (en) * 2008-06-02 2009-12-07 김홍배 Juice Extractor With Multistage Filtration Basket
CN102028392A (en) * 2010-11-23 2011-04-27 美的集团有限公司 Juice extractor
CN201987253U (en) * 2011-03-24 2011-09-28 比亚迪股份有限公司 a juicer
CN202234694U (en) * 2011-08-08 2012-05-30 九阳股份有限公司 Automatic residue-eliminating juice extractor
CN202874932U (en) * 2012-07-26 2013-04-17 美的集团股份有限公司 Automatic residue discharging juicer

Cited By (5)

* Cited by examiner, † Cited by third party
Publication number Priority date Publication date Assignee Title
CN103479202A (en) * 2013-09-10 2014-01-01 常熟市微尘电器有限公司 Universal juice extractor
CN107997561A (en) * 2017-11-30 2018-05-08 重庆星湖茶酒厂 Pressing device for fruit
CN108641842A (en) * 2018-06-25 2018-10-12 贵州贵果王实业有限公司 A kind of pomace of red pitaya wine preparation and wine separator
CN111743428A (en) * 2019-03-27 2020-10-09 九阳股份有限公司 A kind of automatic slag discharge method of food processor
CN110617675A (en) * 2019-10-17 2019-12-27 康芬生物科技(上海)有限公司 Fresh bean dreg drying treatment device and processing technology

Similar Documents

Publication Publication Date Title
CN201767733U (en) Screw rod extruding type novel juicer
CN107048968B (en) A kind of extrusion juice extractor that juicing effect is high
JP5309237B2 (en) Juicing machine
CN103202654B (en) Juicer
CN201790542U (en) Juice extractor with rotary filtering net
CN102028392B (en) Juice extractor
CN104486976A (en) How the grinder works
CN103202653A (en) Pre-smashing device for food treating machine and juice extractor applying same
CN102783902A (en) Automatic slag-discharging juicer and slag-discharging juicing method thereof
CN102783901A (en) Automatic residue-discharging juicer
CN101791186B (en) Juicer
WO2015192284A1 (en) Low-speed juicer
CN208626668U (en) A kind of cosmetic raw materials extract equipment
KR20110107640A (en) High yield centrifugal juice extractor
CN202287701U (en) Juicer residue discharger and juicer
CN112741475A (en) Low-speed centrifugal juicer capable of automatically discharging residues
CN203953239U (en) A kind of juice extractor at a slow speed
CN202234694U (en) Automatic residue-eliminating juice extractor
CN202874933U (en) Automatic residue discharging juicer
CN202874932U (en) Automatic residue discharging juicer
CN201468947U (en) Juicer
CN203943472U (en) Novel stock machine
CN204483809U (en) A simple small juicer
CN102920304B (en) Juicer capable of automatically discharging residues
CN216416776U (en) Low-speed centrifugal type automatic deslagging juicer

Legal Events

Date Code Title Description
C06 Publication
PB01 Publication
C10 Entry into substantive examination
SE01 Entry into force of request for substantive examination
C53 Correction of patent of invention or patent application
CB02 Change of applicant information

Address after: 528311 Guangdong, Foshan, Beijiao, the United States, the United States and the United States on the avenue of the United States, the headquarters of the United States building B floor, District, 26-28

Applicant after: MIDEA GROUP Co.,Ltd.

Address before: 528311 Beijiao, Foshan, Shunde District, the town of Guangdong, the United States Avenue, No. 6

Applicant before: Midea Group

COR Change of bibliographic data

Free format text: CORRECT: APPLICANT; FROM: MEIDI GROUP CO. LTD. TO: MIDEA GROUP CO., LTD.

C12 Rejection of a patent application after its publication
RJ01 Rejection of invention patent application after publication

Application publication date: 20121121