CN102768916A - 旋转避让机械式自复位开关 - Google Patents

旋转避让机械式自复位开关 Download PDF

Info

Publication number
CN102768916A
CN102768916A CN2012102139912A CN201210213991A CN102768916A CN 102768916 A CN102768916 A CN 102768916A CN 2012102139912 A CN2012102139912 A CN 2012102139912A CN 201210213991 A CN201210213991 A CN 201210213991A CN 102768916 A CN102768916 A CN 102768916A
Authority
CN
China
Prior art keywords
impeller
button
pusher
mechanical self
rotating shaft
Prior art date
Legal status (The legal status is an assumption and is not a legal conclusion. Google has not performed a legal analysis and makes no representation as to the accuracy of the status listed.)
Granted
Application number
CN2012102139912A
Other languages
English (en)
Other versions
CN102768916B (zh
Inventor
田瞻民
蔡映峰
Current Assignee (The listed assignees may be inaccurate. Google has not performed a legal analysis and makes no representation or warranty as to the accuracy of the list.)
Ningbo Banmen Electrical Appliance Co ltd
Original Assignee
Gongniu Group Co Ltd
Priority date (The priority date is an assumption and is not a legal conclusion. Google has not performed a legal analysis and makes no representation as to the accuracy of the date listed.)
Filing date
Publication date
Application filed by Gongniu Group Co Ltd filed Critical Gongniu Group Co Ltd
Priority to CN201210213991.2A priority Critical patent/CN102768916B/zh
Publication of CN102768916A publication Critical patent/CN102768916A/zh
Application granted granted Critical
Publication of CN102768916B publication Critical patent/CN102768916B/zh
Active legal-status Critical Current
Anticipated expiration legal-status Critical

Links

Images

Landscapes

  • Structures Of Non-Positive Displacement Pumps (AREA)
  • Rotary Switch, Piano Key Switch, And Lever Switch (AREA)

Abstract

本发明涉及械式自复位开关。一种旋转避让机械式自复位开关,包括一端开口的底壳、位于底壳开口端的按键、按键复位弹簧、位于底壳内并同底壳相铰接的摆杆和随同按键一起移动的驱动摆杆摆动用的推动件,推动件的中间通过推动件转轴同按键转动相连接,推动件转轴同摆杆摆轴交叉,推动件和按键之间设有推动件旋转复位机构,摆杆朝向推动件的一端设有一对驱动臂,一对驱动臂位于推动件转轴的两侧,推动件和驱动臂的驱动接触处设有旋转避让导向面。本发明提供了一种推动件的避让运行轨迹和摆杆的摆动运行轨迹位于两个交叉的平面内的旋转避让机械式自复位开关,解决了现有的具有避让功能的机械式自复位开关避让时的可靠性差的问题。

Description

旋转避让机械式自复位开关
技术领域
    本发明涉及械式自复位开关,尤其涉及一种按压按键的过程中推动件和摆杆之间可以产生避让动作的机械式自复位开关。 
背景技术
开关是一种在电路中使电流中断或导通的电器元件。开关的结构形式多种多样,其中有一种为通过按压按键使开关处于导通或断开状态的按键开关。最初的按键开关处于导通或断开状态时,按键壳的高度状态或倾斜状态是不同的,安装在设备上时影响设备表面的外观。 
为解决以上问题,设计出了开关处于导通和断开状态时,按键壳能够自动复位到同一状态的机械式自复位开关。 
在中国专利号为2005200598543、授权公告日为“2006年8月16日、名称为“连杆复位机构开关”的专利文献中公开了一种机械式自复位开关。该开关包括底座、安装在底座上的容置架、连接在容置架上的按键壳、位于按键壳和底座之间的摇杆(摆杆)、连杆(推动件)、复位弹簧,连杆一端与复位弹簧连接、另一端同摇杆连接,复位弹簧位于按键的下方。使用时通过按压按键去驱动连杆,连杆驱动摇杆摆动而改变开关的开合状态,通过复位弹簧将按键和连杆一起顶起到初始位置。该专利中的开关存在以下不足:通过连杆的直线运动去驱动摆杆摆动,驱动时容易产生干涉。 
为解决驱动过程中的干涉问题,设计出按压按键的过程中推动件和摆杆之间可以产生避让动作的机械式自复位开关。在中国专利申请号为2010101462438、申请公布日为2010年8月25日、名称为“机械式自复位开关”的专利文献中公开的开关即是可以避让的自复位式机械开关。 
现有的可避让的自复位机械开关普遍存在以下不足:驱动摆杆摆动的推动件的避让运动与摆杆的摆动存在部分重合,即推动件的避让运动还没有完成时,摆杆的摆动已开始,导致推动件的避让间隙小,推动件同摆杆的接触处产生少许磨损时即会产生干涉现象,避让时的可靠性差。 
发明内容
本发明提供了一种推动件的避让运行轨迹和摆杆的摆动运行轨迹位于两个交叉的平面内的旋转避让机械式自复位开关,解决了现有的具有避让功能的机械式自复位开关避让时的可靠性差的问题。 
以上技术问题是通过下列技术方案解决的:一种旋转避让机械式自复位开关,包括一端开口的底壳、位于底壳开口端的按键、按键复位弹簧、位于底壳内并同底壳相铰接的摆杆和随同按键一起移动的驱动摆杆摆动用的推动件,所述推动件的中间通过推动件转轴同所述按键转动相连接,所述推动件转轴同摆杆摆轴交叉,推动件和按键之间设有推动件旋转复位机构,摆杆朝向推动件的一端设有一对驱动臂,一对驱动臂位于推动件转轴的两侧,推动件和驱动臂的驱动接触处设有旋转避让导向面。 
使用时,按压按键,按键推动推动件朝向摆杆移动且按键复位弹簧变形储能,推动件移动到一端同摆杆上的一对驱动臂中的一个相接触(处于初始位置时,一对驱动臂离驱动件的距离不一致,按压一次时,驱动件只会在第一时间内同一对驱动臂中的一个相接触),按键驱使推动件继续朝向摆杆移动,在旋转避让导向面的作用下、驱动件以驱动件转轴为轴转动,使得驱动件的另一端同驱动臂中的另一个驱动臂错开到另一个驱动臂不位于驱动件的另一端前行方向的前方即产生旋转避让动作,最后摆杆在推动件的推动下摆动,摆杆的摆动,使开关的开合状态产生改变。松开对按键的按压,摆杆不动,在按键复位弹簧的作用下,按键连同推动件一起作远离摆杆的运动,按键和推动件沿摆杆的摆动平面恢复到初始状态;在推动件旋转复位机构的作用下,推动件以推动件转轴为轴转动复位到推动件的两端和一对驱动臂位于同一平面内。 
作为优选,所述推动件转轴同摆杆摆轴相垂直。动作过程中,转轴和摆轴所受到的弯折变形的力小,推动件转轴同摆杆的摆动轴不易弯曲变形,能保持推动件转动时和摆杆摆动时的灵活性,操作本发明时轻松省力,不易产生卡死现象、动作的可靠性好。 
作为优选,推动件旋转复位机构包括设置在推动件上的拨块和设置在拨块两侧的一对滑块及推动件复位弹簧。推动件旋转的过程中,拨块使复位弹簧变形储能,当推动件同摆杆之间脱开时,推动块复位弹簧通过拨块带动推动块反方向旋转复位到初始状态。 
作为优选,所述按键设有滑块初始位置定位块,所述滑块通过所述推动件复位弹簧按压在所述滑块初始位置定位块上,所述拨块位于两个滑块之间。当两个滑块都抵接在推动件初始位置定位块上时,推动件处于初始状态,推动件产生旋转,则拨块挤压两个滑块中的一个,滑块在按键上滑动并挤压对应的推动件复位弹簧使之储能,当推动件同摆杆之间脱开时,受到拨块挤压的那根推动件复位弹簧通过拨块带动推动件反向旋转复位到初始状态。当推动块处于初始位置时,两根推动块复位弹簧的弹力不需要相同,提高了推动块复位弹簧选用时的方便性和复位动作的可靠性。 
作为优选,所述推动件朝向摆杆的侧面上设有台阶,所述旋转导向面为所述台阶的侧壁面。紧凑性和动作可靠性好。 
本发明还包括位于推动件和摆杆之间的隔板,所述隔板设有供所述驱动臂穿过的通孔,所述按键复位弹簧设置在所述隔板和所述底壳之间。动作过程中,按键复位弹簧驱动隔板作远离摆杆的运动,隔板将推动件和按键托起而使按键复位。隔板能有效地使按键复位弹簧同推动件错开,防止产生动作干涉。 
作为优选,推动件转轴设置在所述按键上,推动件转轴穿出推动件并抵接在所述隔板上。按压按键时,按键复位弹簧的作用力不会作用到推动件上,使得推动件进行旋转避让动作时轻松省力且灵活性好。 
作为优选,推动件转轴的周面上设有若干条沿推动件转轴轴向延伸的省力槽。设计省力槽,推动件旋转避让时省力,确保在摆杆产生摆动动作前,推动件也产生旋转动作,提高了动作时的可靠性。省力槽的设计,还能节省材料用量和按键的重量,便于按键的复位。 
作为另一优选,所述推动件旋转复位机构包括滑块和使滑块沿推动件转轴径向抵接在推动件上的推动件复位弹簧,推动件同滑块之间设有两个抵接部,两个抵接部位于推动件转轴的径向两侧。结构紧凑性好。 
本发明具有下述优点,通过使推动件以旋转的方式避让、以防止推动件不需要推动摆杆的一端同对应的驱动臂产生干涉,且推动件避让时的运行轨迹和摆杆的摆动运行轨迹位于两个交叉的平面内,避让时的可靠性好,底壳和按键所围成的空间得到了充分的利用。 
附图说明
图1为实施例一的分体状态示意图。 
图2为实施例一处于导通状态且按键和推动件都处于初始位置时且仅对按键、底壳和隔板进行剖切时的正视意图。 
图3为图2的A—A截面示意图。 
图4为图2的B—B截面示意图。 
图5为实施例一处于导通状态、推动件刚要产生避让动作时且仅对按键、底壳和隔板进行剖切时的正视意图。 
图6为图5的C—C截面示意图。 
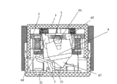
图7为实施例一处于导通状态、推动件处于避让状态且进行了局部剖视的左视意图 
图8为实施例一处于导通状态、推动件处于避让状态且进行了局部剖视的俯视示意图。
图9为实施例一刚由导通状态转换为断开状态时且仅对按键、底壳和隔板进行剖切时的正视意图。 
图10为实施例一处于断开状态且按键壳和推动件都处于初始高度时且仅对按键、底壳和隔板进行剖切时的正视意图。 
图11为图10的D—D截面示意图。 
图12为实施例二的分体状态示意图。 
图13实施例二的仅对按键进行剖切时且推动件处于初始位置时的俯视示意图。 
图中:底壳1、底座11、底壳主体12、铰轴孔121、第一电极21、第二电极22、跷板3、摆杆4、外壳41、跷板弹簧42、按压头43、第一驱动臂44、第二驱动臂45、驱动臂部第一旋转避让导向面46、驱动臂部第二旋转避让导向面47、摆杆摆轴48、隔板5、通孔51、按键复位弹簧6、推动件7、推动件部第一旋转导向面71、推动件部第二旋转导向面72、转轴孔73、推动件旋转复位机构8、拨块81、滑块82、推动件复位弹簧83、抵接部84、按键9、推动件转轴91、倒钩92、省力槽93、推动件初始位置定位块94。 
具体实施方式
下面结合附图与实施例对本发明作进一步的说明。 
实施例一,参见图1,一种机械式自复位开关,包括底壳1、第一电极21、第二电极22、跷板3、摆杆4、隔板5、按键复位弹簧6、推动件7、推动件旋转复位机构8和按键9。 
底壳1包括底座11和可拆卸连接在底座11上的四方形底壳主体12。底壳主体12设有铰轴孔121。铰轴孔121贯通底壳主体12的前后壁。铰轴孔121为沿上下方向延伸的长条形孔或圆孔。 
跷板3为导电体。 
摆杆4包括外壳41、跷板弹簧42和通过跷板弹簧42可伸缩地穿设在外壳41下端的按压头43。外壳41上端面的左端设有第一驱动臂44。外壳41上端面的右端设有第二驱动臂45。第一驱动臂44的上端部上设有驱动臂部第一旋转避让导向面46。第二驱动臂45的上端部上设有驱动臂部第二旋转避让导向面47。外壳41的前后表面上都设有摆杆摆轴48。两根摆杆摆轴48同轴。 
隔板5的左右两端各设有一个通孔51。通孔51贯穿隔板5的上下表面。 
按键复位弹簧6为压缩弹簧。按键复位弹簧6有两根。 
推动件7的左右两端的下侧面上都设有一台阶。位于推动件7左端台阶的前侧壁面构成推动件部第一旋转导向面71(推动件部第一旋转导向面71在图中被挡住不可见)。位于推动件7右端台阶的前侧壁面构成推动件部第二旋转导向面72。推动件7的中间设有转轴孔73。转轴孔73贯通推动件7的上下表面。 
推动件旋转复位机构8包括设置在推动件7上的拨块81、位于拨块81左右两侧上的两个滑块82和两根分别驱动滑块82的推动件复位弹簧83。 
按键 9的内表面设有推动件转轴91。按键9的左右两端各设有一个倒钩92。推动件转轴91的周面上设有三条沿推动件转轴轴向延伸的省力槽93。 
推动件转轴91同摆杆摆轴48相垂直。 
将本发明组装在一起的方法为: 
参见图2,第一电极21和第二电极22绝缘隔开地固定在底座11的内表面上。第一电极21和第二电极22的一端位于底壳1的内部、另一端位于底壳1的外部供接线用。跷板3铰接在第二电极22上。跷板3位于底壳1内。摆杆4通过摆杆摆轴48穿设在铰轴孔121内的方式铰接在底壳1内。摆杆4的按压头43抵接在跷板3上。隔板5通过按键复位弹簧6支撑在底壳1内。两根按键复位弹簧6支撑在隔板5的左右两端。隔板5位于摆杆4上方。隔板5上的两个通孔51分别对齐第一驱动臂44和第二驱动臂45。推动件7通过其上的转轴孔73(参见图1)套设在推动件转轴91上来实现同按键9的转动连接。推动件转轴91的下端伸出推动件7后抵接在隔板5上。两个滑块82和两根推动件复位弹簧83安装在按键9内且位于拨块81的左右两侧。按键9穿设在底壳主体12内、通过倒钩92钩在底壳主体12上来防止从底壳1上脱开。按压头43按压在跷板3的位于跷板铰接点31的左端上时,本发明处于闭合状态、即跷板3同第一电极21抵接在一起。闭合状态且按键9处于初始位置时,第一驱动臂44高于第二驱动臂45。
参见图3,本发明处于闭合状态且按键处于初始位置时,第一驱动臂44上的驱动臂部第一旋转避让导向面46同推动件7左端下表面上的推动件部第一旋转导向面71处于部分对齐状态但没有抵接在一起。 
参见图4,本发明处于闭合状态且按键处于初始位置时,推动件7、第一驱动臂44和第二驱动臂45位于同一个竖直平面内。按键9设有推动件初始位置定位块94。两个滑块92在两根推动件复位弹簧93的作用下抵接在推动件初始位置定位块94的左右两侧上,拨块91位于两个滑块92之间。 
使本发明由关闭状态转换为开启状态的操作方法为: 
参见图5,向下按压按键9,按键9驱动推动件7和隔板5一起下移,按键复位弹簧6受到隔板5的挤压而变形储能。按键9是直接驱动隔板5而非通过推动件7推动隔板5的。
参见图6,推动件7下移的过程中,首先是推动件部第一旋转导向面71的下端和驱动臂部第一旋转避让导向面46的上端抵接在一起,此时摆杆4不会摆动。 
参见图7,继续下压按键9,推动件部第一旋转导向面71和驱动臂部第一旋转避让导向面46合拢的面积逐渐增大,直到第一驱动臂44的上端部抵接到驱动块7左端下表面上台阶的底壁平面。 
参见图8,该过程中,驱动件7以驱动件转轴91为轴逆时针转动,使得驱动件7的右端同第二驱动臂45错开。驱动件7转动的过程中,拨块81向右挤压滑块82中位于右侧的那个滑块、该滑块使驱动件复位弹簧83中位于右侧的那根复位弹簧挤压变形储能。 
参见图9,继续下压按键9,推动件7的左端下压第一驱动臂44,使得摆杆4以摆杆摆轴48为轴摆动,摆杆4摆动的结果为,按压头43按压到跷板3位于跷板铰接点31右侧的部位上,跷板3同第一电极21脱开也即本发明变为了断开状态,第一驱动臂44低于第二驱动臂45。结合图8,因第二驱动臂45同推动件7的右端是错开的,因此推动件7不会阻挡第二驱动臂45的上升,即不干涉摆杆4的摆动。 
参见图10,松开对按键9的按压作用,在按键复位弹簧6的作用下,隔板5、驱动件7和按键9一起上升到初始高度。隔板5和驱动件7上升到同摆杆4完全脱离且高于摆杆4。 
参见图11,在推动件复位弹簧83中位于右侧的那个推动件复位弹簧的作用下,两个滑块82中位于右侧的那个滑块向左驱动拨块81且重新抵接到推动件初始位置定位块94上,滑块82中位于右端的那个驱动推动件7以推动件转轴91为轴顺时针转动,运动的结果为:使得推动件7、第一驱动臂44和第二驱动臂45又从新回到位于同一个竖直平面内,即推动件7被复位。 
将本发明由断开状态切换为闭合状态的方法同上述由闭合状态切换为断开的状态的方法一样,只需按压按键9即可,只是动作过程在摆杆4的摆动方式及推动件7的转动方向相反,是推动件部第二旋转导向面72和驱动臂部第二旋转避让导向面47的配合使推动件7产生旋转避让,是两个推动件复位弹簧83中位于左端的那根使推动件7旋转复位。 
实施例二,参见图12,同实施例一的不同之处为:推动件旋转复位机构8只包括一块滑块82和一根推动件复位弹簧83。 
参见图13,滑块82为“U”字形。复位弹簧83一端抵接在按键9上,另一端抵接在滑块82上。复位弹簧83驱动滑块82沿推动件转轴91径向抵接在推动件7上。推动件复位弹簧83和推动件转轴91位于同一平面上。推动件和滑块之间有两个抵接部84。两个抵接部84位于推动件转轴91的左右两侧。 
在以上两个实施例中,在推动件和驱动臂二者上同时设置了旋转避让导向面。其目的是为了转动效果更好。只在二者中的一者上设置旋转避让导向面即能实现使推动件7产生旋转避让动作。 
  

Claims (10)

1.一种旋转避让机械式自复位开关,包括一端开口的底壳、位于底壳开口端的按键、按键复位弹簧、位于底壳内并同底壳相铰接的摆杆和随同按键一起移动的驱动摆杆摆动用的推动件,其特征在于,所述推动件的中间通过推动件转轴同所述按键转动相连接,所述推动件转轴同摆杆摆轴交叉,推动件和按键之间设有推动件旋转复位机构,摆杆朝向推动件的一端设有一对驱动臂,一对驱动臂位于推动件转轴的两侧,推动件和驱动臂的驱动接触处设有旋转避让导向面。
2.根据权利要求1所述的旋转避让机械式自复位开关,其特征在于,所述推动件转轴同摆杆摆轴相垂直。
3.根据权利要求1或2所述的旋转避让机械式自复位开关,其特征在于,推动件旋转复位机构包括设置在推动件上的拨块和设置在拨块两侧的一对滑块及推动件复位弹簧。
4.根据权利要求3所述的旋转避让机械式自复位开关,其特征在于,所述按键设有滑块初始位置定位块,所述滑块通过所述推动件复位弹簧按压在所述滑块初始位置定位块上,所述拨块位于两个滑块之间。
5.根据权利要求1或2所述的旋转避让机械式自复位开关,其特征在于,所述推动件朝向摆杆的侧面上设有台阶,所述旋转导向面为所述台阶的侧壁面。
6.根据权利要求1或2所述的旋转避让机械式自复位开关,其特征在于,还包括位于推动件和摆杆之间的隔板,所述隔板设有供所述驱动臂穿过的通孔,所述按键复位弹簧设置在所述隔板和所述底壳之间。
7.根据权利要求6所述的旋转避让机械式自复位开关,其特征在于,推动件转轴设置在所述按键上,推动件转轴穿出推动件并抵接在所述隔板上。
8.根据权利要求7所述的旋转避让机械式自复位开关,其特征在于,推动件转轴的周面上设有若干条沿推动件转轴轴向延伸的省力槽。
9.根据权利要求1或2所述的旋转避让机械式自复位开关,其特征在于,推动件转轴的周面上设有若干条沿推动件转轴轴向延伸的省力槽。
10.根据权利要求1或2所述的旋转避让机械式自复位开关,其特征在于,所述推动件旋转复位机构包括滑块和使滑块沿推动件转轴径向抵接在推动件上的推动件复位弹簧,推动件同滑块之间设有两个抵接部,两个抵接部位于推动件转轴的径向两侧。
CN201210213991.2A 2012-06-27 2012-06-27 旋转避让机械式自复位开关 Active CN102768916B (zh)

Priority Applications (1)

Application Number Priority Date Filing Date Title
CN201210213991.2A CN102768916B (zh) 2012-06-27 2012-06-27 旋转避让机械式自复位开关

Applications Claiming Priority (1)

Application Number Priority Date Filing Date Title
CN201210213991.2A CN102768916B (zh) 2012-06-27 2012-06-27 旋转避让机械式自复位开关

Publications (2)

Publication Number Publication Date
CN102768916A true CN102768916A (zh) 2012-11-07
CN102768916B CN102768916B (zh) 2014-07-30

Family

ID=47096275

Family Applications (1)

Application Number Title Priority Date Filing Date
CN201210213991.2A Active CN102768916B (zh) 2012-06-27 2012-06-27 旋转避让机械式自复位开关

Country Status (1)

Country Link
CN (1) CN102768916B (zh)

Cited By (8)

* Cited by examiner, † Cited by third party
Publication number Priority date Publication date Assignee Title
CN102983032A (zh) * 2012-11-29 2013-03-20 科都电气有限公司 带复位机构的开关
CN103353540A (zh) * 2013-06-27 2013-10-16 国家电网公司 一种用于测试光伏汇流箱测量板模块的测试装置
CN104112618A (zh) * 2014-06-18 2014-10-22 惠州市云顿智能电子有限公司 自动复位开关
CN104851634A (zh) * 2015-04-27 2015-08-19 苏州君丰辰电子科技有限公司 一种电力开关
CN104867759A (zh) * 2015-04-27 2015-08-26 苏州贝腾特电子科技有限公司 用于配电柜双电源转换开关的远程电动操作机构
CN109148190A (zh) * 2017-06-15 2019-01-04 施耐德电气(澳大利亚)有限公司 用于按钮开关的驱动件及按钮开关
CN111863500A (zh) * 2020-08-20 2020-10-30 公牛集团股份有限公司 自复位开关
CN119105153A (zh) * 2024-09-11 2024-12-10 中国科学院西安光学精密机械研究所 一种在轨应急复位机构

Citations (4)

* Cited by examiner, † Cited by third party
Publication number Priority date Publication date Assignee Title
GB1553353A (en) * 1976-12-21 1979-09-26 Ericsson Telefon Ab L M Push-button electrical contact mechanism
CN201556558U (zh) * 2009-11-02 2010-08-18 徐爱兰 带旋转转换机构的按钮开关
CN101814391A (zh) * 2010-04-13 2010-08-25 浙江德力西国际电工有限公司 机械式自复位开关
CN202678172U (zh) * 2012-06-27 2013-01-16 公牛集团有限公司 旋转避让机械式自复位开关

Patent Citations (4)

* Cited by examiner, † Cited by third party
Publication number Priority date Publication date Assignee Title
GB1553353A (en) * 1976-12-21 1979-09-26 Ericsson Telefon Ab L M Push-button electrical contact mechanism
CN201556558U (zh) * 2009-11-02 2010-08-18 徐爱兰 带旋转转换机构的按钮开关
CN101814391A (zh) * 2010-04-13 2010-08-25 浙江德力西国际电工有限公司 机械式自复位开关
CN202678172U (zh) * 2012-06-27 2013-01-16 公牛集团有限公司 旋转避让机械式自复位开关

Cited By (13)

* Cited by examiner, † Cited by third party
Publication number Priority date Publication date Assignee Title
CN102983032B (zh) * 2012-11-29 2015-02-04 科都电气有限公司 带复位机构的开关
CN102983032A (zh) * 2012-11-29 2013-03-20 科都电气有限公司 带复位机构的开关
CN103353540B (zh) * 2013-06-27 2016-01-20 国家电网公司 一种用于测试光伏汇流箱测量板模块的测试装置
CN103353540A (zh) * 2013-06-27 2013-10-16 国家电网公司 一种用于测试光伏汇流箱测量板模块的测试装置
CN104112618A (zh) * 2014-06-18 2014-10-22 惠州市云顿智能电子有限公司 自动复位开关
CN104112618B (zh) * 2014-06-18 2016-10-19 惠州市云顿智能电子有限公司 自动复位开关
CN104851634A (zh) * 2015-04-27 2015-08-19 苏州君丰辰电子科技有限公司 一种电力开关
CN104867759A (zh) * 2015-04-27 2015-08-26 苏州贝腾特电子科技有限公司 用于配电柜双电源转换开关的远程电动操作机构
CN104851634B (zh) * 2015-04-27 2017-08-25 吉林瑞科汉斯电气股份有限公司 一种电力开关
CN109148190A (zh) * 2017-06-15 2019-01-04 施耐德电气(澳大利亚)有限公司 用于按钮开关的驱动件及按钮开关
CN109148190B (zh) * 2017-06-15 2020-01-14 施耐德电气(澳大利亚)有限公司 用于按钮开关的驱动件及按钮开关
CN111863500A (zh) * 2020-08-20 2020-10-30 公牛集团股份有限公司 自复位开关
CN119105153A (zh) * 2024-09-11 2024-12-10 中国科学院西安光学精密机械研究所 一种在轨应急复位机构

Also Published As

Publication number Publication date
CN102768916B (zh) 2014-07-30

Similar Documents

Publication Publication Date Title
CN102768916A (zh) 旋转避让机械式自复位开关
CN108538671B (zh) 一种电源转换开关
CN201440396U (zh) 一种离心开关执行机构
CN203842734U (zh) 一种按钮切换水路的花洒
CN202678172U (zh) 旋转避让机械式自复位开关
CN205582757U (zh) 一种双电源自动转换开关的连杆动作机构
CN209216860U (zh) 开关电器
CN201556971U (zh) 一种可带动断路器自动切换的切换装置
EP3467861A1 (en) Slide switch
CN107143014B (zh) 一种双排扳钮结构
CN104377071B (zh) 一种基于槽轮传动的三工位开关
CN201247717Y (zh) 开关柜联锁机构
CN102983032B (zh) 带复位机构的开关
CN209981040U (zh) 负荷开关的操作机构
CN207183144U (zh) 一种旋钮开关
CN202259079U (zh) 一种小型断路器的操作机构
CN203737446U (zh) 摆轮式切换出水机构
CN102074391B (zh) 一种能够带动断路器自动切换的切换装置
CN202633124U (zh) 机械式自复位开关
CN110811342B (zh) 一种控制面板的上翻机构和烹饪设备
CN209843579U (zh) 自动转换开关电器的操作机构
CN208298740U (zh) 一种电源转换开关
CN104727407A (zh) 一种节水型排水阀
CN208157277U (zh) 一种高压开关用手动操纵三工位机构
CN204242916U (zh) 一种基于槽轮传动的三工位开关

Legal Events

Date Code Title Description
C06 Publication
PB01 Publication
C10 Entry into substantive examination
SE01 Entry into force of request for substantive examination
C14 Grant of patent or utility model
GR01 Patent grant
CP01 Change in the name or title of a patent holder
CP01 Change in the name or title of a patent holder

Address after: 315314 Zhejiang city of Ningbo province Cixi city Guanhaiwei town East Industrial Park

Patentee after: Bulls group Limited by Share Ltd

Address before: 315314 Zhejiang city of Ningbo province Cixi city Guanhaiwei town East Industrial Park

Patentee before: Gongniu Group Co., Ltd.

TR01 Transfer of patent right
TR01 Transfer of patent right

Effective date of registration: 20200810

Address after: 315314 Zhejiang city of Ningbo province Cixi city Guanhaiwei town East Industrial Park

Patentee after: NINGBO BANMEN ELECTRICAL APPLIANCE Co.,Ltd.

Address before: 315314 Zhejiang city of Ningbo province Cixi city Guanhaiwei town East Industrial Park

Patentee before: BULL GROUP Co.,Ltd.