CN102727136A - 带螺旋状叶片的滚刷结构 - Google Patents
带螺旋状叶片的滚刷结构 Download PDFInfo
- Publication number
- CN102727136A CN102727136A CN2011100849946A CN201110084994A CN102727136A CN 102727136 A CN102727136 A CN 102727136A CN 2011100849946 A CN2011100849946 A CN 2011100849946A CN 201110084994 A CN201110084994 A CN 201110084994A CN 102727136 A CN102727136 A CN 102727136A
- Authority
- CN
- China
- Prior art keywords
- rolling brush
- dust
- blade
- suction nozzle
- hairs
- Prior art date
- Legal status (The legal status is an assumption and is not a legal conclusion. Google has not performed a legal analysis and makes no representation as to the accuracy of the status listed.)
- Pending
Links
- 238000005096 rolling process Methods 0.000 title claims abstract description 42
- 239000000428 dust Substances 0.000 abstract description 71
- 210000004209 hair Anatomy 0.000 abstract 5
- 230000008092 positive effect Effects 0.000 abstract 1
- 230000000694 effects Effects 0.000 description 9
- 238000004140 cleaning Methods 0.000 description 7
- 239000000126 substance Substances 0.000 description 4
- 238000001914 filtration Methods 0.000 description 3
- 239000000463 material Substances 0.000 description 3
- 235000004443 Ricinus communis Nutrition 0.000 description 2
- 240000000528 Ricinus communis Species 0.000 description 2
- 241000196324 Embryophyta Species 0.000 description 1
- 239000013536 elastomeric material Substances 0.000 description 1
Images
Landscapes
- Nozzles For Electric Vacuum Cleaners (AREA)
Abstract
本发明公开了一种带螺旋状叶片的滚刷结构,包括滚刷体、螺旋设置在滚刷体上的刷毛、以及滚刷体两端与吸嘴底盘连接的左连接部、右连接部,滚刷体上设置有螺旋状叶片。叶片外端的高度低于刷毛外端的高度。本发明具有的优点和积极效果是:本发明的带螺旋状叶片的滚刷结构,在滚刷体上每相邻两排刷毛之间设置螺旋状叶片,当滚刷体旋转时,叶片也随着滚刷体一同旋转,这样,呈螺旋状结构的叶片在旋转时会使气流产生一定的轴向流动,从而吹动灰尘向吸入口方向移动,提高吸尘器的吸尘效率。同时,由于叶片外端的高度低于刷毛外端的高度,因此不影响刷毛与地面或地毯的接触及对地面或地毯的清扫,也不会增加滚刷体旋转时的阻力。
Description
技术领域
本发明属于吸尘器领域,特别是涉及一种设置有能够使气流产生轴向流动的螺旋状叶片的吸尘器的滚刷结构。
背景技术
吸尘器是一种清洁卫生电器,用于清除地面、地毯、墙壁、家具、衣物及各种缝隙中的灰尘。一般来说,吸尘器主要包括抽吸装置和吸入管路,以电动机和风机为主形成的抽吸装置设置在吸尘器机体内,吸入管路包括吸头、吸尘刚管和吸尘软管,吸头有向下开口的吸气口并通过吸尘刚管和吸尘软管与吸尘器机体内风机的进风口相通。
吸尘器运转时,电动机带动风机的叶轮高速旋转,将吸尘器内部的空气排出去,在吸尘器的内部形成瞬时真空,与外界大气之间形成一个相当高的负压差。在此负压差的作用下,吸头附近的灰尘连同空气一起通过吸气口吸入吸尘器机体内的集尘桶内。含有灰尘的空气在吸尘器机体的集尘桶内经过滤后,再将除尘后的洁净空气从出气口排出到吸尘器外部。这样,就达到清除灰尘、清洁地面的效果。吸尘器的吸率分为多个可操作控制的档次,适应地面、床面、地毯、沙发、墙角等不同清洁对象的作业面,以便更好地抽吸各处的灰尘。
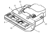
按照吸尘器的结构和外形,通常分为立式吸尘器、卧式吸尘器、以及便携式吸尘器等。图1是现有技术立式吸尘器的立体结构示意图;图2是现有技术立式吸尘器的仰视立体结构示意图;图3是现有技术立式吸尘器的滚刷安装结构示意图;图4是现有技术立式吸尘器的滚刷结构分解示意图。如图1至图4所示,立式吸尘器包括位于机体1上部的便于使用者推拉的手柄2,机体1前部是与底壳3结合的前盖4,底壳3侧壁的备件插架5上插接备用的刚性吸尘管6,机体1底部沿地面设有由吸嘴上盖7和吸嘴底盘8经挂钩33结合而成的吸入含异物质空气的吸嘴9。吸嘴9后方的中部设有一对同轴前脚轮11,而在底壳3底端的后部两侧还设有一对轮间距大于前脚轮11的同轴后脚轮12,这些同轴脚轮11、12便于吸尘作业时机体的前后移动。底壳3的左后位置上设有控制踏板13,该控制踏板的作用是控制吸尘器的机体与吸嘴的倾斜角度。
手柄2的后面设有旋转电线支架14,底壳3的背面上方设有挂口朝下的固定电线支架15,旋转电线支架14与固定电线支架15上供缠绕为吸尘器提供电源的电源线16。电源线16一端连接电源插头17,另一端引入底壳3后与其内设置的吸尘器电机、风扇等电器件连接。
底壳3背面上部设置的软管18一端连接底壳3内的集尘袋,另一端连接到吸嘴9内部的气体通道。底壳3的背面还设有备用的除尘刷19和放置零物的备用槽20。
地面或地毯上含异物质的气体经吸嘴9、吸尘软管18以及底壳3内气体通道,并通过设置在底壳3内部产生吸力的电机、风扇以及过滤装置(未图示)的作用,将过滤后已除去灰尘等以物质的气体经排气孔(未图示)排出。
在吸嘴9内设有可旋转的滚刷10,滚刷10后方的一侧形成有吸入口24。固定在吸嘴底盘8上的传动电机21带动驱动轴22,通过传动皮带23将动力传输到滚刷10上,使滚刷10转动。
滚刷10包括滚刷体25以及滚刷体25两端与吸嘴底盘8左端盖、右端盖连接的左连接部28和右连接部29。滚刷体25与左连接部28和右连接部29一体形成。滚刷体25上螺旋地设置有隆起的刷毛体26,刷毛体26的外端连接有刷毛27。滚刷10转动时,刷毛27不断地与地面接触,松动作业面上的灰尘,将灰尘通过吸嘴9及设置在滚刷10一侧的吸入口24吸入吸尘器的集尘袋中。
但是,上述现有技术的滚刷结构存在如下的技术问题:即螺旋地设置在滚刷体25上的刷毛27,在清洁时,只能横向刷动地毯,而吸入口24设置在滚刷10的一侧,由于压力分布不均衡,在远离吸入口的地方,压力较小,空气流动速度慢,被刷毛27刷起的灰尘运动方向杂乱不一没有足够的轴向推力,不能完全被吸入吸入口24内,故清洁效果受限,灰尘吸入率在60%左右,清理效果不够理想。
发明内容
本发明是为了解决现有技术中的技术问题,而提供一种设置有能够使气流产生轴向流动的螺旋状叶片的吸尘器的滚刷结构。
本发明为解决公知技术中存在的技术问题所采取的技术方案是:
本发明的带螺旋状叶片的滚刷结构,包括滚刷体、螺旋设置在滚刷体上的刷毛、以及滚刷体两端与吸嘴底盘连接的左连接部、右连接部,滚刷体上设置有螺旋状叶片。
所述的叶片螺旋设置在每相邻两排的刷毛之间。
所述的叶片沿滚刷半径方向向外延伸一定的高度。
所述的叶片外端的高度低于刷毛外端的高度。
所述的叶片中间形成有多个间断。
本发明具有的优点和积极效果是:
本发明的带螺旋状叶片的滚刷结构,在滚刷体上每相邻两排刷毛之间设置螺旋状叶片,当滚刷体旋转时,叶片也随着滚刷体一同旋转,这样,呈螺旋状结构的叶片在旋转时会使气流产生一定的轴向流动,从而吹动灰尘向吸入口方向移动,提高吸尘器的吸尘效率。同时,由于叶片外端的高度低于刷毛外端的高度,因此不影响刷毛与地面或地毯的接触及对地面或地毯的清扫,也不会增加滚刷体旋转时的阻力。
附图说明
图1是现有技术立式吸尘器的立体结构示意图;
图2是现有技术立式吸尘器的仰视立体结构示意图;
图3是现有技术立式吸尘器的滚刷安装结构示意图;
图4是现有技术立式吸尘器的滚刷结构分解示意图;
图5是本发明第一实施例的滚刷结构的立体图;
图6是本发明第二实施例的滚刷结构的立体图;
图7是本发明的带螺旋状叶片的滚刷结构的断面图。
附图中主要部件符号说明:
1:机体 2:手柄 3:底壳
4:前盖 5:备件插架 6:刚性吸尘管
7:吸嘴上盖 8:吸嘴底盘 9:吸嘴
10:滚刷 11:前脚轮 12:后脚轮
13:控制踏板 14:旋转电线支架 15:固定电线支架
16:电源线 17:电源插头 18:软管
19:除尘刷 20:备用槽 21:传动电机
22:驱动轴 23:传动皮带 24:吸入口
25:滚刷体 26:刷毛体 27:刷毛
28:左连接部 29:右连接部 30:叶片
31:传动带连接部。
具体实施方式
以下参照附图及实施例对本发明进行详细的说明。本发明中与现有技术相同的部件使用了相同的符号。
本发明的带螺旋状叶片的滚刷结构安装在立式吸尘器下方的吸嘴内部。如图1至图3所示,立式吸尘器包括位于机体1上部的手柄2,机体1前部是与底壳3结合的前盖4,底壳3侧壁的备件插架5上插接备用的刚性吸尘管6,机体1底部沿地面设有由吸嘴上盖7和吸嘴底盘8经挂钩33结合而成的吸入含异物质空气的吸嘴9。吸嘴9内滚刷结构后方的一侧形成有吸入口24。
吸嘴9后方的中部设有一对同轴前脚轮11,而在底壳3底端的后部两侧还设有一对轮间距大于前脚轮11的同轴后脚轮12,这些同轴脚轮11、12便于吸尘作业时机体的前后移动。底壳3的左后位置上设有控制踏板13,该控制踏板的作用是控制吸尘器的机体与吸嘴的倾斜角度。
手柄2的后面设有旋转电线支架14,底壳3的背面上方设有挂口朝下的固定电线支架15,旋转电线支架14与固定电线支架15上供缠绕为吸尘器提供电源的电源线16。电源线16一端连接电源插头17,另一端引入底壳3后与其内设置的吸尘器电机、风扇等电器件连接。
底壳3背面上部设置的软管18一端连接底壳3内的集尘袋,另一端连接到吸嘴9内部的气体通道。底壳3的背面还设有备用的除尘刷19和放置零物的备用槽20。
地面或地毯上含异物质的气体经吸嘴9、吸尘软管18以及底壳3内气体通道,并通过设置在底壳3内部产生吸力的电机、风扇以及过滤装置(未图示)的作用,将过滤后已除去灰尘等以物质的气体经排气孔(未图示)排出。
图5是本发明第一实施例的带螺旋状叶片的滚刷结构的立体图;图7是本发明的带螺旋状叶片的滚刷结构的断面图。如图5和图7所示,本发明的带螺旋状叶片的滚刷结构,包括滚刷体25以及滚刷体25两端与吸嘴底盘8连接的左连接部28和右连接部29。滚刷体25与左连接部28和右连接部29一体形成。左连接部28和右连接部29与吸嘴底盘8之间的连接为可转动连接,即左连接部28和右连接部29与吸嘴底盘8之间可相对转动。滚刷体25上螺旋地设置有隆起的刷毛体26,刷毛体的外端连接有刷毛27。滚刷体25上每相邻两排的刷毛之间设置有螺旋状叶片30。
叶片30由橡胶材料或其它具有一定韧性的材料制成,通过强力粘贴或其它固定方式螺旋地固定在滚刷体25上。叶片30沿滚刷半径方向向外延伸一定的高度,横截面呈三角形,从内向外宽度逐渐减小,且叶片30外端的高度低于刷毛27外端的高度。
图6是本发明第二实施例的带螺旋状叶片的滚刷结构的立体图。如图6所示,为防止大块垃圾通过吸嘴吸入,堵塞内部吸尘管道,吸嘴底壳上设置有多个突起的间隔。因此,为了适应吸嘴底壳的结构,滚刷体25上的叶片30和刷毛体26中间均形成有多个间断,这些间断使叶片30和刷毛体26成为多段。
滚刷体25的近一端处设置有传动带连接部31,传动皮带23连接在传动带连接部31与由传动电机21带动的驱动轴22之间。滚刷结构固定在吸嘴底盘8上的传动电机21带动驱动轴22,通过传动皮带23将动力传输到滚刷体25上,使滚刷体25转动。当滚刷体25转动时,刷毛27和叶片30也随同滚刷体一同旋转。刷毛27不断地与地面接触,松动作业面上的灰尘。呈螺旋状结构的叶片30在旋转时会使气流产生一定的轴向流动,从而吹动被刷毛27松动的灰尘向滚刷结构一侧的吸入口24方向移动,通过吸入口24吸入吸尘器的集尘装置中,提高吸尘器的吸尘效率。同时,由于叶片30外端的高度低于刷毛27外端的高度,因此不影响刷毛27与地面或地毯的接触及对地面或地毯的清扫,也不会增加滚刷体旋转时的阻力。
Claims (5)
1.一种带螺旋状叶片的滚刷结构,包括滚刷体(25)、螺旋设置在滚刷体上的刷毛(27)、以及滚刷体两端与吸嘴底盘连接的左连接部(28)、右连接部(29),其特征在于:滚刷体(25)上设置有螺旋状叶片(30)。
2.根据权利要求1所述的带螺旋状叶片的滚刷结构,其特征在于:叶片(30)螺旋设置在每相邻两排的刷毛(27)之间。
3.根据权利要求2所述的带螺旋状叶片的滚刷结构,其特征在于:叶片(30)沿滚刷半径方向向外延伸一定的高度。
4.根据权利要求2所述的带螺旋状叶片的滚刷结构,其特征在于:叶片(30)外端的高度低于刷毛(27)外端的高度。
5.根据权利要求1至权利要求4中的任意一项所述的带螺旋状叶片的滚刷结构,其特征在于:叶片(30)中间形成有多个间断。
Priority Applications (1)
| Application Number | Priority Date | Filing Date | Title |
|---|---|---|---|
| CN2011100849946A CN102727136A (zh) | 2011-04-06 | 2011-04-06 | 带螺旋状叶片的滚刷结构 |
Applications Claiming Priority (1)
| Application Number | Priority Date | Filing Date | Title |
|---|---|---|---|
| CN2011100849946A CN102727136A (zh) | 2011-04-06 | 2011-04-06 | 带螺旋状叶片的滚刷结构 |
Publications (1)
| Publication Number | Publication Date |
|---|---|
| CN102727136A true CN102727136A (zh) | 2012-10-17 |
Family
ID=46983979
Family Applications (1)
| Application Number | Title | Priority Date | Filing Date |
|---|---|---|---|
| CN2011100849946A Pending CN102727136A (zh) | 2011-04-06 | 2011-04-06 | 带螺旋状叶片的滚刷结构 |
Country Status (1)
| Country | Link |
|---|---|
| CN (1) | CN102727136A (zh) |
Cited By (17)
| Publication number | Priority date | Publication date | Assignee | Title |
|---|---|---|---|---|
| CN103465699A (zh) * | 2013-09-25 | 2013-12-25 | 温州大学 | 基于圆柱滚刷和气旋集尘装置的黑板清洁方法及黑板擦 |
| WO2014176797A1 (zh) * | 2013-05-02 | 2014-11-06 | Lin Xiaoquan | 滚刷 |
| CN105996909A (zh) * | 2016-07-07 | 2016-10-12 | 贵州大学 | 一种电动清洗刷 |
| CN107157398A (zh) * | 2017-07-17 | 2017-09-15 | 江苏美的清洁电器股份有限公司 | 吸尘器的地刷组件及吸尘器 |
| CN108578879A (zh) * | 2018-05-17 | 2018-09-28 | 首都医科大学附属北京友谊医院 | 一种儿童变径球囊扩张导管 |
| CN111035310A (zh) * | 2019-12-09 | 2020-04-21 | 浙江工业大学 | 一种用于吸尘车前置螺旋旋流装置 |
| CN111343892A (zh) * | 2017-11-13 | 2020-06-26 | 三星电子株式会社 | 清扫机 |
| CN111728530A (zh) * | 2020-07-14 | 2020-10-02 | 沈卫荣 | 一种多轴联动扫吸方法 |
| CN112353326A (zh) * | 2020-11-09 | 2021-02-12 | 卓益科技(广东)有限公司 | 一种扫地机清扫辊筒及其生产方法 |
| CN112888352A (zh) * | 2018-10-19 | 2021-06-01 | 尚科宁家运营有限公司 | 用于表面处理设备的搅拌器和具有该搅拌器的表面处理设备 |
| CN116209382A (zh) * | 2020-10-08 | 2023-06-02 | 尚科宁家运营有限公司 | 用于表面处理设备的搅拌器和具有该搅拌器的表面处理设备 |
| US11839346B2 (en) | 2017-05-25 | 2023-12-12 | Sharkninja Operating Llc | Robotic cleaner with dual cleaning rollers |
| TWI839691B (zh) * | 2021-05-12 | 2024-04-21 | 日商日立環球生活方案股份有限公司 | 吸頭體及具備其之電動吸塵器 |
| US11992172B2 (en) | 2018-10-19 | 2024-05-28 | Sharkninja Operating Llc | Agitator for a surface treatment apparatus and a surface treatment apparatus having the same |
| US12048410B2 (en) | 2015-10-21 | 2024-07-30 | Sharkninja Operating Llc | Surface cleaning head with dual rotating agitators |
| US12310547B2 (en) | 2016-09-09 | 2025-05-27 | Sharkninja Operating Llc | Agitator with hair removal |
| US12376720B2 (en) | 2017-03-10 | 2025-08-05 | Sharkninja Operating Llc | Agitator with debrider and hair removal |
Citations (7)
| Publication number | Priority date | Publication date | Assignee | Title |
|---|---|---|---|---|
| CN1283970A (zh) * | 1997-12-04 | 2001-02-14 | 诺特特里有限公司 | 刷棒 |
| CN1565359A (zh) * | 2003-06-17 | 2005-01-19 | 乐金电子(天津)电器有限公司 | 真空吸尘器的搅拌器 |
| CN100340202C (zh) * | 2002-11-22 | 2007-10-03 | 东芝泰格有限公司 | 旋转清洁体、电动吸尘器的吸入口部分和旋转清洁体的制造方法 |
| CN101115428A (zh) * | 2004-12-07 | 2008-01-30 | Lg电子株式会社 | 真空吸尘器中的吸入喷嘴的搅拌器 |
| EP2025275A2 (en) * | 2007-08-08 | 2009-02-18 | Samsung Gwangju Electronics Co., Ltd. | Nozzle assembly of vacuum cleaner |
| CN101711655A (zh) * | 2008-10-06 | 2010-05-26 | 乐金电子(天津)电器有限公司 | 用于吸尘器风动刷头中的风动滚刷 |
| CN101984742A (zh) * | 2008-03-17 | 2011-03-09 | 伊莱克斯家用产品有限公司 | 具有清洁部件的搅拌器 |
-
2011
- 2011-04-06 CN CN2011100849946A patent/CN102727136A/zh active Pending
Patent Citations (7)
| Publication number | Priority date | Publication date | Assignee | Title |
|---|---|---|---|---|
| CN1283970A (zh) * | 1997-12-04 | 2001-02-14 | 诺特特里有限公司 | 刷棒 |
| CN100340202C (zh) * | 2002-11-22 | 2007-10-03 | 东芝泰格有限公司 | 旋转清洁体、电动吸尘器的吸入口部分和旋转清洁体的制造方法 |
| CN1565359A (zh) * | 2003-06-17 | 2005-01-19 | 乐金电子(天津)电器有限公司 | 真空吸尘器的搅拌器 |
| CN101115428A (zh) * | 2004-12-07 | 2008-01-30 | Lg电子株式会社 | 真空吸尘器中的吸入喷嘴的搅拌器 |
| EP2025275A2 (en) * | 2007-08-08 | 2009-02-18 | Samsung Gwangju Electronics Co., Ltd. | Nozzle assembly of vacuum cleaner |
| CN101984742A (zh) * | 2008-03-17 | 2011-03-09 | 伊莱克斯家用产品有限公司 | 具有清洁部件的搅拌器 |
| CN101711655A (zh) * | 2008-10-06 | 2010-05-26 | 乐金电子(天津)电器有限公司 | 用于吸尘器风动刷头中的风动滚刷 |
Cited By (26)
| Publication number | Priority date | Publication date | Assignee | Title |
|---|---|---|---|---|
| WO2014176797A1 (zh) * | 2013-05-02 | 2014-11-06 | Lin Xiaoquan | 滚刷 |
| CN103465699A (zh) * | 2013-09-25 | 2013-12-25 | 温州大学 | 基于圆柱滚刷和气旋集尘装置的黑板清洁方法及黑板擦 |
| CN103465699B (zh) * | 2013-09-25 | 2016-05-11 | 温州大学 | 基于圆柱滚刷和气旋集尘装置的黑板清洁方法及黑板擦 |
| US12048410B2 (en) | 2015-10-21 | 2024-07-30 | Sharkninja Operating Llc | Surface cleaning head with dual rotating agitators |
| CN105996909A (zh) * | 2016-07-07 | 2016-10-12 | 贵州大学 | 一种电动清洗刷 |
| US12453451B2 (en) | 2016-09-09 | 2025-10-28 | Sharkninja Operating Llc | Agitator with hair removal |
| US12310547B2 (en) | 2016-09-09 | 2025-05-27 | Sharkninja Operating Llc | Agitator with hair removal |
| US12376720B2 (en) | 2017-03-10 | 2025-08-05 | Sharkninja Operating Llc | Agitator with debrider and hair removal |
| US11839346B2 (en) | 2017-05-25 | 2023-12-12 | Sharkninja Operating Llc | Robotic cleaner with dual cleaning rollers |
| US12342979B2 (en) | 2017-05-25 | 2025-07-01 | Sharkninja Operating Llc | Robotic cleaner with dual cleaning rollers |
| CN107157398A (zh) * | 2017-07-17 | 2017-09-15 | 江苏美的清洁电器股份有限公司 | 吸尘器的地刷组件及吸尘器 |
| CN111343892A (zh) * | 2017-11-13 | 2020-06-26 | 三星电子株式会社 | 清扫机 |
| US11517159B2 (en) | 2017-11-13 | 2022-12-06 | Samsung Electronics Co., Ltd. | Cleaner |
| CN108578879A (zh) * | 2018-05-17 | 2018-09-28 | 首都医科大学附属北京友谊医院 | 一种儿童变径球囊扩张导管 |
| CN108578879B (zh) * | 2018-05-17 | 2024-02-09 | 首都医科大学附属北京友谊医院 | 一种儿童变径球囊扩张式血管支架专用导管 |
| CN116158688A (zh) * | 2018-10-19 | 2023-05-26 | 尚科宁家运营有限公司 | 真空清洁器和用于真空清洁器的搅拌器 |
| US11759069B2 (en) | 2018-10-19 | 2023-09-19 | Sharkninja Operating Llc | Agitator for a surface treatment apparatus and a surface treatment apparatus having the same |
| CN116687259A (zh) * | 2018-10-19 | 2023-09-05 | 尚科宁家运营有限公司 | 真空清洁器和用于真空清洁器的搅拌器 |
| CN112888352B (zh) * | 2018-10-19 | 2023-06-23 | 尚科宁家运营有限公司 | 用于表面处理设备的搅拌器和具有该搅拌器的表面处理设备 |
| US11992172B2 (en) | 2018-10-19 | 2024-05-28 | Sharkninja Operating Llc | Agitator for a surface treatment apparatus and a surface treatment apparatus having the same |
| CN112888352A (zh) * | 2018-10-19 | 2021-06-01 | 尚科宁家运营有限公司 | 用于表面处理设备的搅拌器和具有该搅拌器的表面处理设备 |
| CN111035310A (zh) * | 2019-12-09 | 2020-04-21 | 浙江工业大学 | 一种用于吸尘车前置螺旋旋流装置 |
| CN111728530A (zh) * | 2020-07-14 | 2020-10-02 | 沈卫荣 | 一种多轴联动扫吸方法 |
| CN116209382A (zh) * | 2020-10-08 | 2023-06-02 | 尚科宁家运营有限公司 | 用于表面处理设备的搅拌器和具有该搅拌器的表面处理设备 |
| CN112353326A (zh) * | 2020-11-09 | 2021-02-12 | 卓益科技(广东)有限公司 | 一种扫地机清扫辊筒及其生产方法 |
| TWI839691B (zh) * | 2021-05-12 | 2024-04-21 | 日商日立環球生活方案股份有限公司 | 吸頭體及具備其之電動吸塵器 |
Similar Documents
| Publication | Publication Date | Title |
|---|---|---|
| CN102727136A (zh) | 带螺旋状叶片的滚刷结构 | |
| CN113951764B (zh) | 机器人清洁器 | |
| CN102462450A (zh) | 吸尘器滚刷 | |
| AU2011278100B2 (en) | A vacuum cleaning appliance | |
| EP1737326B1 (en) | Surface cleaning apparatus | |
| CN102462449A (zh) | 旋转滚刷 | |
| CN102188195A (zh) | 便于拆卸抹布的吸尘器滚刷吸头 | |
| CN102755140A (zh) | 吸尘器的自动清洁过滤装置 | |
| CN102755138A (zh) | 具有轴向刷动结构的滚刷 | |
| CN1887171A (zh) | 立式吸尘器滚刷连结结构 | |
| CN102100506A (zh) | 一种高效清理格栅的吸尘器刷头 | |
| CN102342797A (zh) | 吸尘器滚刷 | |
| CN102210571A (zh) | 刷头 | |
| CN103142191A (zh) | 排风口设有旋风过滤装置的卧式吸尘器 | |
| CN103190863A (zh) | 设有过载保护装置的滚刷结构 | |
| CN103082947A (zh) | 具有通气内挡板的吸尘器刷头结构 | |
| CN103371775A (zh) | 主电机直驱式立式吸尘器滚刷结构 | |
| CN205433568U (zh) | 一种吸尘器吸头及包含该吸头的吸尘器 | |
| CN215838844U (zh) | 一种用于清洁机的清洁模块及清洁机 | |
| CN107773154A (zh) | 一种喷淋除尘式吸尘器 | |
| CN105476549A (zh) | 一种吸尘器吸头及包含该吸头的吸尘器 | |
| CN102793515A (zh) | 一种旋风集尘器的流道结构 | |
| CN109431393B (zh) | 地刷组件及扫地机器人 | |
| WO2005053496A1 (en) | Surface cleaning apparatus | |
| CN215502736U (zh) | 用于清洁机的除螨头及具有该除螨头的清洁机 |
Legal Events
| Date | Code | Title | Description |
|---|---|---|---|
| C06 | Publication | ||
| PB01 | Publication | ||
| C10 | Entry into substantive examination | ||
| SE01 | Entry into force of request for substantive examination | ||
| C41 | Transfer of patent application or patent right or utility model | ||
| TA01 | Transfer of patent application right |
Effective date of registration: 20160513 Address after: 210014 Yongfeng Road, Qinhuai District, Jiangsu, No. 28, No. Applicant after: Nanjing LG Panda Appliances Co., Ltd. Address before: 300402 Tianjin city Beichen District Xingdian Road Applicant before: Lejin Electronic and Electric Appliance Co., Ltd. (Tianjin) |
|
| RJ01 | Rejection of invention patent application after publication | ||
| RJ01 | Rejection of invention patent application after publication |
Application publication date: 20121017 |