CN102692120A - 一种顶部进出工件的多工位烘房 - Google Patents
一种顶部进出工件的多工位烘房 Download PDFInfo
- Publication number
- CN102692120A CN102692120A CN2012102069040A CN201210206904A CN102692120A CN 102692120 A CN102692120 A CN 102692120A CN 2012102069040 A CN2012102069040 A CN 2012102069040A CN 201210206904 A CN201210206904 A CN 201210206904A CN 102692120 A CN102692120 A CN 102692120A
- Authority
- CN
- China
- Prior art keywords
- drying room
- carrier chain
- multistation
- door
- workpiece
- Prior art date
- Legal status (The legal status is an assumption and is not a legal conclusion. Google has not performed a legal analysis and makes no representation as to the accuracy of the status listed.)
- Pending
Links
- 238000001035 drying Methods 0.000 title claims abstract description 74
- 238000007599 discharging Methods 0.000 title abstract 3
- 230000007246 mechanism Effects 0.000 claims abstract description 63
- 230000007306 turnover Effects 0.000 claims description 16
- 230000003028 elevating effect Effects 0.000 claims description 12
- 230000005540 biological transmission Effects 0.000 claims description 2
- 238000004519 manufacturing process Methods 0.000 abstract description 7
- 238000005265 energy consumption Methods 0.000 abstract description 2
- 230000003245 working effect Effects 0.000 abstract 2
- 239000000725 suspension Substances 0.000 description 21
- 238000000034 method Methods 0.000 description 3
- 230000007423 decrease Effects 0.000 description 2
- 238000005516 engineering process Methods 0.000 description 2
- 238000009413 insulation Methods 0.000 description 2
- 230000004048 modification Effects 0.000 description 2
- 238000012986 modification Methods 0.000 description 2
- 230000008569 process Effects 0.000 description 2
- 229910000831 Steel Inorganic materials 0.000 description 1
- 230000009471 action Effects 0.000 description 1
- 230000001419 dependent effect Effects 0.000 description 1
- 238000006073 displacement reaction Methods 0.000 description 1
- 230000000694 effects Effects 0.000 description 1
- 238000010438 heat treatment Methods 0.000 description 1
- 239000012774 insulation material Substances 0.000 description 1
- 239000000463 material Substances 0.000 description 1
- 239000003973 paint Substances 0.000 description 1
- 238000005096 rolling process Methods 0.000 description 1
- 239000010959 steel Substances 0.000 description 1
- 238000010792 warming Methods 0.000 description 1
Images
Landscapes
- Drying Of Solid Materials (AREA)
Abstract
本发明公开了一种顶部进出工件的多工位烘房,由烘房室体、进出门机构、移门机构、升降机构、移动机构和热风循环系统组成;所述进出门机构设置于烘房室体顶部,所述移门机构设置在烘房室体外部,并且所述移门机构与所述进出门机构传动连接,所述升价机构设置在烘房室体外侧壁板上,其顶部位于烘房室体内,所述移动机构设置在烘房内部两侧。这种顶部进出工件的多工位烘房采用提升机构和移动机构,使工件从炉外接受缩回炉内后,在节拍输送中实施烘干作业,既确保了烘干的工艺时间,也满足了生产节拍的要求,相当于多台烘干槽的工作效果,提高了生产效率,节约能耗和投资成本。
Description
技术领域
本发明涉及一种烘房,尤其涉及一种顶部进出工件的多工位烘房。
背景技术
在自动行车输送工件的涂装生产线中,配套的顶部进出工件的烘房,一般都是供一个吊架进出的单工位槽式烘房,只对一个吊架所挂的工件进行加热干燥。为了确保烘干时间,生产线有时需要配置多个烘干槽才能满足生产节拍的要求,增加了设备投资、能耗和占地面积,也影响了生产能力的提高。
发明内容
本发明所要解决的技术问题是,提供一种投资成本小、生产效率高的顶部进出工件的多工位烘房。
为了解决上述技术问题,本发明是通过以下技术方案实现的:一种顶部进出工件的多工位烘房,由烘房室体、进出门机构、移门机构、升降机构、移动机构和热风循环系统组成;所述进出门机构设置于烘房室体顶部,所述移门机构设置在烘房室体外部,并且所述移门机构与所述进出门机构传动连接,所述升价机构设置在烘房室体外侧壁板上,其顶部位于烘房室体内,所述移动机构设置在烘房内部两侧。
优选的,所述进出门机构由入件门和出件门组成;入件门和出件门底部设置有滚轮,所述滚轮与设置在烘房室体顶部的导轨配合,通过移门机构的牵引灵活移动。
优选的,所述移动机构由移动输送链、输送链导轨、输送链张紧装置、驱动链轮和驱动装置组成;移动输送链设置在输送链导轨上,输送链张紧装置设置在移动输送链一端,驱动装置设置于烘房室体壁板外,通过驱动链轮与输送链张紧装置连接。
优选的,所述热风循环系统由燃烧器、换热器、连接风管、循环风机、送风管和回风管组成;换热器设置在燃烧器与连接风管之间,连接风管另一端依次连接有循环风机和送风管,回风管与换热器连接。
优选的,所述驱动装置上设置有用于机构过载保护的过扭矩装置。
与现有技术相比,本发明的有益之处是:这种顶部进出工件的多工位烘房采用提升机构和移动机构,使工件从炉外接受缩回炉内后,在节拍输送中实施烘干作业,既确保了烘干的工艺时间,也满足了生产节拍的要求,相当于多台烘干槽的工作效果,提高了生产效率,节约能耗和投资成本。
附图说明:
下面结合附图对本发明进一步说明。
图1是本发明一种顶部进出工件的多工位烘房进出门机构结构示意图;
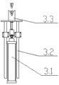
图2是吊架升降气缸、升降导轨和V形托板结构放大图;
图3是吊架移动机构结构示意图;
图4是热风循环系统结构示意图。
图中:1、进出门机构; 1.1、滚轮; 1.2、滚轮导轨; 2、移门机构; 3、升降机构; 3.1、升降气缸; 3.2、升降导向; 3.3、V形托板; 4、移动机构; 4.1、移动输送链; 4.2、输送链导轨; 4.3、移动驱动装置; 5、热风循环系统; 5.1、燃烧器; 5.2、换热器; 5.3、连接风管; 5.4、循环风机; 5.5、送风管。
具体实施方式:
下面结合附图及具体实施方式对本发明进行详细描述:
一种顶部进出工件的多工位烘房,由烘房室体、进出门机构1、移门机构2、升降机构3、移动机构4和热风循环系统5组成;所述进出门机构1设置于烘房室体顶部,所述移门机构2设置在烘房室体外部,并且所述移门机构2与所述进出门机构1传动连接,所述升价机构3设置在烘房室体外侧壁板上,其顶部位于烘房室体内,所述移动机构4设置在烘房内部两侧。
如图1所示,所述进出门机构1由入件门和出件门组成;入件门和出件门底部设置有滚轮1.1,所述滚轮1.1与设置在烘房室体顶部的导轨1.2配合,通过移门机构2的牵引灵活移动。
如图2所示,所述升降机构3由升降气缸3.1、升降导向3.2和V形托板3.3组成;升降气缸3.1设置在升降导向3.2内侧,V形托板3.3设置在升降导向3.2顶部;该升降机构3设置在工件进出门机构1下方,用于接受和提交来自龙门式行车的吊架,为避免烘房室体温度的影响,升降气缸3.1布置在烘房室体壁板外,且升降导向3.2处应有良好的隔热措施.
如图3所示,所述移动机构4由移动输送链4.1、输送链导轨4.2、输送链张紧装置、驱动链轮和驱动装置4.3 组成;移动输送链4.1设置在输送链导轨4.2上,输送链张紧装置设置在移动输送链4.1一端,驱动装置4.3设置于烘房室体壁板外,通过驱动链轮与输送链张紧装置连接;该吊架移动机构4安装在烘房室体内部两侧,用于移动吊满工件的吊架,吊架的移动为节拍式,移动距离按照生产节拍的要求,为防止移动中工件意外而卡住输送,驱动装置4.3上还装有用于机构过载保护的过扭矩装置。
如图4所示,所述热风循环系统5由燃烧器5.1、换热器5.2、连接风管5.3、循环风机5.4、送风管5.5和回风管5.6组成;换热器5.2设置在燃烧器5.1与连接风管5.3之间,连接风管5.3另一端依次连接有循环风机5.4和送风管5.5,回风管5.6与换热器5.2连接;热风循环系统5除送风管5.5和回风管5.6设置在在烘房室体内,其燃烧器5.1、换热器5.2设置在烘房室体外部;该热风循环系统5的作用是产生热风并实施对工件的加热,炉内的温度控制是由温度传感器测出回风温度信号,通过数显控温仪与设定温度值比较后输出指令信号来控制燃烧器,从而实现炉温自控和显示;送风口和回风口为百叶窗形式,便于调节送风量,使烘炉内送风均匀;送风管5.5和回风管5.6的布置根据吊挂在吊架上的工件组合后的形状和尺寸,使热风畅通和循环,确保工件均匀受热。
所述烘房室体采用钢结构框架结构,框架外四周为拼装保温壁板,壁板为一定厚度的定型保温板,壁板的厚度和保温材料应根据烘房的工作温度确定,内外壁材质可根据客户要求选定,室体的长度主要依据于工件的进入门洞与出件门洞之间的距离和烘房进风管5.5与回风管5.6及其风口的布置尺寸,入件门洞与出件门洞之间的距离(工位数)应根据烘干时间和生产节拍以及吊架间距来确定,烘房室体的宽度与高度都取决于烘房风管及其风口的布置和与生产率相关的所吊工件的组合尺寸。
其具体工作方式如下,第一步,入件:龙门式行车带动挂有工件的吊架运动到达烘房室体工件入件门的上方,行程开关发讯;接着,烘房入件门打开,到位发讯;然后,吊架升降机构3提升,托起龙门式行车上吊架,发讯;龙门式行车离开,发讯;然后,吊架升降机构3下降缩入烘房室体内,放置吊架在吊架移动机构4的移动输送链4.1上;升降机构3继续下降,到位发讯;第二步,移动:吊架移动机构4启动,移动输送链4.1带动吊架移动一个节拍距离,到位,位于烘房室体壁板外的移动驱动装置4.3发讯;第三步,出件:烘房室体出件门打开,到位发讯;吊架升降机构3提升,托起吊架,到位发讯;龙门式行车到位,提升,托起吊架,到位发讯并离开;吊架升降机构3下降缩入烘房室体内,到位发讯。以上动作均由PLC控制,也包括热风循环系统的控制等,所有发讯的行程开关均在烘房外,如实施器件在炉内,则由杠杆引出。
这种顶部进出工件的多工位烘房采用提升机构和移动机构,使工件从炉外接受缩回炉内后,在节拍输送中实施烘干作业,既确保了烘干的工艺时间,也满足了生产节拍的要求,相当于多台烘干槽的工作效果,提高了生产效率,节约能耗和投资成本。
需要强调的是:以上仅是本发明的较佳实施例而已,并非对本发明作任何形式上的限制,凡是依据本发明的技术实质对以上实施例所作的任何简单修改、等同变化与修饰,均仍属于本发明技术方案的范围内。
Claims (6)
1.一种顶部进出工件的多工位烘房,其特征在于:由烘房室体、进出门机构(1)、移门机构(2)、升降机构(3)、移动机构(4)和热风循环系统(5)组成;所述进出门机构(1)设置于烘房室体顶部,所述移门机构(2)设置在烘房室体外部,并且所述移门机构(2)与所述进出门机构(1)传动连接,所述升价机构(3)设置在烘房室体外侧壁板上,其顶部位于烘房室体内,所述移动机构(4)设置在烘房内部两侧。
2.根据权利要求1所述的顶部进出工件的多工位烘房,其特征在于:所述进出门机构(1)由入件门和出件门组成;入件门和出件门底部设置有滚轮(1.1),所述滚轮(1.1)与设置在烘房室体顶部的导轨(1.2)配合,通过移门机构(2)的牵引灵活移动。
3.根据权利要求1所述的顶部进出工件的多工位烘房,其特征在于:所述升降机构(3)由升降气缸(3.1)、升降导向(3.2)和V形托板(3.3)组成;升降气缸(3.1)设置在升降导向(3.2)内侧,V形托板(3.3)设置在升降导向(3.2)顶部。
4.根据权利要求1所述的顶部进出工件的多工位烘房,其特征在于:所述移动机构(4)由移动输送链(4.1)、输送链导轨(4.2)、输送链张紧装置、驱动链轮和驱动装置(4.3) 组成;移动输送链(4.1)设置在输送链导轨(4.2)上,输送链张紧装置设置在移动输送链(4.1)一端,驱动装置(4.3)设置于烘房室体壁板外,通过驱动链轮与输送链张紧装置连接。
5.根据权利要求1所述的顶部进出工件的多工位烘房,其特征在于:所述热风循环系统(5)由燃烧器(5.1)、换热器(5.2)、连接风管(5.3)、循环风机(5.4)、送风管(5.5)和回风管(5.6)组成;换热器(5.2)设置在燃烧器(5.1)与连接风管(5.3)之间,连接风管(5.3)另一端依次连接有循环风机(5.4)和送风管(5.5),回风管(5.6)与换热器(5.2)连接。
6.根据权利要求4所述的顶部进出工件的多工位烘房,其特征在于:所述驱动装置(4.3)上设置有用于机构过载保护的过扭矩装置。
Priority Applications (1)
| Application Number | Priority Date | Filing Date | Title |
|---|---|---|---|
| CN2012102069040A CN102692120A (zh) | 2012-06-21 | 2012-06-21 | 一种顶部进出工件的多工位烘房 |
Applications Claiming Priority (1)
| Application Number | Priority Date | Filing Date | Title |
|---|---|---|---|
| CN2012102069040A CN102692120A (zh) | 2012-06-21 | 2012-06-21 | 一种顶部进出工件的多工位烘房 |
Publications (1)
| Publication Number | Publication Date |
|---|---|
| CN102692120A true CN102692120A (zh) | 2012-09-26 |
Family
ID=46857739
Family Applications (1)
| Application Number | Title | Priority Date | Filing Date |
|---|---|---|---|
| CN2012102069040A Pending CN102692120A (zh) | 2012-06-21 | 2012-06-21 | 一种顶部进出工件的多工位烘房 |
Country Status (1)
| Country | Link |
|---|---|
| CN (1) | CN102692120A (zh) |
Cited By (6)
| Publication number | Priority date | Publication date | Assignee | Title |
|---|---|---|---|---|
| CN103307860A (zh) * | 2013-07-11 | 2013-09-18 | 镇江市丹徒区兴农葛根茶厂 | 一种葛根烘干装置 |
| CN103453738A (zh) * | 2013-08-28 | 2013-12-18 | 江苏高皓工业炉有限公司 | 一种烘箱 |
| CN104858117A (zh) * | 2015-04-30 | 2015-08-26 | 苏州柳溪机电工程有限公司 | 涂装线双层式高温烘道 |
| CN105020993A (zh) * | 2015-07-06 | 2015-11-04 | 安徽景昌铝业有限公司 | 新型自动上开式型材烘烤箱 |
| CN111744884A (zh) * | 2020-07-10 | 2020-10-09 | 新昌县海博科技股份有限公司 | 网带式超声波清洗机的真空干燥装置及方法 |
| CN112024320A (zh) * | 2020-08-04 | 2020-12-04 | 东莞市科为机械设备有限公司 | 多工位吊链式步进干燥炉 |
Citations (8)
| Publication number | Priority date | Publication date | Assignee | Title |
|---|---|---|---|---|
| JP2000016580A (ja) * | 1998-07-08 | 2000-01-18 | Mee:Kk | チャッキング式処理装置 |
| CN2519702Y (zh) * | 2001-12-07 | 2002-11-06 | 王彦贵 | 升降箱式炉 |
| CN200979358Y (zh) * | 2006-12-07 | 2007-11-21 | 浙江明泉工业涂装有限公司 | 全自动控温热风干燥设备 |
| US20090017408A1 (en) * | 2006-06-16 | 2009-01-15 | Durr Systems, Inc. | Radiant convection oven |
| CN201454901U (zh) * | 2009-07-02 | 2010-05-12 | 宜昌英汉超声电气有限公司 | 旋转式多工位升降超声波清洗机 |
| CN101850328A (zh) * | 2010-06-21 | 2010-10-06 | 苏州丰裕机械工程有限公司 | 立体式烘炉 |
| CN201783449U (zh) * | 2010-08-22 | 2011-04-06 | 佛山市奥通工业设备有限公司 | 浸塑烘烤炉 |
| CN202630643U (zh) * | 2012-06-21 | 2012-12-26 | 苏州源申涂装净化设备有限公司 | 顶部进出工件的多工位烘房 |
-
2012
- 2012-06-21 CN CN2012102069040A patent/CN102692120A/zh active Pending
Patent Citations (8)
| Publication number | Priority date | Publication date | Assignee | Title |
|---|---|---|---|---|
| JP2000016580A (ja) * | 1998-07-08 | 2000-01-18 | Mee:Kk | チャッキング式処理装置 |
| CN2519702Y (zh) * | 2001-12-07 | 2002-11-06 | 王彦贵 | 升降箱式炉 |
| US20090017408A1 (en) * | 2006-06-16 | 2009-01-15 | Durr Systems, Inc. | Radiant convection oven |
| CN200979358Y (zh) * | 2006-12-07 | 2007-11-21 | 浙江明泉工业涂装有限公司 | 全自动控温热风干燥设备 |
| CN201454901U (zh) * | 2009-07-02 | 2010-05-12 | 宜昌英汉超声电气有限公司 | 旋转式多工位升降超声波清洗机 |
| CN101850328A (zh) * | 2010-06-21 | 2010-10-06 | 苏州丰裕机械工程有限公司 | 立体式烘炉 |
| CN201783449U (zh) * | 2010-08-22 | 2011-04-06 | 佛山市奥通工业设备有限公司 | 浸塑烘烤炉 |
| CN202630643U (zh) * | 2012-06-21 | 2012-12-26 | 苏州源申涂装净化设备有限公司 | 顶部进出工件的多工位烘房 |
Cited By (8)
| Publication number | Priority date | Publication date | Assignee | Title |
|---|---|---|---|---|
| CN103307860A (zh) * | 2013-07-11 | 2013-09-18 | 镇江市丹徒区兴农葛根茶厂 | 一种葛根烘干装置 |
| CN103453738A (zh) * | 2013-08-28 | 2013-12-18 | 江苏高皓工业炉有限公司 | 一种烘箱 |
| CN104858117A (zh) * | 2015-04-30 | 2015-08-26 | 苏州柳溪机电工程有限公司 | 涂装线双层式高温烘道 |
| CN104858117B (zh) * | 2015-04-30 | 2017-05-31 | 苏州柳溪机电工程有限公司 | 涂装线双层式高温烘道 |
| CN105020993A (zh) * | 2015-07-06 | 2015-11-04 | 安徽景昌铝业有限公司 | 新型自动上开式型材烘烤箱 |
| CN105020993B (zh) * | 2015-07-06 | 2018-10-02 | 安徽景昌铝业有限公司 | 自动上开式型材烘烤箱 |
| CN111744884A (zh) * | 2020-07-10 | 2020-10-09 | 新昌县海博科技股份有限公司 | 网带式超声波清洗机的真空干燥装置及方法 |
| CN112024320A (zh) * | 2020-08-04 | 2020-12-04 | 东莞市科为机械设备有限公司 | 多工位吊链式步进干燥炉 |
Similar Documents
| Publication | Publication Date | Title |
|---|---|---|
| CN102692120A (zh) | 一种顶部进出工件的多工位烘房 | |
| CN203128616U (zh) | 一种新型底装料铝材退火炉 | |
| CN203144452U (zh) | 连续退火炉 | |
| CN101850328A (zh) | 立体式烘炉 | |
| CN104513890B (zh) | 循环式高效淬火回火设备 | |
| CN203586774U (zh) | 辊道窑回车线 | |
| CN202630643U (zh) | 顶部进出工件的多工位烘房 | |
| CN205223289U (zh) | 一种铝合金固熔炉系统 | |
| CN103642993A (zh) | 一种改进的铝型材时效炉 | |
| CN107354287A (zh) | 温控均匀的铝卷退火炉 | |
| CN108164259B (zh) | 物料排胶和烧结生产线 | |
| CN207963468U (zh) | 一种镁铝板材连续加热预热炉 | |
| CN207347620U (zh) | 一种自动智能化高效节能全纤维台车式真空退火炉 | |
| CN102373319B (zh) | 节能消氢炉 | |
| CN201809405U (zh) | 飞机蒙皮时效炉 | |
| CN207563215U (zh) | 一种铸型、砂芯表面涂料的烘干设备 | |
| CN101907404B (zh) | 平面矩形节能冷却机及其冷却工艺 | |
| CN107502725A (zh) | 一种高效节能全纤维台车式真空退火炉 | |
| CN210625322U (zh) | 一种台车式电阻炉 | |
| CN204039248U (zh) | 玻璃热弯成型机 | |
| CN207498420U (zh) | 一种高效节能全纤维台车式真空退火炉 | |
| CN209577082U (zh) | 超大尺寸板状钢结构的静电喷涂设备 | |
| CN201429331Y (zh) | 平面矩形节能冷却机 | |
| CN215250402U (zh) | 一种异形热弯玻璃钢化设备 | |
| CN201241006Y (zh) | 薄片玻璃强化炉 |
Legal Events
| Date | Code | Title | Description |
|---|---|---|---|
| C06 | Publication | ||
| PB01 | Publication | ||
| C10 | Entry into substantive examination | ||
| SE01 | Entry into force of request for substantive examination | ||
| C02 | Deemed withdrawal of patent application after publication (patent law 2001) | ||
| WD01 | Invention patent application deemed withdrawn after publication |
Application publication date: 20120926 |