CN102633130A - 智能夹砖机 - Google Patents
智能夹砖机 Download PDFInfo
- Publication number
- CN102633130A CN102633130A CN2012101276537A CN201210127653A CN102633130A CN 102633130 A CN102633130 A CN 102633130A CN 2012101276537 A CN2012101276537 A CN 2012101276537A CN 201210127653 A CN201210127653 A CN 201210127653A CN 102633130 A CN102633130 A CN 102633130A
- Authority
- CN
- China
- Prior art keywords
- brick
- lifting
- rotating mechanism
- clamping machine
- crane
- Prior art date
- Legal status (The legal status is an assumption and is not a legal conclusion. Google has not performed a legal analysis and makes no representation as to the accuracy of the status listed.)
- Granted
Links
- 239000011449 brick Substances 0.000 title claims abstract description 102
- 230000007246 mechanism Effects 0.000 claims abstract description 55
- 230000008878 coupling Effects 0.000 claims description 4
- 238000010168 coupling process Methods 0.000 claims description 4
- 238000005859 coupling reaction Methods 0.000 claims description 4
- 230000009471 action Effects 0.000 abstract description 7
- 238000000034 method Methods 0.000 abstract description 6
- 238000010586 diagram Methods 0.000 description 5
- 239000011120 plywood Substances 0.000 description 4
- 238000010304 firing Methods 0.000 description 3
- 238000004519 manufacturing process Methods 0.000 description 2
- 239000004566 building material Substances 0.000 description 1
- 230000008859 change Effects 0.000 description 1
- 230000006835 compression Effects 0.000 description 1
- 238000007906 compression Methods 0.000 description 1
- 230000008602 contraction Effects 0.000 description 1
- 230000003028 elevating effect Effects 0.000 description 1
- 239000011451 fired brick Substances 0.000 description 1
- 230000008520 organization Effects 0.000 description 1
- 230000008569 process Effects 0.000 description 1
Images
Landscapes
- Furnace Housings, Linings, Walls, And Ceilings (AREA)
Abstract
本发明提供一种智能夹砖机,该智能夹砖机主要由行车(1)、旋转机构(2)、升降机构(3)和卸砖夹具(4)组成,采用PLC可编程控制器与液压机构控制,其中:行车(1)横跨在窑车上方,旋转机构(2)布置在行车(1)上,升降机构(3)与旋转机构(2)的下端相连,卸砖夹具(4)连接在升降机构(2)的下端;所述机构均由PLC可编程控制器控制。本发明通过简单调整夹具,不仅能保证将每块砖都夹紧搬运,避免掉砖漏砖,同时夹具也能进行水平旋转,自动适应不同的砖堆码放方式,并且卸砖动作准确快速,控制方便,可以实现无人值守的自动化卸砖。
Description
技术领域
本发明涉及建材生产机械领域,尤其是涉及一种机电一体化的自动夹取烧制出窑后成品砖的智能夹砖机。
背景技术
目前,公知的卸砖机械,大多采用的是龙门吊床配备专用的夹具,来实现对刚出窑的砖块进行装卸。在设计上,夹具多为在砖堆两边布置整体夹板,同时夹住砖堆底部的多块砖,将整堆砖吊离窑车,由于成品砖在烧制后往往有较明显的膨胀或收缩变形,这种夹取方式无法保证夹具与底部每块砖都能良好接触与压紧,起吊后容易发生掉砖现象。由于夹具一次夹取整个砖堆,必须消除因为烧制需要而在砖堆中留的空隙,在推挤底部砖块时容易导致砖堆的倾倒。并且现存的卸砖机均无法在水平方向上自动旋转夹具,对不同码放方向的砖堆必须调整夹具后才能进行卸砖。另外,现存的卸砖机械在控制上往往是采用普通电气控制,自动化程度较低,动作不够准确快速,也无法实现含有复杂动作的自动运行。
发明内容
本发明所要解决的技术问题是:提供一种智能夹砖机,以克服现有卸砖机夹砖时掉砖,无法改变夹砖方向以及无法较好地全自动卸砖的问题。
本发明解决其技术问题采用以下的技术方案:
本发明提供的智能夹砖机,主要由行车、旋转机构、升降机构和卸砖夹具组成,采用PLC可编程控制器与液压机构控制,其中:行车横跨在窑车上方,旋转机构布置在行车上,升降机构与旋转机构的下端相连,卸砖夹具连接在升降机构的下端;所述机构均由PLC可编程控制器控制。
所述行车由立柱支撑,该行车由交错布置的行车主梁和行车副梁组成,其中:行车主梁上铺设的主梁轻轨由主梁行走电机带动,使行车副梁沿行车主梁方向运动;行车副梁上铺设的副梁轻轨由副梁行走电机带动,使平板车沿行车副梁方向运动,实现行车在窑车上方水平位置任意移动。
所述旋转机构的旋转机构主轴通过止推轴承安装于平板车底板上,该旋转机构主轴的上端由联轴器与安装在支撑板上的旋转电机相连,该旋转机构主轴的下端伸出穿过连接板后与上端支架相连,并通过锁紧螺母固定;支撑板通过若干支撑杆固定在平板车底板上。
所述升降机构的两侧设有升降剪叉,升降剪叉分别与上端支架及卸砖夹具的夹具机架相连,两侧升降剪叉间设置横连杆。
所述夹具机架上设有用以连接升降剪叉的吊耳与滑轨。
所述夹具机架上设有用以连接夹板的夹板横轴。
所述卸砖夹具由并排穿在夹板横轴上的多个夹板组成,这些夹板与所夹取的砖块一一对应,由双向双出头液压缸驱动相对的夹板加紧与放松;夹板横轴与卸砖夹具的机架相连。
本发明与现有技术相比具有以下的主要的优点:
其一.可以实现对各种烧制后砖堆进行快速可靠地卸砖作业,无掉砖漏砖现象,通用性好,控制方便,效率高,对于标准砖,每小时卸砖量达到3500块。通过PLC控制可实现复杂的的自动化卸砖。
其二.该夹砖机通过各个夹板的独立动作,不仅能保证将每块砖都夹紧搬运,避免掉砖漏砖,同时夹具也能进行水平旋转,自动适应不同的砖堆码放方式。并且卸砖动作准确快速,控制方便,可以实现无人值守的自动化卸砖。
其三.对于非标准砖的其它砖型,只需简单调整各独立夹板的位置,便能适应不同尺寸的砖,通用性好。
其四.结构简单,大量采用标准件进行制造,维护方便,价格适中,易于推广。
附图说明
图1为本发明智能夹砖机的结构示意图。
图2为图1的左视图。
图3为图1中的行车结构示意图。
图4为图3的左视图。
图5为图1中的旋转机构的结构示意图。
图6为图5的左视图。
图7为图1中的升降机构的结构示意图
图8为图5的左视图。
图9为图1中的夹具的结构示意图。
图10为图9的左视图。
图11为图9的各独立夹板结构示意图。
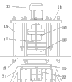
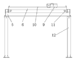
图中:1.行车; 2.旋转机构; 3.升降机构; 4.卸砖夹具; 5.行车主梁; 6.行车副梁; 7.主梁轻轨; 8.副梁行走电机; 9.平板车; 10.副梁轻轨;11.主梁行走电机;12.立柱; 13.旋转电机; 14.支撑板;15.支撑杆;16.联轴器;17.旋转机构主轴;18.止推轴承;19.平板车底板; 20.连接板;21.上端支架;22.锁紧螺母;23.起重电机;24.横连杆;25.升降剪叉;26.吊钩;27.吊耳; 28.夹具机架; 29.滑轨;30.夹板横轴;31.双向双出头液压缸; 32.夹板, 33夹板底座。
具体实施方式
下面结合实施例及附图对本发明作进一步说明,但并不局限于下面所述内容。
本发明提供的智能夹砖机,其结构如图1和图2所示,主要由行车1、旋转机构2、升降机构3以及卸砖夹具4组成,采用PLC可编程控制器与液压机构控制,其中:行车1横跨在窑车上方,旋转机构2布置在行车1上,升降机构3与旋转机构2下端相连,卸砖夹具4连接在升降机构3的下端,由PLC可编程控制器对各个机构进行控制。
所述行车1为双梁结构,包括行车主梁5和行车副梁6,由立柱12支撑,具体结构如图3和图4所示,行车主梁5上铺设主梁轻轨7,通过主梁行走电机11带动,实现行车副梁6沿行车主梁5方向的运动;行车副梁6上铺设副梁轻轨10,由副梁行走电机8带动平板车9沿行车副梁方向运动,从而实现行车在窑车上方水平位置任意移动。
所述旋转机构2安装在平板车9的底板上,该旋转机构的结构如图5和图6所示,包括:旋转机构主轴17通过止推轴承18安装于平板车9的底板上,旋转机构主轴17的上端由联轴器16与旋转电机13相连,旋转电机13安装在支撑板14上,支撑板14通过若干支撑杆15固定在平板车9的底板上。旋转机构主轴17的下端伸出,穿过连接板20后与上端支架21相连,并通过锁紧螺母22固定。这样,当旋转电机13动作时,将带动连接板20及下部卸砖夹具4转动。
在图7与图8中,起重电机23固定在连接板20下端,垂下的吊钩26与卸砖夹具4的机架相连,可吊起或降下卸砖夹具4。升降剪叉25分别与上端支架21及卸砖夹具4机架相连,两侧升降剪叉25间设置横连杆24,保证卸砖机工作时卸砖夹具4不产生晃动与扭转。
在图9、图10 与图11中,夹具机架28上设有吊耳27与滑轨29,用以连接升降剪叉25。夹具机架28上穿有夹板横轴30,夹板32并排穿在夹板横轴30上,以其为支点,由双向双出头液压缸31带动进行旋转,从而加紧或放松砖块。每块砖都由相应的夹板32对应夹紧,夹板32可在夹板底座33上旋转,保证同时夹住两块砖时与砖接触良好,可以避免掉砖与漏砖现象。
本发明提供的智能夹砖机,通过简单调整夹具,不仅能保证将每块砖都夹紧搬运,避免掉砖漏砖,同时夹具也能进行水平旋转,自动适应不同的砖堆码放方式。并且卸砖动作准确快速,控制方便,可以实现无人值守的自动化卸砖。
本发明提供的智能夹砖机,其工作过程是:利用PLC控制整套设备,由行车1带动旋转机构2、升降机构3以及卸砖夹具4在窑车上方移动,当移动到需要搬运的砖堆上方时,升降机构3使卸砖夹具4下降,夹取一层砖后,通过升降机构3使夹具上升,同时行车1移动,将砖运送到制定地点后,升降机构3使卸砖夹具4下降,卸砖夹具4松开放下砖,如此往复,完成从窑车上卸下砖块的功能。若需要改变卸砖夹具对砖块夹取或放下的方向,则通过旋转机构2动作来实现。
Claims (7)
1.一种智能夹砖机,其特征是主要由行车(1)、旋转机构(2)、升降机构(3)和卸砖夹具(4)组成,采用PLC可编程控制器与液压机构控制,其中:行车(1)横跨在窑车上方,旋转机构(2)布置在行车(1)上,升降机构(3)与旋转机构(2)的下端相连,卸砖夹具(4)连接在升降机构(2)的下端;所述机构均由PLC可编程控制器控制。
2.根据权利要求1所述的智能夹砖机,其特征是所述行车(1)由立柱(12)支撑,该行车由交错布置的行车主梁(5)和行车副梁(6)组成,其中:行车主梁(5)上铺设的主梁轻轨(7)由主梁行走电机(11)带动,使行车副梁(6)沿行车主梁方向运动;行车副梁(6)上铺设的副梁轻轨(10)由副梁行走电机(8)带动,使平板车(9)沿行车副梁方向运动,实现行车(1)在窑车上方水平位置任意移动。
3.根据权利要求1所述的智能夹砖机,其特征是所述旋转机构(2)的旋转机构主轴(17)通过止推轴承(18)安装于平板车底板(19)上,该旋转机构主轴(17)的上端由联轴器(16)与安装在支撑板(14)上的旋转电机(13)相连,该主轴的下端伸出穿过连接板(20)后与上端支架(21)相连,并通过锁紧螺母固定;支撑板(14)通过若干支撑杆(15)固定在平板车(9)的底板(19)上。
4.根据权利要求1所述的智能夹砖机,其特征是所述升降机构(3)的两侧设有升降剪叉(25),升降剪叉(25)分别与上端支架(21)及卸砖夹具(4)的夹具机架(28)相连,两侧升降剪叉(25)间设置横连杆(24)。
5.根据权利要求4所述的智能夹砖机,其特征是在所述夹具机架(28)上设有用以连接升降剪叉(25)的吊耳(27)与滑轨(29)。
6.根据权利要求4所述的智能夹砖机,其特征是在所述夹具机架(28)上设有用以连接夹板(32)的夹板横轴(30)。
7.根据权利要求1所述的智能夹砖机,其特征是所述卸砖夹具(4)由并排穿在夹板横轴(30)上的多个夹板(32)组成,这些夹板与所夹取的砖块一一对应,由双向双出头液压缸(31)驱动相对的夹板(32)加紧与放松;夹板横轴(30)与卸砖夹具(4)的机架相连。
Priority Applications (1)
| Application Number | Priority Date | Filing Date | Title |
|---|---|---|---|
| CN201210127653.7A CN102633130B (zh) | 2012-04-27 | 2012-04-27 | 智能夹砖机 |
Applications Claiming Priority (1)
| Application Number | Priority Date | Filing Date | Title |
|---|---|---|---|
| CN201210127653.7A CN102633130B (zh) | 2012-04-27 | 2012-04-27 | 智能夹砖机 |
Publications (2)
| Publication Number | Publication Date |
|---|---|
| CN102633130A true CN102633130A (zh) | 2012-08-15 |
| CN102633130B CN102633130B (zh) | 2014-10-01 |
Family
ID=46617741
Family Applications (1)
| Application Number | Title | Priority Date | Filing Date |
|---|---|---|---|
| CN201210127653.7A Expired - Fee Related CN102633130B (zh) | 2012-04-27 | 2012-04-27 | 智能夹砖机 |
Country Status (1)
| Country | Link |
|---|---|
| CN (1) | CN102633130B (zh) |
Cited By (10)
| Publication number | Priority date | Publication date | Assignee | Title |
|---|---|---|---|---|
| CN103625931A (zh) * | 2013-12-12 | 2014-03-12 | 王传新 | 能自动旋转90度的加气砖夹具 |
| CN104276410A (zh) * | 2014-09-17 | 2015-01-14 | 东莞科多电气有限公司 | 自动堆棒机 |
| CN104355126A (zh) * | 2014-11-05 | 2015-02-18 | 洛阳中冶重工机械有限公司 | 移动式隧道窑用全自动码坯机 |
| CN104401684A (zh) * | 2014-11-05 | 2015-03-11 | 洛阳中冶重工机械有限公司 | 移动式隧道窑用全自动码坯机的水平移动装置 |
| CN104843224A (zh) * | 2014-02-19 | 2015-08-19 | 吴占海 | 全自动卸砖打包机 |
| CN105014413A (zh) * | 2015-07-29 | 2015-11-04 | 湖北汽车工业学院 | 重卡前桥镗孔夹具控制系统 |
| CN106006508A (zh) * | 2016-08-10 | 2016-10-12 | 宁波百琪达自动化设备有限公司 | 一种钕铁硼用码盘机 |
| CN107187886A (zh) * | 2017-07-11 | 2017-09-22 | 刘代勇 | 一种夹头、夹取装置及卸砖机 |
| CN107416520A (zh) * | 2017-08-28 | 2017-12-01 | 江山市郑氏砖业有限公司 | 自动夹砖设备 |
| CN108501198A (zh) * | 2018-05-11 | 2018-09-07 | 张黎明 | 一种无轨抓砖机 |
Citations (10)
| Publication number | Priority date | Publication date | Assignee | Title |
|---|---|---|---|---|
| US4284381A (en) * | 1978-07-28 | 1981-08-18 | Societe D'exploitation Des Establissements Minato S.O.D.E.E.M. | Method and apparatus for stacking blocks to form a pallet having predetermined spaces therein |
| EP0067493A1 (en) * | 1981-06-17 | 1982-12-22 | Administratie- en Automatiseringscentrum Vulcaan B.V. | Denesting device |
| US4540325A (en) * | 1983-04-18 | 1985-09-10 | Heisler Raymond A | Upstacker apparatus with biased gripping means |
| DE19920500A1 (de) * | 1999-05-05 | 2000-11-09 | Baston Artur Vobau | Vorrichtung zum Stapeln von Profilen |
| CN200971270Y (zh) * | 2006-11-21 | 2007-11-07 | 郭瑛 | 机械化自动码垛机 |
| CN201538572U (zh) * | 2009-07-10 | 2010-08-04 | 秦皇岛市奥瑞特科技有限公司 | 升降式输送装置 |
| CN102140846A (zh) * | 2010-02-03 | 2011-08-03 | 福建南方路面机械有限公司 | 一种混凝土布料机及其布料方法 |
| CN202007101U (zh) * | 2011-04-07 | 2011-10-12 | 张元海 | 起重升降平台稳定保护节能装置 |
| CN102225719A (zh) * | 2011-04-07 | 2011-10-26 | 信阳雄狮建材设备制造有限公司 | 砖坯自动码放装置 |
| CN202186750U (zh) * | 2011-07-28 | 2012-04-11 | 福建泉工机械有限公司 | 使用方便的码垛机 |
-
2012
- 2012-04-27 CN CN201210127653.7A patent/CN102633130B/zh not_active Expired - Fee Related
Patent Citations (10)
| Publication number | Priority date | Publication date | Assignee | Title |
|---|---|---|---|---|
| US4284381A (en) * | 1978-07-28 | 1981-08-18 | Societe D'exploitation Des Establissements Minato S.O.D.E.E.M. | Method and apparatus for stacking blocks to form a pallet having predetermined spaces therein |
| EP0067493A1 (en) * | 1981-06-17 | 1982-12-22 | Administratie- en Automatiseringscentrum Vulcaan B.V. | Denesting device |
| US4540325A (en) * | 1983-04-18 | 1985-09-10 | Heisler Raymond A | Upstacker apparatus with biased gripping means |
| DE19920500A1 (de) * | 1999-05-05 | 2000-11-09 | Baston Artur Vobau | Vorrichtung zum Stapeln von Profilen |
| CN200971270Y (zh) * | 2006-11-21 | 2007-11-07 | 郭瑛 | 机械化自动码垛机 |
| CN201538572U (zh) * | 2009-07-10 | 2010-08-04 | 秦皇岛市奥瑞特科技有限公司 | 升降式输送装置 |
| CN102140846A (zh) * | 2010-02-03 | 2011-08-03 | 福建南方路面机械有限公司 | 一种混凝土布料机及其布料方法 |
| CN202007101U (zh) * | 2011-04-07 | 2011-10-12 | 张元海 | 起重升降平台稳定保护节能装置 |
| CN102225719A (zh) * | 2011-04-07 | 2011-10-26 | 信阳雄狮建材设备制造有限公司 | 砖坯自动码放装置 |
| CN202186750U (zh) * | 2011-07-28 | 2012-04-11 | 福建泉工机械有限公司 | 使用方便的码垛机 |
Cited By (10)
| Publication number | Priority date | Publication date | Assignee | Title |
|---|---|---|---|---|
| CN103625931A (zh) * | 2013-12-12 | 2014-03-12 | 王传新 | 能自动旋转90度的加气砖夹具 |
| CN104843224A (zh) * | 2014-02-19 | 2015-08-19 | 吴占海 | 全自动卸砖打包机 |
| CN104276410A (zh) * | 2014-09-17 | 2015-01-14 | 东莞科多电气有限公司 | 自动堆棒机 |
| CN104355126A (zh) * | 2014-11-05 | 2015-02-18 | 洛阳中冶重工机械有限公司 | 移动式隧道窑用全自动码坯机 |
| CN104401684A (zh) * | 2014-11-05 | 2015-03-11 | 洛阳中冶重工机械有限公司 | 移动式隧道窑用全自动码坯机的水平移动装置 |
| CN105014413A (zh) * | 2015-07-29 | 2015-11-04 | 湖北汽车工业学院 | 重卡前桥镗孔夹具控制系统 |
| CN106006508A (zh) * | 2016-08-10 | 2016-10-12 | 宁波百琪达自动化设备有限公司 | 一种钕铁硼用码盘机 |
| CN107187886A (zh) * | 2017-07-11 | 2017-09-22 | 刘代勇 | 一种夹头、夹取装置及卸砖机 |
| CN107416520A (zh) * | 2017-08-28 | 2017-12-01 | 江山市郑氏砖业有限公司 | 自动夹砖设备 |
| CN108501198A (zh) * | 2018-05-11 | 2018-09-07 | 张黎明 | 一种无轨抓砖机 |
Also Published As
| Publication number | Publication date |
|---|---|
| CN102633130B (zh) | 2014-10-01 |
Similar Documents
| Publication | Publication Date | Title |
|---|---|---|
| CN102633130B (zh) | 智能夹砖机 | |
| CN103434851B (zh) | 一种烧结砖分层复合卸砖方法及其装置 | |
| CN203475853U (zh) | 一种轻质墙板施工作业车 | |
| CN103111778A (zh) | 吸盘吊装装置及板件拼焊物流输送系统 | |
| CN203045200U (zh) | 吸盘吊装装置及板件拼焊物流输送系统 | |
| CN203667522U (zh) | 集装箱举升翻转设备 | |
| CN104176498A (zh) | 一种用于石材板自动上下料的装置及方法 | |
| CN103879789A (zh) | 一种新型码垛机 | |
| CN110116905A (zh) | 物料搬运装置 | |
| CN104859046B (zh) | 一种能够将模台限位的预制双层墙板翻转机 | |
| CN109879054A (zh) | 一种静压水泥砖坯码垛生产线 | |
| CN110745562B (zh) | 一种自动码砖机 | |
| CN219030992U (zh) | 钢筋桁架楼承板组装生产线 | |
| CN109877918A (zh) | 具有自动翻转功能的加工中心 | |
| CN113148659A (zh) | 一种泡沫陶瓷板的高效卸板机 | |
| CN105947693A (zh) | 一种全自动烧结砖码坯机 | |
| CN115741081A (zh) | 钢筋桁架楼承板全自动组装生产线 | |
| CN110654885A (zh) | 一种双缸夹具及应用该双缸夹具的拆垛机夹手 | |
| CN205998658U (zh) | 一种自动液压码垛机 | |
| CN203474277U (zh) | 无摆动行吊式抱砖机 | |
| CN209922572U (zh) | 一种自动上板装置及纸板堆码系统 | |
| CN203269090U (zh) | 板材搬运装置 | |
| CN207129916U (zh) | 一种具有自锁夹爪的搬砖机 | |
| CN105923404A (zh) | 一种砖窑自动码坯机 | |
| CN110436166B (zh) | 用于刹车卡钳支架检测装置的旋转式料仓 |
Legal Events
| Date | Code | Title | Description |
|---|---|---|---|
| C06 | Publication | ||
| PB01 | Publication | ||
| C10 | Entry into substantive examination | ||
| SE01 | Entry into force of request for substantive examination | ||
| C14 | Grant of patent or utility model | ||
| GR01 | Patent grant | ||
| CF01 | Termination of patent right due to non-payment of annual fee |
Granted publication date: 20141001 Termination date: 20150427 |
|
| EXPY | Termination of patent right or utility model |