CN102615762A - 橡胶模压制品模具 - Google Patents
橡胶模压制品模具 Download PDFInfo
- Publication number
- CN102615762A CN102615762A CN2012101159463A CN201210115946A CN102615762A CN 102615762 A CN102615762 A CN 102615762A CN 2012101159463 A CN2012101159463 A CN 2012101159463A CN 201210115946 A CN201210115946 A CN 201210115946A CN 102615762 A CN102615762 A CN 102615762A
- Authority
- CN
- China
- Prior art keywords
- mould
- steam vent
- pin
- exhaust
- molded product
- Prior art date
- Legal status (The legal status is an assumption and is not a legal conclusion. Google has not performed a legal analysis and makes no representation as to the accuracy of the status listed.)
- Pending
Links
- 238000004519 manufacturing process Methods 0.000 abstract description 3
- 238000012797 qualification Methods 0.000 abstract description 2
- 239000000463 material Substances 0.000 description 4
- 238000004513 sizing Methods 0.000 description 4
- 238000009434 installation Methods 0.000 description 2
- 238000000034 method Methods 0.000 description 2
- 230000007812 deficiency Effects 0.000 description 1
- 238000012423 maintenance Methods 0.000 description 1
- 239000002994 raw material Substances 0.000 description 1
- 230000000630 rising effect Effects 0.000 description 1
- 238000001179 sorption measurement Methods 0.000 description 1
- 238000005987 sulfurization reaction Methods 0.000 description 1
Images
Landscapes
- Moulds For Moulding Plastics Or The Like (AREA)
Abstract
一种橡胶模压制品模具,包括上模、下模;下模型腔底部设有排气孔,排气孔内设有与排气孔配合排气的排气销。本发明可以实现模具的轻便开启,降低模具损坏概率;能够保证产品的合格率处于合理的稳定水平;减少胶料的用量,减少成本。本发明结构简洁,便于集成化、标准化设计制造;结构紧凑,有利于降低模具的总体高度。
Description
技术领域
本发明涉及一种模压橡胶制品的模具设计技术。
背景技术
模压橡胶制品硫化结束后,模具之间要相互分离完成开模动作,以便取出产品。现有模具结构如图1所示。由于此时在模具的型腔内充满了橡胶,在型腔内形成局部真空区域产生真空吸附力,此时开模就需要极大地力量,才能顺利实现开模动作。当这种局部区域的真空度达到一定程度后,开模需要的作用力甚至会超出设备的能力,造成模具无法正常开启。这种现象发生后,轻则会影响正常的生产进程,延长工作时间,增加劳动强度,降低生产率;重则会破坏模具,使产品报废,产生额外的经济损失,增加成本。
为了避免这种现象的发生,有一种设计方案是在下模的合适位置处,设计有排气孔(如图2)。但是使用排气孔方案后,首先会造成产品欠胶概率的增加,降低产品合格率的水平;其次会增加胶料的使用量,造成成本的上升。
发明内容
本发明的目的在于克服现有技术的上述不足而提供一种结构简洁、开模方便的橡胶模压制品模具。
本发明的技术方案在于:包括上模、下模;下模型腔底部设有排气孔,排气孔内设有与排气孔配合排气的排气销。
所述排气孔的纵截面形状为上部倒梯形、下部矩形。
所述排气销的纵截面形状为上部倒梯形、下部矩形。
所述排气销的下部设有卡圈槽;用于与排气孔配合定位排气销的卡圈装于卡圈槽。
所述排气孔下部设有用于与卡圈配合定位的台阶。
所述排气销的下部设有开口销孔;用于与排气孔配合定位排气销的开口销装于开口销孔。
所述排气孔下部设有用于与开口销配合定位的开口。
本发明采用了排气销的模具设计方法,可以实现模具的轻便开启,降低模具损坏概率;能够保证产品的合格率处于合理的稳定水平;减少胶料的用量,提高原材料的利用率,降低产品成本。
本发明结构紧凑简洁,便于集成化、标准化设计制造,且有利于降低模具的总体高度。
附图说明
图1是现有技术(无排气方案)的结构示意图。
图2是现有技术(排气孔方案)的结构示意图。
图3是本发明的结构示意图。
图4是本发明排气销的实施例1的结构示意图。
图5是本发明排气销的实施例2的结构示意图。
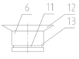
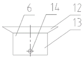
图中,1、上模,2、下模,3、连接接口,4、产品,5、模芯,6、排气销,7、卡圈,8、排气孔,11,卡圈槽,12、圆锥段,13、圆柱段,14、开口销孔。
具体实施方式
图3中,本发明包括上模1、下模2;下模2型腔底部设有排气孔,排气孔8内设有与排气孔8配合排气的排气销6。排气孔8的纵截面形状为上部倒梯形、下部矩形。排气销6的纵截面形状为上部倒梯形、下部矩形。排气销6的下部设有卡圈槽11;用于与排气孔配合定位排气销6的轴用弹性卡圈7装于卡圈槽11。排气孔下部设有用于与轴用弹性卡圈7配合定位的台阶。
模具开模时,排气销6黏附在胶料上随着胶料移动,排气销6和下模2间形成空隙。空隙与大气沟通,避免了型腔内形成局部区域的真空,从而能够轻便的实现模具的开启。
图4中,本发明的排气销6(实施例1)由圆锥段12和圆柱段13两部分组成,圆柱段13上加工有安装轴用弹性卡圈的卡圈槽11,排气孔下部设有用于与轴用弹性卡圈配合定位的台阶。
图5中,本发明的排气销6(实施例2)由圆锥段12和圆柱段13两部分组成,圆柱段13上加工有安装轴用开口销的开口销孔14,排气孔下部设有用于与开口销配合定位的开口。
Claims (7)
1.一种橡胶模压制品模具,其特征在于:包括上模(1)、下模(2);下模(2)型腔底部设有排气孔(8),排气孔(8)内设有与排气孔(8)配合排气的排气销(6)。
2.根据权利要求1中所述的橡胶模压制品模具,其特征在于:所述排气孔(8)的纵截面形状为上部倒梯形、下部矩形。
3.根据权利要求1中所述的橡胶模压制品模具,其特征在于:所述排气销(6)的纵截面形状为上部倒梯形、下部矩形。
4.根据权利要求1中所述的橡胶模压制品模具,其特征在于:所述排气销(6)的下部设有卡圈槽(11);用于与排气孔(8)配合定位排气销(6)的卡圈(7)装于卡圈槽(11)。
5.根据权利要求4中所述的橡胶模压制品模具,其特征在于:所述排气孔(8)下部设有用于与卡圈(7)配合定位的台阶。
6.根据权利要求1中所述的橡胶模压制品模具,其特征在于:所述排气销(6)的下部设有开口销孔(14);用于与排气孔(8)配合定位排气销(6)的开口销装于开口销孔(14)。
7.根据权利要求6中所述的橡胶模压制品模具,其特征在于:所述排气孔(8)下部设有用于与开口销配合定位的开口。
Priority Applications (1)
| Application Number | Priority Date | Filing Date | Title |
|---|---|---|---|
| CN2012101159463A CN102615762A (zh) | 2012-04-19 | 2012-04-19 | 橡胶模压制品模具 |
Applications Claiming Priority (1)
| Application Number | Priority Date | Filing Date | Title |
|---|---|---|---|
| CN2012101159463A CN102615762A (zh) | 2012-04-19 | 2012-04-19 | 橡胶模压制品模具 |
Publications (1)
| Publication Number | Publication Date |
|---|---|
| CN102615762A true CN102615762A (zh) | 2012-08-01 |
Family
ID=46556136
Family Applications (1)
| Application Number | Title | Priority Date | Filing Date |
|---|---|---|---|
| CN2012101159463A Pending CN102615762A (zh) | 2012-04-19 | 2012-04-19 | 橡胶模压制品模具 |
Country Status (1)
| Country | Link |
|---|---|
| CN (1) | CN102615762A (zh) |
Cited By (2)
| Publication number | Priority date | Publication date | Assignee | Title |
|---|---|---|---|---|
| CN103921387A (zh) * | 2014-04-14 | 2014-07-16 | 苏州昌田机械设备制造有限公司 | 一种五角式固定柱槽的橡胶制品模具 |
| CN104400955A (zh) * | 2014-12-07 | 2015-03-11 | 青岛科技大学 | 橡胶微波硫化模压装置 |
Citations (9)
| Publication number | Priority date | Publication date | Assignee | Title |
|---|---|---|---|---|
| JPS60127112A (ja) * | 1983-12-14 | 1985-07-06 | Matsushita Electric Works Ltd | 成形金型のエア抜き装置 |
| CN2581147Y (zh) * | 2002-12-10 | 2003-10-22 | 山东豪迈机械科技有限公司 | 无气孔轮胎模 |
| CN1467071A (zh) * | 2002-07-04 | 2004-01-14 | 韩国轮胎株式会社 | 轮胎硫化模具的排气装置 |
| CN201224159Y (zh) * | 2008-02-01 | 2009-04-22 | 中山市利群精密实业有限公司 | 一种带排气结构的塑胶模具 |
| CN101585221A (zh) * | 2009-03-19 | 2009-11-25 | 常州朗博汽车零部件有限公司 | 精密橡胶件的模压成型模具结构 |
| CN101676085A (zh) * | 2008-09-17 | 2010-03-24 | 韩国轮胎株式会社 | 汽车轮胎硫化模具的排气装置 |
| JP2010076097A (ja) * | 2008-09-24 | 2010-04-08 | Sumitomo Rubber Ind Ltd | タイヤ用モールド |
| KR20100050840A (ko) * | 2008-11-06 | 2010-05-14 | 한국타이어 주식회사 | 타이어 가황 금형의 공기 배출변 |
| CN202540591U (zh) * | 2012-04-19 | 2012-11-21 | 湖北航天化学技术研究所 | 橡胶模压制品模具 |
-
2012
- 2012-04-19 CN CN2012101159463A patent/CN102615762A/zh active Pending
Patent Citations (9)
| Publication number | Priority date | Publication date | Assignee | Title |
|---|---|---|---|---|
| JPS60127112A (ja) * | 1983-12-14 | 1985-07-06 | Matsushita Electric Works Ltd | 成形金型のエア抜き装置 |
| CN1467071A (zh) * | 2002-07-04 | 2004-01-14 | 韩国轮胎株式会社 | 轮胎硫化模具的排气装置 |
| CN2581147Y (zh) * | 2002-12-10 | 2003-10-22 | 山东豪迈机械科技有限公司 | 无气孔轮胎模 |
| CN201224159Y (zh) * | 2008-02-01 | 2009-04-22 | 中山市利群精密实业有限公司 | 一种带排气结构的塑胶模具 |
| CN101676085A (zh) * | 2008-09-17 | 2010-03-24 | 韩国轮胎株式会社 | 汽车轮胎硫化模具的排气装置 |
| JP2010076097A (ja) * | 2008-09-24 | 2010-04-08 | Sumitomo Rubber Ind Ltd | タイヤ用モールド |
| KR20100050840A (ko) * | 2008-11-06 | 2010-05-14 | 한국타이어 주식회사 | 타이어 가황 금형의 공기 배출변 |
| CN101585221A (zh) * | 2009-03-19 | 2009-11-25 | 常州朗博汽车零部件有限公司 | 精密橡胶件的模压成型模具结构 |
| CN202540591U (zh) * | 2012-04-19 | 2012-11-21 | 湖北航天化学技术研究所 | 橡胶模压制品模具 |
Non-Patent Citations (1)
| Title |
|---|
| 杨春旭: "模具的排气", 《模具制造》 * |
Cited By (2)
| Publication number | Priority date | Publication date | Assignee | Title |
|---|---|---|---|---|
| CN103921387A (zh) * | 2014-04-14 | 2014-07-16 | 苏州昌田机械设备制造有限公司 | 一种五角式固定柱槽的橡胶制品模具 |
| CN104400955A (zh) * | 2014-12-07 | 2015-03-11 | 青岛科技大学 | 橡胶微波硫化模压装置 |
Similar Documents
| Publication | Publication Date | Title |
|---|---|---|
| CN202461279U (zh) | 一种用于加工短小翻边垫圈类零件的复合模具 | |
| CN102430652A (zh) | 一种用于加工短小翻边垫圈类零件的复合模具 | |
| CN205342375U (zh) | 一种o型圈自动上料装置 | |
| CN102615762A (zh) | 橡胶模压制品模具 | |
| CN202540591U (zh) | 橡胶模压制品模具 | |
| CN103084476B (zh) | 汽车雨刮下加强板的成型模具 | |
| CN103286314A (zh) | 一种方便脱模的模具 | |
| CN203390142U (zh) | 一种支重轮锻造模具 | |
| CN204396634U (zh) | 生产汽车前围挡板下横梁的模具 | |
| CN201511545U (zh) | 一种立式平模秸秆压块机模板 | |
| CN202199676U (zh) | 一种针式绝缘子钢帽一次成型模具 | |
| CN201619174U (zh) | 液压起动外模u型槽成型机 | |
| CN201493446U (zh) | 一种铁路车辆侧架整体射芯盒模具 | |
| CN203155976U (zh) | 双孔铜排模具 | |
| CN205020715U (zh) | 一种汽车刹车用活塞部件加工冲压机 | |
| CN2882846Y (zh) | 组合式模具的换模装置 | |
| CN203214663U (zh) | 一种轴承座结构 | |
| CN202826250U (zh) | 注塑模具 | |
| CN201970385U (zh) | 一种阳极生坯的成型模具 | |
| CN202137264U (zh) | 汽车减震器下支座下压板缩颈和圆弧面整形专用模具 | |
| CN202151891U (zh) | 油封模具 | |
| CN202894086U (zh) | 一种支架生产连续模的上模座 | |
| CN205289625U (zh) | 一种锻造轮毂模具 | |
| CN203917569U (zh) | 铝合金支架专用成型模具 | |
| CN203356593U (zh) | 一种方便脱模的模具 |
Legal Events
| Date | Code | Title | Description |
|---|---|---|---|
| C06 | Publication | ||
| PB01 | Publication | ||
| C10 | Entry into substantive examination | ||
| SE01 | Entry into force of request for substantive examination | ||
| C02 | Deemed withdrawal of patent application after publication (patent law 2001) | ||
| WD01 | Invention patent application deemed withdrawn after publication |
Application publication date: 20120801 |