CN102613160B - 用于葡萄园的自走变量喷药装置及其喷药方法 - Google Patents
用于葡萄园的自走变量喷药装置及其喷药方法 Download PDFInfo
- Publication number
- CN102613160B CN102613160B CN201210078688.6A CN201210078688A CN102613160B CN 102613160 B CN102613160 B CN 102613160B CN 201210078688 A CN201210078688 A CN 201210078688A CN 102613160 B CN102613160 B CN 102613160B
- Authority
- CN
- China
- Prior art keywords
- walking
- signal
- flow
- spray boom
- spray
- Prior art date
- Legal status (The legal status is an assumption and is not a legal conclusion. Google has not performed a legal analysis and makes no representation as to the accuracy of the status listed.)
- Active
Links
- 239000003814 drug Substances 0.000 title claims abstract description 60
- 239000007788 liquid Substances 0.000 title claims abstract description 46
- 238000005507 spraying Methods 0.000 title claims abstract description 35
- 239000007921 spray Substances 0.000 claims abstract description 111
- 230000007246 mechanism Effects 0.000 claims abstract description 20
- 235000014787 Vitis vinifera Nutrition 0.000 claims description 33
- 241000219095 Vitis Species 0.000 claims description 30
- 235000009754 Vitis X bourquina Nutrition 0.000 claims description 29
- 235000012333 Vitis X labruscana Nutrition 0.000 claims description 29
- 239000000126 substance Substances 0.000 claims description 24
- 238000000034 method Methods 0.000 claims description 22
- 238000012544 monitoring process Methods 0.000 claims description 15
- 230000008569 process Effects 0.000 claims description 12
- 230000001681 protective effect Effects 0.000 claims description 11
- 238000006243 chemical reaction Methods 0.000 claims description 9
- 230000011664 signaling Effects 0.000 claims description 9
- 238000011084 recovery Methods 0.000 claims description 8
- 230000008878 coupling Effects 0.000 claims description 7
- 238000010168 coupling process Methods 0.000 claims description 7
- 238000005859 coupling reaction Methods 0.000 claims description 7
- 230000000694 effects Effects 0.000 claims description 7
- 230000002159 abnormal effect Effects 0.000 claims description 5
- 238000012937 correction Methods 0.000 claims description 4
- 238000000605 extraction Methods 0.000 claims description 4
- 238000012545 processing Methods 0.000 claims description 4
- 230000005540 biological transmission Effects 0.000 claims description 3
- 238000001514 detection method Methods 0.000 claims description 3
- 229940079593 drug Drugs 0.000 claims description 3
- 201000010099 disease Diseases 0.000 description 5
- 208000037265 diseases, disorders, signs and symptoms Diseases 0.000 description 5
- 240000006365 Vitis vinifera Species 0.000 description 4
- 241000607479 Yersinia pestis Species 0.000 description 4
- 238000005516 engineering process Methods 0.000 description 4
- 241000196324 Embryophyta Species 0.000 description 3
- 230000006378 damage Effects 0.000 description 3
- 238000010586 diagram Methods 0.000 description 3
- 230000008030 elimination Effects 0.000 description 3
- 238000003379 elimination reaction Methods 0.000 description 3
- 239000010720 hydraulic oil Substances 0.000 description 3
- 230000002265 prevention Effects 0.000 description 3
- 230000002787 reinforcement Effects 0.000 description 3
- 241000238631 Hexapoda Species 0.000 description 2
- 241000233679 Peronosporaceae Species 0.000 description 2
- 230000002411 adverse Effects 0.000 description 2
- 230000004888 barrier function Effects 0.000 description 2
- 230000007613 environmental effect Effects 0.000 description 2
- 230000006872 improvement Effects 0.000 description 2
- 238000004519 manufacturing process Methods 0.000 description 2
- 241000345998 Calamus manan Species 0.000 description 1
- 241000221785 Erysiphales Species 0.000 description 1
- 241001465754 Metazoa Species 0.000 description 1
- 208000027418 Wounds and injury Diseases 0.000 description 1
- 244000052616 bacterial pathogen Species 0.000 description 1
- 230000009286 beneficial effect Effects 0.000 description 1
- 238000013461 design Methods 0.000 description 1
- 238000006073 displacement reaction Methods 0.000 description 1
- 230000000977 initiatory effect Effects 0.000 description 1
- 208000014674 injury Diseases 0.000 description 1
- 239000008141 laxative Substances 0.000 description 1
- 230000002475 laxative effect Effects 0.000 description 1
- 239000010808 liquid waste Substances 0.000 description 1
- 239000000463 material Substances 0.000 description 1
- 239000000575 pesticide Substances 0.000 description 1
- 235000012950 rattan cane Nutrition 0.000 description 1
- 238000004064 recycling Methods 0.000 description 1
- 239000002689 soil Substances 0.000 description 1
- 229910001220 stainless steel Inorganic materials 0.000 description 1
- 239000010935 stainless steel Substances 0.000 description 1
- 230000001131 transforming effect Effects 0.000 description 1
- 238000013519 translation Methods 0.000 description 1
- XLYOFNOQVPJJNP-UHFFFAOYSA-N water Substances O XLYOFNOQVPJJNP-UHFFFAOYSA-N 0.000 description 1
Images
Landscapes
- Catching Or Destruction (AREA)
Abstract
本发明涉及农作物药液喷洒技术领域,公开了一种用于葡萄园的自走变量喷药装置及其喷药方法,该喷药装置包括行走机身以及分别安装在所述行走机身上的液压系统、药液箱、门式喷杆、GPS接收器和控制系统;所述GPS接收器通过串口将卫星的定位信息字符串发送给控制系统,所述位置传感器、速度传感器和流量传感器分别将采集到的位置信号、速度信号和流量信号发送到控制系统,控制系统将接收到的信号转化成控制信号传送给液压系统控制转向机构的转向和行走路径。本发明实现无人自走变量喷药,提高了葡萄园喷药装置的自动化程度,减少了人工因素的影响,喷药同一性、稳定性好;并可实现夜间作业,保证行走轨迹按照设定的轨迹前进。
Description
技术领域
本发明涉及农作物药液喷洒技术领域,特别是涉及一种用于葡萄园行间的自走变量喷药装置和喷药方法。
背景技术
病虫害频发引起的葡萄等藤架式和行间式农作物产量和品质锐减,一直是一个困扰葡萄生产行业的一个严重的问题。霜霉病、白粉病、黑痘病、炭疽病等病菌对葡萄的品质和产量的威胁很大,药物喷洒很难达到均衡,目前葡萄园专用的喷药器相对落后,大多需要使用人工背负手动喷药器打药;或者采用简陋的拖拉机式进行喷药作业,大面积葡萄园作业时效同一性差,作业不均匀,防治不到位,无法及时、彻底的防治病虫害。与此同时,我国近年来酿酒葡萄种植发展势头迅猛,但是酿酒葡萄对植保的要求更加严格,加之,在酿酒葡萄集中采收的7-8月期间,又恰逢多雨季节,因此经常因为喷药不及时,防治不到位,引起葡萄大面积减产,甚至绝收。
葡萄植保专用植保机械的落后已经严重制约了葡萄稳产和增收。因为植保机械相对落后,病虫害防治不到位引发的大面积霜霉病等高发病害每年对葡萄生产造成的损失占到葡萄产值的50%以上。同时由劳动力缺乏,具有经验水平较高的喷药设备操作人员更少,操作水平因为经验的不同喷药操作时均匀性和同一性也得不到保证。
发明内容
(一)要解决的技术问题
本发明要解决的技术问题是如何解决现有的喷药装置自动化程度低,喷药时效同一性差,作业不均匀,防治不到位,无法及时、彻底的防治病虫害的问题。
(二)技术方案
为了解决上述技术问题,本发明提供一种用于葡萄园的自走变量喷药装置,包括行走机身以及分别安装在所述行走机身上的液压系统、药液箱、门式喷杆、GPS接收器和控制系统;所述控制系统的输出端通过继电器与所述液压系统的输入端连接,所述液压系统的输出端与所述行走机身的转向机构连接;所述门式喷杆的竖向喷杆上安装有喷头,所述喷头通过药液管与安装在所述药液箱出药口处的喷药压力泵的高压出药口连接;所述GPS接收器通过串口将卫星的定位信息字符串发送给控制系统;在所述行走机身上位于所述门式喷杆的一侧安装有位置传感器,所述高压出药口处安装有流量传感器,所述行走机身上位于所述转向机构的一侧安装有速度传感器;所述位置传感器、速度传感器和流量传感器分别将采集到的位置信号、速度信号和流量信号通过采集器发送到控制系统;控制系统将接收到的定位信息字符串、位置信号、速度信号和流量信号转化成控制信号传送给液压系统以控制转向机构的转向和行走路径。
其中,所述控制系统包括车载农田计算机、人机界面、地理信息系统和下位控制器,所述车载农田计算机通过串口与所述下位控制器双向连接,所述下位控制器的输出端与所述液压系统的输入端连接,所述人机界面将预设的参数发送到所述车载农田计算机执行,所述GPS接收器通过串口将卫星的定位信息字符串发送到所述车载农田计算机,所述位置传感器、速度传感器和流量传感器分别将位置信号、速度信号和流量信号通过采集器发送到所述下位控制器,所述下位控制器将转化后控制信号传送给液压系统。
其中,还包括手机短信预警模块,所述手机短信预警模块与所述下位控制器连接。
其中,所述下位控制器内设流量监测控制单元,所述流量传感器将流量信号发送到流量监测控制单元;所述流量监测控制单元连接有报警指示灯和报警蜂鸣器。
其中,还包括药液回收系统,所述药液回收系统包括通过药管依次连接的回收槽、过滤器、回液压力泵和药液回收箱,以及安装在所述门式喷杆两侧的防护罩,所述回收槽安装在所述竖向喷杆的底部,所述过滤器、回液压力泵和药液回收箱分别安装在所述行走机身的后部,所述药液回收箱与所述喷药压力泵连接。
其中,所述门式喷杆通过可水平伸缩的调节杆与所述行走机身上的立柱连接,所述门式喷杆为可自动折叠喷杆,所述竖向喷杆为可伸缩喷杆。
其中,所述门式喷杆设置为两组,分别位于所述立柱的两侧。
其中,所述喷头具有多个,分别分布在所述竖向喷杆上。
本发明还提供一种用于葡萄园的自走变量喷药装置的喷药方法,药液准备的同时,通过人机界面对控制系统预设行走机身的行走路径,启动行走开关,行走机身在GPS接收器的引导下按照指定的路径行走,同时安装在行走机身上位于门式喷杆一侧的位置传感器、安装在高压出药口处的流量传感器和安装在行走机身上位于转向机构一侧的速度传感器分别采集位置信号、流量信号和速度信号并发送给控制系统进行信号处理和转化,转化后的控制信号传送给液压系统以控制行走机身的转向机构的转向,当位置检测单元检测到葡萄架时,门式喷杆进行作物对靶,待对靶完成后,启动喷药开关,药液从药液箱中在喷药压力泵的抽放作用下经喷头从葡萄架的两侧开始进行喷药。
其中,在喷药过程中,当喷头堵塞时,流量传感器检测到流量信息发送到流量监测控制单元,当流量值波动>8%时,流量监测控制单元启动报警蜂鸣器,同时报警指示灯打开;当GPS接收器的数据异常,该GPS接收器会自动纠错,如果纠错异常,手机短信预警模块执行紧急停车指令,同时远程无线发送预警信息通知管理人员到达现场进行处理。
(三)有益效果
上述技术方案提供的一种用于葡萄园的自走变量喷药装置及其喷药方法,采用GPS自动导航系统、位置传感器、速度传感器和流量传感器实现无人自走变量喷药,提高了葡萄园喷药装置的自动化程度,减少了人为因素的影响,喷药同一性、稳定性好;同时可实现夜间作业,保证行走轨迹按照设定的轨迹前进,缩短施药的周期,保证施药的快捷有效。进一步地,增加了具有防护罩的药液回收系统,减少了药液浪费,同时减少了在施药过程中对人体和环境造成的伤害。
附图说明
图1是本发明一种用于葡萄园的自走变量喷药装置喷药过程的结构示意图;
图2是本发明一种用于葡萄园的自走变量喷药装置的结构示意图;
图3是本发明自走变量喷药控制原理图;
图4是本发明药液回收系统原理图;
图5为本发明喷药过程的路径原理图。
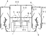
其中,1、行走机身;1-1、转向机构;1-2、立柱;1-3、方向盘;1-4、驾驶仓;2、液压系统;3、药液箱;4、门式喷杆;4-1、竖向喷杆;4-2、调节杆;4-3、加强筋;5、GPS接收器;7、喷头;8-1、回收槽;8-2、过滤器;8-3、回液压力泵;8-4、药液回收箱;8-5、防护罩;8-6、挡板;9、葡萄架。
具体实施方式
下面结合附图和实施例,对本发明的具体实施方式作进一步详细描述。以下实施例用于说明本发明,但不用来限制本发明的范围。
如图1、图2和图3,本发明一种用于葡萄园的自走变量喷药装置,包括行走机身1以及分别安装在行走机身1上的液压系统2、药液箱3、门式喷杆4、GPS接收器5和控制系统。行走机身1采用柴油发动机提供动力;药液箱3安装在行走机身1的后部;控制系统的输出端通过继电器与液压系统2的输入端连接,液压系统2的输出端与行走机身1的转向机构1-1连接;门式喷杆4安装在行走机身的尾部的立柱1-2上,该门式喷杆4的竖向喷杆4-1上安装有喷头7,该喷头7通过药液管与安装在药液箱出药口处的喷药压力泵的高压出药口连接。GPS接收器5可用强力磁铁吸盘吸附在驾驶仓1-4的顶部,控制系统安装在驾驶仓1-4内,GPS接收器5通过串口与控制系统连接。在行走机身1上位于门式喷杆4的一侧安装有位置传感器,用于采集位置信号;在高压出药口处安装有流量传感器,用于采集药液的流量信号;在行走机身1的前部位于转向机构1-1的一侧安装有速度传感器,用于采集速度信号;位置传感器、速度传感器和流量传感器分别将采集到的位置信号、速度信号和流量信号通过采集器发送给控制系统;控制系统将接收到的位置信号、速度信号和流量信号转换成控制信号传送给液压系统2以控制转向机构的转向,实现了喷药机的无人自走变量式控制。
其中,液压系统2为现有技术,包括液压油箱、液压马达、液压转向泵和液压阀组,液压阀组可采用电磁阀,继电器与液压阀组连接,用于控制液压阀组的开/关,液压油箱为液压转向泵提供液压油,液压马达提供动力以实现液压阀组的转换进而控制液压转向泵的转向。具体为:液压转向泵与转向机构1-1连接,通过液压阀组控制液压转向泵取代方向盘1-3对转向机构1-1的转向进行控制,继电器的输入端与控制系统的输出端连接,控制系统将控制信号传送给继电器,继电器驱动液压阀组控制液压转向泵控制转向机构的转向。
其中,上述的门式喷杆4通过可水平伸缩的调节杆4-2与立柱1-2连接,该调节杆4-2为位于立柱1-2上下端的两根,立柱1-2的下部设有加强筋4-3,该加强筋4-3的作用是使得整个支架结构的稳固,可根据葡萄架9的宽度来调节该调节杆4-2的水平距离;该门式喷杆4为可自动折叠喷杆,由控制系统控制其自动打开或关闭,打开后可跨在葡萄架9的两侧,同时从一行葡萄的两侧面喷施药液。当位置传感器检测到有葡萄架9时,经GPS数据显示后控制系统自动控制其打开,当位置传感器检测到到达葡萄架9的尽头时,经GPS数据显示后控制系统自动控制门式喷杆折叠;竖向喷杆4-1为可伸缩喷杆。为了实现一次喷药过程可同时实现对两株葡萄架的喷药,以提高工作效率,门式喷杆4设置为两组,分别位于立柱1-2的两侧。位于竖向喷杆上的喷头7具有多个;根据葡萄架9的高度和葡萄藤的倾斜角度,以及葡萄不同生长期的要求,喷头7可折叠,选用精量高效雾化的喷头,喷头7可调成向上45°角度,以确保药液能全部喷到叶子背面不留防治“盲区”,全面彻底防治病虫害。位置传感器采用超声波传感器。
如图3所示,上述的控制系统包括车载农田计算机、人机界面、地理信息系统(即路径规划GIS软件)和下位控制器。车载农田计算机通过串口(232串口)与下位控制器双向连接,通过人机界面的触摸键盘设置路径参数,人机截面将预设的参数发送到车载农田计算机执行,下位控制器与继电器连接,GPS接收器5通过串口将卫星的定位信息字符串发送给车载农田计算机,位置传感器、速度传感器和流量传感器分别将位置信号、速度信号和流量信号通过采集器发送到下位控制器,作为实时动态决策的信息来源;下位控制器将转化后的控制信号传送给继电器。
进一步地,为了确保在无人作业模块下喷药过程中遇到紧急情况时的设备安全和及时提醒管理员,上述的控制系统还设有手机短信预警模块(即GSM手机预警模块)。该手机短信预警模块起到设备安全远程预警的功能,同时具有良好的安全预警和紧急停车功能,当发生GPS数据异常,自动导航系统会自动纠错,如果纠错异常,下位控制器将信号传送到手机短信预警模块,手机短信预警模块执行紧急停车,同时远程无线发送预警信息通知相关管理员到达现场处理。由于在工作中驾驶员视线受阻,无法在驾驶时频繁回头查看喷头的喷雾状态,因此在下位控制器内设有流量监测控制单元,流量传感器将流量信号发送给流量监测控制单元,当喷头7发生堵塞,并检测到流量传感器的流量值波动>8%(如安装了12个喷头,每个喷头为流量的1/12)时,流量监测控制单元将启动报警蜂鸣器,同时报警指示灯打开。
如图4所示,为了解决葡萄施药过程中的药液漂移问题和药液飞溅问题,设计一个专门的药液回收系统。该药液回收系统包括通过药管依次连接的回收槽8-1、过滤器8-2、回液压力泵8-3和药液回收箱8-4,以及安装在门式喷杆4两侧的防护罩8-5。该防护罩8-5为弧形,采用不锈钢材料制成。在竖向喷杆4-1上位于防护罩8-5内还设有挡板8-6,该挡板8-6可有助于药液回收。回收槽8-1安装在竖向喷杆4的底部,过滤器8-2、回液压力泵8-3和药液回收箱8-4分别安装在行走机身1的后部,药液回收箱8-4与喷药压力泵连接。防护罩8-5可自动折叠。当喷头7开始作业时防护罩8-5自动打开,喷头7在防护罩8-5内对葡萄进行施药,实现了在有风的条件下也能排除不利天气的影响而正常进行喷药作业。飞溅的药液蹦到防护罩8-5后落入底部的回收槽8-1中,回收槽8-1将药液收集后,在回收药液泵8-3的抽放作用下将药液通过药管经过滤器8-2过滤后流到药液回收箱8-4中,从而实现了药液的循环使用,极大地提高药液的使用效率,做到精量、高效的药液使用。同时由于有机葡萄庄园对周围环境严格要求,采用这种结构可避免药液喷洒时无效的雾滴飞溅飘逸对土壤、地下水和附近空气、人畜造成环境危害,起到了节能环保的作用。
本发明还提供的一种用于葡萄园的自走变量喷药装置的喷药方法,在药液准备的同时,通过人机界面对控制系统预设行走机身1的行走路径,启动行走开关,行走机身1在GPS接收器5的引导下按照指定的路径行走,同时安装在行走机身上位于门式喷杆一侧的位置传感器、安装在高压出药口处的流量传感器和安装在行走机身上位于转向机构一侧的速度传感器分别采集位置信号、流量信号和速度信号并发送给控制系统进行信号处理和转化,转化后的控制信号传送给液压系统以控制行走机身的转向机构的转向,当位置检测单元检测到有葡萄架生长时,门式喷杆4进行作物对靶,待对靶完成后,启动喷药开关,药液从药液箱3中在喷药压力泵的抽放作用下经喷头7从葡萄架9的两侧开始进行喷药。
在喷药过程中,当喷头7发生堵塞时,安装在高压出药口处的流量传感器检测到流量信息并发送到流量监测控制单元,当流量值波动>8%时,流量监测控制单元启动报警蜂鸣器,同时报警指示灯打开;在喷药过程中,当GPS接收器的数据异常,该GPS接收器会自动纠错,如果纠错异常,手机短信预警模块执行紧急停车指令,同时远程无线发送预警信息通知管理员到达现场进行处理。
上述技术方案所提供的喷药装置,可实现人工驾驶或无人驾驶的自走式喷雾两种工作模式。采用GPS自动导航技术实现无人驾驶自主行走喷药,达到地头自动折叠喷杆,设定第一个AB点往返回合的行走轨迹后,可自动参照第一个回合的行走模式,自主平移设定的间距,开始行走。到达葡萄架尽头后,位置传感器检测到葡萄架面结束,GPS数据显示后,可自动发出信号,控制器检测到信后,离开时自动折叠喷杆,转弯结束后,当重新到达葡萄行间制定位置时,自动控制喷杆展开,实现全过程,全自动化,有效的较少喷药时对拖拉机驾驶员的人身安全的危害,同时大幅度提高作业效率。如图5所示,首先通过GPS信号确定喷药装置目前的位置点,从A点出发到B点,走完一个来回后,就可以自动计算路径,自动向下一个路径L1实行喷药,并往返循环,直到全部走完。当路径规划中遇到障碍物时,则重新开始设定路径,从C点出发,到达D点后自动记住轨迹,转弯后自动按照L2直线所示的路径自动导航,开始按照新的路径进行循环,直到遇到下一个障碍物。
上述技术方案所提供的一种用于葡萄园的自走变量喷药装置,实现了:1、GPS自走功能实现无人自走变量喷药,可以减少人为因素对喷药同一性和质量稳定性的影响;2、同时减少喷药过程中对人体和环境的有害影响;3、可实现夜间作业,保证行走轨迹按照设定的轨迹前进,缩短施药的周期,保证施药的快捷有效。
以上所述仅是本发明的优选实施方式,应当指出,对于本技术领域的普通技术人员来说,在不脱离本发明技术原理的前提下,还可以做出若干改进和替换,这些改进和替换也应视为本发明的保护范围。
Claims (9)
1.一种用于葡萄园的自走变量喷药装置,其特征在于,包括行走机身以及分别安装在所述行走机身上的液压系统、药液箱、门式喷杆、GPS接收器和控制系统;所述控制系统的输出端通过继电器与所述液压系统的输入端连接,所述液压系统的输出端与所述行走机身的转向机构连接;所述门式喷杆的竖向喷杆上安装有喷头,所述喷头通过药液管与安装在所述药液箱出药口处的喷药压力泵的高压出药口连接;所述GPS接收器通过串口将卫星的定位信息字符串发送给控制系统;在所述行走机身上位于所述门式喷杆的一侧安装有位置传感器,所述高压出药口处安装有流量传感器,所述行走机身上位于所述转向机构的一侧安装有速度传感器;所述位置传感器、速度传感器和流量传感器分别将采集到的位置信号、速度信号和流量信号通过采集器发送到控制系统;控制系统将接收到的定位信息字符串、位置信号、速度信号和流量信号转化成控制信号传送给液压系统以控制转向机构的转向和行走路径;
所述控制系统包括车载农田计算机、人机界面、地理信息系统和下位控制器,所述车载农田计算机通过串口与所述下位控制器双向连接,所述下位控制器的输出端与所述液压系统的输入端连接,所述人机界面将预设的参数发送到所述车载农田计算机执行,所述GPS接收器通过串口将卫星的定位信息字符串发送到所述车载农田计算机,所述位置传感器、速度传感器和流量传感器分别将位置信号、速度信号和流量信号通过采集器发送到所述下位控制器,所述下位控制器将转化后控制信号传送给液压系统。
2.如权利要求1所述的用于葡萄园的自走变量喷药装置,其特征在于,还包括手机短信预警模块,所述手机短信预警模块与所述下位控制器连接。
3.如权利要求1所述的用于葡萄园的自走变量喷药装置,其特征在于,所述下位控制器内设流量监测控制单元,所述流量传感器将流量信号发送到流量监测控制单元;所述流量监测控制单元连接有报警指示灯和报警蜂鸣器。
4.如权利要求1所述的用于葡萄园的自走变量喷药装置,其特征在于,还包括药液回收系统,所述药液回收系统包括通过药管依次连接的回收槽、过滤器、回液压力泵和药液回收箱,以及安装在所述门式喷杆两侧的防护罩,所述回收槽安装在所述竖向喷杆的底部,所述过滤器、回液压力泵和药液回收箱分别安装在所述行走机身的后部,所述药液回收箱与所述喷药压力泵连接。
5.如权利要求1所述的用于葡萄园的自走变量喷药装置,其特征在于,所述门式喷杆通过可水平伸缩的调节杆与所述行走机身上的立柱连接,所述门式喷杆为可自动折叠喷杆,所述竖向喷杆为可伸缩喷杆。
6.如权利要求5所述的用于葡萄园的自走变量喷药装置,其特征在于,所述门式喷杆设置为两组,分别位于所述立柱的两侧。
7.如权利要求1所述的用于葡萄园的自走变量喷药装置,其特征在于,所述喷头具有多个,分别分布在所述竖向喷杆上。
8.一种用于葡萄园的自走变量喷药装置的喷药方法,其特征在于,药液准备的同时,通过人机界面对控制系统预设行走机身的行走路径,启动行走开关,行走机身在GPS接收器的引导下按照指定的路径行走,同时安装在行走机身上位于门式喷杆一侧的位置传感器、安装在高压出药口处的流量传感器和安装在行走机身上位于转向机构一侧的速度传感器分别采集位置信号、流量信号和速度信号并发送给控制系统进行信号处理和转化,转化后的控制信号传送给液压系统以控制行走机身的转向机构的转向,当位置检测单元检测到葡萄架时,门式喷杆进行作物对靶,待对靶完成后,启动喷药开关,药液从药液箱中在喷药压力泵的抽放作用下经喷头从葡萄架的两侧开始进行喷药。
9.如权利要求8所述的用于葡萄园的自走变量喷药装置的喷药方法,其特征在于,在喷药过程中,当喷头堵塞时,流量传感器检测到流量信息发送到流量监测控制单元,当流量值波动>8%时,流量监测控制单元启动报警蜂鸣器,同时报警指示灯打开;当GPS接收器的数据异常,该GPS接收器会自动纠错,如果纠错异常,手机短信预警模块执行紧急停车指令,同时远程无线发送预警信息通知管理人员到达现场进行处理。
Priority Applications (1)
| Application Number | Priority Date | Filing Date | Title |
|---|---|---|---|
| CN201210078688.6A CN102613160B (zh) | 2012-03-22 | 2012-03-22 | 用于葡萄园的自走变量喷药装置及其喷药方法 |
Applications Claiming Priority (1)
| Application Number | Priority Date | Filing Date | Title |
|---|---|---|---|
| CN201210078688.6A CN102613160B (zh) | 2012-03-22 | 2012-03-22 | 用于葡萄园的自走变量喷药装置及其喷药方法 |
Publications (2)
| Publication Number | Publication Date |
|---|---|
| CN102613160A CN102613160A (zh) | 2012-08-01 |
| CN102613160B true CN102613160B (zh) | 2014-04-09 |
Family
ID=46553641
Family Applications (1)
| Application Number | Title | Priority Date | Filing Date |
|---|---|---|---|
| CN201210078688.6A Active CN102613160B (zh) | 2012-03-22 | 2012-03-22 | 用于葡萄园的自走变量喷药装置及其喷药方法 |
Country Status (1)
| Country | Link |
|---|---|
| CN (1) | CN102613160B (zh) |
Cited By (2)
| Publication number | Priority date | Publication date | Assignee | Title |
|---|---|---|---|---|
| EP3711481A1 (de) * | 2019-03-22 | 2020-09-23 | Inovel Systeme AG | Verfahren und vorrichtung zum applizieren von flüssigkeiten auf pflanzen |
| EP4248748A1 (en) * | 2022-03-23 | 2023-09-27 | Yanmar Holdings Co., Ltd. | Spraying machine control method, spraying machine control program, and spraying machine |
Families Citing this family (31)
| Publication number | Priority date | Publication date | Assignee | Title |
|---|---|---|---|---|
| CN102830676A (zh) * | 2012-08-30 | 2012-12-19 | 华南理工大学 | 基于无线网络与智能监控车的远程农业监管系统 |
| CN103548802B (zh) * | 2013-11-05 | 2015-03-25 | 南京林业大学 | 自走式果园自动对靶喷雾机及其喷雾方法 |
| CN103676959B (zh) * | 2013-11-11 | 2016-08-24 | 河池学院 | 一种基于WiFi无线控制的智能喷药机器人 |
| CN103963889B (zh) * | 2014-05-23 | 2016-05-11 | 湖南丰茂植保机械有限公司 | 一种自动喷药车 |
| CN104133496B (zh) * | 2014-08-01 | 2016-08-24 | 吉林大学 | 一种喷药机工作状态监测系统和方法 |
| CN104430274A (zh) * | 2014-11-12 | 2015-03-25 | 陈伟群 | 农用高效喷药机 |
| CN104476545B (zh) * | 2014-11-13 | 2016-04-20 | 济南大学 | 一种果园自主喷药智能机器人 |
| CN104597791A (zh) * | 2015-01-22 | 2015-05-06 | 潘大丰 | 一种自行走喷药小车控制装置 |
| CN104834312B (zh) * | 2015-05-15 | 2018-01-05 | 济南大学 | 一种基于rfid的农田智能喷药机器人 |
| CN104834298B (zh) * | 2015-05-18 | 2017-12-15 | 浙江省农业科学院 | 手机遥控自动施肥喷药系统及其施肥喷药方法 |
| CN105075463A (zh) * | 2015-07-20 | 2015-11-25 | 柳州好顺科技有限公司 | 一种具有转弯预警系统的播种机 |
| CN105165772A (zh) * | 2015-08-14 | 2015-12-23 | 合肥多加农业科技有限公司 | 一种植保机械的喷雾装置 |
| CN105211036B (zh) * | 2015-10-28 | 2017-11-21 | 滨州职业学院 | 一种用于葡萄园的自走变量喷药装置及其喷药方法 |
| CN105528004B (zh) * | 2015-12-02 | 2018-02-02 | 安徽农业大学 | 一种智能喷洒机及智能喷洒方法 |
| CN105638616A (zh) * | 2016-01-30 | 2016-06-08 | 山东亚丰农业机械装备有限公司 | 葡萄园专用自动喷药装置 |
| CN106070156B (zh) * | 2016-07-30 | 2022-04-29 | 重庆科技学院 | 基于plc的变量喷雾系统及其控制方法 |
| CN106538504B (zh) * | 2017-01-14 | 2020-04-07 | 漯河市苗圃场 | 一种环保的灌木球农药喷洒装置 |
| CN107390680A (zh) * | 2017-06-19 | 2017-11-24 | 中国烟草总公司广东省公司 | 农用智能喷药系统的喷药方法及系统 |
| US10252285B2 (en) * | 2017-08-08 | 2019-04-09 | Deere & Company | Mobile drift sensor for agricultural spraying |
| CN107631756B (zh) * | 2017-10-09 | 2023-12-15 | 江苏大学 | 自走式喷杆喷雾机车载信息系统及作业质量可视化方法 |
| CN107484746A (zh) * | 2017-10-12 | 2017-12-19 | 济南大学 | 一种适用于高纺锤形种植模式下的风送精准施药装置 |
| FR3074017B1 (fr) * | 2017-11-27 | 2019-12-20 | Exel Industries | Panneau recuperateur de produit phytosanitaire et machine de pulverisation |
| CN108607466A (zh) * | 2018-05-16 | 2018-10-02 | 山西太钢不锈钢股份有限公司 | 一种判断混料机加水喷头脱落或堵塞的方法 |
| CN110239640B (zh) * | 2019-05-30 | 2024-10-25 | 北京农业信息技术研究中心 | 作物冠层同化测量机器人 |
| CN110622941B (zh) * | 2019-09-02 | 2021-10-12 | 江苏大学 | 一种自适应吊喷喷杆 |
| CN110447624B (zh) * | 2019-09-23 | 2024-04-26 | 水利部牧区水利科学研究所 | 一种喷药装置 |
| CN110583603B (zh) * | 2019-09-24 | 2021-10-12 | 江苏大学 | 一种适用于柑橘园的仿形智能喷雾设备及喷雾方法 |
| CN113207861A (zh) * | 2021-06-21 | 2021-08-06 | 华南农业大学 | 多脉冲调制变量风送喷雾施药控制系统及控制方法 |
| CN114527727B (zh) * | 2022-01-19 | 2023-11-17 | 中国农业机械化科学研究院集团有限公司 | 一种自走式喷杆喷雾机及其无人驾驶控制系统及方法 |
| CN116868977A (zh) * | 2023-07-28 | 2023-10-13 | 山东省果树研究所 | 一种封闭式单株喷药机器人及其控制方法 |
| CN118844411B (zh) * | 2024-07-01 | 2025-12-26 | 昆明理工大学 | 一种葡萄园无人车上下喷药控制方法及系统 |
Citations (5)
| Publication number | Priority date | Publication date | Assignee | Title |
|---|---|---|---|---|
| CN101690472A (zh) * | 2009-10-16 | 2010-04-07 | 西北农林科技大学 | 一种变幅式喷雾机 |
| CN101946756A (zh) * | 2010-09-16 | 2011-01-19 | 临沂三禾永佳动力有限公司 | 高地隙自走式喷杆喷雾机 |
| CN201741006U (zh) * | 2010-07-13 | 2011-02-09 | 南京工业职业技术学院 | 一种农用多功能变量控制器 |
| CN201781887U (zh) * | 2010-08-17 | 2011-04-06 | 现代农装科技股份有限公司 | 一种自走式高地隙喷杆喷雾机 |
| CN201957442U (zh) * | 2011-05-26 | 2011-09-07 | 中国农业科学院植物保护研究所 | 自走式葡萄专用喷雾机 |
Family Cites Families (1)
| Publication number | Priority date | Publication date | Assignee | Title |
|---|---|---|---|---|
| EP0574740A1 (de) * | 1992-05-26 | 1993-12-22 | Josef Willmes GmbH i.K. | Vorrichtung zum Ausbringen von Behandlungsflüssigkeit auf Pflanzenreihen |
-
2012
- 2012-03-22 CN CN201210078688.6A patent/CN102613160B/zh active Active
Patent Citations (5)
| Publication number | Priority date | Publication date | Assignee | Title |
|---|---|---|---|---|
| CN101690472A (zh) * | 2009-10-16 | 2010-04-07 | 西北农林科技大学 | 一种变幅式喷雾机 |
| CN201741006U (zh) * | 2010-07-13 | 2011-02-09 | 南京工业职业技术学院 | 一种农用多功能变量控制器 |
| CN201781887U (zh) * | 2010-08-17 | 2011-04-06 | 现代农装科技股份有限公司 | 一种自走式高地隙喷杆喷雾机 |
| CN101946756A (zh) * | 2010-09-16 | 2011-01-19 | 临沂三禾永佳动力有限公司 | 高地隙自走式喷杆喷雾机 |
| CN201957442U (zh) * | 2011-05-26 | 2011-09-07 | 中国农业科学院植物保护研究所 | 自走式葡萄专用喷雾机 |
Cited By (2)
| Publication number | Priority date | Publication date | Assignee | Title |
|---|---|---|---|---|
| EP3711481A1 (de) * | 2019-03-22 | 2020-09-23 | Inovel Systeme AG | Verfahren und vorrichtung zum applizieren von flüssigkeiten auf pflanzen |
| EP4248748A1 (en) * | 2022-03-23 | 2023-09-27 | Yanmar Holdings Co., Ltd. | Spraying machine control method, spraying machine control program, and spraying machine |
Also Published As
| Publication number | Publication date |
|---|---|
| CN102613160A (zh) | 2012-08-01 |
Similar Documents
| Publication | Publication Date | Title |
|---|---|---|
| CN102613160B (zh) | 用于葡萄园的自走变量喷药装置及其喷药方法 | |
| CN102613162B (zh) | 一种自走式自动对靶精准施药机 | |
| CN104542544B (zh) | 一种冬枣药液肥液自动喷洒机 | |
| CN202680312U (zh) | 一种葡萄园用精量喷药装置 | |
| CN104430278B (zh) | 一种自走式智能果树喷雾车 | |
| CN107226211A (zh) | 一种果树农药喷洒装置及喷洒方法 | |
| CN104285934B (zh) | 一种履带自走式稻田就地取水在线混药风送式喷杆喷雾机 | |
| CN107258740A (zh) | 一种全方位自走式喷药作业装置 | |
| CN105638389B (zh) | 一种多功能自行走城市道路绿化带灌溉车 | |
| CN107173365A (zh) | 一种基于自走式多自由度平台的仿无人机农业喷药作业装置 | |
| CN101690472A (zh) | 一种变幅式喷雾机 | |
| CN207341058U (zh) | 一种基于自走式多自由度平台的仿无人机农业喷药作业装置 | |
| CN105707044A (zh) | 果园自动对靶风送式喷雾机 | |
| CN106973882A (zh) | 用于农药喷洒的无人机 | |
| CN106614481A (zh) | 一种基于机体的可调控农药喷洒系统 | |
| CN104762910B (zh) | 洒水车的洒水系统 | |
| CN113692954A (zh) | 一种用于农林果园叶面喷灌的自适应智能引导机器人 | |
| CN202524957U (zh) | 一种自动对靶精准施药机 | |
| CN206909518U (zh) | 一种全方位自走式喷药作业装置 | |
| CN205727402U (zh) | 一种集防霜冻、喷药、施叶面肥、灌溉于一体的高架装置 | |
| CN201841077U (zh) | 一种遥控喷洒机 | |
| CN205891255U (zh) | 农药喷洒无人机 | |
| CN205899313U (zh) | 基于物联网技术的农田智能自动多功能防护棚 | |
| CN203467498U (zh) | 一种两轮农用喷药车 | |
| KR20220120792A (ko) | 반 자율주행 과수방제장치 |
Legal Events
| Date | Code | Title | Description |
|---|---|---|---|
| C06 | Publication | ||
| PB01 | Publication | ||
| C10 | Entry into substantive examination | ||
| SE01 | Entry into force of request for substantive examination | ||
| C14 | Grant of patent or utility model | ||
| GR01 | Patent grant |