CN102607291A - 带尖峰冷却器的直接空冷凝汽系统 - Google Patents
带尖峰冷却器的直接空冷凝汽系统 Download PDFInfo
- Publication number
- CN102607291A CN102607291A CN2012100594867A CN201210059486A CN102607291A CN 102607291 A CN102607291 A CN 102607291A CN 2012100594867 A CN2012100594867 A CN 2012100594867A CN 201210059486 A CN201210059486 A CN 201210059486A CN 102607291 A CN102607291 A CN 102607291A
- Authority
- CN
- China
- Prior art keywords
- cooler
- air
- steam
- spike
- condenser
- Prior art date
- Legal status (The legal status is an assumption and is not a legal conclusion. Google has not performed a legal analysis and makes no representation as to the accuracy of the status listed.)
- Pending
Links
- 238000001816 cooling Methods 0.000 title claims abstract description 40
- XLYOFNOQVPJJNP-UHFFFAOYSA-N water Substances O XLYOFNOQVPJJNP-UHFFFAOYSA-N 0.000 claims abstract description 23
- 239000000498 cooling water Substances 0.000 claims abstract description 5
- 230000005494 condensation Effects 0.000 claims description 7
- 238000009833 condensation Methods 0.000 claims description 7
- 239000007921 spray Substances 0.000 claims description 4
- 230000008676 import Effects 0.000 claims description 3
- 239000003245 coal Substances 0.000 abstract 1
- 238000007599 discharging Methods 0.000 abstract 1
- 239000003570 air Substances 0.000 description 25
- 238000000034 method Methods 0.000 description 5
- 239000012080 ambient air Substances 0.000 description 2
- 230000000694 effects Effects 0.000 description 2
- 238000001704 evaporation Methods 0.000 description 2
- 230000008020 evaporation Effects 0.000 description 2
- 239000000126 substance Substances 0.000 description 2
- 230000032683 aging Effects 0.000 description 1
- 230000009286 beneficial effect Effects 0.000 description 1
- 230000003247 decreasing effect Effects 0.000 description 1
- 230000007812 deficiency Effects 0.000 description 1
- 239000000945 filler Substances 0.000 description 1
- 239000003595 mist Substances 0.000 description 1
Images
Landscapes
- Heat-Exchange Devices With Radiators And Conduit Assemblies (AREA)
Abstract
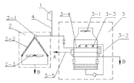
本发明涉及一种带尖峰冷却器的直接空冷凝汽系统,由排汽管道(4)、空冷凝汽器(2)和尖峰冷却器(3)组成,空冷凝汽器(2)包括蒸汽分配管(2-1)、凝汽器管束(2-2)和空冷风机组(2-3),尖峰冷却器(3)包括循环水管道(3-2)、循环水喷嘴(3-3)、冷却器管束(3-4)、抽真空管道(3-5)和冷却器风机组(3-1),尖峰冷却器与空冷凝汽器并联设置,在冷却器管束的端部乏汽通道的末端设置抽真空管道,以排出乏汽中的不凝性气体(A),循环冷却水喷淋在冷却器管束(3-4)的外表面。在环境气温高时,尖峰冷却器(3)与空冷凝汽器(2)共同投运,环境气温低时,仅空冷凝汽器(2)运行。其优点是,在夏季高温季节,可保持较低的汽轮机(1)的排汽背压,能够降低燃煤消耗和保证汽轮机(1)的出力。
Description
技术领域
本发明涉及一种带尖峰冷却器的直接空冷凝汽系统,主要用于火力发电厂和化工企业的汽轮机乏汽的冷凝过程。
背景技术
在火力发电厂和化工企业,越来越多地使用了直接空冷凝汽系统。虽然直接空冷凝汽系统节水效果显著,但还是存在不少的问题。首先,受环境气温的影响,在夏季高温季节的凝结温度和排汽背压较高,致使汽轮机的热耗增加、效率降低,有时还达不到额定的出力。其次,空冷凝汽器在运行数年后,由于在换热外表面日益加重的脏污和和老化现象,进一步影响了直接空冷凝汽系统换热性能,造成汽轮机的运行经济性下滑,汽轮机达不到出力的情况严重,企业效益也会受到很大影响。
为解决上述问题,目前有两种在直接空冷凝汽系统中增设尖峰冷却装置的技术方案。
一种是在凝汽器管束下方增设喷雾降温的装置,利用增湿降温的方式降低空冷凝汽器管束入口的空气温度,使背压有所降低。为了防止喷雾水蒸发后在空冷凝汽器的翅片表面结垢,喷雾水必须使用除盐水,不仅运行费用较高,而且汽轮机背压降低的幅度不大。
另一种方案是与直接空冷凝汽系统并行增设一套传统的水冷系统,水冷系统包括水冷凝汽器、循环水系统和冷却水塔。增设的水冷系统的工作原理:汽轮机排出的部分乏汽进入水冷凝汽器,在水冷凝汽器管外凝结;循环水在水冷凝汽器的管内流动并以传热的方式带走热量;升温后的循环水出水冷凝汽器后再进入冷却水塔,在填料上蒸发冷却。由于水冷凝汽器的成本和换热端差的影响,这种方案的投资大,而且,因循环水流量大、水泵功率大,系统的运行费用也高。
发明内容
本发明的目的在于克服上述直接空冷凝汽系统和尖峰冷却方案的不足,提供一种运行费用较低,而且汽轮机背压降低的幅度较大,且投资小的带尖峰冷却器的直接空冷凝汽系统。
本发明的目的是这样实现的:一种带尖峰冷却器的直接空冷凝汽系统,包括排汽管道和空冷凝汽器,空冷凝汽器包括蒸汽分配管、凝汽器管束和空冷风机组,其特点是:所述系统增设有尖峰冷却器,尖峰冷却器包括循环水管道、循环水喷嘴、冷却器管束、抽真空管道和冷却器风机组,尖峰冷却器与空冷凝汽器并联设置,通过连接管道把汽轮机排出的部分乏汽直接导入所述的尖峰冷却器的冷却器管束内,乏汽在冷却器管束的管内冷凝,所述的尖峰冷却器的循环水喷嘴在冷却器管束的管外表面喷淋循环冷却水,通过循环冷却水在冷却器管束管外的传质和传热作用,把乏汽凝结过程中的热量带走,在冷却器管束的端部乏汽通道的末端设置抽真空管道,以排出乏汽中的不凝性气体。
本发明带尖峰冷却器的直接空冷凝汽系统,所述尖峰冷却器的乏汽并联接口位于排汽管道上或在空冷凝汽器的蒸汽分配管上。
本发明的运行方式是这样的:
(1)在夏季高温季节,打开乏汽流向尖峰冷却器的阀门,使尖峰冷却器与空冷凝汽器共同运行,由尖峰冷却器分担部分乏汽的凝结过程中的热负荷,使汽轮机背压不会因环境温度升高而大幅度增高,并保证汽轮机始终达到额定的出力。
(2)在环境温度较低时,关闭乏汽流向尖峰冷却器的阀门,将尖峰冷却器停运,仅由空冷凝汽器承担热负荷,实现空冷凝汽系统节水的目的。
本发明的有益效果是:
在夏季高温季节,可保持较低的汽轮机的排汽背压,能够降低燃煤消耗和保证汽轮机的出力。且运行费用较低,投资小。
附图说明
图1为实施本发明的实施例1示意图。
图2为实施本发明的实施例2示意图。
图中:
汽轮机1
空冷凝汽器 2
蒸汽分配管 2-1
凝汽器管束2-2
空冷风机组2-3
尖峰冷却器 3
冷却器风机组3-1
循环水管道3-2
循环水喷嘴3-3
冷却器管束3-4
抽真空管道3-5
乏汽中的不凝性气体 A
凝结水 B。
具体实施方式
实施例1:
参见图1,图1为实施本发明的实施例1示意图。由图1可以看出,本发明带尖峰冷却器的直接空冷凝汽系统,由排汽管道4、空冷凝汽器2和尖峰冷却器3组成。空冷凝汽器2包括蒸汽分配管2-1、凝汽器管束2-2和空冷风机组2-3。尖峰冷却器3包括循环水管道3-2、循环水喷嘴3-3、冷却器管束3-4、抽真空管道3-5和冷却器风机组3-1。尖峰冷却器3与空冷凝汽器2并联设置,通过连接管道把汽轮机排出的部分乏汽直接导入所述的尖峰冷却器3的冷却器管束3-4内,部分乏汽接口位置位于排汽管道4上。在冷却器管束3-4的端部乏汽通道的末端设置抽真空管道3-5。环境气温较高时,仅空冷凝汽器2运行不能保持汽轮机背压值的情况下,尖峰冷却器3投运,通过阀门切换,部分乏汽进入尖峰冷却器3,在冷却器管束3-4的管内冷凝,最后剩余的乏汽中的不凝性气体A由抽真空管道3-5排出;尖峰冷却器3设置有循环水管道3-2,通过循环水喷嘴3-3将水喷在冷却器管束3-4的管外,循环冷却水在管外通过传质和传热的作用将凝结热量带走;冷却器风机组3-1采用吸风式方法使空气在尖峰冷却器3内形成对流,把蒸发的水蒸气和热空气排出。环境温度较低时,尖峰冷却器3将停运。
实施例2:
参见图2,图2为实施本发明的实施例2示意图。由图2可以看出,本发明带尖峰冷却器的直接空冷凝汽系统,由排汽管道4、空冷凝汽器2和尖峰冷却器3组成。空冷凝汽器2与尖峰冷却器3并联设置。与实施例1不同的是,尖峰冷却器3的乏汽接口位置在空冷凝汽器2的蒸汽分配管2-1上,既可以在蒸汽分配管2-1的入口、也可以在其中部。实施例2的其它部分,与实施例1相同。
Claims (2)
1.一种带尖峰冷却器的直接空冷凝汽系统,包括排汽管道(4)和空冷凝汽器(2),空冷凝汽器(2)包括蒸汽分配管(2-1)、凝汽器管束(2-2)和空冷风机组(2-3),其特征在于所述系统增设有尖峰冷却器(3),尖峰冷却器(3)包括循环水管道(3-2)、循环水喷嘴(3-3)、冷却器管束(3-4)、抽真空管道(3-5)和冷却器风机组(3-1),尖峰冷却器(3)与空冷凝汽器(2)并联设置,通过连接管道把汽轮机1排出的部分乏汽直接导入所述的尖峰冷却器(3)的冷却器管束(3-4)内,乏汽在冷却器管束(3-4)的管内冷凝,所述的尖峰冷却器(3)的循环水喷嘴(3-3)在冷却器管束(3-4)的管外表面喷淋循环冷却水,在冷却器管束(3-4)的端部乏汽通道的末端设置抽真空管道(3-5)。
2.根据权利要求1所述的一种带尖峰冷却器的直接空冷凝汽系统,其特征在于:所述尖峰冷却器(3)的乏汽并联接口位于排汽管道(4)上或在空冷凝汽器(2)的蒸汽分配管(2-1)上。
Priority Applications (1)
| Application Number | Priority Date | Filing Date | Title |
|---|---|---|---|
| CN2012100594867A CN102607291A (zh) | 2012-03-08 | 2012-03-08 | 带尖峰冷却器的直接空冷凝汽系统 |
Applications Claiming Priority (1)
| Application Number | Priority Date | Filing Date | Title |
|---|---|---|---|
| CN2012100594867A CN102607291A (zh) | 2012-03-08 | 2012-03-08 | 带尖峰冷却器的直接空冷凝汽系统 |
Publications (1)
| Publication Number | Publication Date |
|---|---|
| CN102607291A true CN102607291A (zh) | 2012-07-25 |
Family
ID=46524904
Family Applications (1)
| Application Number | Title | Priority Date | Filing Date |
|---|---|---|---|
| CN2012100594867A Pending CN102607291A (zh) | 2012-03-08 | 2012-03-08 | 带尖峰冷却器的直接空冷凝汽系统 |
Country Status (1)
| Country | Link |
|---|---|
| CN (1) | CN102607291A (zh) |
Cited By (5)
| Publication number | Priority date | Publication date | Assignee | Title |
|---|---|---|---|---|
| CN103245205A (zh) * | 2013-05-16 | 2013-08-14 | 国家电网公司 | 直接空冷汽轮机复合式凝汽换热系统 |
| CN103411443A (zh) * | 2013-05-31 | 2013-11-27 | 李俊峰 | 一种空冷和湿冷混合运行的蒸汽轮机乏汽冷却系统 |
| CN111854461A (zh) * | 2020-08-03 | 2020-10-30 | 西安热工研究院有限公司 | 一种适用于直接空冷供热机组全工况冷却及防冻系统 |
| CN113983452A (zh) * | 2021-09-18 | 2022-01-28 | 杭州中能汽轮动力有限公司 | 一种并联尖峰冷却空冷汽轮发电机组及凝汽方法 |
| CN116952009A (zh) * | 2023-09-08 | 2023-10-27 | 济南蓝辰能源技术有限公司 | 一种主循环水管路水平衡的利用昼夜温差的尖峰冷却系统 |
Citations (6)
| Publication number | Priority date | Publication date | Assignee | Title |
|---|---|---|---|---|
| WO2008002635A2 (en) * | 2006-06-27 | 2008-01-03 | Gea Power Cooling Systems, Llc | Series-parallel condensing system |
| FR2935737A1 (fr) * | 2008-09-10 | 2010-03-12 | Suez Environnement | Dispositif de cogeneration amelioree |
| CN201772768U (zh) * | 2010-09-02 | 2011-03-23 | 洛阳隆华传热科技股份有限公司 | 空蒸并联高效复合凝汽器 |
| CN201945201U (zh) * | 2010-09-02 | 2011-08-24 | 洛阳隆华传热科技股份有限公司 | 空蒸并联一体式高效复合凝汽器 |
| CN102322748A (zh) * | 2011-08-01 | 2012-01-18 | 山西省电力勘测设计院 | 带有尖峰冷却装置的直接空冷系统 |
| CN202485478U (zh) * | 2012-03-08 | 2012-10-10 | 双良节能系统股份有限公司 | 带尖峰冷却器的直接空冷凝汽系统 |
-
2012
- 2012-03-08 CN CN2012100594867A patent/CN102607291A/zh active Pending
Patent Citations (6)
| Publication number | Priority date | Publication date | Assignee | Title |
|---|---|---|---|---|
| WO2008002635A2 (en) * | 2006-06-27 | 2008-01-03 | Gea Power Cooling Systems, Llc | Series-parallel condensing system |
| FR2935737A1 (fr) * | 2008-09-10 | 2010-03-12 | Suez Environnement | Dispositif de cogeneration amelioree |
| CN201772768U (zh) * | 2010-09-02 | 2011-03-23 | 洛阳隆华传热科技股份有限公司 | 空蒸并联高效复合凝汽器 |
| CN201945201U (zh) * | 2010-09-02 | 2011-08-24 | 洛阳隆华传热科技股份有限公司 | 空蒸并联一体式高效复合凝汽器 |
| CN102322748A (zh) * | 2011-08-01 | 2012-01-18 | 山西省电力勘测设计院 | 带有尖峰冷却装置的直接空冷系统 |
| CN202485478U (zh) * | 2012-03-08 | 2012-10-10 | 双良节能系统股份有限公司 | 带尖峰冷却器的直接空冷凝汽系统 |
Cited By (7)
| Publication number | Priority date | Publication date | Assignee | Title |
|---|---|---|---|---|
| CN103245205A (zh) * | 2013-05-16 | 2013-08-14 | 国家电网公司 | 直接空冷汽轮机复合式凝汽换热系统 |
| CN103245205B (zh) * | 2013-05-16 | 2014-12-03 | 国家电网公司 | 直接空冷汽轮机复合式凝汽换热系统 |
| CN103411443A (zh) * | 2013-05-31 | 2013-11-27 | 李俊峰 | 一种空冷和湿冷混合运行的蒸汽轮机乏汽冷却系统 |
| CN103411443B (zh) * | 2013-05-31 | 2016-03-09 | 李俊峰 | 一种空冷和湿冷混合运行的蒸汽轮机乏汽冷却系统 |
| CN111854461A (zh) * | 2020-08-03 | 2020-10-30 | 西安热工研究院有限公司 | 一种适用于直接空冷供热机组全工况冷却及防冻系统 |
| CN113983452A (zh) * | 2021-09-18 | 2022-01-28 | 杭州中能汽轮动力有限公司 | 一种并联尖峰冷却空冷汽轮发电机组及凝汽方法 |
| CN116952009A (zh) * | 2023-09-08 | 2023-10-27 | 济南蓝辰能源技术有限公司 | 一种主循环水管路水平衡的利用昼夜温差的尖峰冷却系统 |
Similar Documents
| Publication | Publication Date | Title |
|---|---|---|
| CN202582241U (zh) | 与直接空冷并联的wfe尖峰凝汽系统 | |
| CN103527267B (zh) | 一种采用板式蒸发冷凝器组的直接空冷机组系统 | |
| CN104864732A (zh) | 一种用于火电厂小汽轮机乏汽冷凝的蒸发式冷凝器系统 | |
| CN104034178B (zh) | 一种板式蒸发空冷凝汽器 | |
| CN202485478U (zh) | 带尖峰冷却器的直接空冷凝汽系统 | |
| CN105258528A (zh) | 一种高效复合型蒸汽冷凝系统 | |
| CN102607291A (zh) | 带尖峰冷却器的直接空冷凝汽系统 | |
| CN102444901A (zh) | 一种煤电厂组合式热管烟气余热回收系统及方法 | |
| CN102393153A (zh) | 一种用于夏季尖峰时刻的汽轮机组的冷凝方式及冷凝装置 | |
| CN101776401A (zh) | 自然通风直接水膜蒸发空冷凝汽系统 | |
| CN106091717A (zh) | 带尖峰冷却装置的直接空冷系统 | |
| CN201858821U (zh) | 一种制冷剂蒸发冷却器 | |
| CN202195715U (zh) | 一种带乏汽换热系统的电厂汽水系统 | |
| CN201488621U (zh) | 一种空冷与蒸发冷一体式换热器 | |
| CN102425957A (zh) | 一种换热板束倾斜布置的板式蒸发空冷凝汽器 | |
| CN203531984U (zh) | 一种采用板式蒸发冷凝器组的直接空冷机组系统 | |
| CN104533545A (zh) | 一种新型的空冷系统 | |
| CN206001753U (zh) | 翅片管式风冷冷凝器 | |
| CN202382609U (zh) | 一种提高火电机组直接空冷系统夏季真空的装置 | |
| CN104018899B (zh) | 一种发电厂空冷凝汽器尖峰冷却装置及其方法 | |
| CN203052704U (zh) | 热媒水式烟气-空气换热器 | |
| CN205860801U (zh) | 带尖峰冷却装置的直接空冷系统 | |
| CN204694095U (zh) | 用于火电厂小汽轮机乏汽冷凝的蒸发式冷凝器系统 | |
| CN204402591U (zh) | 一种新型的空冷系统 | |
| RU2392555C1 (ru) | Воздушно-охладительная установка для охлаждения оборотной воды |
Legal Events
| Date | Code | Title | Description |
|---|---|---|---|
| C06 | Publication | ||
| PB01 | Publication | ||
| C10 | Entry into substantive examination | ||
| SE01 | Entry into force of request for substantive examination | ||
| WD01 | Invention patent application deemed withdrawn after publication |
Application publication date: 20120725 |
|
| WD01 | Invention patent application deemed withdrawn after publication |