CN102545135A - Cable sealing joint special for oil well - Google Patents
Cable sealing joint special for oil well Download PDFInfo
- Publication number
- CN102545135A CN102545135A CN201210024324XA CN201210024324A CN102545135A CN 102545135 A CN102545135 A CN 102545135A CN 201210024324X A CN201210024324X A CN 201210024324XA CN 201210024324 A CN201210024324 A CN 201210024324A CN 102545135 A CN102545135 A CN 102545135A
- Authority
- CN
- China
- Prior art keywords
- sealing
- cable
- special
- sealed
- wire barrel
- Prior art date
- Legal status (The legal status is an assumption and is not a legal conclusion. Google has not performed a legal analysis and makes no representation as to the accuracy of the status listed.)
- Pending
Links
Images
Landscapes
- Gas Or Oil Filled Cable Accessories (AREA)
Abstract
油井专用电缆密封接头,它涉及一种油井专用的耐高压单芯电缆密封接头。本发明为解决现有的电缆接头不能很好地密封,导致电缆在30MPa高压下会出现渗漏现象,造成设备的短路,给生产带来很大损失的问题。本发明的两个密封主体对称安装在接线筒的两端,每个密封主体与接线筒之间靠O型密封圈密封,且每个密封主体与接线筒之间采用螺纹连接,每个密封主体的中心处由接线筒一端至外端设有相通的电缆腔、密封腔和螺母安装腔,每个密封腔中装有数个异形密封垫,每个螺母安装腔中装有一个压紧螺母,且压紧螺母与密封主体螺纹连接,每个异形密封垫的端面形状为凸凹曲面。本发明用于连接两段铠装电缆。
The utility model relates to a special cable sealing joint for oil wells, which relates to a special high-pressure-resistant single-core cable sealing joint for oil wells. The present invention solves the problem that the existing cable joints cannot be well sealed, resulting in cable leakage under 30MPa high pressure, resulting in short circuit of equipment and great loss to production. The two sealing bodies of the present invention are symmetrically installed at both ends of the wire barrel, each sealing body and the wire barrel are sealed by an O-shaped sealing ring, and each sealing body and the wire barrel are connected by threads, and each sealing body At the center of the wire barrel, there are connected cable chambers, sealing chambers and nut installation chambers from one end of the wire barrel to the outer end. Several special-shaped gaskets are installed in each sealing chamber, and a compression nut is installed in each nut installation chamber. The compression nut is threadedly connected with the sealing main body, and the end face of each special-shaped sealing gasket is a convex-concave surface. The invention is used for connecting two sections of armored cables.
Description
技术领域 technical field
本发明涉及一种油井专用的耐高压单芯电缆密封接头。The invention relates to a high-pressure-resistant single-core cable sealing joint specially used for oil wells.
背景技术 Background technique
目前,在油田井下设备连接时,两个不同设备之间连接需要将两段电缆连接起来;但是,现有的电缆接头密封大都采用O型密封圈,该密封方式的密封效果不是很好,电缆在30MPa高压下有时会出现渗漏现象,造成设备的短路,给生产造成很大损失。有的电缆接头虽然能够做到可靠密封,但是存在操作不便、难以拆卸等问题。At present, when connecting downhole equipment in oil fields, two sections of cables need to be connected between two different equipment; however, most of the existing cable joints are sealed with O-rings, and the sealing effect of this sealing method is not very good. Leakage sometimes occurs under the high pressure of 30MPa, causing a short circuit of the equipment and causing great losses to production. Although some cable joints can be reliably sealed, there are problems such as inconvenient operation and difficult disassembly.
发明内容 Contents of the invention
本发明的目的是为解决现有的电缆接头不能很好地密封,导致电缆在30MPa高压下会出现渗漏现象,造成设备的短路,给生产带来很大损失的问题,提供一种油井专用电缆密封接头。The purpose of the present invention is to solve the problem that the existing cable joints cannot be well sealed, resulting in leakage of the cable under 30MPa high pressure, causing short circuit of the equipment and bringing great losses to production, and to provide a special oil well special Cable glands.
本发明为解决上述问题采取的技术方案是:The technical scheme that the present invention takes for solving the above problems is:
一种油井专用电缆密封接头,所述电缆密封接头包括接线筒、两个密封主体、两个压紧螺母、数个O型密封橡胶圈和数个异形密封垫,两个密封主体对称安装在接线筒的两端,每个密封主体与接线筒之间靠O型密封圈密封,且每个密封主体与接线筒之间采用螺纹连接,每个密封主体的中心处由接线筒一端至外端设有相通的电缆腔、密封腔和螺母安装腔,每个密封腔中装有数个异形密封垫,每个螺母安装腔中装有一个压紧螺母,且压紧螺母与密封主体螺纹连接,每个异形密封垫的端面形状为凸凹曲面。A special cable sealing joint for oil wells. The cable sealing joint includes a junction barrel, two sealing bodies, two compression nuts, several O-shaped sealing rubber rings and several special-shaped sealing gaskets. The two sealing bodies are symmetrically installed on the wiring The two ends of the barrel, each sealing body and the wiring barrel are sealed by O-rings, and each sealing body and the wiring barrel are connected by threads, and the center of each sealing body is set from one end of the wiring barrel to the outer end. There are connected cable chambers, sealing chambers and nut installation chambers. Several special-shaped gaskets are installed in each sealing chamber, and a compression nut is installed in each nut installation chamber, and the compression nut is threadedly connected with the sealing body. The shape of the end face of the special-shaped gasket is a convex-concave surface.
本发明的有益效果是:一、由于本发明的异形密封垫2的端面形状为凸凹曲面,在压紧螺母4的挤压作用下异形密封垫2产生变形,将铠装电缆6抱死,从而保证了铠装电缆6连接处的可靠密封;本发明能够保证电缆在30MPa高压下不会出现渗漏现象,避免了设备的短路,降低了安全隐患。二、本发明体积小、密封可靠、操作方便、拆卸容易。The beneficial effects of the present invention are: one, because the end face shape of the special-
附图说明 Description of drawings
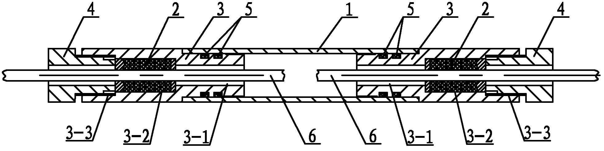
图1是本发明整体结构的主剖视图,图2是异形密封垫2的主视图。FIG. 1 is a front sectional view of the overall structure of the present invention, and FIG. 2 is a front view of a special-
具体实施方式 Detailed ways
具体实施方式一:结合图1和图2说明本实施方式,本实施方式的油井专用电缆密封接头,所述电缆密封接头包括接线筒1、两个密封主体3、两个压紧螺母4、数个O型密封橡胶圈5和数个异形密封垫2,两个密封主体3对称安装在接线筒1的两端,每个密封主体3与接线筒1之间靠O型密封圈5密封,且每个密封主体3与接线筒1之间采用螺纹连接,每个密封主体3的中心处由接线筒1一端至外端设有相通的电缆腔3-1、密封腔3-2和螺母安装腔3-3,每个密封腔3-2中装有数个异形密封垫2,每个螺母安装腔3-3中装有一个压紧螺母4,且压紧螺母4与密封主体3螺纹连接,每个异形密封垫2的端面形状为凸凹曲面。两段铠装电缆6的接线处密封在接线筒1里,铠装电缆6周围靠异形密封垫2密封。电缆连接时,首先将一端的压紧螺母4、异形密封垫2和密封主体3安装在其中一根铠装电缆6上,将压紧螺母4拧紧后即实现该根铠装电缆6的密封;将另一端的压紧螺母4、异形密封垫2、密封主体3和接线筒1安装在另一根铠装电缆6上,此压紧螺母4暂不拧紧;待两段电缆接线完成后,首先拧紧接线筒1与密封主体3之间的螺纹连接,最后拧紧另一端的压紧螺母4,即完成两段铠装电缆6的连接。Specific embodiment 1: This embodiment is described in conjunction with Fig. 1 and Fig. 2. The special cable sealing joint for oil wells in this embodiment includes a connection barrel 1, two sealing
具体实施方式二:结合图1说明本实施方式,本实施方式的每个密封主体3与接线筒1之间的O型密封圈5的数量至少设置两个。这样设计使得时密封主体3与接线筒1之间的O型密封更好。其它组成和连接关系与具体实施方式一相同。Embodiment 2: This embodiment is described with reference to FIG. 1 . In this embodiment, there are at least two O-
具体实施方式三:结合图2说明本实施方式,本实施方式的每个异形密封垫2的材质为聚四氟乙烯。这样设计可以使整个电缆接头方便拆卸和多次使用。其它组成和连接关系与具体实施方式一相同。Embodiment 3: This embodiment is described with reference to FIG. 2 . The material of each special-
Claims (3)
Priority Applications (1)
| Application Number | Priority Date | Filing Date | Title |
|---|---|---|---|
| CN201210024324XA CN102545135A (en) | 2012-02-03 | 2012-02-03 | Cable sealing joint special for oil well |
Applications Claiming Priority (1)
| Application Number | Priority Date | Filing Date | Title |
|---|---|---|---|
| CN201210024324XA CN102545135A (en) | 2012-02-03 | 2012-02-03 | Cable sealing joint special for oil well |
Publications (1)
| Publication Number | Publication Date |
|---|---|
| CN102545135A true CN102545135A (en) | 2012-07-04 |
Family
ID=46351365
Family Applications (1)
| Application Number | Title | Priority Date | Filing Date |
|---|---|---|---|
| CN201210024324XA Pending CN102545135A (en) | 2012-02-03 | 2012-02-03 | Cable sealing joint special for oil well |
Country Status (1)
| Country | Link |
|---|---|
| CN (1) | CN102545135A (en) |
Cited By (5)
| Publication number | Priority date | Publication date | Assignee | Title |
|---|---|---|---|---|
| CN103151755A (en) * | 2012-12-20 | 2013-06-12 | 贵州航天凯山石油仪器有限公司 | Method and structure capable of improving reliability of downhole instrument connecting cable |
| CN104234701A (en) * | 2014-09-26 | 2014-12-24 | 哈尔滨工业大学 | Underground optical fiber pressure gage and underground pressure measurement method |
| CN106848994A (en) * | 2015-12-04 | 2017-06-13 | 中国石油天然气股份有限公司 | Compressor unit shafting instrument detection probe lead oil leakage sealing connection device |
| CN109510006A (en) * | 2018-11-05 | 2019-03-22 | 西安科技大学 | A kind of high pressure resistant anti-pulling cable connector of high-temperature oil well |
| CN114267483A (en) * | 2021-12-31 | 2022-04-01 | 上海万普线缆有限公司 | A communication cable capable of effectively resisting underground wet environment and preparation method thereof |
Citations (3)
| Publication number | Priority date | Publication date | Assignee | Title |
|---|---|---|---|---|
| CN2353072Y (en) * | 1998-11-02 | 1999-12-08 | 金湖机械厂 | Cable-end sealing arrangement on oil pipe-end |
| CN101834387A (en) * | 2010-06-09 | 2010-09-15 | 中国石油天然气集团公司 | Dismountable cable-passing pressure-proof connector |
| CN201725066U (en) * | 2010-07-14 | 2011-01-26 | 中国科学院半导体研究所 | Underground cable connection protecting device |
-
2012
- 2012-02-03 CN CN201210024324XA patent/CN102545135A/en active Pending
Patent Citations (3)
| Publication number | Priority date | Publication date | Assignee | Title |
|---|---|---|---|---|
| CN2353072Y (en) * | 1998-11-02 | 1999-12-08 | 金湖机械厂 | Cable-end sealing arrangement on oil pipe-end |
| CN101834387A (en) * | 2010-06-09 | 2010-09-15 | 中国石油天然气集团公司 | Dismountable cable-passing pressure-proof connector |
| CN201725066U (en) * | 2010-07-14 | 2011-01-26 | 中国科学院半导体研究所 | Underground cable connection protecting device |
Cited By (8)
| Publication number | Priority date | Publication date | Assignee | Title |
|---|---|---|---|---|
| CN103151755A (en) * | 2012-12-20 | 2013-06-12 | 贵州航天凯山石油仪器有限公司 | Method and structure capable of improving reliability of downhole instrument connecting cable |
| CN103151755B (en) * | 2012-12-20 | 2016-04-13 | 贵州航天凯山石油仪器有限公司 | Improve method and the structure of downhole instrument stube cable reliability |
| CN104234701A (en) * | 2014-09-26 | 2014-12-24 | 哈尔滨工业大学 | Underground optical fiber pressure gage and underground pressure measurement method |
| CN104234701B (en) * | 2014-09-26 | 2017-01-25 | 哈尔滨工业大学 | Underground optical fiber pressure gage and underground pressure measurement method |
| CN106848994A (en) * | 2015-12-04 | 2017-06-13 | 中国石油天然气股份有限公司 | Compressor unit shafting instrument detection probe lead oil leakage sealing connection device |
| CN106848994B (en) * | 2015-12-04 | 2019-01-18 | 中国石油天然气股份有限公司 | Compressor unit shafting instrument detection probe lead oil leakage sealing connection device |
| CN109510006A (en) * | 2018-11-05 | 2019-03-22 | 西安科技大学 | A kind of high pressure resistant anti-pulling cable connector of high-temperature oil well |
| CN114267483A (en) * | 2021-12-31 | 2022-04-01 | 上海万普线缆有限公司 | A communication cable capable of effectively resisting underground wet environment and preparation method thereof |
Similar Documents
| Publication | Publication Date | Title |
|---|---|---|
| CN102545135A (en) | Cable sealing joint special for oil well | |
| CN106122639B (en) | A kind of hose connection device | |
| CN203847857U (en) | Quick installation type flexible joint device for liquid conveying equipment | |
| CN203940141U (en) | A kind of pipe joint | |
| CN207569433U (en) | A kind of closeouts for hot-water heating PPR pipe | |
| CN104806826A (en) | Clamp ring two-side-locked thin-walled metal pipe intertubular connecting component | |
| CN207316347U (en) | A kind of three-way pipeline self-tightening sealing formula blocking clamper | |
| CN108916505A (en) | A kind of attaching type high-pressure rubber hose coupling | |
| CN204376361U (en) | A kind of wire connection device of pressure-resistant seal | |
| CN214153984U (en) | Cable connector | |
| CN103939447B (en) | A kind of double seal bolt | |
| CN207039151U (en) | Cable channel cavity anti-theft plugging device | |
| CN212054591U (en) | Underground flexible continuous composite pipe connecting joint with cable preset on inner wall | |
| CN205350654U (en) | Prevent static sealed tube | |
| CN203628106U (en) | Quick-open type pipeline connection device | |
| CN102873016B (en) | Sealing switching device for ultrasonic transducer | |
| CN203769703U (en) | Coal-bed gas well pressure meter cable wellhead sealing joint | |
| CN203770349U (en) | Dual-seal bolt | |
| CN206861123U (en) | A kind of high pressure discharge hose crossover sub | |
| CN111101885A (en) | Underground flexible continuous composite pipe connecting joint with cable preset on inner wall and method | |
| CN207612037U (en) | A kind of cable sealing cylinder | |
| CN204835459U (en) | On -vehicle shielded joint | |
| CN205618890U (en) | Telescopic joint device suitable for great volume of water conservancy project pressure steel pipe is flexible warp | |
| CN203809900U (en) | Pipeline connecting end sealing device | |
| CN206112337U (en) | Scalable fixed pipe |
Legal Events
| Date | Code | Title | Description |
|---|---|---|---|
| C06 | Publication | ||
| PB01 | Publication | ||
| C10 | Entry into substantive examination | ||
| SE01 | Entry into force of request for substantive examination | ||
| C02 | Deemed withdrawal of patent application after publication (patent law 2001) | ||
| WD01 | Invention patent application deemed withdrawn after publication |
Application publication date: 20120704 |
