CN102544170A - Temperature adjusting device of photovoltaic assembly - Google Patents

Temperature adjusting device of photovoltaic assembly Download PDF

Info

Publication number
CN102544170A
CN102544170A CN2010106047959A CN201010604795A CN102544170A CN 102544170 A CN102544170 A CN 102544170A CN 2010106047959 A CN2010106047959 A CN 2010106047959A CN 201010604795 A CN201010604795 A CN 201010604795A CN 102544170 A CN102544170 A CN 102544170A
Authority
CN
China
Prior art keywords
temperature
photovoltaic module
adjusting device
heat pipe
photovoltaic
Prior art date
Legal status (The legal status is an assumption and is not a legal conclusion. Google has not performed a legal analysis and makes no representation as to the accuracy of the status listed.)
Pending
Application number
CN2010106047959A
Other languages
Chinese (zh)
Inventor
闫广川
Current Assignee (The listed assignees may be inaccurate. Google has not performed a legal analysis and makes no representation or warranty as to the accuracy of the list.)
Canadian Solar Manufacturing Changshu Inc
Canadian Solar China Investment Co Ltd
Original Assignee
Canadian Solar Manufacturing Changshu Inc
Canadian Solar China Investment Co Ltd
Priority date (The priority date is an assumption and is not a legal conclusion. Google has not performed a legal analysis and makes no representation as to the accuracy of the date listed.)
Filing date
Publication date
Application filed by Canadian Solar Manufacturing Changshu Inc, Canadian Solar China Investment Co Ltd filed Critical Canadian Solar Manufacturing Changshu Inc
Priority to CN2010106047959A priority Critical patent/CN102544170A/en
Publication of CN102544170A publication Critical patent/CN102544170A/en
Pending legal-status Critical Current

Links

Images

Classifications

    • YGENERAL TAGGING OF NEW TECHNOLOGICAL DEVELOPMENTS; GENERAL TAGGING OF CROSS-SECTIONAL TECHNOLOGIES SPANNING OVER SEVERAL SECTIONS OF THE IPC; TECHNICAL SUBJECTS COVERED BY FORMER USPC CROSS-REFERENCE ART COLLECTIONS [XRACs] AND DIGESTS
    • Y02TECHNOLOGIES OR APPLICATIONS FOR MITIGATION OR ADAPTATION AGAINST CLIMATE CHANGE
    • Y02EREDUCTION OF GREENHOUSE GAS [GHG] EMISSIONS, RELATED TO ENERGY GENERATION, TRANSMISSION OR DISTRIBUTION
    • Y02E10/00Energy generation through renewable energy sources
    • Y02E10/50Photovoltaic [PV] energy

Landscapes

  • Photovoltaic Devices (AREA)

Abstract

The invention discloses a temperature adjusting device of a photovoltaic assembly, which is used for adjusting temperature of the photovoltaic assembly and comprises a heat conduction structure installed on the photovoltaic assembly, a heat conduction pipe connected with the heat conduction structure and a radiator connected with the heat conduction pipe and embedded underground. The radiator dissipates heat conducted by the photovoltaic assembly to the underground. The temperature adjusting device of the photovoltaic assembly is capable of quickly dissipating heat of the photovoltaic assembly to quickly cool the photovoltaic assembly, thereby improving power generation efficiency of the photovoltaic assembly. The ground temperature can be conducted into the photovoltaic assembly under low temperature environment to protect the assembly.

Description

The temperature-adjusting device of photovoltaic module
Technical field
The present invention relates to the photovoltaic power generation technology field, relate in particular to and to carry out thermoregulator temperature-adjusting device to the photovoltaic module in the photovoltaic generating system.
Background technology
Being in photovoltaic module under the sunlight when transform light energy is electric energy, can be heat energy with most transform light energy, and the temperature of solar cell or assembly is significantly raise, thereby causes the energy output of assembly to descend, the lost of life.
The temperature of photovoltaic cell is main relevant with assembly ambient temperature of living in, radiation event, wind speed, assembly material, assembly and mounting structure thereof etc.At radiation weather preferably, the temperature of photovoltaic cell can reach more than 70 degree, and because of every rising 1 degree of solar cell temperature, it is about 0.4% that power output reduces approximately, and therefore when high temperature, the energy loss of photovoltaic module is very serious.Simultaneously, be in the solar cell of high temperature for a long time, its life-span also can correspondingly reduce.Thereby make the photovoltaic module lost of life.In addition, in some area, also can often run into the weather of accumulated snow, cause assembly surface can't be received light source by accumulated snow, some performance of assembly may be received some performance because of low temperature, influences its useful life.
Therefore be necessary to design a kind of device, in due course, regulate the temperature of the photovoltaic module in the photovoltaic generating system.
Summary of the invention
The object of the present invention is to provide a kind of temperature-adjusting device of photovoltaic module, this temperature-adjusting device can be derived the heat of photovoltaic module or the ground temperature importing, with the temperature of quick adjustment photovoltaic module.
For realizing above goal of the invention; The present invention adopts following technical scheme: a kind of temperature-adjusting device of photovoltaic module; In order to regulate the temperature of photovoltaic module; It comprises the conductive structure that is installed on photovoltaic module, the heat pipe that is connected with conductive structure and is connected and buried radiator with heat pipe, in order between the heat of photovoltaic module derivation and ground temperature, changing, the heat of photovoltaic module derivation is dispersed into underground or ground temperature is imported to photovoltaic module.
As further improvement of the present invention, conductive structure is tabular or the membranaceous photovoltaic module behind that is tiled in.
As further improvement of the present invention, conductive structure is fixedly connected on photovoltaic module behind through heat-conducting glue.
As further improvement of the present invention, artificial anti-icing fluid or other low freezing point working medium are housed in the said heat pipe.
As further improvement of the present invention, said temperature-adjusting device also is equipped with circulating pump, in order to drive working medium in the heat pipe along the heat pipe periodic duty.
As further improvement of the present invention; Said temperature-adjusting device also comprises the controller of temperature sensor and the work of may command circulating pump; Said temperature sensor is installed on the photovoltaic module temperature with the detected light photovoltaic assembly; Said controller can artificially be set a temperature value, and the temperature that detects transformational structure when temperature sensor reaches the temperature value that is provided with in the controller, and controller will start circulating pump work.
As further improvement of the present invention, said heat pipe is back-shaped heat pipe, is cylinder or multi-faceted column structure.
As further improvement of the present invention, said conductive structure is welded in heat pipe or is connected with heat pipe through the close mechanical contact structures.
As further improvement of the present invention, the buried degree of depth of said radiator >=0.8 meter.
As further improvement of the present invention, the material of said radiator is that one or more or its mixture in corrosion resistant organic material, metal material or the ceramic material processed.
Compared to prior art, the temperature-adjusting device of photovoltaic module of the present invention can be derived the heat in the photovoltaic module fast, with the temperature of quick reduction photovoltaic module, thus the generating efficiency of raising photovoltaic module.Under low temperature environment, also can ground temperature be imported to photovoltaic module, assembly is protected.
Description of drawings
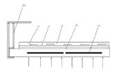
Fig. 1 is the structural representation that the temperature-adjusting device of photovoltaic module of the present invention is installed on photovoltaic generating system.
Fig. 2 is the temperature-adjusting device heat pipe scheme of installation of photovoltaic module of the present invention.
Fig. 3 is the structural representation that the temperature-adjusting device of photovoltaic module of the present invention is installed on photovoltaic module.
Fig. 4 is the end view that the temperature-adjusting device of photovoltaic module shown in Figure 3 is installed on photovoltaic module.
Embodiment
As shown in Figure 1, the temperature-adjusting device 20 of photovoltaic module of the present invention can be installed on photovoltaic generating system 100.This photovoltaic generating system 100 can comprise the photovoltaic modulies 10 of connecting or being connected in parallel together of organizing more.In this execution mode, be that to be with the photovoltaic module that is connected in parallel that example is explained of the present invention.
Like Fig. 1 to shown in Figure 4, the controller 25 that the temperature-adjusting device 20 of photovoltaic module of the present invention comprises the conductive structure 21 that is installed in photovoltaic module 10 back sides, the heat pipe 22 that is connected with conductive structure 21, be connected also buried radiator 23 with heat pipe 22, be installed in circulating pump 24 on the heat pipe 22, work in order to the temperature sensor (scheming not show) and the may command circulating pump 24 of detected light photovoltaic assembly 10 temperature.
Said conductive structure 21 is the tabular or the membranaceous back side that is tiled in photovoltaic module 10.Said conductive structure 21 is fixedly connected with photovoltaic module 10 through heat-conducting glue 30, thereby the heat extraction of photovoltaic module 10 is come out.The material of said conductive structure 21 is to have the metal material of high thermal conductivity or the mixture of metal material and organic material.
Said heat pipe 22 is back-shaped pipe, is cylinder or multi-faceted column structure.Said heat pipe 22 perhaps welds through heat-conducting glue or the close mechanical contact structures are able to be fixedly connected with conductive structure 21.Said heat pipe 22 is processed by a kind of material in copper, aluminium, stainless steel or the pottery.Artificial anti-icing fluid or other low freezing point working medium are housed in the said heat pipe 22.Also be provided with on the frame of said photovoltaic generating system 100 and recycle inlet 11, thereby this recycles inlet and through outside heat pipe 22 the back-shaped heat pipe 22 in inside is connected to circulating pump 24.
Like Fig. 3 and shown in Figure 4, said radiator 23 is imbedded underground and is processed by one or more or its mixture in corrosion resistant organic material, metal material or the ceramic material.Subsurface temperature depends primarily on its distance, season of living in, geologic structure and soil constituent from the face of land.Underground below 20 meters, the soil moisture is close with face of land year-round average temperature value, and receives hardly that ambient temperature is periodically variable to be influenced, and annual temperature is in steady state basically.When summer, ground was the hottest, the soil moisture at underground 0.8 meter about 25.0 ℃, the soil moisture at 1.6 meters is about 21 ℃.In general geologic structure, the annual temperature at following 0.8 meter, the face of land is the highest can be above 30 ℃.Therefore with the buried degree of depth of radiator for the annual temperature that can guarantee radiator 23 environment of living in more than or equal to 0.8 meter is the highest can be above 30 ℃.
To shown in Figure 4, circulating pump 24 is installed on the heat pipe 22 and can drives working medium in the heat pipe 22 along heat pipe 22 periodic duties like Fig. 1.Said temperature sensor is installed in the temperature of the back side of photovoltaic module 10 with detected light photovoltaic assembly 10.Said controller 25 can Control Circulation pump 24 operating state, controller 25 can artificially be set a temperature value, when the temperature that detects photovoltaic module 10 when temperature sensor reaches controller 25 set temperature value, controller 25 will start circulating pump 24 and work.Special, when snowing, because accumulated snow blocks light source, assembly 10 does not generate electricity, and sensor is to this situation, and controller 25 also can the Control Circulation pump 24 be passed ground temperature back assembly, with freeze proof etc.
In photovoltaic generating system or photovoltaic plant that polylith photovoltaic module 10 is formed, the connection of each photovoltaic module 10 can be carried out series, parallel or string and series-parallel connection in the location in space difference according to photovoltaic module 10.
Compared to prior art, the temperature-adjusting device 20 of photovoltaic module of the present invention can be derived the heat in the photovoltaic module fast, with the temperature of quick reduction photovoltaic module, thus the generating efficiency of raising photovoltaic module.
In sum; More than be merely preferred embodiment of the present invention; Should not limit scope of the present invention with this, promptly every simple equivalent of being done according to claims of the present invention and description of the invention content changes and modifies, and all should still belong in the scope that patent of the present invention contains.

Claims (10)

1. the temperature-adjusting device of a photovoltaic module (20); Comprise the conductive structure (21) that is installed on photovoltaic module (10), the heat pipe (22) that is connected with conductive structure (21), it is characterized in that: also comprise with heat pipe being connected and buried radiator (23).
2. the temperature-adjusting device of photovoltaic module as claimed in claim 1 is characterized in that: conductive structure (21) is tabular or the membranaceous photovoltaic module (10) behind that is tiled in.
3. the temperature-adjusting device of photovoltaic module as claimed in claim 1 is characterized in that: conductive structure (21) is to be fixedly connected on photovoltaic module (10) behind through heat-conducting glue (30).
4. the temperature-adjusting device of photovoltaic module as claimed in claim 1 is characterized in that: artificial anti-icing fluid or other low freezing point working medium are housed in the said heat pipe (22).
5. the temperature-adjusting device of photovoltaic module as claimed in claim 4; It is characterized in that: also comprise circulating pump (24); Said circulating pump (24) is connected in said heat pipe (22), in order to drive the interior working medium of heat pipe (22) along heat pipe (22) periodic duty.
6. the temperature-adjusting device of photovoltaic module as claimed in claim 5; It is characterized in that: the controller (25) that also comprises the work of temperature sensor and may command circulating pump (24); Said temperature sensor is installed in photovoltaic module (10) and goes up the temperature with detected light photovoltaic assembly (10); Said controller can artificially be set a temperature value, and the temperature that detects photovoltaic module (10) when temperature sensor reaches the temperature value of setting in the controller, and controller will start circulating pump (24) work.
7. the temperature-adjusting device of photovoltaic module as claimed in claim 4, it is characterized in that: said heat pipe (22) is back-shaped heat pipe, is cylinder or multi-faceted column structure.
8. the temperature-adjusting device of photovoltaic module as claimed in claim 1 is characterized in that: said conductive structure (21) is welded in heat pipe (22) or is connected with heat pipe (22) through the close mechanical contact structures.
9. the temperature-adjusting device of photovoltaic module as claimed in claim 1 is characterized in that: the buried degree of depth of said radiator (23) >=0.8 meter.
10. the temperature-adjusting device of photovoltaic module as claimed in claim 1 is characterized in that: the material of said radiator (23) is that one or more or its mixture in corrosion resistant organic material, metal material or the ceramic material processed.
CN2010106047959A 2010-12-24 2010-12-24 Temperature adjusting device of photovoltaic assembly Pending CN102544170A (en)

Priority Applications (1)

Application Number Priority Date Filing Date Title
CN2010106047959A CN102544170A (en) 2010-12-24 2010-12-24 Temperature adjusting device of photovoltaic assembly

Applications Claiming Priority (1)

Application Number Priority Date Filing Date Title
CN2010106047959A CN102544170A (en) 2010-12-24 2010-12-24 Temperature adjusting device of photovoltaic assembly

Publications (1)

Publication Number Publication Date
CN102544170A true CN102544170A (en) 2012-07-04

Family

ID=46350615

Family Applications (1)

Application Number Title Priority Date Filing Date
CN2010106047959A Pending CN102544170A (en) 2010-12-24 2010-12-24 Temperature adjusting device of photovoltaic assembly

Country Status (1)

Country Link
CN (1) CN102544170A (en)

Cited By (3)

* Cited by examiner, † Cited by third party
Publication number Priority date Publication date Assignee Title
CN103324216A (en) * 2013-06-17 2013-09-25 上海大学 Solar energy maximum power electricity-generation temperature control system and method
CN104410359A (en) * 2014-11-14 2015-03-11 万卫东 Low-temperature solar cell module with heat dissipation and cooling function and application thereof
CN107196598A (en) * 2017-05-31 2017-09-22 成都亿伏科技有限公司 Suitable for the heat sink of the energy storage component of photovoltaic generation

Citations (3)

* Cited by examiner, † Cited by third party
Publication number Priority date Publication date Assignee Title
CN101319808A (en) * 2008-07-04 2008-12-10 清华大学 A solar semiconductor water-cooled air-conditioning system using soil for heat exchange
CN101728375A (en) * 2008-10-29 2010-06-09 成都钟顺科技发展有限公司 Packaging structure for interdigital back electrode monocrystalline silicon solar cell in condensation application
CN201514949U (en) * 2009-10-23 2010-06-23 英利能源(中国)有限公司 Photovoltaic assembly

Patent Citations (3)

* Cited by examiner, † Cited by third party
Publication number Priority date Publication date Assignee Title
CN101319808A (en) * 2008-07-04 2008-12-10 清华大学 A solar semiconductor water-cooled air-conditioning system using soil for heat exchange
CN101728375A (en) * 2008-10-29 2010-06-09 成都钟顺科技发展有限公司 Packaging structure for interdigital back electrode monocrystalline silicon solar cell in condensation application
CN201514949U (en) * 2009-10-23 2010-06-23 英利能源(中国)有限公司 Photovoltaic assembly

Cited By (3)

* Cited by examiner, † Cited by third party
Publication number Priority date Publication date Assignee Title
CN103324216A (en) * 2013-06-17 2013-09-25 上海大学 Solar energy maximum power electricity-generation temperature control system and method
CN104410359A (en) * 2014-11-14 2015-03-11 万卫东 Low-temperature solar cell module with heat dissipation and cooling function and application thereof
CN107196598A (en) * 2017-05-31 2017-09-22 成都亿伏科技有限公司 Suitable for the heat sink of the energy storage component of photovoltaic generation

Similar Documents

Publication Publication Date Title
Peng et al. Building-integrated photovoltaics (BIPV) in architectural design in China
Prudhvi et al. Efficiency improvement of solar PV panels using active cooling
Touati et al. Towards understanding the effects of climatic and environmental factors on solar PV performance in arid desert regions (Qatar) for various PV technologies
EP2058222A1 (en) Special platform for generating electricity using solar energy
KR101083475B1 (en) Cooling device of solar power generation module
Aroonsrimorakot et al. Solar panel energy technology for sustainable agriculture farming: a review.
Eveloy et al. Enhancement of photovoltaic solar module performance for power generation in the Middle East
WO2015046231A1 (en) Solar photovoltaic generation device
KR101637911B1 (en) Power generation apparatus using wave force and thermal difference
CN102544170A (en) Temperature adjusting device of photovoltaic assembly
Mustafa et al. An innovative air-cooling system for efficiency improvement of retrofitted rooftop photovoltaic module using cross-flow fan
KR101628668B1 (en) Apparatus for controlling temperature of photovoltaic panel
Ahmed et al. Photovoltaic Thermal (PVT) Systems: Coupling Solar Cells with Heat Harvesting for Increased Overall Efficiency
Mutasher et al. Improving a conventional greenhouse solar still using sun tracking system to increase clean water yield
CN201985141U (en) Temperature regulator for photovoltaic assembly
JP3177700U (en) Natural cooling of solar panels
CN202041853U (en) A driver that automatically adjusts the angle change of photovoltaic modules by using seasonal temperature
CN105442902B (en) A kind of umbrella cooling component applied to Permafrost Area power transmission line shaft tower
Cüce et al. Performance assessment of photovoltaic and photovoltaic/thermal systems under the impact of shadowing
CA2742700C (en) Reservoir temperature differential electrical generator
CN205276988U (en) Be applied to umbelliform cooling member of ever -frozen ground area power transmission line shaft tower
JP2012057609A (en) A series of system utilizing cooling liquid pipe for preventing gradual decrease in electric power generation capability due to heating in photovoltaic module and heat pump for performing temperature difference electric power generation between warm liquid generated in the pipe and underground heat
CN206481270U (en) A kind of photovoltaic generation light increasing system
Souliotis et al. Experimental study of a thermosiphonic hybrid PV/T solar system
ES2394605B1 (en) GEOTHERMAL REFRIGERATION DEVICE FOR SOLAR ENERGY DEVICES OF PHOTOVOLTAIC TYPE.

Legal Events

Date Code Title Description
C06 Publication
PB01 Publication
C10 Entry into substantive examination
SE01 Entry into force of request for substantive examination
C02 Deemed withdrawal of patent application after publication (patent law 2001)
WD01 Invention patent application deemed withdrawn after publication

Application publication date: 20120704