CN102499591A - A multipurpose cutter - Google Patents

A multipurpose cutter Download PDF

Info

Publication number
CN102499591A
CN102499591A CN2011103480882A CN201110348088A CN102499591A CN 102499591 A CN102499591 A CN 102499591A CN 2011103480882 A CN2011103480882 A CN 2011103480882A CN 201110348088 A CN201110348088 A CN 201110348088A CN 102499591 A CN102499591 A CN 102499591A
Authority
CN
China
Prior art keywords
fixed
plate
cutting plate
cutter
groove
Prior art date
Legal status (The legal status is an assumption and is not a legal conclusion. Google has not performed a legal analysis and makes no representation as to the accuracy of the status listed.)
Granted
Application number
CN2011103480882A
Other languages
Chinese (zh)
Other versions
CN102499591B (en
Inventor
海勇
Current Assignee (The listed assignees may be inaccurate. Google has not performed a legal analysis and makes no representation or warranty as to the accuracy of the list.)
Zaozhuang High Tech Construction Group Co Ltd
Original Assignee
DALIAN ZHAOYANG SOFTWARE TECHNOLOGY CO LTD
Priority date (The priority date is an assumption and is not a legal conclusion. Google has not performed a legal analysis and makes no representation as to the accuracy of the date listed.)
Filing date
Publication date
Application filed by DALIAN ZHAOYANG SOFTWARE TECHNOLOGY CO LTD filed Critical DALIAN ZHAOYANG SOFTWARE TECHNOLOGY CO LTD
Priority to CN201510763361.6A priority Critical patent/CN105252555A/en
Priority to CN201510760229.XA priority patent/CN105326412A/en
Priority to CN201510761999.6A priority patent/CN105231913A/en
Priority to CN201110348088.2A priority patent/CN102499591B/en
Publication of CN102499591A publication Critical patent/CN102499591A/en
Application granted granted Critical
Publication of CN102499591B publication Critical patent/CN102499591B/en
Active legal-status Critical Current
Anticipated expiration legal-status Critical

Links

Images

Classifications

    • BPERFORMING OPERATIONS; TRANSPORTING
    • B26HAND CUTTING TOOLS; CUTTING; SEVERING
    • B26BHAND-HELD CUTTING TOOLS NOT OTHERWISE PROVIDED FOR
    • B26B27/00Hand cutting tools not provided for in the preceding groups, e.g. finger rings for cutting string, devices for cutting by means of wires

Landscapes

  • Life Sciences & Earth Sciences (AREA)
  • Forests & Forestry (AREA)
  • Engineering & Computer Science (AREA)
  • Mechanical Engineering (AREA)
  • Food-Manufacturing Devices (AREA)

Abstract

The invention relates to the field of household cutting, in particular to a multipurpose cutter. A multi-purpose cutter is composed of a movable clamping groove, a transverse cutting plate, a longitudinal cutting plate, a fixed clamping groove, a handheld groove, a fixed plate, a fixed rivet, a connecting clamping position and a blade; the horizontal cutting plate is provided with a plurality of groups of blades which are transversely arranged and fixed on the horizontal cutting plate by fixing rivets, the longitudinal cutting plate is provided with a plurality of groups of blades which are longitudinally arranged and fixed on the longitudinal cutting plate by fixing rivets, the horizontal cutting plate and the longitudinal cutting plate are fixed on the movable clamping groove by connecting clamping positions, the movable clamping groove is twisted with the fixed clamping groove on the fixed plate, and the fixed plate is provided with two hand-held grooves.

Description

A kind of cutter of using more
Technical field
The present invention relates to family expenses cutting field, concretely, relate to a kind of cutter of using more.
Background technology
The cutter that existing family expenses are cut living vegetables only has the function of section shape and strip.It is by a substrate, and the end face of substrate has two to be in conplane interface.Row's cutter is arranged between interface.The trend and the cutting direction of row's cutter meet at right angles.Row's cutter has some handles to be approximately the cutter of inverted U type cutting edge.Cutter reaches top and its U-shaped opening of the interface bottom surface towards substrate.This cutter is not because blade is not sharp, extruding is inhomogeneous, the dish silk that causes the dish silk outward appearance of inserting out and mouthfeel all to cut out not as good as common kitchen knife, and careless manipulation is just hindered hand easily.
Summary of the invention
To above-mentioned technical problem, the purpose of this invention is to provide a kind of cutter of using more, this cutter can section, chopping, blend.
Technical scheme to be solved by this invention is following:
A kind of cutter of using by mobile draw-in groove, cross cutting plate, straight-cut plate, fixed card slot, hold groove, fixed head, fixing rivet, connection screens, blade and constitute more; There is the transversely arranged blade of many groups to be fixed on the cross cutting plate on the described cross cutting plate by fixing rivet; The blade that has many groups vertically to arrange on the described straight-cut plate is fixed on the straight-cut plate by fixing rivet; The cross cutting plate is fixed on the mobile draw-in groove through being connected screens with the straight-cut plate; The fixed card slot that moves on draw-in groove and the fixed head is stranded, has two to hold groove on the fixed head.
The invention has the advantages that: adopt two groups of blade separated structures, between cutting plate and the fixed head mobile draw-in groove and fixed card slot are arranged, make cutting operation more stable; The cutting plate is difficult for breaking away from, and the vegetables that cut out are even, have the groove structure of holding; The convenient use; A kind of many simple in structure, practical, with low cost with cutter of the present invention.
Description of drawings
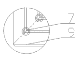
Fig. 1 is a kind of many structural representations with cutter.
Fig. 2 is cutting plate partial enlarged drawing.
Fig. 1, Reference numeral shown in Figure 2 are following: move draw-in groove 1, cross cutting plate 2, straight-cut plate 3, fixed card slot 4, hold groove 5, fixed head 6, fixing rivet 7, connect screens 8, blade 9.
The specific embodiment
A kind of cutter of using by mobile draw-in groove, cross cutting plate, straight-cut plate, fixed card slot, hold groove, fixed head, fixing rivet, connection screens, blade and constitute more; There is the transversely arranged blade of many groups to be fixed on the cross cutting plate on the described cross cutting plate by fixing rivet; The blade that has many groups vertically to arrange on the described straight-cut plate is fixed on the straight-cut plate by fixing rivet; The cross cutting plate is fixed on the mobile draw-in groove through being connected screens with the straight-cut plate; The fixed card slot that moves on draw-in groove and the fixed head is stranded, has two to hold groove on the fixed head.
In the time of for example need cutting into slices, only need the cross cutting plate is put into mobile draw-in groove, pacify mobile draw-in groove in the connection screens of the fixed card slot on the fixed head, hold with a firm grip and hold groove, can carry out sectioning.
The invention has the advantages that: adopt two groups of blade separated structures, between cutting plate and the fixed head mobile draw-in groove and fixed card slot are arranged, make cutting operation more stable; The cutting plate is difficult for breaking away from, and the vegetables that cut out are even, have the groove structure of holding; The convenient use; A kind of many simple in structure, practical, with low cost with cutter of the present invention.

Claims (1)

1.一种多用切削器,其特征在于:由移动卡槽、横向切削板、纵向切削板、固定卡槽、手握凹槽、固定板、固定铆钉、连接卡位、刀片构成的;所述的横向切削板上有多组横向排列的刀片由固定铆钉被固定在横向切削板上,所述的纵向切削板上有多组纵向排列的刀片由固定铆钉被固定在纵向切削板上,横向切削板和纵向切削板通过连接卡位被固定在移动卡槽上,移动卡槽与固定板上的固定卡槽绞合,固定板上有两个手握凹槽。 1. A multi-purpose cutter, characterized in that: it is composed of a moving card slot, a transverse cutting plate, a longitudinal cutting plate, a fixed card slot, a hand-held groove, a fixed plate, a fixed rivet, a connecting card position, and a blade; There are multiple groups of horizontally arranged blades on the horizontal cutting board fixed on the horizontal cutting board by fixed rivets, and multiple groups of vertically arranged blades on the longitudinal cutting board are fixed on the longitudinal cutting board by fixed rivets. The plate and the longitudinal cutting plate are fixed on the movable card slot through the connecting card position, the movable card slot is twisted with the fixed card slot on the fixed plate, and there are two grip grooves on the fixed plate.
CN201110348088.2A 2011-11-07 2011-11-07 A multipurpose cutter Active CN102499591B (en)

Priority Applications (4)

Application Number Priority Date Filing Date Title
CN201510763361.6A CN105252555A (en) 2011-11-07 2011-11-07 Working method for vegetable cutter
CN201510760229.XA CN105326412A (en) 2011-11-07 2011-11-07 Vegetable cutter and working method thereof
CN201510761999.6A CN105231913A (en) 2011-11-07 2011-11-07 Vegetable cutter
CN201110348088.2A CN102499591B (en) 2011-11-07 2011-11-07 A multipurpose cutter

Applications Claiming Priority (1)

Application Number Priority Date Filing Date Title
CN201110348088.2A CN102499591B (en) 2011-11-07 2011-11-07 A multipurpose cutter

Related Child Applications (3)

Application Number Title Priority Date Filing Date
CN201510761999.6A Division CN105231913A (en) 2011-11-07 2011-11-07 Vegetable cutter
CN201510760229.XA Division CN105326412A (en) 2011-11-07 2011-11-07 Vegetable cutter and working method thereof
CN201510763361.6A Division CN105252555A (en) 2011-11-07 2011-11-07 Working method for vegetable cutter

Publications (2)

Publication Number Publication Date
CN102499591A true CN102499591A (en) 2012-06-20
CN102499591B CN102499591B (en) 2016-02-03

Family

ID=46211773

Family Applications (4)

Application Number Title Priority Date Filing Date
CN201510763361.6A Pending CN105252555A (en) 2011-11-07 2011-11-07 Working method for vegetable cutter
CN201110348088.2A Active CN102499591B (en) 2011-11-07 2011-11-07 A multipurpose cutter
CN201510761999.6A Withdrawn CN105231913A (en) 2011-11-07 2011-11-07 Vegetable cutter
CN201510760229.XA Withdrawn CN105326412A (en) 2011-11-07 2011-11-07 Vegetable cutter and working method thereof

Family Applications Before (1)

Application Number Title Priority Date Filing Date
CN201510763361.6A Pending CN105252555A (en) 2011-11-07 2011-11-07 Working method for vegetable cutter

Family Applications After (2)

Application Number Title Priority Date Filing Date
CN201510761999.6A Withdrawn CN105231913A (en) 2011-11-07 2011-11-07 Vegetable cutter
CN201510760229.XA Withdrawn CN105326412A (en) 2011-11-07 2011-11-07 Vegetable cutter and working method thereof

Country Status (1)

Country Link
CN (4) CN105252555A (en)

Citations (7)

* Cited by examiner, † Cited by third party
Publication number Priority date Publication date Assignee Title
DE29916045U1 (en) * 1999-09-13 2000-02-17 Hübener, Paul, 42799 Leichlingen Potato high-speed cutter for cooked potatoes
CN2444731Y (en) * 2000-07-31 2001-08-29 刘大伟 Simple and quick kitchen slices and shreds cutting machine
CN2776635Y (en) * 2005-04-20 2006-05-03 温永林 Fast vegetable cutter
CN201140412Y (en) * 2007-08-24 2008-10-29 王海儿 Multifunctional slicing machine
CN201189673Y (en) * 2008-02-20 2009-02-04 冯义松 Machine for shredding and slicing
CN101913159A (en) * 2010-08-12 2010-12-15 吴成芳 Gapless shredding knife tackle
CN202375936U (en) * 2011-11-07 2012-08-15 大连兆阳软件科技有限公司 Multipurpose cutter

Family Cites Families (6)

* Cited by examiner, † Cited by third party
Publication number Priority date Publication date Assignee Title
JPH10328048A (en) * 1995-03-17 1998-12-15 Yoshibumi Morishita Device for cutting yam into fine strips
FR2797210B1 (en) * 1999-08-05 2002-02-22 Realisation Mecaniques Soc Et MULTI-BLADE CUTTING MEMBER
CN2528342Y (en) * 2002-02-01 2003-01-01 秦永武 Device for stoning and slicing fruit (D)
US20090193983A1 (en) * 2008-02-06 2009-08-06 Kwok Kuen So Food cutting device
CN201669713U (en) * 2010-05-19 2010-12-15 彭承珍 Cutting knife and manual cutting device
DE202011050041U1 (en) * 2011-05-05 2011-07-14 Cedomir Repac Cutting insert for a food shredder

Patent Citations (7)

* Cited by examiner, † Cited by third party
Publication number Priority date Publication date Assignee Title
DE29916045U1 (en) * 1999-09-13 2000-02-17 Hübener, Paul, 42799 Leichlingen Potato high-speed cutter for cooked potatoes
CN2444731Y (en) * 2000-07-31 2001-08-29 刘大伟 Simple and quick kitchen slices and shreds cutting machine
CN2776635Y (en) * 2005-04-20 2006-05-03 温永林 Fast vegetable cutter
CN201140412Y (en) * 2007-08-24 2008-10-29 王海儿 Multifunctional slicing machine
CN201189673Y (en) * 2008-02-20 2009-02-04 冯义松 Machine for shredding and slicing
CN101913159A (en) * 2010-08-12 2010-12-15 吴成芳 Gapless shredding knife tackle
CN202375936U (en) * 2011-11-07 2012-08-15 大连兆阳软件科技有限公司 Multipurpose cutter

Also Published As

Publication number Publication date
CN105326412A (en) 2016-02-17
CN105252555A (en) 2016-01-20
CN102499591B (en) 2016-02-03
CN105231913A (en) 2016-01-13

Similar Documents

Publication Publication Date Title
CN202375936U (en) Multipurpose cutter
CN102499591A (en) A multipurpose cutter
CN202367763U (en) Banana slicer
CN205129898U (en) Cutter of predetermineeing shape can cut
CN202408635U (en) Multifunctional accommodating chopping block
CN105818170A (en) Universal three-blade wavy hollow slicing knife
CN105835092A (en) Double-handle straight-grain hollow slicing knife
CN201423662Y (en) Nonstick knife
CN201248638Y (en) Shredder
CN203371572U (en) Combined type kitchen knife
CN203792373U (en) Meat cutter
CN203901341U (en) Food slicer
CN202010071U (en) Convenient chopping board
CN203752241U (en) Quick vegetable cutting device
CN202225221U (en) Simple vegetable-cutting device
CN201667944U (en) Fish head scissors
CN103770141A (en) Multi-blade cutter
CN106003158A (en) Universal three-edge and straight-line hollow slicing knife
CN202071088U (en) Chopping knife
CN202556422U (en) Multifunctional kitchen knife
CN202184647U (en) Slicing and shredding dual-use knife
CN202232900U (en) Potato machine blade
CN202010072U (en) Light chopping board
CN202062425U (en) Multi-purpose chopping board
CN204074195U (en) Pulper cutter head

Legal Events

Date Code Title Description
C06 Publication
PB01 Publication
C10 Entry into substantive examination
SE01 Entry into force of request for substantive examination
C41 Transfer of patent application or patent right or utility model
CB03 Change of inventor or designer information

Inventor after: Wang Yonghui

Inventor before: Hai Yong

COR Change of bibliographic data
TA01 Transfer of patent application right

Effective date of registration: 20151230

Address after: 242400 Anhui Province, Wuhu city Nanling County town of Dun Margaret Village

Applicant after: NANLING COUNTY POLYGONATUM ODORATUM ASSOCIATION

Address before: 202 room 25, Shuang Hing Street, Xigang District, Liaoning, Dalian, 116011

Applicant before: Dalian Zhaoyang Software Technology Co., Ltd.

C14 Grant of patent or utility model
GR01 Patent grant
TR01 Transfer of patent right

Effective date of registration: 20200928

Address after: 277100 third floor, office building, development zone, No. 2599 Guangming West Road, high tech Zone, Zaozhuang City, Shandong Province

Patentee after: Zaozhuang high tech Construction Group Co., Ltd

Address before: 242400 Anhui Province, Wuhu city Nanling County town of Dun Margaret Village

Patentee before: NANLING POLYGONATUM ODORATUM ASSOCIATION

TR01 Transfer of patent right