CN102495245A - 绝缘杆耐压试验平台及测试方法 - Google Patents

绝缘杆耐压试验平台及测试方法 Download PDF

Info

Publication number
CN102495245A
CN102495245A CN2011103938049A CN201110393804A CN102495245A CN 102495245 A CN102495245 A CN 102495245A CN 2011103938049 A CN2011103938049 A CN 2011103938049A CN 201110393804 A CN201110393804 A CN 201110393804A CN 102495245 A CN102495245 A CN 102495245A
Authority
CN
China
Prior art keywords
frame
test
support rod
rod
insulating
Prior art date
Legal status (The legal status is an assumption and is not a legal conclusion. Google has not performed a legal analysis and makes no representation as to the accuracy of the status listed.)
Granted
Application number
CN2011103938049A
Other languages
English (en)
Other versions
CN102495245B (zh
Inventor
刘新殿
林海波
戚建忠
杨召民
刘玉英
赵亚男
Current Assignee (The listed assignees may be inaccurate. Google has not performed a legal analysis and makes no representation or warranty as to the accuracy of the list.)
Weihai Power Supply Co of State Grid Shandong Electric Power Co Ltd
State Grid Corp of China SGCC
Original Assignee
Weihai Power Supply Co of State Grid Shandong Electric Power Co Ltd
Priority date (The priority date is an assumption and is not a legal conclusion. Google has not performed a legal analysis and makes no representation as to the accuracy of the date listed.)
Filing date
Publication date
Application filed by Weihai Power Supply Co of State Grid Shandong Electric Power Co Ltd filed Critical Weihai Power Supply Co of State Grid Shandong Electric Power Co Ltd
Priority to CN201110393804.9A priority Critical patent/CN102495245B/zh
Publication of CN102495245A publication Critical patent/CN102495245A/zh
Application granted granted Critical
Publication of CN102495245B publication Critical patent/CN102495245B/zh
Active legal-status Critical Current
Anticipated expiration legal-status Critical

Links

Images

Landscapes

  • Testing Relating To Insulation (AREA)
  • Investigating Strength Of Materials By Application Of Mechanical Stress (AREA)

Abstract

本发明涉及电力设施,特别是一种绝缘杆耐压试验平台,其特征是设有由四边形试验框架和前支杆和后支杆组成的试验支架,试验支架的左边框、右边框和前支杆采用绝缘材料制成,试验支架的前边框、后边框和后支杆采用导电材料制成,前支杆和后支杆由伸缩套管制成,前支杆和后支杆下端分别设有导电板垫,试验支架的左边框和右边框为伸缩套管制成,试验支架的前边框和后边框上设有至少2个采用扁钢制成的固定卡子,固定卡子的宽度不小于5厘米,试验支架后边框上的固定卡子上设有温度传感器,温度传感器经数据线与温度显示器相连接,试验支架的前边框设有高压接线端子,试验支架的后边框设有电压表和电流表,具有操作简单、使用安全、测试效率和精度高等优点。

Description

绝缘杆耐压试验平台及测试方法
技术领域
本发明涉及电力设施,具体地说是一种测试准确、操作方便的绝缘杆耐压试验平台及测试方法。
背景技术
众所周知,2009年版《国家电网公司电力安全工作规程(变电部分)》中1.2.3规定:“现场使用的安全工器具应合格并符合有关要求。”为防止新购、使用中的绝缘性能改变或存在隐患而导致在使用中发生事故,对在电气设备上工作时作为基本绝缘安全工器具的绝缘杆按有关规定进行试验。现在试验的方法是:电极布置于绝缘杆的工作部分,高压试验电极和接地极间的长度即为试验长度,先确定两电极间距离,如在绝缘杆间有金属连接头,两试验电极间的距离还应在此值上再加上金属部件的长度,绝缘杆间应保持一定距离,以便于观察试验情况。接地极和高压试验电极以宽50mm的金属箔或用导线包绕。对于各个电压等级的绝缘杆,施加对应的电压。对于10~220kV电压等级的绝缘杆,加压时间lmin。做一次绝缘工器具的试验时间并不长,只有1分钟就可以完成。但是, 装设试验联线和固定试验电极耗时两者相加,约占总试验时间的88%。这严重影响到我们试验、检修任务的完成。其中装设试验设备耗时过长是因为采用的支架为临时组装的简易设备;而装设试验连线耗时过长,是因为加压端与地端要保持一定的距离,连线时要用量尺测量以保证符合要求;固定试验电极耗时过长是因为绝缘棒的两端都分别要用铜线缠绕并固定在试验支架上。
另外工频耐压试验以无击穿、无闪络及过热为合格。我们的判断通常为试验结束用手触摸绝缘棒,有无发热来判断合格与否,由于人体差异,不能很准确地判断试验结果。
发明内容
本发明的目的是克服上述现有技术的不足,提供一种操作方便、测试效率和精度高的绝缘杆耐压试验平台及测试方法。
本发明可以通过如下措施达到:
一种绝缘杆耐压试验平台,其特征在于设有由四边形试验框架和前支杆和后支杆组成的试验支架,试验支架的左边框、右边框和前支杆采用绝缘材料制成,试验支架的前边框、后边框和后支杆采用导电材料制成,前支杆和后支杆由伸缩套管制成,前支杆和后支杆下端分别设有导电板垫,试验支架的左边框和右边框为伸缩套管制成,试验支架的前边框和后边框上对应地分别设有至少2个固定卡子,固定卡子采用扁钢制成,固定卡子的宽度不小于5厘米,试验支架后边框上的固定卡子上设有温度传感器,温度传感器经数据线与温度显示器相连接,试验支架的前边框设有高压接线端子,试验支架的后边框设有电压表和电流表。
本发明所述的前支杆分别设有左支杆和右支杆,所述的后支杆分别设有左支杆和右支杆,以达到支撑稳定。
一种绝缘杆耐压测试方法,其特征在于步骤如下:
步骤一、将绝缘杆的高压端卡在试验支架前边框上的固定卡子内,调节试验支架的左边框和右边框的伸缩套管,使试验支架前后长度与绝缘杆的长度相同,将绝缘杆的低压端(手持端)卡在试验支架后边框上的固定卡子内,
步骤二、调节前支杆和后支杆的伸缩套管以调节试验框架的离地间隙,使其达到规定的离地间距,
步骤三、将高压电线与高压接线端子相连接,通过温度显示器、电压表和电流表的数判断绝缘杆是否符合安全标准。
本发明一次可以测试多根绝缘杆,具有操作简单、使用安全、测试效率和测试精度高等优点。
附图说明
图1是本发明的一种结构示意图。
图2是图1的俯视图。
图3是图1的左视图。
图4是图1的主视图。
具体实施方式
下面结合附图对本发明作进一步描述:
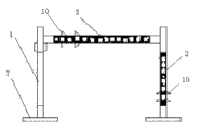
如附图所示,一种绝缘杆耐压试验平台,其特征在于设有由四边形试验框架和前支杆1和后支杆2组成的试验支架,试验支架的左边框3、右边框4和前支杆1采用绝缘材料制成,试验支架的前边框5、后边框6和后支杆2采用导电材料制成,前支杆1和后支杆2由伸缩套管制成,前支杆1和后支杆2下端分别设有导电板垫7,试验支架的左边框3和右边框4为伸缩套管制成,试验支架的前边框5和后边框6上对应地分别设有至少2个固定卡子8,固定卡子8采用扁钢制成,固定卡子的宽度不小于5厘米,试验支架后边框6上的固定卡子8上设有温度传感器,温度传感器经数据线与温度显示器相连接,温度传感器、温度显示器的结构及它们之间的相互连连接关系与现有技术相同,此不赘述,试验支架的前边框5设有高压接线端子,试验支架的后边框6设有电压表和电流表9,上述的伸缩套管、固定卡子8、温度传感器、温度显示器及电压表和电流表的结构与现有技术相同,此不赘述,本发明使用时将绝缘杆的高压端卡在试验支架前边框上的固定卡子内,绝缘杆的低压端(手持端)卡在试验支架后边框上的固定卡子内,通过调节试验支架的左边框和右边框的伸缩套管,伸缩套管设有定位件10,定位件一般为一螺栓,其与现有技术相同,此不赘述,使试验支架适合绝缘杆的长度,通过调节前支杆和后支杆的伸缩套管以调节试验框架的离地间隙,将高压电与线与高压接线端子相连接,通过温度显示器、电压表和电流表的数判断绝缘杆是否符合安全标准,本发明一次可以测试多根绝缘杆,具有操作简单、使用安全、测试效率和测试精度高等优点。

Claims (3)

1.一种绝缘杆耐压试验平台,其特征在于设有由四边形试验框架和前支杆和后支杆组成的试验支架,试验支架的左边框、右边框和前支杆采用绝缘材料制成,试验支架的前边框、后边框和后支杆采用导电材料制成,前支杆和后支杆由伸缩套管制成,前支杆和后支杆下端分别设有导电板垫,试验支架的左边框和右边框为伸缩套管制成,试验支架的前边框和后边框上对应地分别设有至少2个固定卡子,固定卡子采用扁钢制成,固定卡子的宽度不小于5厘米,试验支架后边框上的固定卡子上设有温度传感器,温度传感器经数据线与温度显示器相连接,试验支架的前边框设有高压接线端子,试验支架的后边框设有电压表和电流表。
2.根据权利要求1所述的一种绝缘杆耐压试验平台,其特征在于前支杆分别设有左支杆和右支杆,后支杆分别设有左支杆和右支杆。
3.一种绝缘杆耐压测试方法,其特征在于步骤如下:
步骤一、将绝缘杆的高压端卡在试验支架前边框上的固定卡子内,调节试验支架的左边框和右边框的伸缩套管,使试验支架前后长度与绝缘杆的长度相同,将绝缘杆的低压端卡在试验支架后边框上的固定卡子内,
步骤二、调节前支杆和后支杆的伸缩套管以调节试验框架的离地间隙,使其达到规定的离地间距,
步骤三、将高压电线与高压接线端子相连接,通过温度显示器、电压表和电流表的数判断绝缘杆是否符合安全标准。
CN201110393804.9A 2011-12-02 2011-12-02 绝缘杆耐压试验平台及测试方法 Active CN102495245B (zh)

Priority Applications (1)

Application Number Priority Date Filing Date Title
CN201110393804.9A CN102495245B (zh) 2011-12-02 2011-12-02 绝缘杆耐压试验平台及测试方法

Applications Claiming Priority (1)

Application Number Priority Date Filing Date Title
CN201110393804.9A CN102495245B (zh) 2011-12-02 2011-12-02 绝缘杆耐压试验平台及测试方法

Publications (2)

Publication Number Publication Date
CN102495245A true CN102495245A (zh) 2012-06-13
CN102495245B CN102495245B (zh) 2016-09-28

Family

ID=46187086

Family Applications (1)

Application Number Title Priority Date Filing Date
CN201110393804.9A Active CN102495245B (zh) 2011-12-02 2011-12-02 绝缘杆耐压试验平台及测试方法

Country Status (1)

Country Link
CN (1) CN102495245B (zh)

Cited By (21)

* Cited by examiner, † Cited by third party
Publication number Priority date Publication date Assignee Title
CN102944795A (zh) * 2012-11-20 2013-02-27 山东电力集团公司滨州供电公司 一种基本绝缘安全工器具测试台架
CN103293452A (zh) * 2013-06-05 2013-09-11 国家电网公司 绝缘梯耐压试验装置
CN103713165A (zh) * 2013-12-31 2014-04-09 国家电网公司 绝缘杆耐压试验用支架
CN103728540A (zh) * 2013-12-27 2014-04-16 国家电网公司 一种弧光放电监测的交、直流耐压试验装置
CN103852601A (zh) * 2013-12-05 2014-06-11 国家电网公司 绝缘杆交流耐压支架
CN103941168A (zh) * 2014-04-30 2014-07-23 国网河南省电力公司商丘供电公司 一种绝缘耐压测试装置及方法
CN104007295A (zh) * 2014-06-10 2014-08-27 国家电网公司 绝缘操作杆耐压测试架
CN104007375A (zh) * 2014-06-12 2014-08-27 国家电网公司 220kV与330kV绝缘工器具交流耐压试验设施
CN104020400A (zh) * 2014-06-12 2014-09-03 国家电网公司 750kV绝缘工器具分段交流耐压试验方法
CN104020399A (zh) * 2014-06-12 2014-09-03 国家电网公司 750kV绝缘工器具分段交流耐压试验设施
CN104035014A (zh) * 2014-06-12 2014-09-10 国家电网公司 220kV与330kV绝缘工器具交流耐压试验方法
CN104090215A (zh) * 2014-07-08 2014-10-08 国家电网公司 绝缘棒成组试验装置
CN104515939A (zh) * 2014-11-28 2015-04-15 芜湖恒美电热器具有限公司 空调管架绝缘性测试装置
CN104730425A (zh) * 2013-12-18 2015-06-24 国家电网公司 绝缘杆的性能检测装置
CN105203933A (zh) * 2015-09-11 2015-12-30 国家电网公司 绝缘杆工频耐压试验套管及试验方法
CN105572549A (zh) * 2015-12-16 2016-05-11 国家电网公司 多功能绝缘工器具耐压试验装置及试验方法
CN105866480A (zh) * 2016-05-26 2016-08-17 国网山东省电力公司烟台市福山区供电公司 一种高压绝缘棒测试台架
CN107861036A (zh) * 2017-11-10 2018-03-30 国网新疆电力有限公司培训中心 多用绝缘杆检测装置
CN107966637A (zh) * 2017-12-29 2018-04-27 国网北京市电力公司 绝缘杆试验装置
CN112505502A (zh) * 2020-11-25 2021-03-16 佛山市建筑工程质量检测站 一种用于电线电缆工频交流耐压试验的辅助装置
CN115656737A (zh) * 2022-10-14 2023-01-31 广东电网有限责任公司 一种绝缘杆测试装置及方法

Citations (5)

* Cited by examiner, † Cited by third party
Publication number Priority date Publication date Assignee Title
CN201229322Y (zh) * 2008-07-02 2009-04-29 武汉奋进电力技术有限公司 轻便综合式绝缘性能试验装置
CN201477121U (zh) * 2009-05-19 2010-05-19 宁夏电力公司宁东供电局 耐压试验支线架
JP2010197159A (ja) * 2009-02-24 2010-09-09 Toshiba Corp 耐電圧試験装置
CN201740798U (zh) * 2010-06-28 2011-02-09 中铁电气化局集团有限公司 绝缘杆耐压试验支架
KR101045879B1 (ko) * 2008-12-29 2011-07-05 한국철도기술연구원 절연층 내전압 시험용 전극

Patent Citations (5)

* Cited by examiner, † Cited by third party
Publication number Priority date Publication date Assignee Title
CN201229322Y (zh) * 2008-07-02 2009-04-29 武汉奋进电力技术有限公司 轻便综合式绝缘性能试验装置
KR101045879B1 (ko) * 2008-12-29 2011-07-05 한국철도기술연구원 절연층 내전압 시험용 전극
JP2010197159A (ja) * 2009-02-24 2010-09-09 Toshiba Corp 耐電圧試験装置
CN201477121U (zh) * 2009-05-19 2010-05-19 宁夏电力公司宁东供电局 耐压试验支线架
CN201740798U (zh) * 2010-06-28 2011-02-09 中铁电气化局集团有限公司 绝缘杆耐压试验支架

Non-Patent Citations (2)

* Cited by examiner, † Cited by third party
Title
张永跃 等: "电气绝缘工具试验的规范性探讨", 《供用电》 *
陈南: "高压绝缘工具电气试验情况的统计和简析", 《安徽电力》 *

Cited By (28)

* Cited by examiner, † Cited by third party
Publication number Priority date Publication date Assignee Title
CN102944795A (zh) * 2012-11-20 2013-02-27 山东电力集团公司滨州供电公司 一种基本绝缘安全工器具测试台架
CN103293452A (zh) * 2013-06-05 2013-09-11 国家电网公司 绝缘梯耐压试验装置
CN103293452B (zh) * 2013-06-05 2015-08-05 国家电网公司 绝缘梯耐压试验装置
CN103852601A (zh) * 2013-12-05 2014-06-11 国家电网公司 绝缘杆交流耐压支架
CN104730425A (zh) * 2013-12-18 2015-06-24 国家电网公司 绝缘杆的性能检测装置
CN103728540A (zh) * 2013-12-27 2014-04-16 国家电网公司 一种弧光放电监测的交、直流耐压试验装置
CN103728540B (zh) * 2013-12-27 2016-05-04 国家电网公司 一种弧光放电监测的交流耐压试验装置
CN103713165A (zh) * 2013-12-31 2014-04-09 国家电网公司 绝缘杆耐压试验用支架
CN103941168A (zh) * 2014-04-30 2014-07-23 国网河南省电力公司商丘供电公司 一种绝缘耐压测试装置及方法
CN103941168B (zh) * 2014-04-30 2016-06-29 国家电网公司 一种绝缘耐压测试装置及方法
CN104007295A (zh) * 2014-06-10 2014-08-27 国家电网公司 绝缘操作杆耐压测试架
CN104007375A (zh) * 2014-06-12 2014-08-27 国家电网公司 220kV与330kV绝缘工器具交流耐压试验设施
CN104020400B (zh) * 2014-06-12 2016-09-28 国家电网公司 750kV绝缘工器具分段交流耐压试验方法
CN104035014B (zh) * 2014-06-12 2017-01-18 国家电网公司 220kV与330kV绝缘工器具交流耐压试验方法
CN104035014A (zh) * 2014-06-12 2014-09-10 国家电网公司 220kV与330kV绝缘工器具交流耐压试验方法
CN104020400A (zh) * 2014-06-12 2014-09-03 国家电网公司 750kV绝缘工器具分段交流耐压试验方法
CN104020399A (zh) * 2014-06-12 2014-09-03 国家电网公司 750kV绝缘工器具分段交流耐压试验设施
CN104090215A (zh) * 2014-07-08 2014-10-08 国家电网公司 绝缘棒成组试验装置
CN104090215B (zh) * 2014-07-08 2017-07-07 国家电网公司 绝缘棒成组试验装置
CN104515939A (zh) * 2014-11-28 2015-04-15 芜湖恒美电热器具有限公司 空调管架绝缘性测试装置
CN105203933A (zh) * 2015-09-11 2015-12-30 国家电网公司 绝缘杆工频耐压试验套管及试验方法
CN105203933B (zh) * 2015-09-11 2018-01-30 国家电网公司 绝缘杆工频耐压试验套管及试验方法
CN105572549A (zh) * 2015-12-16 2016-05-11 国家电网公司 多功能绝缘工器具耐压试验装置及试验方法
CN105866480A (zh) * 2016-05-26 2016-08-17 国网山东省电力公司烟台市福山区供电公司 一种高压绝缘棒测试台架
CN107861036A (zh) * 2017-11-10 2018-03-30 国网新疆电力有限公司培训中心 多用绝缘杆检测装置
CN107966637A (zh) * 2017-12-29 2018-04-27 国网北京市电力公司 绝缘杆试验装置
CN112505502A (zh) * 2020-11-25 2021-03-16 佛山市建筑工程质量检测站 一种用于电线电缆工频交流耐压试验的辅助装置
CN115656737A (zh) * 2022-10-14 2023-01-31 广东电网有限责任公司 一种绝缘杆测试装置及方法

Also Published As

Publication number Publication date
CN102495245B (zh) 2016-09-28

Similar Documents

Publication Publication Date Title
CN102495245A (zh) 绝缘杆耐压试验平台及测试方法
CN207424014U (zh) 二次回路电压端子排夹具
CN202330483U (zh) 绝缘杆试验台架
CN204028135U (zh) 小型避雷器的拆装式检验装置
CN201413360Y (zh) 110kV及以上断路器回路电阻专用测试工具
CN203705592U (zh) 一种落地型安全工器具耐压试验专用装置
CN103852601A (zh) 绝缘杆交流耐压支架
CN204536426U (zh) 绝缘子绝缘电阻试验操作杆
CN203572955U (zh) 一种用于单相电能表校检的转接板
CN104155584A (zh) 配网导线遮蔽罩规范化试验装置
CN203643561U (zh) 横担遮蔽罩规范化试验装置
CN203630291U (zh) 绝缘杆的性能检测装置
CN203396819U (zh) 一种方便测试的数字万用表
CN201724954U (zh) 避雷器试验专用台架
CN207396706U (zh) 一种10kV及以上电流互感器极速检测装置
CN205861818U (zh) 一种n600一点接地测试装置
CN205229395U (zh) 用于绝缘杆或接地棒的耐压试验装置
CN207866920U (zh) 一种避雷器测试装置
CN208297561U (zh) 一种绝缘工具电气耐压试验的快速接线装置
CN109116120A (zh) 一种gis回路电阻测试装置
CN107677942A (zh) 一种绝缘手套耐压试验台
CN115047393A (zh) 一种电压互感器励磁特性测试方法、装置及系统
CN205702896U (zh) 换流站管母连接金具焊接质量的检测装置
CN205229442U (zh) 支柱式电流互感器现场试验一次接线装置
CN103728541A (zh) 横担遮蔽罩规范化试验装置

Legal Events

Date Code Title Description
C06 Publication
PB01 Publication
C10 Entry into substantive examination
SE01 Entry into force of request for substantive examination
C14 Grant of patent or utility model
GR01 Patent grant
C41 Transfer of patent application or patent right or utility model
C56 Change in the name or address of the patentee
CB03 Change of inventor or designer information

Inventor after: Li Gang

Inventor after: Liu Xindian

Inventor after: Zhang Huajun

Inventor after: Wang Xu

Inventor after: Liu Dawei

Inventor after: Kong Liang

Inventor after: Xu De

Inventor before: Liu Xindian

Inventor before: Lin Haibo

Inventor before: Qi Jianzhong

Inventor before: Yang Zhaomin

Inventor before: Liu Yuying

Inventor before: Zhao Yanan

COR Change of bibliographic data
CP01 Change in the name or title of a patent holder

Address after: 264200 Kunming Road, Shandong, China, No. 23, No.

Patentee after: Weihai Power Supply Company of State Grid Shandong Electric Power Company

Address before: 264200 Kunming Road, Shandong, China, No. 23, No.

Patentee before: WEIHAI POWER SUPPLY COMPANY OF SHANDONG ELECTRIC POWER Corp.

TR01 Transfer of patent right

Effective date of registration: 20161024

Address after: 264200 Kunming Road, Shandong, China, No. 23, No.

Patentee after: Weihai Power Supply Company of State Grid Shandong Electric Power Company

Patentee after: State Grid Corporation of China

Address before: 264200 Kunming Road, Shandong, China, No. 23, No.

Patentee before: Weihai Power Supply Company of State Grid Shandong Electric Power Company