CN102494108A - A Backlash Elimination Mechanism for a Rack and Pinion Transmission System - Google Patents
A Backlash Elimination Mechanism for a Rack and Pinion Transmission System Download PDFInfo
- Publication number
- CN102494108A CN102494108A CN2011104224667A CN201110422466A CN102494108A CN 102494108 A CN102494108 A CN 102494108A CN 2011104224667 A CN2011104224667 A CN 2011104224667A CN 201110422466 A CN201110422466 A CN 201110422466A CN 102494108 A CN102494108 A CN 102494108A
- Authority
- CN
- China
- Prior art keywords
- gear
- input shaft
- transmission
- transmission system
- shaft
- Prior art date
- Legal status (The legal status is an assumption and is not a legal conclusion. Google has not performed a legal analysis and makes no representation as to the accuracy of the status listed.)
- Pending
Links
- 230000005540 biological transmission Effects 0.000 title claims abstract description 49
- 230000008030 elimination Effects 0.000 title claims abstract description 10
- 238000003379 elimination reaction Methods 0.000 title claims abstract description 10
- 125000006850 spacer group Chemical group 0.000 claims description 6
- 230000010405 clearance mechanism Effects 0.000 claims 3
- 238000000034 method Methods 0.000 description 5
- 244000309464 bull Species 0.000 description 2
- 230000007547 defect Effects 0.000 description 1
- 230000000694 effects Effects 0.000 description 1
- 239000002184 metal Substances 0.000 description 1
- 230000036316 preload Effects 0.000 description 1
- 230000001105 regulatory effect Effects 0.000 description 1
Images
Landscapes
- Transmission Devices (AREA)
- Gear Transmission (AREA)
Abstract
本发明公开了一种齿轮齿条传动系统的消除间隙机构,输出齿轴(5、22)为两件,输入齿轮(15)通过两个相同传动比的齿轮传动路线分别与输出齿轴(5、22)连接;齿轮传动路线在输入轴(12)上各设有一个传动齿轮(14),且为斜齿轮;输入轴(12)通过两个向心轴承安装在箱体(26)和箱盖(25)上,输入轴(12)的一端上设有输入轴轴向滑移微调机构。采用上述技术方案,解决了机床的齿轮齿条传动的反向间隙问题,调整简单,结构紧凑,提高了机床传动精度。
The present invention discloses a clearance elimination mechanism for a gear rack transmission system, wherein the output gear shaft (5, 22) is composed of two pieces, and the input gear (15) is respectively connected to the output gear shaft (5, 22) through two gear transmission lines with the same transmission ratio; each gear transmission line is provided with a transmission gear (14) on the input shaft (12), and the transmission gear (14) is a helical gear; the input shaft (12) is installed on a box body (26) and a box cover (25) through two radial bearings, and an input shaft axial sliding fine adjustment mechanism is provided on one end of the input shaft (12). The above technical solution solves the problem of reverse clearance of the gear rack transmission of the machine tool, is simple to adjust, has a compact structure, and improves the transmission accuracy of the machine tool.
Description
技术领域 technical field
本发明属于金属切削机床的技术领域,涉及机床的传动系统,更具体地说,本发明涉及一种齿轮齿条传动系统的消除间隙机构。The invention belongs to the technical field of metal cutting machine tools, and relates to a transmission system of the machine tool. More specifically, the invention relates to a clearance elimination mechanism of a rack and pinion transmission system.
背景技术 Background technique
机床进给传动中,常用齿轮齿条传动,,在反向运动时,有反向间隙。为了消除间隙,采用了很多方式。但是在现有技术中,消除间隙的效果不理想,有些结构复杂,过于庞大;有些调整、操作麻烦。In the feed transmission of machine tools, rack and pinion transmission is commonly used, and there is a backlash during reverse movement. In order to eliminate the gap, many methods are used. However, in the prior art, the effect of eliminating gaps is not ideal, and some structures are complex and too large; some adjustments and operations are troublesome.
发明内容 Contents of the invention
本发明提供一种齿轮齿条传动系统的消除间隙机构,其目的是消除齿轮齿条传动的反向间隙。The invention provides a backlash elimination mechanism of a rack and pinion transmission system, the purpose of which is to eliminate the backlash of the rack and pinion transmission.
为了实现上述目的,本发明采取的技术方案为:In order to achieve the above object, the technical scheme that the present invention takes is:
本发明所提供的齿轮齿条传动系统的消除间隙机构,所述的齿轮齿条传动系统设有箱体、箱盖,所述的齿轮齿条传动系统包括输入齿轮、互相啮合的输出齿轴和齿条,所述的输入齿轮安装在输入轴上,所述的输出齿轴为两件,所述的输入齿轮通过两个相同传动比的齿轮传动路线分别与所述的输出齿轴连接;所述的齿轮传动路线在所述的输入轴上各设有一个传动齿轮,且为斜齿轮;所述的输入轴通过两个向心轴承安装在所述的箱体和箱盖上,所述的输入轴的一端上设有输入轴轴向滑移微调机构。The backlash elimination mechanism of the rack and pinion transmission system provided by the present invention, the rack and pinion transmission system is provided with a box body and a case cover, and the rack and pinion transmission system includes an input gear, an output pinion shaft meshing with each other, and rack, the input gear is installed on the input shaft, the output gear shaft is two pieces, and the input gear is respectively connected to the output gear shaft through two gear transmission routes with the same transmission ratio; The above-mentioned gear transmission route is provided with a transmission gear respectively on the said input shaft, and it is a helical gear; One end of the input shaft is provided with an input shaft axial slip fine-tuning mechanism.
所述的输入轴轴向滑移微调机构是在输入轴的端部设调节螺纹孔支座、调节螺纹盘、碟簧及推力球轴承,其连接关系为:所述的推力球轴承的一端与调节螺纹盘接触,另一端与碟簧的一端接触;所述的碟簧的另一端与输入轴的台阶端面接触。The fine-tuning mechanism for the axial sliding of the input shaft is provided with an adjustment threaded hole support, an adjustment thread disc, a disc spring and a thrust ball bearing at the end of the input shaft. The connection relationship is: one end of the thrust ball bearing and The adjusting threaded disc is in contact, and the other end is in contact with one end of the disc spring; the other end of the disc spring is in contact with the stepped end surface of the input shaft.
所述的箱体外表面上设调整垫,所述的调整垫的厚度方向与所述的齿条的长度方向同向。An adjustment pad is provided on the outer surface of the box, and the thickness direction of the adjustment pad is in the same direction as the length direction of the rack.
本发明采用上述技术方案,解决了机床的齿轮齿条传动的反向间隙问题,调整简单,结构紧凑,提高了机床传动精度。The invention adopts the above technical scheme, solves the backlash problem of the rack and pinion transmission of the machine tool, has simple adjustment, compact structure, and improves the transmission precision of the machine tool.
附图说明 Description of drawings
下面对本说明书的各幅附图所表达的内容及图中的标记作简要说明:The following is a brief description of the contents expressed in the drawings of this manual and the marks in the drawings:
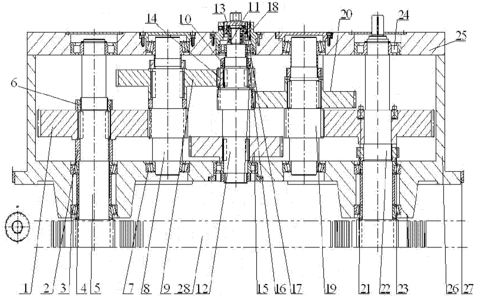
图1为本发明的结构示意图;Fig. 1 is a structural representation of the present invention;
图2是图1中的碟簧、法兰盘及带刻度法兰盘处的放大示意图。Fig. 2 is an enlarged schematic view of the disc spring, the flange and the flange with scale in Fig. 1 .
图中标记为:Labeled in the figure:
1、输出齿轴大齿轮,2、隔套,3、圆锥滚子轴承,4、隔套,5、输出齿轴,6、锁紧螺母,7、圆锥滚子轴承,8、中间齿轴,9、中间大齿轮,10、锁紧螺母,11、碟簧,12、输入轴,13、推力球轴承,14、传动齿轮,15、输入齿轮,16、轴承套,17、调节螺纹盘,18、调节螺纹孔支座,19、中间齿轴,20、中间大齿轮,21、胀套,22、输出齿轴,23、输出齿轴大齿轮,24、圆柱滚子轴承,25、箱盖,26、箱体,27、调整垫,28、齿条。1. Large gear of output gear shaft, 2. Spacer, 3. Tapered roller bearing, 4. Spacer, 5. Output gear shaft, 6. Lock nut, 7. Tapered roller bearing, 8. Intermediate gear shaft, 9. Middle large gear, 10. Lock nut, 11. Disc spring, 12. Input shaft, 13. Thrust ball bearing, 14. Transmission gear, 15. Input gear, 16. Bearing sleeve, 17. Adjusting threaded disc, 18 , Adjusting threaded hole support, 19, middle gear shaft, 20, middle gear, 21, expansion sleeve, 22, output gear shaft, 23, output gear shaft gear, 24, cylindrical roller bearing, 25, box cover, 26, casing, 27, adjusting pad, 28, rack.
具体实施方式 Detailed ways
下面对照附图,通过对实施例的描述,对本发明的具体实施方式作进一步详细的说明,以帮助本领域的技术人员对本发明的发明构思、技术方案有更完整、准确和深入的理解。The specific implementation of the present invention will be described in further detail below by describing the embodiments with reference to the accompanying drawings, so as to help those skilled in the art have a more complete, accurate and in-depth understanding of the inventive concepts and technical solutions of the present invention.
如图1、图2所表达的本发明的结构,为一种齿轮齿条传动系统的消除间隙机构,所述的齿轮齿条传动系统设有箱体26、箱盖25,所述的齿轮齿条传动系统包括输入齿轮15、互相啮合的输出齿轴和齿条28,所述的输入齿轮15安装在输入轴12上。The structure of the present invention as shown in Fig. 1 and Fig. 2 is a clearance elimination mechanism of a rack and pinion transmission system. The rack and pinion transmission system is provided with a casing 26 and a case cover 25. The rack drive system includes an
为了解决在本说明书背景技术部分所述的目前公知技术存在的问题并克服其缺陷,实现消除齿轮齿条传动的反向间隙的发明目的,本发明采取的技术方案为:In order to solve the problems existing in the current known technology described in the background technology part of this specification and overcome its defects, and realize the invention purpose of eliminating the backlash of the rack and pinion drive, the technical solution adopted by the present invention is:
如图1所示,本发明所提供的齿轮齿条传动系统的消除间隙机构,所述的输出齿轴为两件,分别为输出齿轴5和输出齿轴22,所述的输入齿轮15通过两个相同传动比的齿轮传动路线分别与所述的输出齿轴5、输出齿轴22连接;所述的齿轮传动路线在所述的输入轴12上各设有一个传动齿轮14,且为斜齿轮;所述的输入轴12通过两个向心轴承安装在所述的箱体26和箱盖25上,所述的输入轴12的一端上设有输入轴轴向滑移微调机构。As shown in Figure 1, in the backlash elimination mechanism of the rack and pinion transmission system provided by the present invention, the output gear shaft is two pieces, which are respectively the
通过输入轴12在轴向上的微量调节,并通过传动齿轮14的斜齿轮的作用,使得两个齿轮传动路线的转向发生相反方向的微小转动,消除双向间隙。Through the micro-adjustment of the input shaft 12 in the axial direction, and through the action of the helical gear of the
上述技术方案解决了机床的齿轮齿条传动的反向间隙问题,调整简单,结构紧凑,提高了机床的传动精度。The above technical solution solves the backlash problem of the rack and pinion transmission of the machine tool, has simple adjustment, compact structure, and improves the transmission accuracy of the machine tool.
所述的传动齿轮14通过锁紧螺母10在输入轴12上轴向锁紧。The
按图1所示,两个齿轮传动路线分别是:As shown in Figure 1, the two gear transmission routes are:
(1):输入齿轮15;输入轴12;传动齿轮14;中间大齿轮9;中间齿轴8;中间轴齿轮;输出齿轴大齿轮1;输出齿轴5。(1):
(2):输入齿轮15;输入轴12;传动齿轮;中间大齿轮20;中间齿轴19;中间轴齿轮;输出齿轴大齿轮23;输出齿轴22。(2):
这种双齿轮齿条传动系统,转速由输入齿轮15输入,经上述两条传动路线,再由中间齿轴8、中间齿轴19分别传到输出齿轴5和输出齿轴22上,并驱动齿条28作直线运动。In this double rack and pinion transmission system, the rotating speed is input by the
其中,中间齿轴8的两端分别通过圆锥滚子轴承7在箱体26、箱盖25上安装。中间齿轴19也采用同样的支承结构。Wherein, the two ends of the intermediate pinion shaft 8 are installed on the box body 26 and the box cover 25 through the tapered roller bearing 7 respectively. The intermediate gear shaft 19 also adopts the same supporting structure.
输出齿轴大齿轮1采用锁紧螺母6在输出齿轴5上轴向锁紧。The output gear shaft bull gear 1 is axially locked on the
所述的输出齿轴5的输出端通过两个圆锥滚子轴承3支承在箱体26上;所述的两个圆锥滚子轴承3之间通过隔套4轴向限位。所述的输出齿轴22的该端的支承结构与此相同。The output end of the
所述的输出齿轴大齿轮1与圆锥滚子轴承3通过隔套2轴向限位。The output pinion gear 1 and the tapered roller bearing 3 are axially limited by the spacer 2 .
所述的输出齿轴22上的输出端的相反端,采用圆柱滚子轴承24进行径向支承。所述的输出齿轴8上的输出端的相反端的支承结构与此相同。The opposite end of the output end on the
输出齿轴大齿轮23采用胀套21在输出齿轴22上固定安装。The output gear
如图2所示,输入轴轴向滑移微调机构为:As shown in Figure 2, the input shaft axial slip fine-tuning mechanism is:
所述的输入轴轴向滑移微调机构是在输入轴12的端部设调节螺纹孔支座18、调节螺纹盘17、碟簧11及推力球轴承13,其连接关系为:所述的推力球轴承13的一端与调节螺纹盘17接触,另一端与碟簧11的一端接触;所述的碟簧11的另一端与输入轴12的台阶端面接触。The fine-tuning mechanism for axial sliding of the input shaft is provided with an adjustment threaded
其中,碟簧11及推力球轴承13之间,还设有轴承套16。轴承套16也起到了径向限位的作用。Wherein, a bearing
在调节螺纹盘17上设有六角头,以方便采用手动调节工具进行调节。A hexagonal head is provided on the adjusting threaded
所述的箱体26外表面上设调整垫27,所述的调整垫27的厚度方向与所述的齿条28的长度方向同向。An adjustment pad 27 is arranged on the outer surface of the box body 26 , and the thickness direction of the adjustment pad 27 is in the same direction as the length direction of the rack 28 .
上述调节机构的调节方法是:The adjustment method of above-mentioned regulating mechanism is:
装配好齿轮箱体内的各档轴、齿轮、轴承,包括给碟簧11一定的预压力,调整箱体26侧面的调整垫27,使输出齿轴5与齿条28的齿的一侧面接触,固定箱体26的位置;Assemble the gear shafts, gears and bearings in the gear box, including giving the disc spring 11 a certain preload, and adjust the adjustment pad 27 on the side of the box body 26, so that the
旋转刻有刻度的调节螺纹盘17,下压碟簧11,调整另一输出齿轴22,使齿轴22与齿条28的齿的另一侧面接触,消除间隙。Rotate the adjusting threaded
上面结合附图对本发明进行了示例性描述,显然本发明具体实现并不受上述方式的限制,只要采用了本发明的方法构思和技术方案进行的各种非实质性的改进,或未经改进将本发明的构思和技术方案直接应用于其它场合的,均在本发明的保护范围之内。The present invention has been exemplarily described above in conjunction with the accompanying drawings. Obviously, the specific implementation of the present invention is not limited by the above methods, as long as various insubstantial improvements are adopted in the method concept and technical solutions of the present invention, or there is no improvement Directly applying the conception and technical solutions of the present invention to other occasions falls within the protection scope of the present invention.
Claims (3)
Priority Applications (1)
| Application Number | Priority Date | Filing Date | Title |
|---|---|---|---|
| CN2011104224667A CN102494108A (en) | 2011-12-16 | 2011-12-16 | A Backlash Elimination Mechanism for a Rack and Pinion Transmission System |
Applications Claiming Priority (1)
| Application Number | Priority Date | Filing Date | Title |
|---|---|---|---|
| CN2011104224667A CN102494108A (en) | 2011-12-16 | 2011-12-16 | A Backlash Elimination Mechanism for a Rack and Pinion Transmission System |
Publications (1)
| Publication Number | Publication Date |
|---|---|
| CN102494108A true CN102494108A (en) | 2012-06-13 |
Family
ID=46185955
Family Applications (1)
| Application Number | Title | Priority Date | Filing Date |
|---|---|---|---|
| CN2011104224667A Pending CN102494108A (en) | 2011-12-16 | 2011-12-16 | A Backlash Elimination Mechanism for a Rack and Pinion Transmission System |
Country Status (1)
| Country | Link |
|---|---|
| CN (1) | CN102494108A (en) |
Cited By (6)
| Publication number | Priority date | Publication date | Assignee | Title |
|---|---|---|---|---|
| CN103486230A (en) * | 2013-09-27 | 2014-01-01 | 南京磁谷科技有限公司 | Mechanism for fine adjustment of axial clearance |
| CN105402320A (en) * | 2015-12-07 | 2016-03-16 | 上海汉虹精密机械有限公司 | Numerical control circular saw gear clearance elimination spindle box structure |
| CN109296718A (en) * | 2018-12-04 | 2019-02-01 | 四川宏华石油设备有限公司 | A kind of guiding device |
| CN112720022A (en) * | 2020-12-30 | 2021-04-30 | 天水星火机床有限责任公司 | Vertical double gear gap eliminating speed reducer that feeds of horizontal lathe |
| CN114483936A (en) * | 2022-02-09 | 2022-05-13 | 凯临钒机械(杭州)有限公司 | A self-adjusting gear box |
| CN116025696A (en) * | 2022-12-05 | 2023-04-28 | 蚌埠市行星工程机械有限公司 | Axial Clearance Adjustment Mechanism of Multi-stage Floating Gear Transmission System |
Citations (4)
| Publication number | Priority date | Publication date | Assignee | Title |
|---|---|---|---|---|
| JP2002188708A (en) * | 2000-12-21 | 2002-07-05 | Lintec Corp | Gear mechanism and printing device |
| CN201405219Y (en) * | 2009-05-04 | 2010-02-17 | 常州昌隆机床制造有限公司 | Two-sided dual-drive gear rack backlash eliminating transmission device |
| CN201970133U (en) * | 2011-03-25 | 2011-09-14 | 武汉赛特曼机电技术发展有限公司 | Anti-backlash reduction box |
| CN202392073U (en) * | 2011-12-16 | 2012-08-22 | 芜湖恒升重型机床股份有限公司 | A Backlash Elimination Mechanism for a Rack and Pinion Transmission System |
-
2011
- 2011-12-16 CN CN2011104224667A patent/CN102494108A/en active Pending
Patent Citations (4)
| Publication number | Priority date | Publication date | Assignee | Title |
|---|---|---|---|---|
| JP2002188708A (en) * | 2000-12-21 | 2002-07-05 | Lintec Corp | Gear mechanism and printing device |
| CN201405219Y (en) * | 2009-05-04 | 2010-02-17 | 常州昌隆机床制造有限公司 | Two-sided dual-drive gear rack backlash eliminating transmission device |
| CN201970133U (en) * | 2011-03-25 | 2011-09-14 | 武汉赛特曼机电技术发展有限公司 | Anti-backlash reduction box |
| CN202392073U (en) * | 2011-12-16 | 2012-08-22 | 芜湖恒升重型机床股份有限公司 | A Backlash Elimination Mechanism for a Rack and Pinion Transmission System |
Cited By (7)
| Publication number | Priority date | Publication date | Assignee | Title |
|---|---|---|---|---|
| CN103486230A (en) * | 2013-09-27 | 2014-01-01 | 南京磁谷科技有限公司 | Mechanism for fine adjustment of axial clearance |
| CN103486230B (en) * | 2013-09-27 | 2015-12-09 | 南京磁谷科技有限公司 | A kind of mechanism for fine adjustment of axial clearance |
| CN105402320A (en) * | 2015-12-07 | 2016-03-16 | 上海汉虹精密机械有限公司 | Numerical control circular saw gear clearance elimination spindle box structure |
| CN109296718A (en) * | 2018-12-04 | 2019-02-01 | 四川宏华石油设备有限公司 | A kind of guiding device |
| CN112720022A (en) * | 2020-12-30 | 2021-04-30 | 天水星火机床有限责任公司 | Vertical double gear gap eliminating speed reducer that feeds of horizontal lathe |
| CN114483936A (en) * | 2022-02-09 | 2022-05-13 | 凯临钒机械(杭州)有限公司 | A self-adjusting gear box |
| CN116025696A (en) * | 2022-12-05 | 2023-04-28 | 蚌埠市行星工程机械有限公司 | Axial Clearance Adjustment Mechanism of Multi-stage Floating Gear Transmission System |
Similar Documents
| Publication | Publication Date | Title |
|---|---|---|
| CN201089046Y (en) | Combined blade carrier of gear hobbing machine | |
| CN102494108A (en) | A Backlash Elimination Mechanism for a Rack and Pinion Transmission System | |
| CN102240910B (en) | Mechanical type numerical control double-shaft turntable device | |
| CN105108554B (en) | Backlash Elimination Structure of Gear Transmission Mechanism | |
| CN103990861A (en) | Variable lead worm dividing head rack of gear grinding machine | |
| CN103121168A (en) | Numerical-control large-scale precise dual-drive gap removing rotating working table | |
| CN103639710A (en) | High-precision gapless numerical control rotary table for transmission | |
| CN201304581Y (en) | Feed structure with motor driving ball screw nut to rotate | |
| CN201763894U (en) | Worm and gear driving structure capable of accurately adjusting backlash | |
| CN101683719B (en) | Gapless transmission device of numerical control contour grinder | |
| CN104759929A (en) | Large precise heavy-load intelligent adjusting rotating table | |
| CN103423382B (en) | Two-part double enveloping end face engages worm transmission device | |
| CN104964022A (en) | Gear and rack transmission anti-backlash mechanism | |
| CN201669586U (en) | Screw transmission mechanism | |
| CN201625871U (en) | A screw nut transmission device for translational movement of machine tool workbench | |
| CN202510664U (en) | Backlash adjusting device for gear pair | |
| CN202137627U (en) | Electrical main shaft speed reduction device for operation turntable of machine tool | |
| CN202392073U (en) | A Backlash Elimination Mechanism for a Rack and Pinion Transmission System | |
| CN203875429U (en) | Variable-lead worm dividing head frame for gear grinding machine | |
| CN203176334U (en) | Gear eccentric gap removing mechanism for numerical control cutting machine | |
| CN204524978U (en) | A kind of precise heavy-load Intelligent adjustment huge revolving table | |
| CN201500797U (en) | Self-boring device of speed reducer | |
| CN101693304B (en) | Self-boring machining device of speed reducer | |
| CN203494731U (en) | Zero-clearance-disc apical-teeth transmission mechanism of spraying turntable | |
| CN101963205A (en) | Boring miller X-shaft reduction box |
Legal Events
| Date | Code | Title | Description |
|---|---|---|---|
| C06 | Publication | ||
| PB01 | Publication | ||
| C10 | Entry into substantive examination | ||
| SE01 | Entry into force of request for substantive examination | ||
| C12 | Rejection of a patent application after its publication | ||
| RJ01 | Rejection of invention patent application after publication |
Application publication date: 20120613 |
