CN102457036A - Grounding wire of overhead power transmission line - Google Patents
Grounding wire of overhead power transmission line Download PDFInfo
- Publication number
- CN102457036A CN102457036A CN 201010522891 CN201010522891A CN102457036A CN 102457036 A CN102457036 A CN 102457036A CN 201010522891 CN201010522891 CN 201010522891 CN 201010522891 A CN201010522891 A CN 201010522891A CN 102457036 A CN102457036 A CN 102457036A
- Authority
- CN
- China
- Prior art keywords
- hook head
- hook
- wire
- grounding
- spring
- Prior art date
- Legal status (The legal status is an assumption and is not a legal conclusion. Google has not performed a legal analysis and makes no representation as to the accuracy of the status listed.)
- Pending
Links
Images
Landscapes
- Suspension Of Electric Lines Or Cables (AREA)
Abstract
本发明为一种架空输电线路接地线,包括接地卡头(6)、绝缘绳(4)、软铜线(5),还包括弹簧钩头(1),软铜线(5)的一端连接在弹簧钩头(1)上,另一端连接在接地卡头(6)上,接地卡头(6)固定在杆塔上或者埋入大地的接地极上,弹簧钩头(1)卡持在导线上;弹簧钩头(1)的下方设置有钩头翻转机构(3),两根绝缘绳(4)分别连接在弹簧钩头(1)的上方柄部和钩头翻转机构(3)上;本发明有效解决了220-500kV高压架空线路接地线挂接难的问题,将操作者控制的导线端头自由度由现有的三个提高到五个以上。
The invention relates to a grounding wire for an overhead power transmission line, which includes a grounding clip (6), an insulating rope (4), an annealed copper wire (5), and a spring hook (1), where one end of the annealed copper wire (5) is connected On the spring hook head (1), the other end is connected to the grounding chuck (6). The grounding chuck (6) is fixed on the pole tower or the grounding electrode buried in the ground. The spring hook head (1) is clamped on the wire Above; the hook head turning mechanism (3) is arranged under the spring hook head (1), and two insulating ropes (4) are respectively connected to the upper handle of the spring hook head (1) and the hook head turning mechanism (3); The invention effectively solves the problem of difficult connection of the grounding wire of the 220-500kV high-voltage overhead line, and increases the degree of freedom of the wire end controlled by the operator from the existing three to more than five.
Description
技术领域 technical field
本发明涉及一种架空输电线路接地线,特别是涉及一种高压架空输电线路接地线。The invention relates to a grounding wire of an overhead transmission line, in particular to a grounding wire of a high-voltage overhead transmission line.
背景技术 Background technique
高压架空输电线路停电检修时必须由检修方在检修区域两端挂接地线,来保护检修区域免受突然来电的危险,目前,公知的高压架空线路软接地线由接地卡头、绝缘绳、软铜线、导线夹组成,导线夹包括弹簧夹子和夹子舌头,使用时先将接地卡头接地,然后用夹子舌头撑开弹簧夹子,最后用绝缘绳放下导线夹,尝试性地使夹子舌头碰触导线脱落,夹住导线,完成装设接地线步骤,拆除时用力向上拉绝缘绳,使弹簧夹子与导线分离。When the high-voltage overhead transmission line is powered off for maintenance, the maintenance party must hang ground wires at both ends of the maintenance area to protect the maintenance area from the danger of sudden calls. Composed of copper wire and wire clip, the wire clip includes a spring clip and a clip tongue. When using it, ground the grounding clip first, then use the clip tongue to spread the spring clip, and finally put down the wire clip with an insulating rope, and try to make the clip tongue touch The wire falls off, clamp the wire, and complete the steps of installing the ground wire. When removing it, pull up the insulating rope firmly to separate the spring clip from the wire.
但是,接地线与导线连接所使用的导线夹在安装与拆卸时都比较费力,同时安装时由于只能控制竖直方向移动、顺线路与横线路方向旋转三个自由度,装设接地线时由于竖直方向旋转自由度无法控制,导线夹很难夹住导线,只能尝试性的碰触导线,如在有风时装设接地线,顺线路方向、横线路方向移动自由度和垂直地面方向旋转自由度三个自由度无法控制,费时费力,给装设接地线造成很大困难。However, the wire clips used to connect the grounding wires to the wires are laborious to install and disassemble, and because they can only control the three degrees of freedom of moving in the vertical direction and rotating in the direction of the line and the horizontal line during installation, when installing the grounding wire Since the degree of freedom of rotation in the vertical direction cannot be controlled, it is difficult for the wire clamp to clamp the wire, so you can only try to touch the wire, such as installing the ground wire when there is wind, and the freedom of movement along the direction of the line, the direction of the horizontal line, and the direction vertical to the ground The three degrees of freedom of the rotation degree of freedom cannot be controlled, which is time-consuming and labor-intensive, and causes great difficulties in installing the grounding wire.
发明内容 Contents of the invention
本发明的目的就是研制一种新型架空输电线路接地线,设计接地线与导线的连接方式,实现接地线安装时导线端头自由度的控制。The purpose of the present invention is to develop a new type of grounding wire for overhead transmission lines, to design the connection mode between the grounding wire and the conductor, and to realize the control of the degree of freedom of the conductor end when the grounding wire is installed.
本发明的技术方案是:架空输电线路接地线,包括接地卡头、绝缘绳、软铜线,其特征是:还包括弹簧钩头,软铜线的一端连接在弹簧钩头上,另一端连接在接地卡头上,接地卡头固定在杆塔上或者埋入大地的接地极上,弹簧钩头卡持在导线上;弹簧钩头的下方设置有钩头翻转机构,两根绝缘绳分别连接在弹簧钩头的上方柄部和钩头翻转机构上。The technical solution of the present invention is: the grounding wire of the overhead power transmission line, including the grounding clip, the insulating rope, and the annealed copper wire. On the grounding chuck, the grounding chuck is fixed on the pole tower or the grounding electrode buried in the ground, and the spring hook is clamped on the wire; the hook turning mechanism is arranged under the spring hook, and the two insulating ropes are respectively connected to the On the upper shank of the spring hook and on the hook turning mechanism.
所述弹簧钩头上方的钩身U型槽内设置两片弧形的弹性舌头,弹性舌头的一端通过销轴连接在U型槽开口端的内侧壁,一张力弹簧卡在弹性舌头的舌身和该U型槽内侧壁之间,张力弹簧通过销轴连接在弹簧钩头的钩身上,弹性舌头的另一端从钩身U型槽底部伸出,并连接在一软铜带的一端,软铜带的另一端连接在该侧U型槽的外侧壁上,张力弹簧使弹性舌头的舌身和U型槽的内侧壁分开,在两片弹性舌头之间形成弹性卡夹持导线;在弹簧钩头下方U型槽底部端面上有一垂直于该端面的用于安装钩头翻转机构的通孔;在弹簧钩头上方柄部有一系绝缘绳的连接孔。Two arc-shaped elastic tongues are arranged in the hook body U-shaped groove above the spring hook head, and one end of the elastic tongue is connected to the inner side wall of the U-shaped groove opening end through a pin shaft, and a tension spring is stuck on the tongue body and the elastic tongue. Between the inner side walls of the U-shaped groove, the tension spring is connected to the hook body of the spring hook head through a pin shaft, and the other end of the elastic tongue protrudes from the bottom of the U-shaped groove of the hook body and is connected to one end of a soft copper strip. The other end of the belt is connected to the outer wall of the side U-shaped groove, and the tension spring separates the tongue body of the elastic tongue from the inner wall of the U-shaped groove, and an elastic card is formed between the two elastic tongues to hold the wire; on the spring hook There is a through hole perpendicular to the end face on the bottom end surface of the U-shaped groove below the head for installing the hook turning mechanism; there is a connecting hole for an insulating rope on the shank above the spring hook head.
所述钩头翻转机构为开口端带横钩的U型卡,开口端横钩卡入弹簧钩头下方U型槽底部端面通孔的两个端面孔内,并可以绕该通孔的轴线转动,在钩头翻转机构的U型卡内部有一横向的限位杆,限位杆中部断开,绝缘绳系在U型卡的圆弧部分。The hook turning mechanism is a U-shaped card with a cross hook at the opening end, and the cross hook at the opening end is inserted into the two end face holes of the bottom end face through hole of the U-shaped groove below the spring hook head, and can rotate around the axis of the through hole , There is a transverse limit bar inside the U-shaped card of the hook head turning mechanism, the middle part of the limit bar is disconnected, and the insulating rope is tied to the arc part of the U-shaped card.
本发明的有益效果是:改变接地线与导线的连接方式,能有效解决220-500kV高压架空线路接地线挂接难的问题,将操作者控制的导线端头自由度由现有的三个提高到五个以上,顺线路方向移动自由度不予控制,因为接地线的安装位置较为宽松,从而挂接、拆除容易,并使其有更强的操控性,而达到方便、省力、安全的目的。在高压架空线路停电检修工作中大范围应用,减小劳动强度,提高劳动效率,作为现有接地线的升级替代品。The beneficial effects of the present invention are: changing the connection mode of the grounding wire and the conductor can effectively solve the problem of difficult connection of the grounding wire of the 220-500kV high-voltage overhead line, and improve the degree of freedom of the conductor end controlled by the operator from the existing three If there are more than five, the degree of freedom of movement along the line is not controlled, because the installation position of the grounding wire is relatively loose, so that it is easy to mount and dismantle, and it has stronger controllability, so as to achieve the purpose of convenience, labor saving and safety . It is widely used in high-voltage overhead line power outage maintenance work, reduces labor intensity, improves labor efficiency, and is used as an upgrade substitute for existing grounding wires.
附图说明Description of drawings
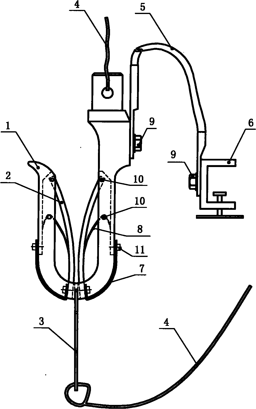
图1:本发明结构示意图;Fig. 1: Schematic diagram of the structure of the present invention;
图2:弹簧钩头结构图;Figure 2: Structural diagram of the spring hook head;
图3:钩头翻转机构结构示意图;Figure 3: Schematic diagram of the structure of the hook head turning mechanism;
图4:弹簧钩头与钩头翻转机构连接结构图;Figure 4: The connection structure diagram of the spring hook head and the hook head turning mechanism;
图5:本发明钩头翻转机构在翻转工作时位置示意图。Figure 5: Schematic diagram of the position of the hook head turning mechanism of the present invention when turning over.
图中:1-弹簧钩头;2-弹性舌头;3-钩头翻转机构;4-绝缘绳;5-软铜线;6-接地卡头;7-软铜带;8-张力弹簧;9-连接螺杆;10-销轴;11-压紧螺钉。In the figure: 1-spring hook head; 2-elastic tongue; 3-hook turning mechanism; 4-insulating rope; 5-soft copper wire; 6-grounding chuck; 7-soft copper strip; 8-tension spring; -connecting screw; 10-pin shaft; 11-compression screw.
具体实施方式 Detailed ways
如图1所示,本发明包括弹簧钩头1、接地卡头6、绝缘绳4、软铜线5;软铜线5作为接地线其一端通过连接螺杆9连接在弹簧钩头1的上方柄部,软铜线5的另一端通过连接螺杆9连接在接地卡头6上,软铜线5的两端头与弹簧钩头1和接地卡头6连接的部分制作有线接头;接地卡头6固定在杆塔上或者埋入大地的接地极上;弹簧钩头1的下方设置有钩头翻转机构3,两根绝缘绳4分别连接在弹簧钩头1的上方柄部和钩头翻转机构3上。As shown in Fig. 1, the present invention comprises
弹簧钩头1采用优质铝合金压铸而成,或者使用铜材料铸造,配套的紧固件均经金属镀铬处理,具有良好的导电性,接地线软铜线5采用多股特细铜质软胶线并外覆柔软、耐高温的透明绝缘保护层,绝缘绳柔韧、牢固、绝缘可靠。The
图2为弹簧钩头结构图,弹簧钩头1的钩身为U型槽,在U型槽内设置两片弹性舌头2,属双舌结构形式,弹性舌头2的舌身为弧形,弹性舌头2舌身的一端通过销轴10连接在弹簧钩头1上方钩身U型槽开口端的内侧壁,一张力弹簧8通过销轴10连接在弹簧钩头1的钩身上并卡在弹性舌头2的舌身和所在的弹簧钩头1的钩身内侧壁之间,张力弹簧8使弹性舌头2的舌身和弹簧钩头1的钩身U型槽内侧壁分开,从而在两片弹性舌头2之间形成弹性卡夹持导线;弹性舌头2的舌身另一端从U型槽底部伸出,并连接一软铜带7,软铜带7的另一端连接在该侧U型槽的外侧壁上,软铜带7的两端头带有板状线接头通过压紧螺钉11分别连接在弹性舌头2的舌身端头和弹性钩头1的U型槽外壁上,通过软铜带7使弹性舌头2和弹簧钩头1形成可靠的电通路,并通过软铜带7的长短可以调节两片弹性舌头2之间的间隙,以适应不同的线径获得相应的夹持力;在弹簧钩头1上方柄部有一连接孔,方便连接绝缘绳4;在弹簧钩头1下方U型槽底部端面上有一垂直于该端面的通孔,用于安装钩头翻转机构3。Figure 2 is a structural diagram of the spring hook head. The hook body of the
如图3所示为钩头翻转机构结构示意图,钩头翻转机构3为开口端带横钩的U型卡,开口端横钩卡入弹簧钩头1下方U型槽底部端面通孔的两个端面孔内,并可以绕该通孔的轴线转动,在钩头翻转机构3的U型卡内部有一横向的限位杆;限位杆中部断开,便于U型卡张开横钩卡入弹簧钩头1下方U型槽底部端面通孔的两个端面孔内;绝缘绳4系在U型卡的圆弧部分;当拉动系在U型卡上的绝缘绳4时,钩头翻转机构3绕其横钩转动,转动到一定角度时,限位杆就会碰到弹簧钩头1的U型槽外壁,停止转动,继续拉动绝缘绳4弹簧钩头1就会和钩头翻转机构3共同转动使弹簧钩头1位置翻转,从而改变绝缘绳4对弹簧钩头1的下方的作用力方向;限位杆距横沟的距离长短决定着钩头翻转机构3可以转动的角度,一般使钩头翻转机构3转动到接近水平位置即可。如图4所示为弹簧钩头1与钩头翻转机构3连接结构图;如图5所示钩头翻转机构在翻转工作时位置示意图。As shown in Figure 3, it is a schematic structural diagram of the hook head turning mechanism. The
在架空输电线路上加装接地线时,首先把接地卡头6牢靠的卡接在金属杆塔的角铁上或者连接在埋入大地的接地极上,从高处用绝缘绳4把弹簧钩头1慢慢放下,弹簧钩头1接近导线时,调控两根绝缘绳4,使弹簧钩头1的U型开口对准需要接地的导线,此时可以控制竖直方向移动、顺线路与横线路方向旋转、横线路方向移动和竖直方向转动五个自由度,不发生竖直方向转动和横线路方向移动,所以很容易就可以把弹簧钩头1卡持在导线上实现接地;拆除时操纵绝缘绳4让弹簧钩头翻转机构3动作,使弹簧钩头1翻转180度,弹簧钩头1的开口向下,向上拉动绝缘绳4便可轻松、顺利拆除接地线。When installing a grounding wire on an overhead transmission line, first securely clamp the grounding clip 6 to the angle iron of the metal pole or tower or connect it to the grounding electrode buried in the ground, and use the insulating rope 4 to hold the spring hook from a high place. 1. Put it down slowly. When the
Claims (3)
Priority Applications (1)
| Application Number | Priority Date | Filing Date | Title |
|---|---|---|---|
| CN 201010522891 CN102457036A (en) | 2010-10-26 | 2010-10-26 | Grounding wire of overhead power transmission line |
Applications Claiming Priority (1)
| Application Number | Priority Date | Filing Date | Title |
|---|---|---|---|
| CN 201010522891 CN102457036A (en) | 2010-10-26 | 2010-10-26 | Grounding wire of overhead power transmission line |
Publications (1)
| Publication Number | Publication Date |
|---|---|
| CN102457036A true CN102457036A (en) | 2012-05-16 |
Family
ID=46039863
Family Applications (1)
| Application Number | Title | Priority Date | Filing Date |
|---|---|---|---|
| CN 201010522891 Pending CN102457036A (en) | 2010-10-26 | 2010-10-26 | Grounding wire of overhead power transmission line |
Country Status (1)
| Country | Link |
|---|---|
| CN (1) | CN102457036A (en) |
Cited By (5)
| Publication number | Priority date | Publication date | Assignee | Title |
|---|---|---|---|---|
| CN104092146A (en) * | 2014-07-14 | 2014-10-08 | 国家电网公司 | Rapid power supply transferring tool for same-pole lines |
| CN105870671A (en) * | 2016-05-13 | 2016-08-17 | 中国南方电网有限责任公司超高压输电公司南宁局 | Controllable anti-disengagement high-voltage power line personal security line |
| CN109524936A (en) * | 2019-01-02 | 2019-03-26 | 广东南方电信规划咨询设计院有限公司 | It is a kind of for communicating the cable self-detaching device in overhead transmission line |
| CN110600907A (en) * | 2019-09-12 | 2019-12-20 | 国网浙江淳安县供电有限公司 | Live lapping large-section drainage wire operation device for 10KV line |
| CN111342393A (en) * | 2020-04-02 | 2020-06-26 | 国网浙江武义县供电有限公司 | Hook-type insulating rod |
-
2010
- 2010-10-26 CN CN 201010522891 patent/CN102457036A/en active Pending
Cited By (7)
| Publication number | Priority date | Publication date | Assignee | Title |
|---|---|---|---|---|
| CN104092146A (en) * | 2014-07-14 | 2014-10-08 | 国家电网公司 | Rapid power supply transferring tool for same-pole lines |
| CN105870671A (en) * | 2016-05-13 | 2016-08-17 | 中国南方电网有限责任公司超高压输电公司南宁局 | Controllable anti-disengagement high-voltage power line personal security line |
| CN105870671B (en) * | 2016-05-13 | 2018-06-12 | 中国南方电网有限责任公司超高压输电公司南宁局 | Controllable type run-resistant high-voltage electric power circuit individual's safety wire |
| CN109524936A (en) * | 2019-01-02 | 2019-03-26 | 广东南方电信规划咨询设计院有限公司 | It is a kind of for communicating the cable self-detaching device in overhead transmission line |
| CN109524936B (en) * | 2019-01-02 | 2024-02-02 | 广东南方电信规划咨询设计院有限公司 | Cable self-releasing device for communication overhead line |
| CN110600907A (en) * | 2019-09-12 | 2019-12-20 | 国网浙江淳安县供电有限公司 | Live lapping large-section drainage wire operation device for 10KV line |
| CN111342393A (en) * | 2020-04-02 | 2020-06-26 | 国网浙江武义县供电有限公司 | Hook-type insulating rod |
Similar Documents
| Publication | Publication Date | Title |
|---|---|---|
| CN102457036A (en) | Grounding wire of overhead power transmission line | |
| CN103441353B (en) | A kind of 110 kilovolts of overhead transmission line anchor support common ground lines | |
| CN204645808U (en) | Bar stepped on by cement pole cable | |
| CN203300837U (en) | Throwing-hanging type ground wire | |
| CN203967713U (en) | For the terminal clamping device of crane cable | |
| CN104022477B (en) | Binding device for overhead lead and stay wire | |
| CN202189912U (en) | Overhead transmission line grounding device | |
| CN201829907U (en) | Earth wire of overhead transmission line | |
| CN204716870U (en) | A kind of wire tensioner | |
| CN204012564U (en) | A kind of Bundling conducting wire terminal erecting device | |
| CN203932352U (en) | A kind of cable and conductor connecting pipe | |
| CN202167813U (en) | Pre-twisted strain clamp | |
| CN203983909U (en) | Strapping device for aerial condutor and bracing wire | |
| CN203175139U (en) | Novel U-shaped stay wire hoop | |
| CN201994602U (en) | Special joint for cable traction | |
| CN203883381U (en) | Wire-tensioning device for wire tower line overhaul | |
| CN201378706Y (en) | Overhead bundling hardware fitting for parallel bunched cables | |
| CN205595731U (en) | Strain wire clamp used for 10kV overhead power distribution line | |
| CN204424798U (en) | 800 kilovolts of DC power transmission line six-multiple conductor line lifters | |
| CN202026037U (en) | Clamping device for replacing multifunctional suspended insulator string cross-arm side armour clamp | |
| CN202940524U (en) | Strain insulator assembly with wedge cable clamp | |
| CN201639240U (en) | Beam concentration four-core strain clamp | |
| CN201837646U (en) | Insulated fixing device for lead disconnection position during preventative test of substation primary equipment | |
| CN202142354U (en) | Stay insulator | |
| CN206004225U (en) | Utensil installed by ground potential fast-assembling synthetic insulator preventing wind drift wire |
Legal Events
| Date | Code | Title | Description |
|---|---|---|---|
| C06 | Publication | ||
| PB01 | Publication | ||
| ASS | Succession or assignment of patent right |
Owner name: JIANGSU ELECTRIC POWER COMPANY STATE ELECTRIC NET Effective date: 20130106 |
|
| C41 | Transfer of patent application or patent right or utility model | ||
| COR | Change of bibliographic data |
Free format text: CORRECT: ADDRESS; FROM: 221005 XUZHOU, JIANGSU PROVINCE TO: 221006 XUZHOU, JIANGSU PROVINCE |
|
| TA01 | Transfer of patent application right |
Effective date of registration: 20130106 Address after: 221006 Jiefang North Road, Jiangsu, Xuzhou, No. 20 Applicant after: Xuzhou Power Supply Company of Jiangsu Electric Power Company Applicant after: Jiangsu Electric Power Company Applicant after: State Grid Corporation of China Address before: 221005 No. 20 Jiefang North Road, Jiangsu, Xuzhou Applicant before: Xuzhou Power Supply Company of Jiangsu Electric Power Company |
|
| C02 | Deemed withdrawal of patent application after publication (patent law 2001) | ||
| WD01 | Invention patent application deemed withdrawn after publication |
Application publication date: 20120516 |
