CN102401698A - 一种海水温度测量系统 - Google Patents
一种海水温度测量系统 Download PDFInfo
- Publication number
- CN102401698A CN102401698A CN2010102894439A CN201010289443A CN102401698A CN 102401698 A CN102401698 A CN 102401698A CN 2010102894439 A CN2010102894439 A CN 2010102894439A CN 201010289443 A CN201010289443 A CN 201010289443A CN 102401698 A CN102401698 A CN 102401698A
- Authority
- CN
- China
- Prior art keywords
- resistance
- links
- circuit unit
- circuit
- operational amplifier
- Prior art date
- Legal status (The legal status is an assumption and is not a legal conclusion. Google has not performed a legal analysis and makes no representation as to the accuracy of the status listed.)
- Granted
Links
- 239000013535 sea water Substances 0.000 title abstract description 7
- 230000003321 amplification Effects 0.000 claims description 20
- 238000003199 nucleic acid amplification method Methods 0.000 claims description 20
- 239000003990 capacitor Substances 0.000 claims description 17
- 238000001914 filtration Methods 0.000 claims description 10
- 238000005070 sampling Methods 0.000 claims description 10
- 238000010586 diagram Methods 0.000 claims description 4
- 238000000034 method Methods 0.000 claims description 4
- 230000003467 diminishing effect Effects 0.000 claims description 3
- 238000009529 body temperature measurement Methods 0.000 abstract description 5
- 238000005259 measurement Methods 0.000 abstract 1
- 230000035945 sensitivity Effects 0.000 abstract 1
- 239000000523 sample Substances 0.000 description 13
- BASFCYQUMIYNBI-UHFFFAOYSA-N platinum Chemical compound [Pt] BASFCYQUMIYNBI-UHFFFAOYSA-N 0.000 description 10
- 229910052697 platinum Inorganic materials 0.000 description 5
- 238000013461 design Methods 0.000 description 2
- XLYOFNOQVPJJNP-UHFFFAOYSA-N water Substances O XLYOFNOQVPJJNP-UHFFFAOYSA-N 0.000 description 2
- 230000003139 buffering effect Effects 0.000 description 1
- 230000007812 deficiency Effects 0.000 description 1
- 230000000694 effects Effects 0.000 description 1
- 238000012544 monitoring process Methods 0.000 description 1
- 238000011160 research Methods 0.000 description 1
- 230000005619 thermoelectricity Effects 0.000 description 1
Images
Landscapes
- Measuring Temperature Or Quantity Of Heat (AREA)
- Amplifiers (AREA)
Abstract
本发明公开一种海水温度测量系统,包括,非平衡电桥电路单元、恒流源产生电路单元、电压跟随电路单元和滤波放大电路单元;所述非平衡电桥电路单元输入端通过电阻R8与直流电压的正极相连;所述非平衡电桥电路单元输出端与所述电压跟随电路单元相连;所述恒流源产生电路单元的输出端与所述非平衡电桥电路单元相连;所述电压跟随电路单元通过电阻R9、电阻R10与滤波放大电路单元相连;所述恒流源产生电路单元的输入端与+5V电源相连。本发明具有灵敏度高、稳定性好、使用寿命长等特点,测量精度远高于传统的热电偶或压力式测温仪,在海水常规测温范围(-2℃~30℃)内,具有明显的技术优势。
Description
技术领域
本发明属于海洋工程技术领域,具体涉及一种基于铂热电阻传感器的高稳定性海水温度测量装置。
技术背景
海水温度是反映海水热状况的一个物理量,也是海洋水文状况监测中最重要的因子之一,常作为研究水团性质,描述水团运动的基本指标。目前测量海水温度的探头主要有热敏电阻、铂热电阻和热电偶。热电偶主要在高温测温条件下具有优势,如热液喷口附近的温度传感主要采用热电偶测温原理设计,但热电偶温度计在海水常规温度测温范围内精度不高。热敏电阻与铂电阻的精度基本在同一个量级,其中热敏电阻成本低、易于制作,而铂电阻的线性度较好,稳定性更强,但由于阻值较小,需要复杂的调理电路而显得设计成本较高。目前国内外CTD剖面仪内的温度传感器广泛采用热敏电阻,该方法稳定性有所欠缺,测温频率与温度值之间的标定公式复杂。
发明内容
本发明的目的是针对现有海水温度测量电路的不足,提供一种针对海水常规测温范围(-2℃~30℃)基于铂热电阻的高稳定性海水温度测量装置。
本发明为实现上述目的所采用的技术方案是:
一种海水温度测量系统,包括,非平衡电桥电路单元、恒流源产生电路单元、电压跟随电路单元和滤波放大电路单元;所述非平衡电桥电路单元输入端通过电阻R8与直流电压的正极相连;所述非平衡电桥电路单元输出端与所述电压跟随电路单元相连;所述恒流源产生电路单元的输出端与所述非平衡电桥电路单元相连;所述电压跟随电路单元通过电阻R9、电阻R10与滤波放大电路单元相连;所述恒流源产生电路单元的输入端与+5V电源相连。
所述非平衡电桥电路单元由非平衡电桥电路左桥臂、非平衡电桥的右桥臂及隔离电路组成;所述非平衡电桥电路左桥臂一端与分压电阻R8相连,另一端与隔离电路一端相连;所述隔离电路另一端与三线制非平衡电桥的右桥臂相连,通过隔离电路将非平衡电桥电路单元的左桥臂和右桥臂隔离。
所述恒流源产生电路单元由基准电压源电路,放大比较电路,调整电路和采样电路组成;所述基准电压电路的输出端与放大比较电路的反相输入端相连,放大比较器电路的输出端与调整电路的三极管Q1的栅极相连,调整电路的晶体管T1与采样电路相连,采样电路的反馈电阻R11与放大比较电路正向输入端相连;所述恒流源产生电路单元通过基准电压源电路为三线制非平衡电桥电路的左桥臂提供恒定电流,实现电桥电路的线性供电。
所述电压跟随电路单元主要包含第一、二电压跟随器;第一电压跟随器包括运算放大器U3,第二电压跟随器包括运算放大器U4;运算放大器U3的同相输入端与非平衡电桥电路左桥臂的电阻R5的一端相连,运算放大器U3的反相输入端与其自己的输出端相连,形成第一电压跟随器;所述运算放大器U4的同相输入端连接在非平衡电桥电路左桥臂的电阻R4、电阻R5之间,运算放大器U4的反相输入端与其自己的输出端相连,形成第二电压跟随器;所述电压跟随电路单元提高输入阻抗,将非平衡电桥电路单元与滤波放大电路单元进行缓冲和隔离。
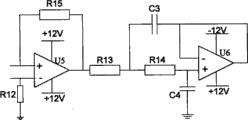
所述放大滤波电路单元主要包括运算放大器U5,电阻R12,电阻R13,电阻R14,电阻R15,滤波电容C3,滤波电容C4,运算放大器U6;所述运算放大器U5的正向输入端与第一电压跟随器的运算放大器U3的输出端相连,运算放大器U5的反相输入端与第二电压跟随器的运算放大器U4的输出端相连,于运算放大器U5的同相输入端与输出端之间并联接有电阻R15;所述运算放大器U5的反相输入端与电阻R12一端相连,电阻R12的另一端接地;运算放大器U5的输出端与电阻R13的一端相连,电阻R13另一端与电阻R14的一端相连,电阻R14的另一端与运算放大器U6的同相输入端相连;所述滤波电容C3一端与电阻R14相连,另一端与运算放大器U6的反相输入端相连;所述滤波电容C4一端与运算放大器U6的同相输入端相连,另一端接地;运算放大器U6的输出端与反相输入端相连;所述放大滤波电路单元主要对信号进行放大,滤波,方便后级采样电路对信号的采样。
所述非平衡电桥电路单元包括可调电阻R1,第一引线电阻R4,第二引线电阻R5,第三引线电阻R6,测温铂电阻R100,隔离放大器U1,第一精密电阻R2,第二精密电阻R3;所述分压电阻R8一端与直流电源的正极的相连,分压电阻R8的另一端与可调电阻R1的一端相连,所述可调电阻R1的另一端与第一引线电阻R4相连,所述第一引线电阻R4的另一端分别与第二引线电阻R5、测温铂电阻R100的一端相连,所述测温铂电阻R100的另一端分别与调整电路2-3的晶体管T1的集电极及第三引线电阻R6一端相连,所述第一、二精密电阻R2、R3组成电桥的右桥臂,其中第二精密电阻R2的一端与分压电阻R8相连,另一端与第二精密电阻R3相连;所述隔离放大器U1的同相向输入端与第三引线电阻R6相连,隔离放大器U1的反相输入端与右桥臂的第二精密电阻R3相连,隔离放大器U1的输出端与其反相输入端相连。
所述基准电压电路的输出电压为2.5V,其通过放大比较器电路和调整电路采集采样电路中采样电阻R11的电压,然后与基准电压比较,得到一个电压差值;所述基准电压电路通过比较放大器U2放大后与晶体管T1相连,通过电压差值调控晶体管T1,改变晶体管T1 c-e之间的电压降,从而达到恒流的目的;当Ice变大时,电阻R11上的压降变大,而基准电压不变,因此,比较放大器的输出变小,晶体管T1的基极电流变小,从而Ice下降;当Ice变小时,调整过程相反。
本发明的优点:
1、本发明利用恒流源产生电路单元驱动非平衡电桥电路单元,采用铂热电阻传感器为感应器,并利用三线制接线方式连接铂热电阻,可以在很大程度上补偿非平衡电桥电路单元的非线性,克服由引线电阻长期变化带来的时变误差,从而实现高稳定性的海水温度测量。
2、本发明具有灵敏度高、稳定性好、使用寿命长等特点,测量精度远高于传统的热电偶或压力式测温仪,在海水常规测温范围(-2℃~30℃)内,具有明显的技术优势。
附图说明
下面根据附图和具体实施例对本发明作进一步的阐述。
图1是本发明的电路结构框图;
图2是图1中三线制非平衡电桥电路单元图;
图3是图1中恒流源产生电路单元图;
图4是图1中两路电压跟随电路单元图;
图5是图1中放大滤波电路单元图。
具体实施方式
如图1、2、3、4、5所示,一种海水温度测量系统,包括,非平衡电桥电路单元1、恒流源产生电路单元2、电压跟随电路单元3和滤波放大电路单元4;所述非平衡电桥电路单元1输入端通过分压电阻R8与直流电压的正极相连;所述非平衡电桥电路单元1输出端与所述电压跟随电路单元3相连;所述非平衡电桥电路单元1输出端与所述恒流源产生电路单元2相连;所述电压跟随电路单元3通过电阻R9、电阻R10与滤波放大电路单元4相连;所述恒流源产生电路单元2一端与+5V电源相连。
所述非平衡电桥电路单元1由非平衡电桥电路左桥臂1-1、非平衡电桥的右桥臂1-2及隔离电路1-3组成;所述非平衡电桥电路左桥臂1-1一端与分压电阻R8相连,另一端与隔离电路1-3一端相连;所述隔离电路1-3另一端与三线制非平衡电桥的右桥臂1-2相连,通过隔离电路1-3将非平衡电桥电路单元1的左桥臂1-1和右桥臂1-2隔离,使左右桥的电流互不影响。
所述非平衡电桥电路单元1的电路包括:可调电阻R1,第一引线电阻R4,第二引线电阻R5,第三引线电阻R6,测温铂电阻R100,隔离放大器U1,第一精密电阻R2,第二精密电阻R3;所述分压电阻R8一端与直流电源的正极的相连,分压电阻R8的另一端与可调电阻R1的一端相连,所述可调电阻R1的另一端与第一引线电阻R4相连,所述第一引线电阻R4的另一端分别与第二引线电阻R5、测温铂电阻R100的一端相连,所述测温铂电阻R100的另一端分别与调整电路2-3的晶体管T1的集电极及第三引线电阻R6一端相连,所述第一、二精密电阻R2、R3组成电桥的右桥臂1-2,其中第二精密电阻R2的一端与分压电阻R8相连,另一端与第二精密电阻R3相连;所述隔离放大器U1的同相向输入端与第三引线电阻R6相连,隔离放大器U1的反相输入端与右桥臂1-2的第二精密电阻R3相连,隔离放大器U1的输出端与其反相输入端相连。
所述恒流源产生电路单元2由基准电压源电路2-1,放大比较电路2-2,调整电路2-3和采样电路2-4组成;所述基准电压电路2-1的输出端与放大比较电路2-2的反相输入端相连,放大比较器电路2-2的输出端与调整电路2-3的三极管Q1的栅极相连,调整电路2-3的晶体管T1与采样电路2-4相连,采样电路2-4的采样电阻R11与放大比较电路2-2正向输入端相连;所述恒流源产生电路单元2通过基准电压源电路2-1为非平衡电桥电路1的左桥臂提供恒定电流,实现电桥电路的线性供电,消除传统恒压源电桥的非线性。
恒流源产生电路单元2电路包括:分压电阻R7,基准电压产生芯片TL431,第一滤波电容C1,集成运算放大器U1,第一调整管Q1,第二调整管T1,采样电阻R11,第二滤波电容C2。所述分压电阻R7的一端接直流输入电压的正极,另一端接基准电压芯片T431,基准电压芯片T431的输出端接滤波电容C1,第一滤波电容C1接集成运算放大器U1的反相输入端,集成运算放大器U1的输出端接三极管Q1的栅极,三极管Q1的源极与晶体管T1的集电极相连,三极管Q1的漏极与晶体管T1的基极相连接,晶体管T1的发射极接采样电阻R11的一端,并反馈到集成运算放大器U1的同相输入端,第二滤波电容C2与采样电阻R11并联接地。
所述电压跟随电路单元3主要包含第一、二电压跟随器3-1、3-2;第一电压跟随器包括运算放大器U3,第二电压跟随器3-2包括运算放大器U4;运算放大器U3的同相输入端与非平衡电桥电路左桥臂1-1的电阻R5的一端相连,运算放大器U3的反相输入端与其自己的输出端相连,形成第一电压跟随器3-1;运算放大器U4的同相输入端连接在非平衡电桥电路左桥臂1-1的电阻R4、电阻R5之间,运算放大器U4的反相输入端与其自己的输出端相连,形成第二电压跟随器3-2;所述电压跟随电路单元3提高输入阻抗,将非平衡电桥电路单元1与滤波放大电路单元4进行缓冲和隔离。电压跟随电路3提高了输入阻抗,起到缓冲和隔离前后级电路的作用。
所述放大滤波电路单元4主要包括运算放大器U5,电阻R12,电阻R13,电阻R14,电阻R15,滤波电容C3,滤波电容C4,运算放大器U6;所述运算放大器U5的正向输入端与第一电压跟随器3-1的运算放大器U3的输出端相连,运算放大器U5的反相输入端与第二电压跟随器3-2的运算放大器U4的输出端相连,于运算放大器U5的同相输入端与输出端之间并联接有电阻R15;所述运算放大器U5的反相输入端与电阻R12一端相连,电阻R12的另一端接地;运算放大器U5的输出端与电阻R13的一端相连,电阻R13另一端与电阻R14的一端相连,电阻R14的另一端与运算放大器U6的同相输入端相连;所述滤波电容C3一端与电阻R14相连,另一端与运算放大器U6的反相输入端相连;所述滤波电容C4一端与运算放大器U6的同相输入端相连,另一端接地;运算放大器U6的输出端与反相输入端相连;所述放大滤波电路单元4主要对信号进行放大,滤波,方便后级采样电路对信号的采样。
基准电压电路2-1的输出端与放大比较电路2-2的反相输入端相连,放大比较器电路2-2的输出端与调整电路2-3的Q1的栅极相连,调整电路2-3的晶体管T1与采样电路2-4相连,采样电路2-4的反馈电阻与放大比较电路2-2。基准电压电路2-1的输出电压为2.5V,通过反馈网络对取样电阻R11上的电压取样,然后与基准电压比较,得到一个差值,将此差值用比较放大器U2放大后去控制调整管T1,改变调整管c-e之间的电压降,从而达到恒流的目的。当Ice变大时,R11上的压降变大,而基准电压不变,因此,比较放大器的输出变小,调整管T1的基极电流变小,从而Ice下降。Ice变小时,调整过程相反。
Claims (7)
1.一种海水温度测量系统,其特征在于:包括,非平衡电桥电路单元、恒流源产生电路单元、电压跟随电路单元和滤波放大电路单元;
所述非平衡电桥电路单元输入端通过电阻R8与直流电压的正极相连;
所述非平衡电桥电路单元输出端与所述电压跟随电路单元相连;
所述恒流源产生电路单元的输出端与所述非平衡电桥电路单元相连;
所述电压跟随电路单元通过电阻R9、电阻R10与滤波放大电路单元相连;
所述恒流源产生电路单元的输入端与+5V电源相连。
2.按权利要求1所述的海水温度测量系统,其特征在于:
所述非平衡电桥电路单元由非平衡电桥电路左桥臂、非平衡电桥的右桥臂及隔离电路组成;
所述非平衡电桥电路左桥臂一端与分压电阻R8相连,另一端与隔离电路一端相连;
所述隔离电路另一端与三线制非平衡电桥的右桥臂相连,通过隔离电路将非平衡电桥电路单元的左桥臂和右桥臂隔离。
3.按权利要求1所述的海水温度测量系统,其特征在于:
所述恒流源产生电路单元由基准电压源电路,放大比较电路,调整电路和采样电路组成;
所述基准电压电路的输出端与放大比较电路的反相输入端相连,放大比较器电路的输出端与调整电路的三极管Q1的栅极相连,调整电路的晶体管T1与采样电路相连,采样电路的反馈电阻R11与放大比较电路正向输入端相连;
所述恒流源产生电路单元通过基准电压源电路为三线制非平衡电桥电路的左桥臂提供恒定电流,实现电桥电路的线性供电。
4.按权利要求1所述的海水温度测量系统,其特征在于:
所述电压跟随电路单元主要包含第一、二电压跟随器;第一电压跟随器包括运算放大器U3,第二电压跟随器包括运算放大器U4;运算放大器U3的同相输入端与非平衡电桥电路左桥臂的电阻R5的一端相连,运算放大器U3的反相输入端与其自己的输出端相连,形成第一电压跟随器;
所述运算放大器U4的同相输入端连接在非平衡电桥电路左桥臂的电阻R4、电阻R5之间,运算放大器U4的反相输入端与其自己的输出端相连,形成第二电压跟随器;
所述电压跟随电路单元提高输入阻抗,将非平衡电桥电路单元与滤波放大电路单元进行缓冲和隔离。
5.按权利要求1所述的海水温度测量系统,其特征在于:
所述放大滤波电路单元主要包括运算放大器U5,电阻R12,电阻R13,电阻R14,电阻R15,滤波电容C3,滤波电容C4,运算放大器U6;
所述运算放大器U5的正向输入端与第一电压跟随器的运算放大器U3的输出端相连,运算放大器U5的反相输入端与第二电压跟随器的运算放大器U4的输出端相连,于运算放大器U5的同相输入端与输出端之间并联接有电阻R15;
所述运算放大器U5的反相输入端与电阻R12一端相连,电阻R12的另一端接地;运算放大器U5的输出端与电阻R13的一端相连,电阻R13另一端与电阻R14的一端相连,电阻R14的另一端与运算放大器U6的同相输入端相连;所述滤波电容C3一端与电阻R14相连,另一端与运算放大器U6的反相输入端相连;所述滤波电容C4一端与运算放大器U6的同相输入端相连,另一端接地;运算放大器U6的输出端与反相输入端相连;
所述放大滤波电路单元主要对信号进行放大,滤波,方便后级采样电路对信号的采样。
6.按权利要求1所述的海水温度测量系统,其特征在于:
所述非平衡电桥电路单元包括可调电阻R1,第一引线电阻R4,第二引线电阻R5,第三引线电阻R6,测温铂电阻R100,隔离放大器U1,第一精密电阻R2,第二精密电阻R3;
所述分压电阻R8一端与直流电源的正极的相连,分压电阻R8的另一端与可调电阻R1的一端相连,所述可调电阻R1的另一端与第一引线电阻R4相连,所述第一引线电阻R4的另一端分别与第二引线电阻R5、测温铂电阻R100的一端相连,所述测温铂电阻R100的另一端分别与调整电路2-3的晶体管T1的集电极及第三引线电阻R6一端相连,所述第一、二精密电阻R2、R3组成电桥的右桥臂,其中第二精密电阻R2的一端与分压电阻R8相连,另一端与第二精密电阻R3相连;所述隔离放大器U1的同相向输入端与第三引线电阻R6相连,隔离放大器U1的反相输入端与右桥臂的第二精密电阻R3相连,隔离放大器U1的输出端与其反相输入端相连。
7.按权利要求1所述的海水温度测量系统,其特征在于:
所述基准电压电路的输出电压为2.5V,其通过放大比较器电路和调整电路采集采样电路中采样电阻R11的电压,然后与基准电压比较,得到一个电压差值;
所述基准电压电路通过比较放大器U2放大后与晶体管T1相连,通过电压差值调控晶体管T1,改变晶体管T1 c-e之间的电压降,从而达到恒流的目的;当Ice变大时,电阻R11上的压降变大,而基准电压不变,因此,比较放大器的输出变小,晶体管T1的基极电流变小,从而Ice下降;当Ice变小时,调整过程相反。
Priority Applications (1)
| Application Number | Priority Date | Filing Date | Title |
|---|---|---|---|
| CN 201010289443 CN102401698B (zh) | 2010-09-17 | 2010-09-17 | 一种海水温度测量系统 |
Applications Claiming Priority (1)
| Application Number | Priority Date | Filing Date | Title |
|---|---|---|---|
| CN 201010289443 CN102401698B (zh) | 2010-09-17 | 2010-09-17 | 一种海水温度测量系统 |
Publications (2)
| Publication Number | Publication Date |
|---|---|
| CN102401698A true CN102401698A (zh) | 2012-04-04 |
| CN102401698B CN102401698B (zh) | 2013-05-22 |
Family
ID=45884136
Family Applications (1)
| Application Number | Title | Priority Date | Filing Date |
|---|---|---|---|
| CN 201010289443 Expired - Fee Related CN102401698B (zh) | 2010-09-17 | 2010-09-17 | 一种海水温度测量系统 |
Country Status (1)
| Country | Link |
|---|---|
| CN (1) | CN102401698B (zh) |
Cited By (5)
| Publication number | Priority date | Publication date | Assignee | Title |
|---|---|---|---|---|
| CN104764539A (zh) * | 2015-04-09 | 2015-07-08 | 中国科学院半导体研究所 | 普适且输出可调的基于三极管的热敏电阻线性补偿电路 |
| CN105116228A (zh) * | 2015-09-16 | 2015-12-02 | 航宇救生装备有限公司 | 一种热敏电阻入水检测装置 |
| RU2589515C1 (ru) * | 2014-12-29 | 2016-07-10 | Российская Федерация, От Имени Которой Выступает Министерство Промышленности И Торговли Российской Федерации | Устройство определения параметров поля температуры в объеме водной среды, возмущенной движением корпуса судна или модели |
| CN105758548A (zh) * | 2014-12-15 | 2016-07-13 | 中车大连电力牵引研发中心有限公司 | 铂热电阻pt100的测温电路 |
| CN108931315A (zh) * | 2018-10-09 | 2018-12-04 | 国家海洋技术中心 | 一种基于ntc热敏电阻的温度测量电路 |
Families Citing this family (1)
| Publication number | Priority date | Publication date | Assignee | Title |
|---|---|---|---|---|
| CN111486983B (zh) * | 2020-05-08 | 2021-07-20 | 中国南方电网有限责任公司超高压输电公司天生桥局 | 一种带补偿功能的高精度测温电路 |
Citations (5)
| Publication number | Priority date | Publication date | Assignee | Title |
|---|---|---|---|---|
| US4305288A (en) * | 1980-01-25 | 1981-12-15 | General Electric Company | Temperature sensing circuit |
| CN200993608Y (zh) * | 2006-12-25 | 2007-12-19 | 山东科技大学 | 一种高精度测温装置 |
| CN200996875Y (zh) * | 2006-09-15 | 2007-12-26 | 许陆孙 | 一种多通道温度测量记录仪 |
| CN201522341U (zh) * | 2009-07-16 | 2010-07-07 | 北京信息职业技术学院 | 一种高稳定性的热电阻温度测量电路 |
| CN201788034U (zh) * | 2010-09-17 | 2011-04-06 | 中国科学院海洋研究所 | 一种海水温度测量装置 |
-
2010
- 2010-09-17 CN CN 201010289443 patent/CN102401698B/zh not_active Expired - Fee Related
Patent Citations (5)
| Publication number | Priority date | Publication date | Assignee | Title |
|---|---|---|---|---|
| US4305288A (en) * | 1980-01-25 | 1981-12-15 | General Electric Company | Temperature sensing circuit |
| CN200996875Y (zh) * | 2006-09-15 | 2007-12-26 | 许陆孙 | 一种多通道温度测量记录仪 |
| CN200993608Y (zh) * | 2006-12-25 | 2007-12-19 | 山东科技大学 | 一种高精度测温装置 |
| CN201522341U (zh) * | 2009-07-16 | 2010-07-07 | 北京信息职业技术学院 | 一种高稳定性的热电阻温度测量电路 |
| CN201788034U (zh) * | 2010-09-17 | 2011-04-06 | 中国科学院海洋研究所 | 一种海水温度测量装置 |
Cited By (5)
| Publication number | Priority date | Publication date | Assignee | Title |
|---|---|---|---|---|
| CN105758548A (zh) * | 2014-12-15 | 2016-07-13 | 中车大连电力牵引研发中心有限公司 | 铂热电阻pt100的测温电路 |
| RU2589515C1 (ru) * | 2014-12-29 | 2016-07-10 | Российская Федерация, От Имени Которой Выступает Министерство Промышленности И Торговли Российской Федерации | Устройство определения параметров поля температуры в объеме водной среды, возмущенной движением корпуса судна или модели |
| CN104764539A (zh) * | 2015-04-09 | 2015-07-08 | 中国科学院半导体研究所 | 普适且输出可调的基于三极管的热敏电阻线性补偿电路 |
| CN105116228A (zh) * | 2015-09-16 | 2015-12-02 | 航宇救生装备有限公司 | 一种热敏电阻入水检测装置 |
| CN108931315A (zh) * | 2018-10-09 | 2018-12-04 | 国家海洋技术中心 | 一种基于ntc热敏电阻的温度测量电路 |
Also Published As
| Publication number | Publication date |
|---|---|
| CN102401698B (zh) | 2013-05-22 |
Similar Documents
| Publication | Publication Date | Title |
|---|---|---|
| CN102401698B (zh) | 一种海水温度测量系统 | |
| CN108931315B (zh) | 一种基于ntc热敏电阻的温度测量电路 | |
| CN104501986A (zh) | 一种高精度大量程温度测量系统 | |
| CN101957243B (zh) | 一种高精度温度测量装置及测量方法 | |
| CN203037265U (zh) | 一种温度补偿电路 | |
| CN106679842B (zh) | 一种采用基准电压补偿技术的测温方法和测温电路 | |
| CN106989847A (zh) | 铂电阻测温系统中的误差修正方法 | |
| CN201788034U (zh) | 一种海水温度测量装置 | |
| CN101149403A (zh) | 一种通过电热转换传感测量电流的方法及专用电热转换传感器 | |
| CN108151903A (zh) | 基于三线制pt100的高精度低温漂测温系统及其测量方法 | |
| CN204788736U (zh) | 工业在线校验仪校准用热电偶参考端温度补偿装置 | |
| CN204165669U (zh) | 一种用于射频功率测量的温度电压转换装置 | |
| CN204043810U (zh) | 一种热电偶信号冷端温度补偿装置 | |
| CN105445538A (zh) | 一种用于太赫兹频段的新型量热式功率计 | |
| CN104122469B (zh) | 一种提高测量热电材料Seebeck系数精度的方法 | |
| CN102809443A (zh) | 一种温度测量方法及电路 | |
| CN102645582A (zh) | 一种高精度测频系统 | |
| CN201672987U (zh) | 一种温度测量装置 | |
| CN113125048B (zh) | 可直接测量热偶型功率传感器的微量热计及功率基准系统 | |
| CN204241127U (zh) | 一种基于指数的热敏电阻温度补偿电路 | |
| CN201051023Y (zh) | 用于大枣烘房测量温湿度的探头 | |
| CN204422104U (zh) | 一种带测氧补偿的炉温仪 | |
| CN201464071U (zh) | 一种利用铂电阻测量的高精度温度测量装置 | |
| CN102998024B (zh) | 一种基于rl电路零输入响应的新型测温方法 | |
| CN202024830U (zh) | 一种能够测量太阳能电池板的高精度温度传感器 |
Legal Events
| Date | Code | Title | Description |
|---|---|---|---|
| C06 | Publication | ||
| PB01 | Publication | ||
| C10 | Entry into substantive examination | ||
| SE01 | Entry into force of request for substantive examination | ||
| C14 | Grant of patent or utility model | ||
| GR01 | Patent grant | ||
| CF01 | Termination of patent right due to non-payment of annual fee |
Granted publication date: 20130522 |
|
| CF01 | Termination of patent right due to non-payment of annual fee |