CN102392951A - 一种带有夜灯功能的台灯 - Google Patents
一种带有夜灯功能的台灯 Download PDFInfo
- Publication number
- CN102392951A CN102392951A CN2011101480093A CN201110148009A CN102392951A CN 102392951 A CN102392951 A CN 102392951A CN 2011101480093 A CN2011101480093 A CN 2011101480093A CN 201110148009 A CN201110148009 A CN 201110148009A CN 102392951 A CN102392951 A CN 102392951A
- Authority
- CN
- China
- Prior art keywords
- night
- light
- desk lamp
- lamp
- lamppost
- Prior art date
- Legal status (The legal status is an assumption and is not a legal conclusion. Google has not performed a legal analysis and makes no representation as to the accuracy of the status listed.)
- Pending
Links
- 230000006870 function Effects 0.000 claims description 26
- 238000005286 illumination Methods 0.000 claims description 21
- 230000005540 biological transmission Effects 0.000 claims description 3
- 239000003086 colorant Substances 0.000 claims description 3
- 239000000463 material Substances 0.000 claims description 3
- 238000000034 method Methods 0.000 claims description 3
- 230000009977 dual effect Effects 0.000 abstract 1
- 239000012141 concentrate Substances 0.000 description 1
- 229920001971 elastomer Polymers 0.000 description 1
- 239000000806 elastomer Substances 0.000 description 1
- 238000005265 energy consumption Methods 0.000 description 1
- 238000005516 engineering process Methods 0.000 description 1
- 239000002699 waste material Substances 0.000 description 1
Images
Landscapes
- Non-Portable Lighting Devices Or Systems Thereof (AREA)
- Arrangement Of Elements, Cooling, Sealing, Or The Like Of Lighting Devices (AREA)
Abstract
本发明公开了一种带有夜灯功能的台灯,该台灯包括底座、灯柱、照明灯体、电源线和照明电路,其特征在于,所述的灯柱内设有夜灯,该夜灯通过导线与台灯的照明电路接通,两者采用并联连接,所述的夜灯外部设有灯罩,灯罩可打开,灯罩与灯柱之间采用铰链连接。本发明揭示了一种带有夜灯功能的台灯,该台灯结构设计新颖,功能独特,在提供照明功能的同时还可以作为夜灯使用,一灯两用,节约了资源;同时,夜灯与台灯完美的结合,使夜灯的使用和收藏更为方便,特别适合家庭使用。
Description
技术领域
本发明涉及一种台灯,尤其涉及一种带有夜灯功能的新型台灯,属于电器产品技术领域。
背景技术
台灯是人们生活中用来照明的一种家用电器,根据结构特点一般分为两种,一种是立柱式台灯,一种是带有夹子的台灯。台灯的工作原理主要是把灯光集中在一小块区域内,使光线集中起来,提高照明强度,便于工作和学习。一般台灯用的灯泡是白炽灯或者节能灯泡。有些台灯还具有应急功能,用于停电时或无电照明时使用。
一些有新生儿的家庭,在夜间为了方便照看孩子,都会使用夜灯。现行的夜灯一般都为独立的照明灯具,其体积小、能耗低,应用非常广泛。但是,独立的夜灯在使用时都必须占用一个插座,由于插座一般都设置在墙角或床柜后,这些位置都会降低夜灯的照明功能,而如果使用插线板,则会增加夜灯的使用成本,使房间变得更为凌乱;当夜灯不使用时,人们为了安全起见都会拔下夜灯,使夜灯的使用变得很不方便;同时,作为独立的照明灯具,夜灯的使用在一定程度上也造成了资源的浪费。
发明内容
针对上述需求,本发明提供了一种带有夜灯功能的台灯,该台灯结构设计独特,即能照明,又能作为夜灯使用,使夜灯的使用更为方便,并在一定程度上节约了资源。
本发明是一种带有夜灯功能的台灯,该台灯包括底座、灯柱、照明灯体、电源线和照明电路,其特征在于,所述的灯柱内设有夜灯,该夜灯通过导线与台灯的照明电路接通,两者采用并联连接,所述的夜灯外部设有灯罩,灯罩可打开,灯罩与灯柱之间采用铰链连接。
在本发明一较佳实施例中,所述的灯柱内的夜灯可更换,其内可安装不同颜色和规格的夜灯。
在本发明一较佳实施例中,所述的灯罩采用透光性能优良的PC材料制成,使用时可180°打开。
在本发明一较佳实施例中,所述的灯罩与灯柱之间采用弹性锁扣实现闭合,弹性按钮设置在灯柱上。
在本发明一较佳实施例中,所述的底座上设置照明旋钮开关,该照明旋钮开关采用三档结构设计,一档用于开启台灯的主照明功能,二档用于关闭台灯的所有照明灯体,三档用于开启夜灯照明功能。
本发明揭示了一种带有夜灯功能的台灯,该台灯结构设计新颖,功能独特,在提供照明功能的同时还可以作为夜灯使用,一灯两用,节约了资源;同时,夜灯与台灯完美的结合,使夜灯的使用和收藏更为方便,特别适合家庭使用。
附图说明
下面结合附图和具体实施方式对本发明作进一步详细的说明:
图1是本发明实施例带有夜灯功能的台灯的结构示意图;
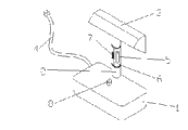
附图中各部件的标记如下: 1、底座,2、灯柱,3、照明灯体,4、电源线,5、夜灯,6、灯罩,7、弹性按钮,8、照明旋钮开关。
具体实施方式
下面结合附图对本发明的较佳实施例进行详细阐述,以使本发明的优点和特征能更易于被本领域技术人员理解,从而对本发明的保护范围做出更为清楚明确的界定。
图1是本发明实施例带有夜灯功能的台灯的结构示意图;该台灯包括底座1、灯柱2、照明灯体3、电源线4和照明电路,其特征在于,所述的灯柱2内设有夜灯5,该夜灯5通过导线与台灯的照明电路接通,两者采用并联连接,所述的夜灯5外部设有灯罩6,灯罩6可打开,灯罩6与灯柱2之间采用铰链连接。
本发明中提及的带有夜灯功能的台灯灯柱2内的夜灯5可更换,其内可安装不同颜色和规格的夜灯;灯罩6采用透光性能优良的PC材料制成,使用时可180°打开;同时,灯罩6与灯柱2之间采用弹性锁扣实现闭合,弹性按钮7设置在灯柱2上,按下弹性按钮7,其内的锁扣脱离锁孔,灯罩6可在内置弹性块的作用下自动弹开。
底座1上设置照明旋钮开关8,该照明旋钮开关8采用三档结构设计,一档用于开启台灯的主照明功能,二档用于关闭台灯的所有照明灯体,三档用于开启夜灯照明功能。
本发明揭示了一种带有夜灯功能的台灯,其特点是:该台灯结构设计新颖,功能独特,在提供照明功能的同时还可以作为夜灯使用,一灯两用,节约了资源;同时,夜灯与台灯完美的结合,使夜灯的使用和收藏更为方便,特别适合家庭使用。
以上所述,仅为本发明的具体实施方式,但本发明的保护范围并不局限于此,任何熟悉本领域的技术人员在本发明所揭露的技术范围内,可不经过创造性劳动想到的变化或替换,都应涵盖在本发明的保护范围之内。因此,本发明的保护范围应该以权利要求书所限定的保护范围为准。
Claims (5)
1.一种带有夜灯功能的台灯,该台灯包括底座、灯柱、照明灯体、电源线和照明电路,其特征在于,所述的灯柱内设有夜灯,该夜灯通过导线与台灯的照明电路接通,两者采用并联连接,所述的夜灯外部设有灯罩,灯罩可打开,灯罩与灯柱之间采用铰链连接。
2.根据权利要求1所述的带有夜灯功能的台灯,其特征在于,所述的灯柱内的夜灯可更换,其内可安装不同颜色和规格的夜灯。
3.根据权利要求1所述的带有夜灯功能的台灯,其特征在于,所述的灯罩采用透光性能优良的PC材料制成,使用时可180°打开。
4.根据权利要求3所述的带有夜灯功能的台灯,其特征在于,所述的灯罩与灯柱之间采用弹性锁扣实现闭合,弹性按钮设置在灯柱上。
5.根据权利要求1所述的带有夜灯功能的台灯,其特征在于,所述的底座上设置照明旋钮开关,该照明旋钮开关采用三档结构设计,一档用于开启台灯的主照明功能,二档用于关闭台灯的所有照明灯体,三档用于开启夜灯照明功能。
Priority Applications (1)
| Application Number | Priority Date | Filing Date | Title |
|---|---|---|---|
| CN2011101480093A CN102392951A (zh) | 2011-06-03 | 2011-06-03 | 一种带有夜灯功能的台灯 |
Applications Claiming Priority (1)
| Application Number | Priority Date | Filing Date | Title |
|---|---|---|---|
| CN2011101480093A CN102392951A (zh) | 2011-06-03 | 2011-06-03 | 一种带有夜灯功能的台灯 |
Publications (1)
| Publication Number | Publication Date |
|---|---|
| CN102392951A true CN102392951A (zh) | 2012-03-28 |
Family
ID=45860311
Family Applications (1)
| Application Number | Title | Priority Date | Filing Date |
|---|---|---|---|
| CN2011101480093A Pending CN102392951A (zh) | 2011-06-03 | 2011-06-03 | 一种带有夜灯功能的台灯 |
Country Status (1)
| Country | Link |
|---|---|
| CN (1) | CN102392951A (zh) |
Cited By (3)
| Publication number | Priority date | Publication date | Assignee | Title |
|---|---|---|---|---|
| CN105351871A (zh) * | 2014-01-26 | 2016-02-24 | 苏州汇诚智造工业设计有限公司 | 一种野外用led台灯的制造方法 |
| CN105822947A (zh) * | 2016-06-01 | 2016-08-03 | 童领 | 一种自动式两用台灯 |
| CN106090715A (zh) * | 2016-07-15 | 2016-11-09 | 宁波威涛电器有限公司 | 一种智能台灯 |
Citations (3)
| Publication number | Priority date | Publication date | Assignee | Title |
|---|---|---|---|---|
| CN2844654Y (zh) * | 2005-09-09 | 2006-12-06 | 王岳炉 | 带小夜灯的台灯 |
| CN201487698U (zh) * | 2009-08-26 | 2010-05-26 | 中山市古镇星迪灯饰厂 | 多功能灯具 |
| CN201599705U (zh) * | 2010-01-27 | 2010-10-06 | 东莞快灵通卡西尼电子科技有限公司 | 一种设置有小夜灯的台灯 |
-
2011
- 2011-06-03 CN CN2011101480093A patent/CN102392951A/zh active Pending
Patent Citations (3)
| Publication number | Priority date | Publication date | Assignee | Title |
|---|---|---|---|---|
| CN2844654Y (zh) * | 2005-09-09 | 2006-12-06 | 王岳炉 | 带小夜灯的台灯 |
| CN201487698U (zh) * | 2009-08-26 | 2010-05-26 | 中山市古镇星迪灯饰厂 | 多功能灯具 |
| CN201599705U (zh) * | 2010-01-27 | 2010-10-06 | 东莞快灵通卡西尼电子科技有限公司 | 一种设置有小夜灯的台灯 |
Cited By (4)
| Publication number | Priority date | Publication date | Assignee | Title |
|---|---|---|---|---|
| CN105351871A (zh) * | 2014-01-26 | 2016-02-24 | 苏州汇诚智造工业设计有限公司 | 一种野外用led台灯的制造方法 |
| CN105444097A (zh) * | 2014-01-26 | 2016-03-30 | 苏州汇诚智造工业设计有限公司 | 野外用led杀菌台灯的制造方法 |
| CN105822947A (zh) * | 2016-06-01 | 2016-08-03 | 童领 | 一种自动式两用台灯 |
| CN106090715A (zh) * | 2016-07-15 | 2016-11-09 | 宁波威涛电器有限公司 | 一种智能台灯 |
Similar Documents
| Publication | Publication Date | Title |
|---|---|---|
| CN102392951A (zh) | 一种带有夜灯功能的台灯 | |
| CN201831291U (zh) | 一种新型衣柜 | |
| CN201899113U (zh) | 一种带照明功能的衣橱 | |
| CN104921353A (zh) | 一种体温发电照明手套 | |
| CN204986620U (zh) | 磁吸供电式金属台灯 | |
| CN202708947U (zh) | 多功能led灯 | |
| CN202469704U (zh) | 一种多角度台灯 | |
| CN207018882U (zh) | 一种多功能台灯 | |
| CN203949085U (zh) | 一种太阳能吸灯 | |
| CN102384389A (zh) | 一种多功能台灯 | |
| CN202868450U (zh) | 多功能电子式照明装置 | |
| CN102734687B (zh) | 一种多功能台灯 | |
| CN202955559U (zh) | 多功能台灯 | |
| CN203201264U (zh) | 一种多功能门 | |
| CN204730012U (zh) | 一种节能台灯 | |
| CN202182370U (zh) | 一种带小夜灯的led台灯 | |
| CN104515101B (zh) | 一种灯具 | |
| CN202354845U (zh) | 带灯的床头柜 | |
| CN202484832U (zh) | 一种led太阳能台灯 | |
| CN201258566Y (zh) | 多功能天花扣板 | |
| CN201875675U (zh) | 收放式led键盘照明组件 | |
| CN202532371U (zh) | 太阳能遥控感应小夜灯 | |
| CN201803266U (zh) | 台式电脑键盘灯 | |
| CN201651974U (zh) | 一种夜光台灯 | |
| CN202469960U (zh) | 亮度可调钥匙挂灯 |
Legal Events
| Date | Code | Title | Description |
|---|---|---|---|
| C06 | Publication | ||
| PB01 | Publication | ||
| C10 | Entry into substantive examination | ||
| SE01 | Entry into force of request for substantive examination | ||
| C02 | Deemed withdrawal of patent application after publication (patent law 2001) | ||
| WD01 | Invention patent application deemed withdrawn after publication |
Application publication date: 20120328 |