CN102380625A - 一种切削内圆弧曲面的专用数控车床 - Google Patents
一种切削内圆弧曲面的专用数控车床 Download PDFInfo
- Publication number
- CN102380625A CN102380625A CN2011103608640A CN201110360864A CN102380625A CN 102380625 A CN102380625 A CN 102380625A CN 2011103608640 A CN2011103608640 A CN 2011103608640A CN 201110360864 A CN201110360864 A CN 201110360864A CN 102380625 A CN102380625 A CN 102380625A
- Authority
- CN
- China
- Prior art keywords
- axis
- guide rail
- sliding seat
- inner arc
- tool
- Prior art date
- Legal status (The legal status is an assumption and is not a legal conclusion. Google has not performed a legal analysis and makes no representation as to the accuracy of the status listed.)
- Granted
Links
- 238000005520 cutting process Methods 0.000 title claims abstract description 15
- 230000007246 mechanism Effects 0.000 claims abstract description 27
- 210000004907 gland Anatomy 0.000 claims description 2
- 239000000463 material Substances 0.000 abstract description 2
- 238000000034 method Methods 0.000 description 5
- 238000005516 engineering process Methods 0.000 description 3
- 238000010438 heat treatment Methods 0.000 description 3
- 238000003754 machining Methods 0.000 description 3
- 238000003672 processing method Methods 0.000 description 3
- 238000007514 turning Methods 0.000 description 3
- 229910001060 Gray iron Inorganic materials 0.000 description 2
- 238000009434 installation Methods 0.000 description 2
- 238000004519 manufacturing process Methods 0.000 description 2
- 240000007594 Oryza sativa Species 0.000 description 1
- 235000007164 Oryza sativa Nutrition 0.000 description 1
- 229910000831 Steel Inorganic materials 0.000 description 1
- 230000009286 beneficial effect Effects 0.000 description 1
- 238000005266 casting Methods 0.000 description 1
- 230000000694 effects Effects 0.000 description 1
- 238000003825 pressing Methods 0.000 description 1
- 235000009566 rice Nutrition 0.000 description 1
- 238000004904 shortening Methods 0.000 description 1
- 238000004088 simulation Methods 0.000 description 1
- 239000010959 steel Substances 0.000 description 1
- 230000003746 surface roughness Effects 0.000 description 1
Images
Landscapes
- Turning (AREA)
Abstract
一种切削内圆弧曲面的专用数控车床,包括主轴驱动部件,床身机架(1)的上表面安装可沿Z轴移动的下滑座(9),下滑座(9)的上表面安装可沿X轴移动的刀座(8),并设置下滑座(9)的Z轴进给伺服驱动机构(10)和刀座(8)的X轴进给伺服驱动机构,该刀座(8)设置装夹刀具的排式刀架装置。本发明性能稳定,切削效率高,可用于高效率车削多种规格的各种材料的内圆弧曲面工件。
Description
技术领域
本发明属于数控专用机床技术领域,具体涉及一种高效切削内圆弧曲面的专用数控车床,主要是解决高效车削内圆弧曲面时同时装夹多刀、缩短换刀行程和时间和直线移动换刀代替旋转换刀等加工工艺问题。
背景技术
内圆弧曲面工件在我国家电、模具、汽车制造及社会其它的各个领域,都广泛被应用。根据市场调查,仅仅是广东的湛江地区,光是电饭煲,每年的需求量达50000万个,而其中的发热盘是典型的内双圆弧曲面。根据内圆弧曲面工件的形状特点,主要加工方法是车削。目前的加工方法主要有两种,一是采用普通专用车床通过靠模加工,二是选用普通数控车床加工。前一种方法的缺点是由于主轴的转速不够高,机械控制定位没有反馈因而加工精度不稳定,后一种加工方法主要是换刀时行程太大,因而切削效率低,加工成本高。因此研发一种既可提高生产效率,又能保证加工精度的高效切削内圆弧曲面的专用数控车床显得十分重要。
发明内容
本发明的目的在于克服现有的工艺技术局限和不足,提供一种顺序换刀快、成本较低的适用于多种规格和各种材料的切削内圆弧曲面的专用数控车床专用数控机床。
本发明提供的一种切削内圆弧曲面的专用数控车床,包括主轴驱动部件,床身机架的上表面安装可沿Z轴移动的下滑座,下滑座的上表面安装可沿X轴移动的刀座,并设置下滑座的Z轴进给伺服驱动机构和刀座的X轴进给伺服驱动机构,该刀座设置装夹刀具的排式刀架装置,该排式刀架装置由开在刀座上面沿着X轴走向的导轨槽和并排装配在导轨槽上且可调整位置的至少二个刀架。
床身机架上表面、刀座下表面及下滑座上、下表面都加工有导轨面,床身机架上表面和下滑座下表面的导轨面形成Z轴移动的下导轨副,下滑座上表面和刀座下表面的导轨面形成X轴移动的上导轨副,Z轴进给伺服驱动机构和X轴进给伺服驱动机构均包括丝杆机构和交流伺服电动机。
主轴驱动部件的主轴通过前端的三对滚珠轴承和后端的两对滚珠轴承安装在主轴箱体里,两端向外伸出分别接有装夹机构和大皮带轮,在前端的三对滚珠轴承外侧安装有轴承盖,里侧安装有轴承压盖和前端调整圆螺母,在后端的两对滚珠轴承里侧有轴承挡圈,外侧有碟型弹簧、卸荷支承套和后端调整圆螺母,并由前端调整圆螺母、后端调整圆螺母及碟型弹簧共同组成调隙机构。
本发明的有益效果是:
实现一次装夹完成所有内圆弧曲面工件加工面的加工,提高加工效率,解决了内圆弧曲面难加工、加工效率低、成本高、表面加工精度低等问题。有效地缩短了加工时间,降低了劳动强度,降低了劳动成本,提高了工作效率和经济效益。
实现了一次多刀装夹,直线移动自动换刀,缩短换刀行程,实现换刀时间短、定位精度高的目的。
顺利实现了主轴转速达4000r/min的高转速、高精度切削,35~40s/件的高效切削。
附图说明
图1是发明的主视图;
图2是图1的左视图;
图3是发明的刀座部分的俯视图;
图4是发明的主轴驱动部件的局部剖视图。
具体实施方式
参照图1至图4,本发明提供的一种切削内圆弧曲面的专用数控车床,包括床身机架1、主轴驱动部件、电器柜12、数控显示器5和数控系统,主轴驱动部件由主轴交流伺服电动机2带动小皮带轮3转动,小皮带轮3通过皮带带动大皮带轮4转动,大皮带轮4再驱动主轴驱动部件中的主轴21转动,从而驱动装夹机构6。
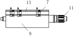
床身机架1的上表面安装可沿Z轴移动的下滑座9,即与主轴21平行的方向移动,下滑座9的上表面安装可沿X轴移动的刀座8,即与主轴21垂直的方向移动,并设置下滑座9的Z轴进给伺服驱动机构10和刀座8的X轴进给伺服驱动机构11,该刀座8设置装夹刀具的排式刀架装置,该排式刀架装置由开在刀座8上面沿着X轴走向的导轨槽13和并排装配在导轨槽13上且可调整位置的至少二个刀架7,图3中显示是三个,刀架7由夹刀架及压刀螺栓、连接螺栓组成,通过松开螺栓可使夹刀架在导轨槽13上移动,调整到合适位置再拧紧即可。该床身机架1由钢板焊接而成,是整台车床的支承件,下滑座9为灰铸铁件。
该床身机架1上表面、刀座9下表面及下滑座9上、下表面都加工有导轨面,床身机架1上表面和下滑座9下表面的导轨面形成Z轴移动的下导轨副,下滑座9上表面和刀座8下表面的导轨面形成X轴移动的上导轨副,Z轴进给伺服驱动机构10和X轴进给伺服驱动机构11均包括丝杆机构和交流伺服电动机,丝杆机构采用常规的结构,只要能实现所述的目的即可。
主轴驱动部件的主轴21通过前端的三对滚珠轴承24和后端的两对滚珠轴承19安装在主轴箱体14里,两端向外伸出分别接有装夹机构6和大皮带轮4,在前端的三对滚珠轴承24外侧安装有轴承盖17,里侧安装有轴承压盖23和前端调整圆螺母22,在后端的两对滚珠轴承19里侧有轴承挡圈20,外侧有碟型弹簧18、卸荷支承套16和后端调整圆螺母15,并由前端调整圆螺母22、后端调整圆螺母15及碟型弹簧18共同组成调隙机构。装夹机构6由三爪卡盘及卡盘座构成,主轴箱体14为灰铸铁铸件。
数控系统选用广东广州数控设备有限公司生产的980T数控系统,实现机床的数字控制功能。
应用例一:
现以广东茂名市凯星达电器有限公司使用本发明:高效切削内圆弧曲面的专用数控车床为例,说明本发明的具体使用情况。该公司用该专用数控车床加工如下所示的内圆弧曲面工件。
该零件需要加工的面有,外圆柱面、端面、内双圆弧面、内孔阶梯面等,车削发热盘前,先按加工面要求,在刀架7上装上五把刀,这些刀具的安装位置先按发热盘的具体尺寸要求计算好所需要的纵、横向行程,计算好准确的安装位置。机床工作时:
打开电器柜12的电源,将电源接通,开启数控显示器5,机床起动。制定工件加工工艺,编写输入数控加工程序,校验仿真加工程序,开动机床,机床回原点复位,对刀,建立零件加工原点。按下显示器5上的运行按钮,机床自动运行程序开始加工工件。加工工件过程表现为,顺序切削,连续换刀,由数控系统发出执行指令,伺服系统驱动进给执行机构直线移动,Z轴进给伺服驱动机构10起作用使刀具作纵向直线移动,X轴进给伺服驱动机构11起作用使刀具作横向移动,两机构同时作用,实现刀具纵、横向联动,作圆弧轨迹切削。每加工完一件工件,按下操作显示器上的程序运行停止按钮,将操作面板处于编辑状态,拆卸工件,重复上述操作继续加工第二件…加工效果表现为:内圆弧面的表面粗糙度可达0.4~1.6之间,表面光滑,无任何刀痕。每件工件完成时间为35~40s,达到高效高精度的目的。
Claims (3)
1.一种切削内圆弧曲面的专用数控车床,包括主轴驱动部件,其特征在于,床身机架(1)的上表面安装可沿Z轴移动的下滑座(9),下滑座(9)的上表面安装可沿X轴移动的刀座(8),并设置下滑座(9)的Z轴进给伺服驱动机构(10)和刀座(8)的X轴进给伺服驱动机构(11),该刀座(8)设置装夹刀具的排式刀架装置,该排式刀架装置由开在刀座(8)上面沿着X轴走向的导轨槽(13)和并排装配在导轨槽上且可调整位置的至少二个刀架(7)。
2.根据权利要求1所述的一种切削内圆弧曲面的专用数控车床,其特征在于,床身机架(1)上表面、刀座(8)下表面及下滑座(9)上、下表面都加工有导轨面,床身机架(1)上表面和下滑座(9)下表面的导轨面形成Z轴移动的下导轨副,下滑座(9)上表面和刀座(8)下表面的导轨面形成X轴移动的上导轨副,Z轴进给伺服驱动机构(10)和X轴进给伺服驱动机构(11)均包括丝杆机构和交流伺服电动机。
3.根据权利要求1所述的一种切削内圆弧曲面的专用数控车床,其特征在于,主轴驱动部件的主轴(21)通过前端的三对滚珠轴承(24)和后端的两对滚珠轴承(19)安装在主轴箱体(14)里,两端向外伸出分别接有装夹机构(6)和大皮带轮(4),在前端的三对滚珠轴承(24)外侧安装有轴承盖(17),里侧安装有轴承压盖(23)和前端调整圆螺母(22),在后端的两对滚珠轴承里侧有轴承挡圈,外侧有碟型弹簧(18)、卸荷支承套(16)和后端调整圆螺母(15),并由前端调整圆螺母(22)、后端调整圆螺母(15)及碟型弹簧(18)共同组成调隙机构。
Priority Applications (1)
| Application Number | Priority Date | Filing Date | Title |
|---|---|---|---|
| CN 201110360864 CN102380625B (zh) | 2011-11-15 | 2011-11-15 | 一种切削内圆弧曲面的专用数控车床 |
Applications Claiming Priority (1)
| Application Number | Priority Date | Filing Date | Title |
|---|---|---|---|
| CN 201110360864 CN102380625B (zh) | 2011-11-15 | 2011-11-15 | 一种切削内圆弧曲面的专用数控车床 |
Publications (2)
| Publication Number | Publication Date |
|---|---|
| CN102380625A true CN102380625A (zh) | 2012-03-21 |
| CN102380625B CN102380625B (zh) | 2013-04-17 |
Family
ID=45820687
Family Applications (1)
| Application Number | Title | Priority Date | Filing Date |
|---|---|---|---|
| CN 201110360864 Expired - Fee Related CN102380625B (zh) | 2011-11-15 | 2011-11-15 | 一种切削内圆弧曲面的专用数控车床 |
Country Status (1)
| Country | Link |
|---|---|
| CN (1) | CN102380625B (zh) |
Cited By (12)
| Publication number | Priority date | Publication date | Assignee | Title |
|---|---|---|---|---|
| CN103143735A (zh) * | 2013-03-21 | 2013-06-12 | 江苏宏大高精机床有限公司 | 车床安全防护结构 |
| CN103706816A (zh) * | 2013-12-26 | 2014-04-09 | 哈尔滨工业大学 | 一种超精密车削对刀装置 |
| CN103978272A (zh) * | 2014-05-28 | 2014-08-13 | 余姚市振兴工贸发展有限公司 | 一种加工端面圆弧的装置和加工工艺 |
| CN104259489A (zh) * | 2014-10-16 | 2015-01-07 | 上海久日机械有限公司 | 四轴两联动车削加工机 |
| CN104827054A (zh) * | 2015-05-05 | 2015-08-12 | 何小平 | 轴类零件的斜切面切削车床 |
| CN106914966A (zh) * | 2017-05-07 | 2017-07-04 | 梁春殿 | 一种碗具型腔加工机器 |
| CN107398566A (zh) * | 2016-05-22 | 2017-11-28 | 江海职业技术学院 | 一种无导轨卧式数控车削机床及控制方法 |
| CN110090969A (zh) * | 2019-05-20 | 2019-08-06 | 叶连波 | 一种汽车的模型零件手调式模拟设备 |
| CN111299710A (zh) * | 2019-07-27 | 2020-06-19 | 黄明珠 | 一种用于轴套加工的弧面切槽装置 |
| CN111752222A (zh) * | 2020-06-20 | 2020-10-09 | 珠海格力电器股份有限公司 | 一种多规格可调伺服驱动器及其控制方法 |
| CN113211011A (zh) * | 2021-05-10 | 2021-08-06 | 江苏星河阀门有限公司 | 一种用于加长接头生产的自动化设备 |
| CN118989364A (zh) * | 2024-10-25 | 2024-11-22 | 烟台斗昌重工科技有限公司 | 一种破碎锤生产加工用车床 |
Citations (5)
| Publication number | Priority date | Publication date | Assignee | Title |
|---|---|---|---|---|
| RO112004B1 (ro) * | 1996-03-18 | 1997-04-30 | Nicolae Dorin Pica | Strung normal cu comandă numerică |
| US6298758B1 (en) * | 2000-05-19 | 2001-10-09 | Hsuan-Lung Wu | Lathe with a polygon machining device |
| CN2734377Y (zh) * | 2004-09-08 | 2005-10-19 | 襄樊特种电机有限公司 | 双头数控专用车床 |
| CN101085469A (zh) * | 2006-06-06 | 2007-12-12 | 陈仲明 | 可同时加工两个零件的双轴数控车床 |
| CN201124238Y (zh) * | 2007-06-12 | 2008-10-01 | 高长泉 | 一种数控车床 |
-
2011
- 2011-11-15 CN CN 201110360864 patent/CN102380625B/zh not_active Expired - Fee Related
Patent Citations (5)
| Publication number | Priority date | Publication date | Assignee | Title |
|---|---|---|---|---|
| RO112004B1 (ro) * | 1996-03-18 | 1997-04-30 | Nicolae Dorin Pica | Strung normal cu comandă numerică |
| US6298758B1 (en) * | 2000-05-19 | 2001-10-09 | Hsuan-Lung Wu | Lathe with a polygon machining device |
| CN2734377Y (zh) * | 2004-09-08 | 2005-10-19 | 襄樊特种电机有限公司 | 双头数控专用车床 |
| CN101085469A (zh) * | 2006-06-06 | 2007-12-12 | 陈仲明 | 可同时加工两个零件的双轴数控车床 |
| CN201124238Y (zh) * | 2007-06-12 | 2008-10-01 | 高长泉 | 一种数控车床 |
Cited By (19)
| Publication number | Priority date | Publication date | Assignee | Title |
|---|---|---|---|---|
| CN103143735A (zh) * | 2013-03-21 | 2013-06-12 | 江苏宏大高精机床有限公司 | 车床安全防护结构 |
| CN103706816A (zh) * | 2013-12-26 | 2014-04-09 | 哈尔滨工业大学 | 一种超精密车削对刀装置 |
| CN103706816B (zh) * | 2013-12-26 | 2016-02-17 | 哈尔滨工业大学 | 一种超精密车削对刀装置 |
| CN103978272A (zh) * | 2014-05-28 | 2014-08-13 | 余姚市振兴工贸发展有限公司 | 一种加工端面圆弧的装置和加工工艺 |
| CN104259489B (zh) * | 2014-10-16 | 2017-09-12 | 上海久日机械有限公司 | 四轴两联动车削加工机 |
| CN104259489A (zh) * | 2014-10-16 | 2015-01-07 | 上海久日机械有限公司 | 四轴两联动车削加工机 |
| CN104827054A (zh) * | 2015-05-05 | 2015-08-12 | 何小平 | 轴类零件的斜切面切削车床 |
| CN107398566A (zh) * | 2016-05-22 | 2017-11-28 | 江海职业技术学院 | 一种无导轨卧式数控车削机床及控制方法 |
| CN107398566B (zh) * | 2016-05-22 | 2019-01-15 | 江海职业技术学院 | 一种无导轨卧式数控车削机床及控制方法 |
| CN106914966A (zh) * | 2017-05-07 | 2017-07-04 | 梁春殿 | 一种碗具型腔加工机器 |
| CN110090969A (zh) * | 2019-05-20 | 2019-08-06 | 叶连波 | 一种汽车的模型零件手调式模拟设备 |
| CN110090969B (zh) * | 2019-05-20 | 2020-11-24 | 景宁唯雅玩具设计工作室 | 一种汽车的模型零件手调式模拟设备 |
| CN111299710A (zh) * | 2019-07-27 | 2020-06-19 | 黄明珠 | 一种用于轴套加工的弧面切槽装置 |
| CN111299710B (zh) * | 2019-07-27 | 2021-05-04 | 新昌县澄潭镇科创机械配件厂 | 一种用于轴套加工的内侧弧面切槽装置 |
| CN111752222A (zh) * | 2020-06-20 | 2020-10-09 | 珠海格力电器股份有限公司 | 一种多规格可调伺服驱动器及其控制方法 |
| CN111752222B (zh) * | 2020-06-20 | 2022-02-08 | 珠海格力电器股份有限公司 | 一种多规格可调伺服驱动器及其控制方法 |
| CN113211011A (zh) * | 2021-05-10 | 2021-08-06 | 江苏星河阀门有限公司 | 一种用于加长接头生产的自动化设备 |
| CN118989364A (zh) * | 2024-10-25 | 2024-11-22 | 烟台斗昌重工科技有限公司 | 一种破碎锤生产加工用车床 |
| CN118989364B (zh) * | 2024-10-25 | 2025-01-03 | 烟台斗昌重工科技有限公司 | 一种破碎锤生产加工用车床 |
Also Published As
| Publication number | Publication date |
|---|---|
| CN102380625B (zh) | 2013-04-17 |
Similar Documents
| Publication | Publication Date | Title |
|---|---|---|
| CN102380625A (zh) | 一种切削内圆弧曲面的专用数控车床 | |
| CN103056658B (zh) | 一种集合式机床 | |
| CN101856789B (zh) | 定柱动梁式龙门数控铣磨一体机床 | |
| CN203696067U (zh) | 轮毂粗精铣直槽机床 | |
| CN102366889A (zh) | 用于球面切削的高速精密自动化数控机床 | |
| CN102205437B (zh) | 四头四工位钳子刃口数控铣床 | |
| CN201596896U (zh) | 双梁四动数控镗铣磨床 | |
| CN202240452U (zh) | 一种闸阀密封面数控车镗床 | |
| CN202963995U (zh) | 一种多功能自动机床 | |
| CN104551685A (zh) | 正轴有五轴结构的重切走心式车铣机床 | |
| CN213615415U (zh) | 一种提高气缸座加工精度的机床 | |
| CN203725873U (zh) | 数控铣床 | |
| CN203092127U (zh) | 一种车磨复合加工机床 | |
| CN202910564U (zh) | 多功能数控机床 | |
| CN213795578U (zh) | 一种车铣复合机床 | |
| CN206047595U (zh) | 一种适用于竖式车铣复合加工的车床 | |
| CN104551686A (zh) | 正轴机构配合第三轴组机构形成的六轴重切走心式车铣机床 | |
| CN204913265U (zh) | 硬轨排刀车铣复合数控车床 | |
| CN103551932A (zh) | 一种双面磨削刀剪的数控双头专用磨床 | |
| CN203918438U (zh) | 车铣复合数控机床 | |
| CN201988743U (zh) | 一种数控机床后端切削刀具 | |
| CN108772752B (zh) | 一种高精度激光多点定位数控机床 | |
| CN207668876U (zh) | 一种具有立式车铣床及落地铣镗床复合功能的重型机床 | |
| CN218517868U (zh) | 一种异型螺纹孔加工工装 | |
| CN204725207U (zh) | 一种数控纵切走心机上的第三轴组结构 |
Legal Events
| Date | Code | Title | Description |
|---|---|---|---|
| C06 | Publication | ||
| PB01 | Publication | ||
| C10 | Entry into substantive examination | ||
| SE01 | Entry into force of request for substantive examination | ||
| C14 | Grant of patent or utility model | ||
| GR01 | Patent grant | ||
| C17 | Cessation of patent right | ||
| CF01 | Termination of patent right due to non-payment of annual fee |
Granted publication date: 20130417 Termination date: 20131115 |