CN102356959A - Chair with headrest - Google Patents

Chair with headrest Download PDF

Info

Publication number
CN102356959A
CN102356959A CN2011102716402A CN201110271640A CN102356959A CN 102356959 A CN102356959 A CN 102356959A CN 2011102716402 A CN2011102716402 A CN 2011102716402A CN 201110271640 A CN201110271640 A CN 201110271640A CN 102356959 A CN102356959 A CN 102356959A
Authority
CN
China
Prior art keywords
seat
headrest
backrest
cushion
chair
Prior art date
Legal status (The legal status is an assumption and is not a legal conclusion. Google has not performed a legal analysis and makes no representation as to the accuracy of the status listed.)
Granted
Application number
CN2011102716402A
Other languages
Chinese (zh)
Other versions
CN102356959B (en
Inventor
傅建华
Current Assignee (The listed assignees may be inaccurate. Google has not performed a legal analysis and makes no representation or warranty as to the accuracy of the list.)
Individual
Original Assignee
Individual
Priority date (The priority date is an assumption and is not a legal conclusion. Google has not performed a legal analysis and makes no representation as to the accuracy of the date listed.)
Filing date
Publication date
Application filed by Individual filed Critical Individual
Priority to CN201110271640.2A priority Critical patent/CN102356959B/en
Publication of CN102356959A publication Critical patent/CN102356959A/en
Application granted granted Critical
Publication of CN102356959B publication Critical patent/CN102356959B/en
Expired - Fee Related legal-status Critical Current
Anticipated expiration legal-status Critical

Links

Images

Landscapes

  • Chair Legs, Seat Parts, And Backrests (AREA)
  • Seats For Vehicles (AREA)

Abstract

本发明公开了一种具有头枕的椅子,包括坐垫、靠背、椅座和头枕,所述靠背安装在靠背座上,所述靠背座与椅座铰接,所述坐垫安装在坐垫座上,所述坐垫座与椅座活动连接,所述靠背座下部与坐垫座后部活动连接;所述靠背座上端铰接有能够前后转动的头枕架,头枕架上安装头枕,头枕架上连接有能够拉动其转动的连杆,连杆上端与头枕架铰接,连杆下端与坐垫座后部铰接。本技术方案解决了现有技术中具有头枕的椅子在靠背倒下过程中固定不动的头枕影响使用舒适性的问题,采用坐垫与头枕联动的设计提高了使用舒适性。

Figure 201110271640

The invention discloses a chair with a headrest, comprising a cushion, a backrest, a seat and a headrest, the backrest is mounted on the backrest, the backrest is hinged to the seat, the cushion is mounted on the cushion seat, The cushion seat is movably connected with the chair seat, and the lower part of the backrest is movably connected with the rear part of the cushion seat; the upper end of the backrest is hinged with a headrest frame capable of rotating back and forth, a headrest is installed on the headrest frame, and a headrest is mounted on the headrest frame. A connecting rod capable of pulling it to rotate is connected, the upper end of the connecting rod is hinged with the headrest frame, and the lower end of the connecting rod is hinged with the rear part of the cushion seat. This technical solution solves the problem in the prior art that the fixed headrest of the chair with the headrest affects the comfort of use during the process of the backrest falling down, and the design of the linkage between the seat cushion and the headrest improves the comfort of use.

Figure 201110271640

Description

Chair with headrest
Technical field
The invention belongs to the furniture technical field, relate in particular to a kind of chair with headrest.
Background technology
Because the raising of people's living standard, quality of life requires also increasingly high, and traditional wooden chair, bamboo chair are attractive in appearance by pattern gradually; The chair of diverse in function replaces, and the design of chair is more and more hommization also, and its purpose of design is that the consumer is used is more comfortable mostly; More convenient, wherein have a kind of back can adjust the reclining angle, the people can regulate different angles let oneself be seated more comfortable; But in the process that the chair back falls backward, because the center of rotation and the radius of gyration of the center of rotation of the chair back and the radius of gyration and human body are different, backrest can upwards draw user's upper garment under function of friction; So not only can cause the wrinkle of clothes, make clothing not attractive in appearance, in the time of serious even can damage dress material; And draw on the clothes and expose the back easily, make the user cause embarrassment in some credit unions.For this reason inventor's chair of having invented the interlock of multiple cushion and backrest with avoid backrest by under the time can be with the clothing pull-up.But for the chair that has headrest in the prior art, fixed headrest influences comfort equally in backrest falls down process.
Summary of the invention
In order to solve above-mentioned technical problem, the purpose of this invention is to provide a kind of chair with headrest, in backrest fell down process, interlock had improved comfort with headrest through cushion.
In order to reach above-mentioned purpose, the technical scheme below the present invention has adopted:
A kind of chair with headrest comprises cushion, backrest, seat support and headrest, and said backrest is installed on the backrest seat; Said backrest seat and seat support are hinged; Said cushion is installed on the cushion seat, and said cushion seat and seat support flexibly connect, and said backrest seat bottom and cushion seat rear portion flexibly connect; Said backrest seat upper end be hinged with can before and after the headrest frame that rotates, on the headrest frame headrest is installed, be connected with the connecting rod that can spur its rotation on the headrest frame, small end is hinged with the headrest frame, connecting rod lower end and cushion seat rear portion are hinged.
The multiple structure of cushion and backrest interlock can be referring to the patent documentation before the inventor, and as preferably, said cushion seat is connected through articulating device with seat support, and said backrest seat bottom and cushion seat rear portion are hinged; Wherein, Said articulating device comprises a fixed part and a movable part; Fixed part and movable part are slidingly connected, said fixed part be fixedly installed on the said cushion seat or said seat support on, then said movable part rotate be arranged on the said seat support or said cushion seat on.
As preferably, said fixed part is a kind of in guide rod, track, guide rail, sliding sleeve, roller or the slide block, a kind of in the guide rod, track, guide rail, sliding sleeve, roller or the slide block that are complementary with said fixed part of said movable part.
As preferably, said cushion seat is connected with two articulating devices of seat support through both sides.
As preferably, said articulating device also comprises the buffer unit that the relative slip between fixed part and the movable part is cushioned.Can avoid backrest layback like this and reset too fast, influence is used comfortable and safe.Further preferred, said buffer unit is the spring that is arranged between fixed part and the movable part.
As preferably, the pin joint of said backrest seat and cushion seat is positioned at the extension intersection of cushion and backrest upper surface.Can further guarantee comfort and simple and reasonable like this.
As preferably, said seat support both sides are set with arm-rest frame, and said backrest seat and seat support are hinged to be meant that the both sides arm-rest frame on said backrest seat and the seat support is hinged.
The swivel chair seat of said seat support for rotating.
The present invention has solved the problem that the chair fixed headrest in backrest falls down process that has headrest in the prior art influences comfort owing to adopted above technical scheme, adopts the cushion and the design of headrest interlock to improve comfort.
Description of drawings
Fig. 1 is the structural representation of embodiment 1.
The specific embodiment
Do a detailed explanation below in conjunction with the accompanying drawing specific embodiments of the invention.
Embodiment 1:
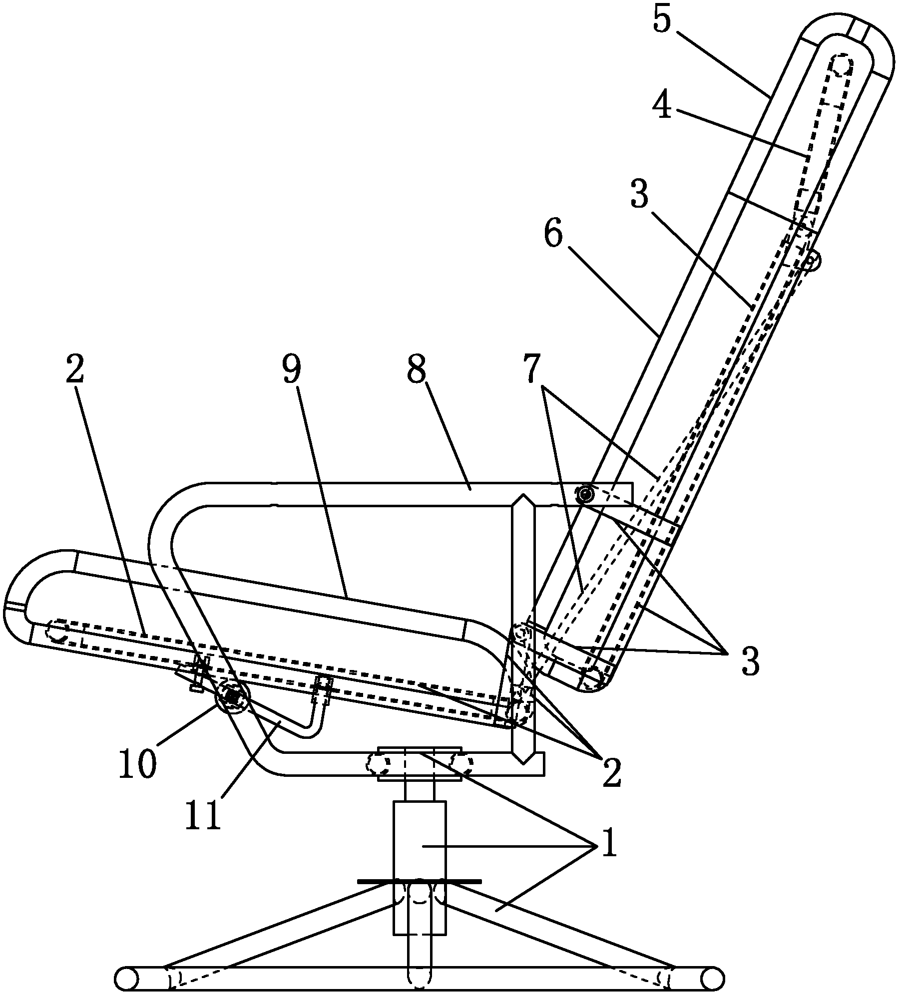
A kind of chair as shown in Figure 1 with headrest; Comprise cushion 9, backrest 6, seat support 1; Said backrest 6 is installed on the backrest seat 3, and said backrest seat 3 is hinged with seat support 1, and said cushion 9 is installed on the cushion seat 2; Said cushion seat 2 and seat support 1 are connected through articulating device, and said backrest seat 3 bottoms and cushion seat 2 rear portions are hinged; Wherein, said articulating device comprises a fixed part and a movable part, and fixed part and movable part are slidingly connected, and said fixed part is fixedly installed on the said cushion seat 2, and then said movable part rotates and is arranged on the said seat support 1.Said fixed part is a guide rod 11, and said movable part is the sliding sleeve 10 that is complementary with said fixed part.Said cushion seat 2 is connected with two articulating devices of seat support 1 through both sides.The pin joint of said backrest seat 3 and cushion seat 2 is positioned at the extension intersection of cushion 9 and backrest 6 both upper surfaces.Said seat support 1 both sides are set with arm-rest frame 8, and said backrest seat 3 and seat support 1 are hinged to be meant that said backrest seat 3 is hinged with the both sides arm-rest frame 8 on the seat support 1.The swivel chair seat of said seat support 1 for rotating.Said backrest seat 3 upper ends be hinged with can before and after the headrest frame 4 that rotates, on the headrest frame 4 headrest 5 is installed, be connected with the connecting rod 7 that can spur its rotation on the headrest frame 4, connecting rod 7 upper ends are hinged with headrest frame 4, connecting rod 7 lower ends and cushion seat 2 rear portions are hinged.
The people is sitting in when fall the back on the chair, and backrest 6 rotates backward with backrest seat 3, and backrest seat 3 lower ends promote cushion seat 2 forward; Cushion seat 2 moves then cushion 9 along guide rod 11 and upwards sees off forward, has so just realized the interlock of backrest 6 with cushion 9, guaranteed cushion 9 rear ends to the distance of backrest 6 bottoms along with backrest layback process keeps constant basically; Avoid pullling the clothing of rear waist; Simultaneously, backrest seat 3 drivening rods 7, thus connecting rod 7 pulling headrest framves 4 make its hypsokinesis improve comfort; When the people sat up, backrest 6 rotated backrest seat 3 lower end pulled backwards cushion seats 2 forward with backrest seat 3; Cushion seat 2 moves then along guide rod 11 that cushion 9 moves down backward, so just realized the interlock of backrest 6 with cushion 9, guaranteed cushion 9 rear ends to the distance of backrest 6 bottoms along with the backrest process maintenance of leaning forward is constant basically; Avoid the contracting clothing of wrinkle rear waist; Simultaneously, backrest seat 3 drivening rods 7 improve comfort thereby connecting rod 7 pulling headrest framves 4 lean forward it.

Claims (9)

1. chair with headrest; Comprise cushion (9), backrest (6), seat support (1) and headrest (5), it is characterized in that said backrest (6) is installed on the backrest seat (3); Said backrest seat (3) is hinged with seat support (1); Said cushion (9) is installed on the cushion seat (2), and said cushion seat (2) flexibly connects with seat support (1), and said backrest seat (3) bottom and cushion seat (2) rear portion flexibly connect; Said backrest seat (3) upper end be hinged with can before and after the headrest frame (4) that rotates; Headrest frame (4) is gone up headrest (5) is installed; Be connected with the connecting rod (7) that can spur its rotation on the headrest frame (4), connecting rod (7) upper end is hinged with headrest frame (4), and connecting rod (7) lower end and cushion seat (2) rear portion are hinged.
2. a kind of chair with headrest according to claim 1 is characterized in that, said cushion seat (2) is connected through articulating device with seat support (1), and said backrest seat (3) bottom and cushion seat (2) rear portion are hinged; Wherein, Said articulating device comprises a fixed part and a movable part; Fixed part and movable part are slidingly connected; Said fixed part be fixedly installed on that said cushion seat (2) is gone up or said seat support (1) on, then said movable part rotate be arranged on that said seat support (1) is gone up or said cushion seat (2) on.
3. a kind of chair according to claim 2 with headrest; It is characterized in that; Said fixed part is a kind of in guide rod, track, guide rail, sliding sleeve, roller or the slide block, a kind of in the guide rod, track, guide rail, sliding sleeve, roller or the slide block that are complementary with said fixed part of said movable part.
4. a kind of chair with headrest according to claim 2 is characterized in that, said cushion seat (2) is connected with two articulating devices of seat support (1) through both sides.
5. a kind of chair with headrest according to claim 2 is characterized in that said articulating device also comprises the buffer unit that the relative slip between fixed part and the movable part is cushioned.
6. a kind of chair with headrest according to claim 5 is characterized in that said buffer unit is the spring that is arranged between fixed part and the movable part.
7. a kind of chair with headrest according to claim 2 is characterized in that, the pin joint of said backrest seat (3) and cushion seat (2) is positioned at the extension intersection of cushion (9) and both upper surfaces of backrest (6).
8. according to each described a kind of chair in the claim 1 to 7 with headrest; It is characterized in that; Said seat support (1) both sides are set with arm-rest frame (8), and said backrest seat (3) is hinged with the both sides arm-rest frame (8) on the seat support (1) with the hinged said backrest seat (3) that is meant of seat support (1).
9. according to each described a kind of chair in the claim 1 to 7, it is characterized in that the swivel chair seat of said seat support (1) for rotating with headrest.
CN201110271640.2A 2011-09-15 2011-09-15 Chair with headrest Expired - Fee Related CN102356959B (en)

Priority Applications (1)

Application Number Priority Date Filing Date Title
CN201110271640.2A CN102356959B (en) 2011-09-15 2011-09-15 Chair with headrest

Applications Claiming Priority (1)

Application Number Priority Date Filing Date Title
CN201110271640.2A CN102356959B (en) 2011-09-15 2011-09-15 Chair with headrest

Publications (2)

Publication Number Publication Date
CN102356959A true CN102356959A (en) 2012-02-22
CN102356959B CN102356959B (en) 2014-11-26

Family

ID=45582382

Family Applications (1)

Application Number Title Priority Date Filing Date
CN201110271640.2A Expired - Fee Related CN102356959B (en) 2011-09-15 2011-09-15 Chair with headrest

Country Status (1)

Country Link
CN (1) CN102356959B (en)

Cited By (3)

* Cited by examiner, † Cited by third party
Publication number Priority date Publication date Assignee Title
CN105193117A (en) * 2015-10-22 2015-12-30 安吉县盛信办公家具有限公司 Sofa lifting bracing structure
CN109177836A (en) * 2018-09-27 2019-01-11 延锋安道拓座椅有限公司 A kind of headrest cushion-linkage seat
CN111616541A (en) * 2020-06-30 2020-09-04 恒林家居股份有限公司 Chair frame

Citations (7)

* Cited by examiner, † Cited by third party
Publication number Priority date Publication date Assignee Title
CN201175119Y (en) * 2007-05-24 2009-01-07 浙江泰普森休闲用品有限公司 Seating reclining chair with pillow
CN201244174Y (en) * 2008-09-05 2009-05-27 李日文 Multifunctional body-building massage rehabiliation apparatus
CN201295010Y (en) * 2008-11-07 2009-08-26 林春山 Adjustable arm-chair
CN101756535A (en) * 2009-12-22 2010-06-30 谭干荣 Chair with seat sliding to drive backrest to incline
CN201591309U (en) * 2009-12-09 2010-09-29 纪清辉 Headrest linkage structure of deck chair
CN201617459U (en) * 2009-12-29 2010-11-03 林长贞 A chair with an adjustable pillow
CN202234043U (en) * 2011-09-15 2012-05-30 傅建华 Chair with headrest

Patent Citations (7)

* Cited by examiner, † Cited by third party
Publication number Priority date Publication date Assignee Title
CN201175119Y (en) * 2007-05-24 2009-01-07 浙江泰普森休闲用品有限公司 Seating reclining chair with pillow
CN201244174Y (en) * 2008-09-05 2009-05-27 李日文 Multifunctional body-building massage rehabiliation apparatus
CN201295010Y (en) * 2008-11-07 2009-08-26 林春山 Adjustable arm-chair
CN201591309U (en) * 2009-12-09 2010-09-29 纪清辉 Headrest linkage structure of deck chair
CN101756535A (en) * 2009-12-22 2010-06-30 谭干荣 Chair with seat sliding to drive backrest to incline
CN201617459U (en) * 2009-12-29 2010-11-03 林长贞 A chair with an adjustable pillow
CN202234043U (en) * 2011-09-15 2012-05-30 傅建华 Chair with headrest

Cited By (4)

* Cited by examiner, † Cited by third party
Publication number Priority date Publication date Assignee Title
CN105193117A (en) * 2015-10-22 2015-12-30 安吉县盛信办公家具有限公司 Sofa lifting bracing structure
CN109177836A (en) * 2018-09-27 2019-01-11 延锋安道拓座椅有限公司 A kind of headrest cushion-linkage seat
CN109177836B (en) * 2018-09-27 2020-06-05 延锋安道拓座椅有限公司 Headrest cushion linkage seat
CN111616541A (en) * 2020-06-30 2020-09-04 恒林家居股份有限公司 Chair frame

Also Published As

Publication number Publication date
CN102356959B (en) 2014-11-26

Similar Documents

Publication Publication Date Title
CN204654310U (en) The folding seat of Armrest
CN102283521B (en) Chair with linked backrest and seat cushion
CN202496753U (en) Chair with leg plate
CN102356959A (en) Chair with headrest
CN106108444B (en) Frame structure for reclining chair
CN202234042U (en) Chair with backrest linked with cushion
CN102356960B (en) Backrest-cushion linked chair
CN202179313U (en) Chair with backrest linked with seat cushion
CN203073790U (en) Office swivel chair with collected foot pads
CN202234043U (en) Chair with headrest
CN206333616U (en) Multi-pose adjustable computer chair
CN106073251B (en) Office chair mechanism with adjustable posture
CN204427275U (en) A kind of Portable folding chair
CN203000027U (en) Office leisure chair with continuously shaking type chair back
CN202077933U (en) Rotary rattan sofa
CN102188112B (en) Improvement on S-shaped sofa chair for sitting and laying
CN201755298U (en) Massage chair retractable mechanism
CN103239052A (en) Sofa
CN204132873U (en) Old man's rocking chair
CN203852070U (en) Lumbar muscle strain preventing multifunctional chair
CN202919621U (en) Multi-purpose rotating sofa
CN206453579U (en) A kind of sofa with sliding support plate
CN207679195U (en) Electric Frame of sofa
CN201641100U (en) Recliner
CN209391465U (en) A kind of chair back seat linkage structure

Legal Events

Date Code Title Description
C06 Publication
PB01 Publication
C10 Entry into substantive examination
SE01 Entry into force of request for substantive examination
C14 Grant of patent or utility model
GR01 Patent grant
CF01 Termination of patent right due to non-payment of annual fee
CF01 Termination of patent right due to non-payment of annual fee

Granted publication date: 20141126