CN102345850B - Thermal recovery system with improved thermal efficiency and thermoelectric combined production system equipped with the thermal recovery system - Google Patents
Thermal recovery system with improved thermal efficiency and thermoelectric combined production system equipped with the thermal recovery system Download PDFInfo
- Publication number
- CN102345850B CN102345850B CN201110009977.6A CN201110009977A CN102345850B CN 102345850 B CN102345850 B CN 102345850B CN 201110009977 A CN201110009977 A CN 201110009977A CN 102345850 B CN102345850 B CN 102345850B
- Authority
- CN
- China
- Prior art keywords
- gas
- combustion
- chamber
- heat recovery
- fuel
- Prior art date
- Legal status (The legal status is an assumption and is not a legal conclusion. Google has not performed a legal analysis and makes no representation as to the accuracy of the status listed.)
- Expired - Fee Related
Links
Images
Classifications
-
- Y—GENERAL TAGGING OF NEW TECHNOLOGICAL DEVELOPMENTS; GENERAL TAGGING OF CROSS-SECTIONAL TECHNOLOGIES SPANNING OVER SEVERAL SECTIONS OF THE IPC; TECHNICAL SUBJECTS COVERED BY FORMER USPC CROSS-REFERENCE ART COLLECTIONS [XRACs] AND DIGESTS
- Y02—TECHNOLOGIES OR APPLICATIONS FOR MITIGATION OR ADAPTATION AGAINST CLIMATE CHANGE
- Y02E—REDUCTION OF GREENHOUSE GAS [GHG] EMISSIONS, RELATED TO ENERGY GENERATION, TRANSMISSION OR DISTRIBUTION
- Y02E20/00—Combustion technologies with mitigation potential
- Y02E20/12—Heat utilisation in combustion or incineration of waste
Landscapes
- Solid-Fuel Combustion (AREA)
Abstract
本发明提供一种具有改进的热回收率的热回收系统及利用该系统的热电联产系统,热回收系统包括多个燃烧设备,其中的每一个包括:燃烧容器,接收外部供应的燃烧空气,并且使容置于其中的燃料燃烧;供料单元,将燃料供应到燃烧室;燃气排出单元,设置于燃烧容器的上部,燃气排出单元的下部与燃烧容器的上部相通,通过燃气排出单元排出高温燃气,高温燃气是通过使从供料单元向燃烧容器供应的燃料燃烧产生的;集气室,与多个燃烧设备相连,将在多个燃烧设备中产生的高温燃气收集到一处;锅炉,接收在集气室中的高温燃气,并且通过热交换过程从所供应的燃气收集热量。本发明保证了装入燃烧室内部的固体燃料完全燃烧,减少了热量损失。
The present invention provides a heat recovery system having an improved heat recovery rate and a cogeneration system using the system, the heat recovery system includes a plurality of combustion devices, each of which includes: a combustion vessel receiving externally supplied combustion air, And burn the fuel contained therein; the feeding unit supplies the fuel to the combustion chamber; the gas discharge unit is arranged on the upper part of the combustion container, the lower part of the gas discharge unit communicates with the upper part of the combustion container, and discharges high temperature through the gas discharge unit Gas, high-temperature gas is produced by burning fuel supplied from a feed unit to a combustion container; a gas collection chamber, connected to a plurality of combustion devices, collects high-temperature gas generated in a plurality of combustion devices in one place; boiler, Receives the high temperature gas in the plenum and collects heat from the supplied gas through a heat exchange process. The invention ensures complete combustion of the solid fuel loaded into the combustion chamber and reduces heat loss.
Description
技术领域 technical field
本发明涉及一种具有改进的热回收率的热回收系统,尤其涉及这样一种热回收系统,即该热回收系统收集来自燃气的热量并且将所收集的热量用作回收能源,其中,燃气是通过使燃烧室中的固体燃料等燃烧而生成的;并且涉及一种使用该热回收系统的热电联产系统。The present invention relates to a heat recovery system with improved heat recovery rate, and more particularly to a heat recovery system which collects heat from gas and uses the collected heat as recovery energy, wherein the gas is Generated by burning solid fuel, etc. in a combustion chamber; and relates to a combined heat and power system using the heat recovery system.
背景技术 Background technique
通常,需要工业热水、高温蒸汽或气体的工业设施分别使用燃烧装置生成热能,燃烧装置在燃烧容器中点燃燃料并且使燃料燃烧。另外,从经济效率和资源再生的方面考虑,固体燃料正在广泛地用作在燃烧装置中使用的燃料,例如,将废物变成燃料的垃圾衍生燃料(Refuse Derived Fuel,RDF)或将废弃的塑料废物变成燃料的垃圾塑料燃料(Refuse Plastic Fuel,RPF)。In general, industrial facilities that require industrial hot water, high-temperature steam or gas, respectively, generate thermal energy using a combustion device that ignites and burns fuel in a combustion vessel. In addition, from the viewpoint of economic efficiency and resource regeneration, solid fuels are widely used as fuels used in combustion devices, for example, Refuse Derived Fuel (RDF) that turns waste into fuel or waste plastic Refuse Plastic Fuel (RPF) that turns waste into fuel.
然而,由于这些现有的燃烧设备利用了将大量的固体燃料放入燃烧容器的底部并且使这些固体燃料燃烧的方法,因此这些固体燃料可能不完全燃烧,因而造成固体燃料的浪费,且降低了热效率。另外,由于每次都会生成大量的灰烬,因此不容易构建残留灰烬的自动处理,并且不方便将残留的灰烬从燃烧容器的底部取出来。此外,如果固体燃料在燃烧容器的底部已经完全燃烧,则应将新的固体燃料放入燃烧容器的底部然后再次点燃,从而难以执行连续燃烧过程并且使热值不均。However, since these existing combustion devices utilize a method of putting a large amount of solid fuel into the bottom of the combustion container and burning the solid fuel, the solid fuel may not be completely burned, thereby causing waste of solid fuel and reducing Thermal efficiency. In addition, since a large amount of ash is generated every time, it is not easy to build an automatic disposal of the residual ash, and it is inconvenient to take the residual ash out from the bottom of the burning container. In addition, if the solid fuel has been completely burned at the bottom of the combustion container, new solid fuel should be put into the bottom of the combustion container and then ignited again, making it difficult to perform a continuous combustion process and making the calorific value uneven.
另外,这些固体燃料会引起如下问题,即在燃烧期间排出污染环境的大量气体或微粒,如灰尘、一氧化碳、烟灰、气态HCL、SOx、NOx和二恶英(dioxin)。In addition, these solid fuels cause a problem of emitting a large amount of gases or particles polluting the environment during combustion, such as dust, carbon monoxide, soot, gaseous HCL, SOx, NOx, and dioxin.
为了解决这些问题,已开发出了图1所示的燃烧装置1000。根据现有技术的集热燃烧装置1000使从燃料加料器3供应到燃烧容器1的固体燃料燃烧,从而生成热燃气。这里,经由空气冷却室150、中间壁140的通道140a、回转流供应室130和内壁120的通道120a将燃烧燃料所需的空气从外部供应到燃烧室110。In order to solve these problems, a
在使用燃烧装置1000的现有的热回收系统的情况下,锅炉(未示出)连接到燃烧装置1000,并且经由肘形燃气排气管4将燃烧室110中的燃料燃烧而生成的高温燃气供应到锅炉,从而收集来自燃气的热量,进而产生工艺蒸汽或热水。In the case of using the existing heat recovery system of the
然而,由于在现有的用于收集热量的热回收系统是将单个锅炉连接到单个燃烧设备,所以难以获得大量的燃气。为了获得大量的燃气,燃烧设备中的燃烧容器的尺寸需要很大,但是燃烧容器的尺寸的增大受到限制。因此,难以获得高压蒸汽。However, since a single boiler is connected to a single combustion device in the existing heat recovery system for collecting heat, it is difficult to obtain a large amount of gas. In order to obtain a large amount of gas, the size of the combustion vessel in the combustion equipment needs to be large, but the increase in the size of the combustion vessel is limited. Therefore, it is difficult to obtain high-pressure steam.
另外,在现有的热回收系统中使用的燃烧装置1000中所包含的燃气排气管4由耐火壁形成,由于耐火壁持续接触高温热燃气,时间长了,燃气排气管4可能会破裂。这样,燃气排气管4可能不能用太长时间就得再换新的燃气排气管。另外,包含在燃气中的灰烬或微小颗粒可能会粘到耐火壁上,因而不容易被移除。In addition, the gas exhaust pipe 4 contained in the
另外,燃烧空气仅供应到已经装入燃烧室中的固体燃料的外部。相应地,固体燃料的外部充分燃烧,但是其内部可能难以接触燃烧所需的空气,因此可能不完全燃烧。这样就降低了燃烧效率。另外,燃烧室的内壁持久地暴露于高温燃气之下,长期使用会变形或破裂,从而降低耐用性。In addition, combustion air is supplied only to the outside of the solid fuel that has been loaded into the combustion chamber. Accordingly, the exterior of a solid fuel burns well, but its interior may have poor access to the air required for combustion, and therefore may not burn completely. This reduces combustion efficiency. In addition, the inner wall of the combustion chamber is permanently exposed to high-temperature gas, and it will be deformed or cracked after long-term use, thereby reducing durability.
发明内容 Contents of the invention
为了解决现有技术的上述问题,本发明的一个目的是提供一种热回收系统,其能够产生大量的高压蒸汽。In order to solve the above-mentioned problems of the prior art, an object of the present invention is to provide a heat recovery system capable of generating a large amount of high-pressure steam.
另外,本发明的另一个目的是提供一种热回收系统以及使用该热回收系统的热电联产系统,该热回收系统保证装入燃烧室内部的固体燃料完全燃烧,从而减少热量损失,提高热回收率,并且增强耐用性。In addition, another object of the present invention is to provide a heat recovery system and a combined heat and power system using the heat recovery system. The heat recovery system ensures the complete combustion of the solid fuel loaded into the combustion chamber, thereby reducing heat loss and improving heat recovery. recovery and enhanced durability.
为了达到本发明的上述目的,根据本发明的一个方面,提供了一种具有改进的热回收率的热回收系统,包括:In order to achieve the above object of the present invention, according to one aspect of the present invention, a heat recovery system with improved heat recovery rate is provided, comprising:
多个燃烧设备,所述多个燃烧设备中的每一个包括:燃烧容器,用于接收由外部供应的燃气,并且使容置于所述燃烧容器中的燃料燃烧;供料单元,将所述燃料供应到所述燃烧容器;以及燃气排出单元,设置于所述燃烧容器的上部,所述燃气排出单元的下部与所述燃烧容器的上部相通,从而通过所述燃气排出单元排出高温燃气,所述高温燃气是通过使从所述供料单元向所述燃烧容器供应的燃料燃烧而产生的;A plurality of combustion devices, each of which includes: a combustion container for receiving gas supplied from the outside, and combusting the fuel contained in the combustion container; Fuel is supplied to the combustion container; and a gas discharge unit is arranged on the upper part of the combustion container, and the lower part of the gas discharge unit communicates with the upper part of the combustion container so that high-temperature gas is discharged through the gas discharge unit. The high-temperature gas is generated by burning fuel supplied from the supply unit to the combustion vessel;
集气室,与所述多个燃烧设备相连,用于将在所述多个燃烧设备中产生的高温燃气收集到一个地方;a gas collection chamber, connected to the plurality of combustion devices, and used to collect high-temperature gas generated in the plurality of combustion devices in one place;
以及锅炉,用于接收所述集气室收集到的高温燃气,并且通过热交换过程从所供应的燃气收集热量。and a boiler for receiving the high-temperature gas collected in the plenum and collecting heat from the supplied gas through a heat exchange process.
优选但非必要的,在所述集气室中形成有出气口单元,燃气通过所述出气口单元从所述多个燃烧设备进入所述锅炉,随着引入的燃气朝向所述出气口单元移动,而且所述集气室的内部横截面积随着趋向于所述出气口单元而逐渐变大,自所述多个燃烧设备引入的燃气增多,从而使得进入所述集气室的燃气通过所述出气口单元流出。Preferably, but not necessarily, a gas outlet unit is formed in the gas collection chamber, through which gas enters the boiler from the plurality of combustion devices, and moves toward the gas outlet unit as the introduced gas , and the internal cross-sectional area of the gas collection chamber gradually becomes larger as it tends to the gas outlet unit, and the gas introduced from the plurality of combustion devices increases, so that the gas entering the gas collection chamber passes through the Outflow from the outlet unit described above.
优选但非必要的,所述多个燃烧设备布置为在所述集气室的周围彼此面对,从而使所述燃气从所述集气室的两侧进入所述集气室,其中,所述燃气从所述多个燃烧设备供应到所述集气室。Preferably but not necessarily, the plurality of combustion devices are arranged to face each other around the plenum so that the gas enters the plenum from both sides of the plenum, wherein the The gas is supplied to the plenum from the plurality of combustion devices.
根据本发明的一个方面,提供一种包括蒸汽涡轮机和的电力发电机的热电联产系统,其中,将所述热回收系统的锅炉中通过与燃气热交换而产生的蒸汽供应给蒸汽涡轮机,电力发电机用于电力,从而获得蒸汽和电力。According to one aspect of the present invention, there is provided a combined heat and power system including a steam turbine and an electric power generator, wherein the steam generated in the boiler of the heat recovery system through heat exchange with gas is supplied to the steam turbine, and the electric power Generators are used for electricity, thus obtaining steam and electricity.
本发明提供了一种能够产生大量的高压蒸汽的热回收系统。The present invention provides a heat recovery system capable of generating a large amount of high-pressure steam.
本发明提供了一种热回收系统以及使用该热回收系统的热电联产系统,该热回收系统保证了装入燃烧室内部的固体燃料完全燃烧,从而减少热量损失,提高热回收率,并且增强耐用性。The invention provides a heat recovery system and a combined heat and power system using the heat recovery system. The heat recovery system ensures the complete combustion of the solid fuel loaded into the combustion chamber, thereby reducing heat loss, improving heat recovery rate, and enhancing durability.
附图说明 Description of drawings
根据参照附图更详细地描述本发明的优选实施例,本发明的上述与其它的目的和优点将会变得更明显,其中:The above and other objects and advantages of the present invention will become more apparent from a more detailed description of preferred embodiments of the present invention with reference to the accompanying drawings, in which:
图1示出根据现有技术的燃烧装置的示意图;Figure 1 shows a schematic diagram of a combustion device according to the prior art;
图2示出根据本发明第一实施例的具有改进的热回收率的热回收系统的示意图;2 shows a schematic diagram of a heat recovery system with improved heat recovery rate according to a first embodiment of the present invention;
图3是图2的侧视图;Fig. 3 is a side view of Fig. 2;
图4示出图3的燃气排出单元与U形流动气体室的示意性平面图;Fig. 4 shows a schematic plan view of the gas discharge unit and the U-shaped flow gas chamber of Fig. 3;
图5示出根据本发明的燃烧设备的剖视图;Figure 5 shows a cross-sectional view of a combustion device according to the invention;
图6示出图5的燃烧设备一侧的剖视图;Fig. 6 shows a cross-sectional view of one side of the combustion device of Fig. 5;
图7示出根据本发明的燃烧设备的供料单元的剖视图;Figure 7 shows a cross-sectional view of a feed unit of a combustion plant according to the invention;
图8是根据本发明的热回收系统中的锅炉的纵向剖视图;Figure 8 is a longitudinal sectional view of the boiler in the heat recovery system according to the present invention;
图9示出根据本发明第二实施例的热回收系统的平面图;9 shows a plan view of a heat recovery system according to a second embodiment of the present invention;
图10示出根据本发明的热电联产系统的示意性框图;Figure 10 shows a schematic block diagram of a combined heat and power system according to the present invention;
图11示出根据本发明的空气污染防止设备的示意性框图,该空气污染防止设备净化热回收系统中的燃气;Fig. 11 shows a schematic block diagram of an air pollution prevention device according to the present invention, which purifies gas in a heat recovery system;
图12示出图11的空气污染防止设备中的离心集尘器的示意图;Fig. 12 shows the schematic diagram of the centrifugal dust collector in the air pollution prevention equipment of Fig. 11;
图13示出图11的空气污染防止设备中的半干式反应器的示意图;Fig. 13 shows the schematic diagram of the semi-dry reactor in the air pollution prevention equipment of Fig. 11;
图14示出图11的空气污染防止设备中的干式反应器的示意图;以及Fig. 14 shows the schematic diagram of the dry reactor in the air pollution prevention equipment of Fig. 11; And
图15示出图11的空气污染防止设备中的过滤集尘器的示意图。FIG. 15 shows a schematic diagram of a filter dust collector in the air pollution prevention device of FIG. 11 .
具体实施方式 Detailed ways
将参照附图(图2至图8)来描述根据本发明第一实施例的具有改进的热回收率的热回收系统。A heat recovery system having an improved heat recovery rate according to a first embodiment of the present invention will be described with reference to the accompanying drawings ( FIGS. 2 to 8 ).
图2示出根据本发明第一实施例的具有改进的热回收率的热回收系统的示意图。图3是图2的侧视图。图4示出图3的燃气排出单元与U形流动气体室的示意性平面图。图5示出根据本发明的燃烧设备的剖视图。图6示出图5的燃烧设备一侧的剖视图。图7示出根据本发明的燃烧设备的供料单元的剖视图。图8是根据本发明的热回收系统中的锅炉的纵向剖视图。Fig. 2 shows a schematic diagram of a heat recovery system with improved heat recovery rate according to a first embodiment of the present invention. FIG. 3 is a side view of FIG. 2 . Fig. 4 shows a schematic plan view of the gas discharge unit and the U-shaped flow gas chamber of Fig. 3 . Figure 5 shows a sectional view of a combustion plant according to the invention. FIG. 6 shows a cross-sectional view of one side of the combustion device of FIG. 5 . Fig. 7 shows a sectional view of a feed unit of a combustion plant according to the invention. Fig. 8 is a longitudinal sectional view of a boiler in the heat recovery system according to the present invention.
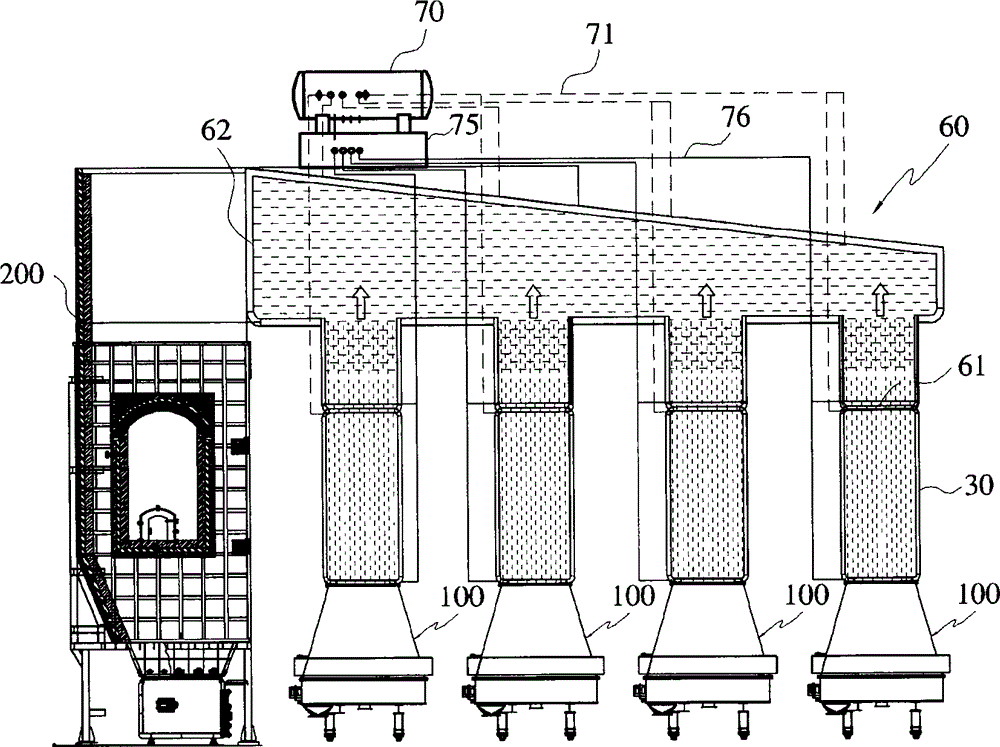
根据本发明第一实施例,具有改进的热回收率的热回收系统包括:多个燃烧设备100;集气室60,将在多个燃烧设备100中产生的高温燃气收集到一个地方;以及锅炉200,通过热交换过程收集来自燃气的热量。According to the first embodiment of the present invention, a heat recovery system with an improved heat recovery rate includes: a plurality of
每个燃烧设备100都使容置在该燃烧设备100中的燃料燃烧以排出高温燃气,每个燃烧设备100都包括:燃烧容器10,具有使容置于其中的燃料燃烧的燃烧室11;供料单元40,将燃料供应到燃烧室11;以及燃气排出单元30,将燃烧容器10产生的燃气排出。Each
燃烧容器10形成为圆筒形,包含固体燃料并且使其中的固体燃料燃烧。燃烧容器10包括:燃烧室11,被燃烧容器10的内壁12环绕,从而使燃料燃烧;冷却室13,冷却燃烧容器10的内壁12;以及侧面燃烧空气供应室15,形成在燃烧室11的侧表面,以便为燃烧室11供应来自外部(outside)的燃烧所需的空气。The
冷却室13起到使连续接触高温热燃气的内壁12降低温度的作用。如图5和图6所示,冷却室13形成在燃烧容器10的内壁12与中间壁14之间形成的空间中,其中,该中间壁14与内径向上变窄的圆筒形燃烧容器10的内壁12的外侧之间有间隔。这里,冷却水流入的冷却水入口14a与冷却水流出的冷却水出口14b形成在中间壁14的下侧与上侧。冷却水入口14a在与圆筒形燃烧容器10的中间壁14相关的切线方向形成。另外,在冷却室13中,螺旋形冷却水导向板13a设置在中间壁14的内侧,从而使得经由冷却水入口14a进入的冷却水沿着冷却水导向板13a回转、上升,进而通过形成在中间壁14上侧的冷却水出口14b排出。通过冷却水出口14b排出的冷却水进入锅炉200,从而能够用于通过连接管(未示出)收集热量。The cooling
侧面燃烧空气供应室15形成于在燃烧容器10的中间壁14与外壁16之间形成的空间中,该外壁16形成为与中间壁14的外侧之间有间隔。外部供应的燃烧所需的空气从燃烧空气供应入口16a提供,燃烧空气供应入口16a形成在外壁16的上侧。侧面燃烧空气供应室15的下部12a是敞开的。燃烧空气供应入口16a在与圆筒形外壁16相关的切线方向形成。相应地,通过燃烧空气供应入口16a供应的空气在侧面燃烧空气供应室15的内部回转、向下,然后由经由侧面燃烧空气供应室15的敞开的下部12a被供应到燃烧室11中。The side combustion
另外,从上侧面供应燃烧空气的上侧燃烧空气供应室20形成在燃烧室11的上圆周。上侧燃烧空气供应室20通过轮缘18与冷却室13和侧面燃烧空气供应室15的上侧相结合,上侧燃烧空气供应室20包括:回转流供应室23,形成在圆筒形上内壁22(环绕燃烧室11的上内侧)的外周,从而将燃烧空气供应到燃烧室11的上内侧;以及预热室25,形成在回转流供应室23的外周,以便于为回转流供应室23供应来自外部供应的燃烧空气。In addition, an upper combustion
回转流供应室23形成在上内壁22与上中间壁24之间形成的空间中,上中间壁24与上内壁22的外侧之间有间隔;预热室25形成在上中间壁24与上外壁26之间形成的空间中,上外壁26与上中间壁24的外侧之间有间隔。上侧空气供应入口26a形成在上外壁26的下部,位于与上外壁26相关的切线方向,空气通道24a形成在上中间壁24的上端(upper end),从而使得由外部供应的燃烧空气回转并被供应到预热室25中。进入预热室25的燃气在该预热室25中回转、上升,然后经由形成在上中间壁24的上端的空气通道24a从回转流供应室23的上部向其下部移动,进而经由在上内壁22的下端形成的燃烧空气供应通道22a被供应到燃烧室11的上部。燃烧空气由上侧燃烧空气供应单元在沿着圆筒形回转流供应室23的圆周的任意点处以相对于中心方向以大约10度至60度的角度供应,使得间接供应给燃气的空气是确定的,进而减少由于不完全燃烧而引起的污染。The swirling
燃烧容器10的上部是敞开的,以便于排放高温热燃气,并且将通过燃气排出管30、U形流动气体室50和集气室60排出的热燃气引入锅炉200,从而收集热量。锅炉收集来自热燃气的热量,从而获得高温热蒸汽。这里,从冷却水出口14b排出的冷却水被引入锅炉200,然后使用燃气的热量将冷却水转化成蒸汽。The upper part of the
同时,在燃烧容器10的下边缘处形成灰烬排放口19,从而将燃烧后的固体燃料的灰烬排出。Meanwhile, an
另外,在燃烧室11的下部安装可旋转的旋转式炉篦(grate)17(篦子是用于在其顶面中装入固体燃料的板)。旋转式炉篦17被制成圆盘状,起到使装入其顶面的固体燃料燃烧的作用。旋转式炉篦17从中心向下倾斜到其外侧拐点,然后从外侧拐点向上倾斜到最外侧。因此,旋转式炉篦17的侧横截面为V形。在旋转式炉篦17的中心形成用于为旋转式炉篦17供应固体燃料的供料单元40。In addition, a rotatable rotary grate 17 (a grate is a plate for charging solid fuel in its top surface) is installed at the lower part of the
如图7所示,在燃烧容器10下部中心垂直形成供料单元40,在供料单元40的下部的一侧形成燃料入口44。另外,在供料单元40中设置燃料供应管41,从而通过垂直传送螺杆单元42将固体燃料供应到燃烧室11中。另外,直径大于燃料供应管41且以同心圆形式形成的下部燃烧空气供应管43形成在燃料供应管41的外侧,其中,下部燃烧空气供应管43通过空气供应单元45(如环形鼓风机)从燃烧室11的下部将燃烧空气供应到燃烧室11的内部。As shown in FIG. 7 , a
从燃料供应管41突出伸入燃烧室11中的供料单元40的上端部包括:直径扩大部41a,其直径朝向上方逐渐增长(变大);以及斜面导向部41b,从直径扩大部41a的末端部分向下弯曲并且倾斜形成。相应地,经由突出伸入燃烧室11的直径扩大部41a和斜面导向部41b,固体燃料被稳定地供应到旋转式炉篦17。在直径扩大部41a的圆周形成有多个空气供应嘴(air feed nozzles)41c,从而将下部燃烧空气供应管43供应的燃烧空气引入燃烧室11。The upper end portion of the
另外,从下部燃烧空气供应管43突出伸入燃烧室11中的供料单元40的上端部包括:空气供应直径扩大部43a,其直径朝向上方逐渐增长并且位于燃料供应管41的直径扩大部41a的下侧,并且通过燃料供应管41的斜面导向部41b使空气供应直径扩大部43a的上端关闭。这样,通过下部燃烧空气供应管43供应的燃烧空气由空气供应直径扩大部43a引导,然后通过多个空气供应嘴41c被供应到燃料的底部,其中,多个空气供应嘴41c形成于在燃料供应管41的上侧的直径扩大部41a处。In addition, the upper end portion of the
同时,可以在燃料供应管41的下部的另一侧设置空气供应单元(如环形鼓风机),从而能够通过该燃料供应管41供应燃烧空气,以防止在燃烧室11中燃烧的固体燃料回落成(reversed into)存于燃料供应管41中的固体燃料。At the same time, an air supply unit (such as an annular blower) can be set on the other side of the bottom of the fuel supply pipe 41, so that the combustion air can be supplied through the fuel supply pipe 41 to prevent the solid fuel burned in the
根据上述配置,固体燃料通过燃料供应管41被供应到旋转式炉篦17的上表面的中心,并且燃烧空气通过在燃料供应管41的直径扩大部41a处形成的空气供应嘴41c被直接供应到固体燃料的底部。According to the above configuration, the solid fuel is supplied to the center of the upper surface of the
在燃料供应管41中形成从而将燃料传送到燃烧室11中的传送螺杆单元42包括螺杆轴42d和在螺杆轴42d上形成的螺旋形螺杆叶片42e。传送螺杆单元42通过马达(未示出)旋转并且传输燃料。另外,螺杆轴42d的上部42a延伸到燃料供应管41的外面,并且突出伸入到燃烧室11中。通过燃料供应管41将燃料径向地供应到燃烧室11中的径向燃料供应元件42b形成在突出的螺杆轴42d的上部42a。The
径向燃料供应元件42b与螺杆轴42d的轴向正交,并突出形成,与螺杆一起旋转,从而将通过燃料供应管41上升的燃料径向供应到燃烧室11中。如前所述,持续地将从燃料供应管41供应的固体燃料径向地供应到燃烧室11中,因而能够防止渣块堵住空气供应嘴41c。The radial
另外,燃料高度控制支架42c与螺杆轴42d的轴向正交,并突出形成,安装在突出伸入燃烧室11中的螺杆轴42d的上部42a的端部。如图7所示,燃料高度控制支架42c具有圆锥形上部,其结构是,其下表面相对于螺杆轴42d的轴向被阻挡,从而使得燃料不是持续向上移动而是被向外推动。因此,能够恰当地控制装入燃烧室11中的直径扩大部41a和燃烧篦17的上部上的燃料的高度,因而保证燃料的理想燃烧。In addition, the fuel
同时,如图3和图4所示,将燃气排出单元30安装到燃烧容器10的上部,并且形成为中空形状。通过使燃烧室11中的固体燃料燃烧而产生的高温燃气通过燃气排出单元30进入U形流动气体室50。燃气排出单元30的下部与燃烧容器10的上部相通,并且燃气排出单元30的侧面的一侧与U形流动气体室50相通。侧壁32和上壁33中形成锯齿状的水管34,侧壁32和上壁33构成壁主体31(形成燃气排出单元30的主体)并且侧壁32和上壁33彼此连接。如图2所示,水通过运水管线76从水箱75进入燃气排出单元30的水管34中。由于壁主体31被燃气加热,所以在燃气排出单元30的水管34中循环的水变成蒸汽。通过蒸汽线71将蒸汽收集到蒸汽鼓室70中,然后蒸汽鼓室70收集的蒸汽连同锅炉200中产生的蒸汽一起提供给工业设施。优选地,燃气排出单元30的主体由钢材料制成。在本发明如图4所示的实例中,水管34埋在壁主体31内,但是水管34也可以设置在壁主体31外。Meanwhile, as shown in FIGS. 3 and 4 , a
通过这种配置,虽然燃气排出单元30持续接触高温燃气,但是燃气排除单元30的温度能够通过位于燃气排出单元30的主体内的水管34得以降低,因而提高了燃气排出单元30的耐用性,并且水在水管34中循环时产生的蒸汽被提供给工业设施,从而提高了蒸汽产出量。另外,燃气排出单元30的主体由钢材料制成,与由耐火壁主体形成的现有的燃气排出单元相比,由于材料的差异,能够大大地减少燃气中的灰烬或有限粒子的附着。With this configuration, although the
U形流动气体室50安装在燃气排出单元30与集气室60之间,从而能够经由U形流动气体室50将从燃气排出单元30引入的燃气收集到集气室60中。U形流动气体室50形成为中空形状。进气口57形成在U形流动气体室50的左侧,出气口58形成在U形流动气体室50的上部一侧,燃气通过进气口57从燃气排出单元30进入,通过出气口58排出到集气室60。另外,在壁主体51中形成有排列成锯齿状的水管54,壁主体51形成U形流动气体室50的主体。水通过运水管线76从水箱75进入U形流动气体室50的水管54。由于壁主体51被燃气加热,所以在U形流动气体室50的水管54中循环的水变成蒸汽。通过蒸汽线71将蒸汽收集到蒸汽鼓室70中,然后蒸汽鼓室70收集的蒸汽连同锅炉200中产生的蒸汽一起提供给工业设施。在本发明的该实例中,水管54埋在壁主体51内,但是水管54也可以设置在壁主体51外。The U-shaped
另外,U形流动气体室50包括:灰烬收集器56和灰烬传送管56a,灰烬收集器56位于U形流动气体室50下端,以便于收集包含在经过U形流动气体室50的燃气中的灰烬,灰烬传送管56a将灰烬收集器56所收集的灰烬送走。灰烬传送螺杆56b安装在灰烬传送管56a内。U形流动气体室50还包括U形流动导向板59,其从U形流动气体室50的顶部向下延伸,从而易于排出在经过U形流动气体室50的内部燃气中包含的灰烬。In addition, the U-shaped
另外,倾斜部51a形成在U形流动气体室50下部的前面,以易于将包含在燃气中的灰烬收集到灰烬收集器56中。这样,燃料在燃烧室11中燃烧之后产生的大多数灰烬都通过燃烧室11中的灰烬排放口19排出,而在燃气中残留的少数灰烬可以通过U形流动气体室50的灰烬收集器56排出。这样,能够减少进入锅炉200中的污染物(例如包含在燃气中的灰烬)的数量。In addition, an
集气室60连接到多个燃烧设备100的U形流动气体室50,并且将多个燃烧设备100中产生的高温燃气收集到一个地方供应给锅炉200。The
与附接到每个燃烧设备100的U形流动气体室50的气体排出单元58相连接的多个进气口单元61呈直线地形成在集气室60的下部,从而燃烧设备100在集气室60的长度方向以直线排列。A plurality of
另外,将所收集的燃气供应给锅炉200的出气口单元62形成在集气室60的一侧。随着引入的燃气朝向锅炉200移动,且集气室60的内部横截面积随着其趋向出气口单元62而逐渐变大,在集气室60中自多个燃烧设备100引入的燃气增多,这样,进入集气室60的燃气经由出气口单元62进入锅炉200。In addition, a
采用与燃气排出单元30相同的方式,在形成集气室60的壁主体63中将水管64设置成锯齿状。水通过运水管线76从水箱75进入集气室60的水管64中,水在集气室60的水管64中循环并且变成蒸汽。通过蒸汽线71将蒸汽收集到蒸汽鼓室70中,然后蒸汽鼓室70收集的蒸汽连同锅炉200中产生的蒸汽一起提供给工业设施。通过这种配置,水在水管64中循环,集气室60的温度得以降低,因而提高了集气室60的耐用性,并且水在水管64中循环时所产生的蒸汽提供给工业设施,从而提高了水蒸气的产出量。In the same manner as the
在现有的热回收系统中,为单个锅炉配备单个燃烧设备来收集热量,难以获得大量的燃气。为了获得大量的燃气,应当使燃烧设备中的燃烧容器的尺寸很大。但是,燃烧容器的尺寸的增加受限于燃烧设备的结构稳定性。因此,在现有的热回收系统中,难以获得高压蒸汽。但是,如上所示,本发明已经解决了上述问题。另外,将本发明与现有技术相比,为了获得大量高压的燃气以产生蒸汽,现有技术的热回收系统包括装配有各自的锅炉的多个燃烧设备,而本发明的热回收系统将由多个燃烧设备100所产生的燃气收集到集气室60中,然后将收集的燃气供应给锅炉200。即,本发明的热回收系统仅有一个锅炉。因此,本发明具有减少制造成本与并能供应高压蒸汽的优点。In the existing heat recovery system, a single boiler is equipped with a single combustion device to collect heat, and it is difficult to obtain a large amount of gas. In order to obtain a large amount of gas, the size of the combustion vessel in the combustion equipment should be made large. However, the increase in size of the combustion vessel is limited by the structural stability of the combustion apparatus. Therefore, in the existing heat recovery system, it is difficult to obtain high-pressure steam. However, as shown above, the present invention has solved the above-mentioned problems. In addition, comparing the present invention with the prior art, in order to obtain a large amount of high-pressure gas to generate steam, the heat recovery system of the prior art includes a plurality of combustion equipment equipped with respective boilers, while the heat recovery system of the present invention will be composed of multiple The gas generated by each
锅炉200是一种水管锅炉,为了收集来自燃气的热量,水管201内置于热燃气经过的锅炉的内部。如图8所示,从下侧水鼓室204供应的水通过水管201上升,从而收集来自热燃气的热。然后,将水变成蒸汽,收集到蒸汽鼓室205。在本发明中使用水管锅炉,也可以使用烟管锅炉。
图9示出根据本发明第二实施例的热回收系统的平面图。以下将描述根据本发明第一实施例与第二实施例的热回收系统之间的差异。Fig. 9 shows a plan view of a heat recovery system according to a second embodiment of the present invention. Differences between the heat recovery systems according to the first embodiment and the second embodiment of the present invention will be described below.
在本发明的第一实施例中,四个燃烧设备100相对于集气室60连成直线,但是四个燃烧设备100布置为与集气室60相对的一侧两两相对。因而,根据本实施例,多个燃烧设备100安装为彼此面对,从而将燃气引入集气室60的两侧。因此,有利地,本发明第二实施例的集气室60的长度可以做的比本发明第一实施例的短。由于本发明第二实施例的其他配置与效果与本发明第一实施例相同,所以这里省略其详细描述。In the first embodiment of the present invention, the four
另外,根据本发明的热回收系统包括空气污染防止设备,在从锅炉200的高温燃气中收集热量后,该设备将待排出到外部的燃气净化。In addition, the heat recovery system according to the present invention includes an air pollution preventing device which, after collecting heat from high-temperature gas of the
如图11至图15所示,空气污染防止设备包括:离心集尘器300、半干式反应器400、干式反应器500和过滤集尘器600。As shown in FIGS. 11 to 15 , the air pollution prevention equipment includes: a
图11示出根据本发明的空气污染防止设备的示意性框图,该空气污染防止设备净化热回收系统中的燃气。图12示出图11的空气污染防止设备中的离心集尘器的示意图。图13示出图11的空气污染防止设备中的半干式反应器的示意图。图14示出图11的空气污染防止设备中的干式反应器的示意图。图15示出图11的空气污染防止设备中的过滤集尘器的示意图。Fig. 11 shows a schematic block diagram of an air pollution prevention device according to the present invention, which purifies gas in a heat recovery system. FIG. 12 shows a schematic diagram of a centrifugal dust collector in the air pollution prevention apparatus of FIG. 11 . FIG. 13 shows a schematic diagram of a semi-dry reactor in the air pollution prevention apparatus of FIG. 11 . FIG. 14 shows a schematic diagram of a dry reactor in the air pollution prevention apparatus of FIG. 11 . FIG. 15 shows a schematic diagram of a filter dust collector in the air pollution prevention device of FIG. 11 .
离心集尘器300所起的作用是,初步移除从锅炉200进入的燃气中的灰尘颗粒。离心集尘器300的内部通过横向壁303被分隔成上室307与下室308。在下室308中,燃气入口301仅形成在横向壁303下面,燃气通过燃气入口301进入。多个离心分离容器302相互连接,每个离心分离容器302位于连接燃气入口301的内圆周表面的切线方向。在横向壁303上形成导管304,导管304从离心分离容器302的内部沿长度方向向下形成。燃气通过燃气出口305流出,该燃气出口305形成在上室307的一侧,位于横向壁303上侧。离心集尘器300的下部形成随着其趋于下端而变窄的内部形状,从而能够易于收集和排出颗粒。在离心集尘器300的下端设置用于排放从离心分离容器302排出的污染物的排放阀306。The role of the
通过离心集尘器300的这种配置,从锅炉200通过燃气入口301而进入的燃气旋转并且下降。由于离心力,包含在燃气中的颗粒沿着离心分离容器302的内壁旋转,然后由于颗粒重量,颗粒收集到离心分离容器的下部。如上所示,初步移除颗粒后的燃气通过导管304传送到上室307,然后通过燃气出口305排出。With such a configuration of the
半干式反应器400起到移除燃气中有害酸性气体(例如氯化氢(HCl)与氧化硫(SOx))的作用,并且形成为中空形状。燃气通过燃气入口401从离心集尘器300进入,该燃气入口401形成在半干式反应器400的上端。为半干式反应器400的内部供应液体熟石灰的液体熟石灰供应单元402形成在半干式反应器400外周表面的上部的一侧。另外,与液体熟石灰供应单元402连接的喷嘴403安装在半干式反应器400的内部的上侧,燃气出口405形成在半干式反应器400下部的一侧,在已将燃气引入半干式反应器400的内部的情况下,被液体熟石灰移除了有害酸性气体的燃气从燃气出口405排出。在半干式反应器400下端设置排放阀404,该排放阀404用于排出已经与燃气反应的石灰。The
通过这种半干式反应器400的配置,已经供应到半干式反应器400内的燃气与液体熟石灰反应。相应地,有害酸性气体被移除,然后燃气通过燃气出口405排出。换言之,半干式反应器400起到通过液体熟石灰从燃气中移除有害酸性气体的作用,并且同时降低燃气的温度。With this configuration of the
干式反应器500所起的作用是,在与半干式反应器400中的液体熟石灰反应的同时,移除燃气中的二恶英并同时移除包含在燃气中的湿汽。干式反应器500具有如下结构:左部502、中心部503和右部506,沿着燃气的传输方向依序彼此连通。燃气通过燃气入口501进入,该燃气入口501形成在左部502的左端。沿着燃气的传输方向,左部502的内部横截面积随着其趋于右侧而逐渐变小,并与中心部503保持一致。然后,右部506的内部横截面积再次逐渐变大。燃气通过燃气出口507排出,该燃气出口507形成在右部506的右端。The
另外,在中心部503设置有活性炭供应单元504和生石灰粉末供应单元505,活性炭供应单元504将活性炭供应到干式反应器500的内部,生石灰粉末供应单元505将生石灰粉末供应到干式反应器500的内部。由于中心部503的横截面积小于邻部的横截面积,所以中心部503的内部压力比邻部。因此,能够从活性炭供应单元504和生石灰粉末供应单元505将活性炭和生石灰粉末吸入压力低的中心部503的内部。这样,更容易将活性炭和生石灰粉末供应到中心部503。In addition, an activated
采用干式反应器500的这种配置,通过活性炭供应单元504供应的活性炭,从供应到干式反应器500内部的燃气中吸收并移除二恶英。为了防止稍后描述的过滤集尘器600中的袋式过滤器604被湿汽堵住,通过从生石灰粉末供应单元505供应的生石灰粉末吸收并移除湿汽,移除湿汽后的燃气通过燃气出口507排出。With this configuration of the
过滤集尘器600所起的作用是,在将燃气排入大气中之前,移除在燃气中最后残留的灰尘污染物。过滤集尘器600的内部形成为中空形状。过滤集尘器600的内部空间通过分隔壁601而分隔成上室603与下室602。在分隔壁601的下表面上彼此平行设置多个袋式过滤器604。与袋式过滤器604的上开口部相通的文丘里管(Venturi tube)605安装在分隔壁601的上表面。另外,燃气通过燃气入口606进入,该燃气入口606形成在下室602的一侧;燃气通过燃气出口607排出,该燃气出口607形成在上室603的一侧。The function of the
另外,通过电磁阀609控制压缩空气供应的压缩空气供应单元608安装在上室603的外面,压缩空气喷管610设置在上室603的内侧,压缩空气喷管610连接到压缩空气供应单元608。另外,面向文丘里管605的多个喷嘴611形成在压缩空气喷管610上。In addition, a compressed air supply unit 608 controlled by a solenoid valve 609 is installed outside the upper chamber 603 , and a compressed air nozzle 610 is provided inside the upper chamber 603 , and the compressed air nozzle 610 is connected to the compressed air supply unit 608 . In addition, a plurality of nozzles 611 facing the venturi 605 are formed on the compressed air nozzle 610 .
通过过滤集尘器600的这种配置,通过燃气入口606从干式反应器500进入的燃气中残留的颗粒在袋式过滤器中被收集,过滤后的燃气通过燃气出口607,由引风机(introduced draft fan)700强制吸入。然后,燃气通过烟囱800排放。另外,在袋式过滤器604中收集的污染物应当在一定时间内移除。压缩空气由电磁阀609控制,并且被从压缩空气供应单元608供应到压缩空气喷管610,然后通过喷嘴611被供应到位于文丘里管605的下侧的袋式过滤器604。移除在袋式过滤器604中收集的污染物,从袋式过滤器604移除的污染物然后通过排放阀612排出到外部,排放阀612安装在过滤集尘器600的下端的底部。With this configuration of the
同时,除了热回收系统的前述配置之外,根据本发明的热电联产系统还包括:蒸汽涡轮机250,以及与该蒸汽涡轮机250相连的电力发电机260。图10示出根据本发明的热电联产系统的示意性框图。Meanwhile, in addition to the aforementioned configuration of the heat recovery system, the combined heat and power system according to the present invention further includes: a steam turbine 250 , and an electric generator 260 connected to the steam turbine 250 . Fig. 10 shows a schematic block diagram of a combined heat and power system according to the present invention.
蒸汽涡轮机250接收在锅炉产生的全部或部分高压蒸汽,并且使涡轮机叶片旋转,从而获得机械能。电力发电机260利用机械能发电。由于可以将现有的蒸汽涡轮机与发电机应用于蒸汽涡轮机250和电力发电机260中,所以将省略其详细描述。The steam turbine 250 receives all or part of high-pressure steam generated at the boiler, and rotates turbine blades, thereby obtaining mechanical energy. The power generator 260 generates electricity from mechanical energy. Since existing steam turbines and generators may be applied to the steam turbine 250 and the electric power generator 260, detailed descriptions thereof will be omitted.
参照图10,下面将描述根据本发明的热电联产系统。在锅炉200中产生的一部分高压蒸汽通过蒸汽涡轮机250来发电,并且高压蒸汽变成低压蒸汽。Referring to FIG. 10 , the combined heat and power system according to the present invention will be described below. A part of the high-pressure steam generated in the
因而,通过根据本发明的热电联产系统的这种配置,通过蒸汽涡轮机250使用一部分高压蒸汽来发电,然后将高压蒸汽变成低压蒸汽。这样,能够将电与高压和低压蒸汽一起应用于应用热电联产系统的工厂或工业设施。Thus, with this configuration of the cogeneration system according to the present invention, a part of the high-pressure steam is used to generate electricity through the steam turbine 250, and then the high-pressure steam is changed into low-pressure steam. In this way, it is possible to apply electricity together with high-pressure and low-pressure steam to a factory or industrial facility applying a combined heat and power system.
下文中,将描述如上结构的根据本发明实施例的具有改进的热回收率的热回收系统的操作过程。Hereinafter, the operation process of the heat recovery system with improved heat recovery rate according to the embodiment of the present invention structured as above will be described.
首先,通过安装在燃料供应管41中的传送螺杆42,从燃料加料器(未示出)将一定量的固体燃料供应到燃烧室11。形成在突出伸入燃烧室11的螺杆轴42d的上部42a的径向燃料供应元件42b,持续径向地将一定量的燃料供应到燃烧室11中,燃料与螺杆轴42d一起旋转进而上升。通过这种配置,供料单元40使颗粒小而轻的燃料上升,通过由空气供应嘴41c供应的燃烧空气使燃料燃烧,并且通过燃料供应元件42b将颗粒相对大而重的颗粒持续径向地供应到燃烧室11中燃料供应管41附近的地方,从而防止渣块堵住空气供应嘴41c。因此,本发明能够解决现有的持续将不完全燃烧的燃料堆积到燃料供应管的上部的问题,从而使得燃料以很小的面积接触燃烧空气,并且防止从燃料供应管留下而没有排出燃料供应管的燃料生成渣块妨碍燃料燃烧。First, a certain amount of solid fuel is supplied to the
如上所述,通过预热燃烧器(未示出)和点火燃烧器(未示出)预热并点燃供应到燃烧室11中的固体燃料,使其燃烧。供应到旋转式炉篦17的上侧的固体燃料燃烧,由于燃料持续供应,随着时间的推移,燃料移动到旋转式炉篦17的边缘。随着固体燃料的燃烧,燃料的一部分变成液态,液态燃料在V形沟部停留并燃烧,V形沟部的横截面与旋转式炉篦17相同。因此,能够解决如下问题:即在旋转式炉篦的横截面仅沿一个方向倾斜形成的情况下,在执行燃烧过程期间已产生的液态燃料会流下的问题。另外,在旋转式炉篦17旋转期间,随着燃料的燃烧而产生的灰烬通过位于旋转式炉篦17边缘的灰烬排放口19排出。As described above, the solid fuel supplied into the
同时,当在燃烧室11中使固体燃料燃烧时,冷却水通过冷却室13的冷却水入口14a(形成在燃烧室11的内壁12的外周处)进入冷却室13,进入的冷却水通过冷却水导向板13a旋转并上升,从而使内壁12冷却,然后冷却水通过冷却水出口14b排出。然后,经由连接管(未示出),从冷却室13排出的冷却水进入锅炉200中,从而通过热交换过程从热燃气收集热量。如上所述,根据本发明的燃烧设备包括在燃烧室11的内壁12的外周处形成的冷却室13,从而防止由于燃烧室11的内壁12的温度过度上升而引起的耐用性降低。另外,根据本发明的燃烧装置,冷却室13的内壁12通过热交换过程预热冷却水,然后再将其引入锅炉200中,从而从通过根据本发明的燃烧设备生成的热燃气中收集热量,并且因而防止由于变形、磨损或裂缝(可能出现在持续暴露于热燃气下的燃烧室11的内壁12处)而引起的耐用性降低,同时避免不必要的热量损失,进而提高热效率。Meanwhile, when the solid fuel is combusted in the
另外,通过侧面燃烧空气供应室15、上侧燃烧空气供应室20和下侧燃气供应管43,将固体燃料燃烧所需的燃烧空气从外部供应到燃烧室11。首先,通过空气供应入口16a供应的燃烧空气回转并在侧面燃烧空气供应室15中向下流,通过侧面燃烧空气供应室15的敞开的下部12a被供应到燃烧室11,其中,空气供应入口16a在与圆筒形燃烧容器10的外壁16的上部相关的切线方向形成。因而,在侧面燃烧空气供应室15中能够提供燃烧空气,燃烧空气同时回转,侧面燃烧空气供应室15形成在燃气室11的侧面向表面处。这样,与相对于燃料沿直线方向供应燃烧空气的情况相比,虽然燃烧室11很小,但是燃烧空气能够直接与大部分燃料接触,从而降低了制造成本,提高了热效率。In addition, combustion air necessary for solid fuel combustion is supplied from outside to the
另外,燃烧空气通过上侧空气供应入口26a供应到预热室25中,供应到预热室25的燃烧空气移向预热室25的上部,然后又通过上中间壁24的空气通道24a再次供应到回转流供应室23,其中,上侧空气供应入口26a以圆筒形燃烧容器10的外壁26的切线方向形成在上侧燃烧空气供应室20中。供应到回转流供应室23的燃烧空气从回转流供应室23的上部移动到其下部,然后在回转的同时,通过上内壁22中形成的燃烧空气供应通道22a,从燃烧室11的上部的侧面表面供应到燃烧室11的内部。因而,外部空气移动到上侧燃烧空气供应室20中的预热室25的上部,然后再移动到回转流供应室23的下部。这样,由于外部空气的移动距离变长了,在回转流供应室23中能够获得更有效的预热效果,同时,预热室25能够执行回转流供应室23与外部的隔热功能。另外,由侧面燃烧空气供应室15供应的燃烧空气起到的作用是使装在燃烧篦17上的固体燃料直接燃烧,由上侧燃烧空气供应室20供应的燃烧空气起到的作用是燃烧那些产生于还没有完全燃烧的固体燃料并且上升的不完全燃烧物质,从而希望达到固体燃料的理想燃烧。In addition, combustion air is supplied into the preheating
下面,将描述通过下部燃烧空气供应管43注入燃烧空气的方法。通过在燃料供应管41的直径扩大部41a形成的空气供应嘴41c,形成于燃料供应管41的外侧的下部燃烧空气供应管43供应的燃烧空气供应到燃烧室11中,进而供应到已装入燃烧室11中的固体燃料的下部。相应地,装入燃烧室11中的固体燃料的外部以及固体燃料的下部与内部也平稳地燃烧,从而提高热效率。Next, a method of injecting combustion air through the lower combustion
同时,通过燃烧室11中的固体燃料燃烧而生成的高温热燃气通过敞开的燃烧室11的上部进入燃气排出单元30中,然后进入U形流动气体室50中。Simultaneously, high-temperature hot gas generated by burning solid fuel in the
这里,水管34内置于构成燃气排出单元30的主体的壁主体31的内部。相应地,水在水管34中循环,从而使壁主体31的温度冷却。同时,水循环的同时被热燃气加热,然后变成蒸汽。蒸汽被收集到蒸汽鼓室70中,从而有效提高热回收率。Here, the
另外,通过U形流动导向板59,进入U形流动气体室50的燃气流变成U形流,并且有限粒子(例如包含在燃气中的灰烬)通过U形流动导向板59下落。因此,更好地将灰烬移除到灰烬收集器56中。In addition, through the U-shaped
另外,虽然燃料燃烧期间产生的大部分灰烬能够通过燃烧室11的灰烬排放口19排出,但是燃气中残留的小尺寸的灰烬能够通过U形流动气体室50的灰烬收集器56排出。这样,能够减少进入锅炉200中的污染物的数量,例如包含在燃气中的灰烬。如上所述,由于在本发明中设置了U形流动气体室50,所以能够在将高温热燃气供应到锅炉200之前,移除待进入锅炉200的灰烬。这样,能够防止渣块进入锅炉200的管中,从而能够实现锅炉200的长时间运转,而且便于清洗、维护和管理锅炉200。另外,由于冷却水在U形流动气体室50的水管54中循环,所以可降低U形流动气体室50的主体51的温度。同时,冷却水循环的同时被热燃气加热,然后变成蒸汽。这些蒸汽被收集到蒸汽鼓室70中,从而提高热回收率。In addition, although most of ash generated during fuel combustion can be discharged through the
将经过U形流动气体室50的燃气全部收集到集气室60中,然后将其供应给锅炉200。根据现有技术,为了获得大量的燃气,需要设置有各自的锅炉的多个燃烧设备。即,根据现有技术需要多个锅炉来产生蒸汽。但是,根据本发明,将多个燃烧设备100生成的燃气收集到一个地方,即集气室60,然后将其供应到锅炉200。也就是说,根据本发明仅需要单个锅炉来产生蒸汽,从而减少了制造成本,并能提供高压蒸汽。The gas passing through the U-shaped
通过水在水管201中流动的热交换过程,锅炉200从由集气室60进入的热燃气收集热量,从而产生高压蒸汽。然后,从锅炉200排出的燃气在上述空气污染防止设备中净化,然后排放到大气中。Through the heat exchange process of water flowing in the water pipe 201, the
同时,将部分由锅炉200产生的高压蒸汽用于能发电的热电联产系统。因此,生成的电力以及高压蒸汽供应给了工业设施。这样,使用热电联产系统为工业设施供应电与蒸汽,从而不需要使用任何外部的电力,而是消耗在热电联产系统自身生成的电力,并且为了制造产品能够同时使用高压蒸汽和低压蒸汽。另外,根据本发明,根据工业设施的运行时能源的价格波动来控制蒸汽产量与电产量。因此,本发明的一个优点就是,使用热回收系统及利用该热回收系统的热电联产系统,能够以最小的能源成本为工业设施提供最大的生产效率。At the same time, part of the high-pressure steam generated by the
如上所述,虽然本发明已参照有限实施例和附图进行了详细描述,但是本发明不限于此。换言之,已参照利用固体燃料的实例描述了根据本发明优选实施例的燃烧设备。但是,根据本发明的燃烧设备不限于使用固体燃料的实例,而是也能够应用于利用气体燃料或液体燃料的实例。很明显,对于本领域技术人员而言,在与本发明相同的技术精神之内,可以有多种修改与改变。当然,这些修改与改变属于如下随附的权利要求。As described above, although the present invention has been described in detail with reference to the limited embodiments and drawings, the present invention is not limited thereto. In other words, the combustion apparatus according to the preferred embodiment of the present invention has been described with reference to the example using solid fuel. However, the combustion apparatus according to the present invention is not limited to the example using solid fuel, but can also be applied to examples using gaseous fuel or liquid fuel. It is obvious to those skilled in the art that various modifications and changes can be made within the same technical spirit as the present invention. Of course, these modifications and changes belong to the following appended claims.
Claims (20)
Applications Claiming Priority (6)
| Application Number | Priority Date | Filing Date | Title |
|---|---|---|---|
| KR20-2010-0007716 | 2010-07-22 | ||
| KR2020100007716U KR200464404Y1 (en) | 2010-07-22 | 2010-07-22 | Combustor with improved heat recovery and durability |
| KR1020100079534A KR101228345B1 (en) | 2010-08-17 | 2010-08-17 | Combustion apparatus with improved combustion efficiency |
| KR10-2010-0079534 | 2010-08-17 | ||
| KR1020100128446A KR101209022B1 (en) | 2010-12-15 | 2010-12-15 | Heat recovery system with improved heat recovery rate and combined heat and power generation system using this |
| KR10-2010-0128446 | 2010-12-15 |
Publications (2)
| Publication Number | Publication Date |
|---|---|
| CN102345850A CN102345850A (en) | 2012-02-08 |
| CN102345850B true CN102345850B (en) | 2014-02-26 |
Family
ID=45544775
Family Applications (2)
| Application Number | Title | Priority Date | Filing Date |
|---|---|---|---|
| CN201110009977.6A Expired - Fee Related CN102345850B (en) | 2010-07-22 | 2011-01-07 | Thermal recovery system with improved thermal efficiency and thermoelectric combined production system equipped with the thermal recovery system |
| CN 201120014747 Expired - Fee Related CN202253558U (en) | 2010-07-22 | 2011-01-07 | Heat recovery system and cogeneration system utilizing same |
Family Applications After (1)
| Application Number | Title | Priority Date | Filing Date |
|---|---|---|---|
| CN 201120014747 Expired - Fee Related CN202253558U (en) | 2010-07-22 | 2011-01-07 | Heat recovery system and cogeneration system utilizing same |
Country Status (1)
| Country | Link |
|---|---|
| CN (2) | CN102345850B (en) |
Families Citing this family (6)
| Publication number | Priority date | Publication date | Assignee | Title |
|---|---|---|---|---|
| CN102345850B (en) * | 2010-07-22 | 2014-02-26 | 创意能源控股有限公司 | Thermal recovery system with improved thermal efficiency and thermoelectric combined production system equipped with the thermal recovery system |
| CN103464431B (en) * | 2013-09-04 | 2015-05-13 | 中国大唐集团环境技术有限公司 | Deashing device of smoke SCR urea denitration equipment |
| KR101726047B1 (en) * | 2015-06-08 | 2017-04-27 | 주식회사 포스코 | Combustor |
| US11578652B2 (en) * | 2019-08-12 | 2023-02-14 | Enexor Energy, Llc | Combined heat and power system and method of operation |
| RU2743322C1 (en) * | 2019-10-17 | 2021-02-17 | Актиф Атык Бертараф Ве Энержи Уретим Лимитед Ширкети | Waste disposal system for efficient operation |
| CN117968072B (en) * | 2024-03-12 | 2024-10-15 | 安吉临港热电有限公司 | Sludge incineration treatment device |
Citations (5)
| Publication number | Priority date | Publication date | Assignee | Title |
|---|---|---|---|---|
| US3089467A (en) * | 1959-03-18 | 1963-05-14 | Combustion Eng | Steam generator |
| GB975374A (en) * | 1962-08-03 | 1964-11-18 | Prvni Brnenska Strojirna Zd Y | Improvements in or relating to steam boilers |
| US4599953A (en) * | 1985-07-08 | 1986-07-15 | Gould William A | Garbage to hydrocarbon fuel conversion system |
| CN1336998A (en) * | 1999-01-18 | 2002-02-20 | 西门子公司 | Fossil fuel fired steam generator |
| CN202253558U (en) * | 2010-07-22 | 2012-05-30 | 创意能源控股有限公司 | Heat recovery system and cogeneration system utilizing same |
Family Cites Families (1)
| Publication number | Priority date | Publication date | Assignee | Title |
|---|---|---|---|---|
| CH629160A5 (en) * | 1978-04-11 | 1982-04-15 | Ferag Ag | Device for subdividing a continuous stream, in particular an overlapping stream, of flat products into individual groups |
-
2011
- 2011-01-07 CN CN201110009977.6A patent/CN102345850B/en not_active Expired - Fee Related
- 2011-01-07 CN CN 201120014747 patent/CN202253558U/en not_active Expired - Fee Related
Patent Citations (5)
| Publication number | Priority date | Publication date | Assignee | Title |
|---|---|---|---|---|
| US3089467A (en) * | 1959-03-18 | 1963-05-14 | Combustion Eng | Steam generator |
| GB975374A (en) * | 1962-08-03 | 1964-11-18 | Prvni Brnenska Strojirna Zd Y | Improvements in or relating to steam boilers |
| US4599953A (en) * | 1985-07-08 | 1986-07-15 | Gould William A | Garbage to hydrocarbon fuel conversion system |
| CN1336998A (en) * | 1999-01-18 | 2002-02-20 | 西门子公司 | Fossil fuel fired steam generator |
| CN202253558U (en) * | 2010-07-22 | 2012-05-30 | 创意能源控股有限公司 | Heat recovery system and cogeneration system utilizing same |
Also Published As
| Publication number | Publication date |
|---|---|
| CN102345850A (en) | 2012-02-08 |
| CN202253558U (en) | 2012-05-30 |
Similar Documents
| Publication | Publication Date | Title |
|---|---|---|
| KR100821124B1 (en) | Heat recovery combustion device | |
| CN101963356B (en) | Combustion system of vertical household garbage incinerator suitable for power generation and control method | |
| US20120017849A1 (en) | Combustion apparatus with improved thermal efficiency | |
| CN102345850B (en) | Thermal recovery system with improved thermal efficiency and thermoelectric combined production system equipped with the thermal recovery system | |
| TWI554730B (en) | Smokeless incinerator and power generation system and heat exchange system using same | |
| KR101209022B1 (en) | Heat recovery system with improved heat recovery rate and combined heat and power generation system using this | |
| RU2435102C1 (en) | Utilisation system of wet carbon-containing waste | |
| CN201852108U (en) | Vertical domestic garbage incinerator combustion system applicable to power generation | |
| KR200455315Y1 (en) | Combustor with improved heat recovery and durability | |
| CN106224974A (en) | Waste incineration processing system | |
| JP4766562B2 (en) | Wood pellet fired steam boiler | |
| KR200445277Y1 (en) | Combustor with improved heat recovery and durability | |
| KR101788165B1 (en) | high temperature incinerator of high molecule waste | |
| KR101160055B1 (en) | The horizontal-type burner | |
| RU2385438C1 (en) | System for utilisation of moist carbon containing wastes | |
| JP2023042597A (en) | Combustion furnace and boiler system for biomass fuel, and biomass fuel combustion method | |
| KR101160053B1 (en) | The vertical-type burner | |
| CN106402938B (en) | A kind of civil heating stove of clean combustion | |
| EP2549181A2 (en) | Combustion apparatus with improved combustion efficiency | |
| KR100893389B1 (en) | Heat recovery system with combustion device | |
| CN212108415U (en) | Household garbage pyrolysis gasification incineration grate furnace and treatment system thereof | |
| CN201497188U (en) | Organic Heat Transfer Boiler | |
| KR20120000805U (en) | Combustion apparatus with improved heat recovery rate and durability | |
| ITMI20110045A1 (en) | MULTI-PURPOSE THERMOVALORIZATION PLANT OF BIOLOGICAL SLUDGE ORGANIC WASTE AND BIOMASS MINUTES | |
| KR20110012185A (en) | Combustion apparatus using waste as fuel |
Legal Events
| Date | Code | Title | Description |
|---|---|---|---|
| C06 | Publication | ||
| PB01 | Publication | ||
| C10 | Entry into substantive examination | ||
| SE01 | Entry into force of request for substantive examination | ||
| C14 | Grant of patent or utility model | ||
| GR01 | Patent grant | ||
| CF01 | Termination of patent right due to non-payment of annual fee |
Granted publication date: 20140226 |
|
| CF01 | Termination of patent right due to non-payment of annual fee |
