CN102330902B - LED (Light Emitting Diode) bulb - Google Patents
LED (Light Emitting Diode) bulb Download PDFInfo
- Publication number
- CN102330902B CN102330902B CN2011102574948A CN201110257494A CN102330902B CN 102330902 B CN102330902 B CN 102330902B CN 2011102574948 A CN2011102574948 A CN 2011102574948A CN 201110257494 A CN201110257494 A CN 201110257494A CN 102330902 B CN102330902 B CN 102330902B
- Authority
- CN
- China
- Prior art keywords
- heat transfer
- transfer body
- mounting plane
- radiator
- led
- Prior art date
- Legal status (The legal status is an assumption and is not a legal conclusion. Google has not performed a legal analysis and makes no representation as to the accuracy of the status listed.)
- Active
Links
- 230000005855 radiation Effects 0.000 claims description 21
- 238000009434 installation Methods 0.000 claims description 9
- 239000000945 filler Substances 0.000 claims description 2
- 230000000694 effects Effects 0.000 abstract description 12
- 238000005286 illumination Methods 0.000 description 11
- 239000011049 pearl Substances 0.000 description 11
- 238000010586 diagram Methods 0.000 description 6
- 239000000758 substrate Substances 0.000 description 3
- 230000000712 assembly Effects 0.000 description 2
- 238000000429 assembly Methods 0.000 description 2
- 238000005516 engineering process Methods 0.000 description 2
- 238000000034 method Methods 0.000 description 2
- 229910000838 Al alloy Inorganic materials 0.000 description 1
- 241000276425 Xiphophorus maculatus Species 0.000 description 1
- 238000010521 absorption reaction Methods 0.000 description 1
- 230000005540 biological transmission Effects 0.000 description 1
- 230000015572 biosynthetic process Effects 0.000 description 1
- 239000000919 ceramic Substances 0.000 description 1
- 238000001816 cooling Methods 0.000 description 1
- 239000006185 dispersion Substances 0.000 description 1
- 238000004134 energy conservation Methods 0.000 description 1
- 230000007613 environmental effect Effects 0.000 description 1
- 230000003760 hair shine Effects 0.000 description 1
- 230000017525 heat dissipation Effects 0.000 description 1
- 238000012423 maintenance Methods 0.000 description 1
- 239000000463 material Substances 0.000 description 1
- 239000000203 mixture Substances 0.000 description 1
- 230000002093 peripheral effect Effects 0.000 description 1
Images
Landscapes
- Non-Portable Lighting Devices Or Systems Thereof (AREA)
- Arrangement Of Elements, Cooling, Sealing, Or The Like Of Lighting Devices (AREA)
Abstract
The invention relates to a lamp. An LED (Light Emitting Diode) bulb comprises a lamp cap, a light-transmitting cover and a heat transfer body, wherein one end of the heat transfer body is connected with the lamp cap, and the other end of the heat transfer body is connected with a radiator; the surface of the heat transfer body, which is positioned between the radiator and the lamp cap, is provided with a mounting plane; the mounting plane is provided with an LED light source component; and the light-transmitting cover covers the LED light source component. The invention, on one hand, aims to provide the LED bulb with a good radiating effect, so that the problem of poor radiating capacity of the conventional LED bulb is solved; and the invention, on the other hand, aims to provide the LED bulb with a lighting region in the rear lower region of the lamp cap, so that the problem of the non-ideal lighting effect when the conventional bulb is used in the vertically mounted lamp in which the lamp cap is in the lower space and the light is required to irradiate downward is solved.
Description
Technical field
The present invention relates to light fixture, relate in particular to a kind of LED bulb, belong to lighting field.
Background technology
Because LED has that volume is little, power consumption is low, long service life, high brightness, environmental protection and the advantage such as sturdy and durable, is widely used in light fixture.
Wherein the version of LED bulb is at lamp holder the heat transfer body to be installed, and at the heat transfer body led light source assembly is installed, and then the illuminator with heat transfer unit and led light source module composition is installed in formation in the translucent cover (lampshade).
Be CN101893180A in the Chinese patent application publication No., name is called in the patent documentation of " a kind of LED bulb " and discloses a kind of LED bulb, bulb in this patent comprises lamp holder, lamp socket, lampshade, radiator and is installed in the interior driver of radiator, be provided with independently little light-emitting zone at bulb, little light-emitting zone consists of with the led light source assembly and the reflection shield that are installed on the independent radiator by being arranged on the independent radiator of radiator away from an end of lamp holder, and lampshade is connected on the radiator and all independently little light-emitting zones are all covered on together.Independently little light-emitting zone in this patent places the top of bulb and is arranged in periphery so that light to around the irradiation, radiator is between light-emitting zone and lamp holder.
Number be CN201636612U at the Chinese patent Granted publication, name is called in the patent documentation of " Novel high-efficiency cooling LED bulb " and also discloses a kind of LED bulb, bulb in this patent comprises lamp holder and the Transparent lamp shade that links together, be provided with a polyhedron that is connected on the lamp holder in lampshade, LED lamp pearl is installed on polyhedral each surface.Wherein polyhedron is the strip column, in order to increase radiating effect, is provided with ceramic block and assists lamp holder to dispel the heat between lampshade and lamp holder.
Existing LED bulb all is to be similar to disclosed version in above-mentioned two patent documents.General has the following disadvantages: the field of illumination all is the zone, front upper place of lamp holder, uprightly installing and when requiring that (such as floor lamp) uses in the light fixture of light irradiation downwards lower at the lamp holder of bulb, very dark in the larger zone of light fixture periphery, illuminating effect is poor; Heat radiation all is to be undertaken by lamp holder and the radiating piece between lamp holder and luminous zone, and in actual use lamp holder be connected on the light fixture and be positioned at the light fixture attaching parts inside, also be that lamp holder is in totally-enclosed or semi-enclosed state, the poor fluidity of the air that the effective area of thermal component and contact with air is less and thermal component is peripheral causes the heat-sinking capability of bulb poor, service life is short.
Summary of the invention
One object of the present invention aims to provide a kind of LED bulb of good heat dissipation effect, solves the problem of existing LED bulb heat radiation ability.
Another object of the present invention aims to provide the LED bulb that a kind of field of illumination is positioned at the rear lower area of lamp holder, solves existing lamp holder when uprightly installing down and require to use in the downward light fixture that shines of light, the problem that illuminating effect is undesirable.
Above technical problem solves by following technical proposal: a kind of LED bulb, comprise lamp holder, diffuser and heat transfer body, described heat transfer body one end is connected with described lamp holder, the other end is connected with radiator, the surface between described radiator and described lamp holder of described heat transfer body is provided with mounting plane, the led light source assembly is installed on the described mounting plane, and described diffuser covers on the described led light source assembly.Mounting plane is set and the led light source assembly is installed on this mounting plane by the side at the heat transfer body, in the use procedure, heat passes to radiator by the heat transfer body and assists lamp holder to dispel the heat together, because radiator is positioned at the end away from lamp holder, so radiator is exposed fully in air, carry out open heat radiation.Mounting plane can be for one or more.
As preferably, described mounting plane is the inclined-plane that tilts towards described lamp holder.Uprightly installing and when requiring in the light fixture of light irradiation downwards lower when bulb uses at lamp holder, the light that makes bulb towards the back lower place of lamp holder to shining, to improve the illuminating effect of this type of light fixture.This kind structure can make the illumination efficiency of bulb improve, and namely when LED lamp pearl quantity was identical with brightness, the bulb of this structure can make the brightness of field of illumination higher.
As preferably, described mounting plane has three at least, and described mounting plane is along circumferentially being distributed on the described heat transfer body.Usually the lighting angle of LED lamp pearl is 120 °, so by changing the corner dimension between three mounting planes, make segment angle 360 degree of the field of illumination centered by bulb adjustable, to satisfy the requirement of different field of illuminations size, in the constant situation of lamp pearl, to improve illumination efficiency.
As preferably, described heat transfer body is the prismoid that an end is large, the other end is little at described radiator place, and each side of described heat transfer body forms respectively a described mounting plane.Uniqueness simple in structure and novelty is easy to process.
As preferably, on each described mounting plane diffuser is installed separately.Diffuser is installed separately on each mounting plane, when bulb size is identical, can be so that the area of single diffuser be less, diffuser is difficult for by damaged during use, and the diffuser on bulb can separately be changed, and has reduced maintenance cost.
As preferably, all be provided with the installation heat sink strip at the position between two adjacent described mounting planes of described heat transfer body, described diffuser is installed between two adjacent described installation heat sink strips correspondingly." installation heat sink strip " refer to not only to be used for to install and fix translucent cover, but also be used for increasing the strip projected parts structure heat transfer body and contact area air.Not only so that translucent cover is convenient when being installed on the heat transfer body, and can also improve the area of dissipation of heat transfer body by the design and installation heat sink strip, strengthen the heat-sinking capability of heat transfer body.
As preferably, described mounting plane is provided with reflection shield.The light of directive diffuser inside is reflected away by reflection shield, to increase illumination efficiency of the present invention.
As preferably, described heat transfer body is tubular structure, and described radiator filler cap is located on the end of described heat transfer body, and the end face away from an end of described heat transfer body of described radiator is provided with the heat radiation projection.The heat transfer body is designed to tubular structure, can saves material and reduce deadweight.Design heat radiation projection can enlarge area of dissipation, increases radiating effect.
As preferably, described heat radiation projection is laminated structure, and the free end of described heat radiation projection is positioned on the same sphere.Make area of dissipation and the maximization of heat radiation angle that an end is radiating end that expose of radiator, the heat that is delivered on the radiator can be scattered away rapidly.
As preferably, be provided with radiator fan in the described heat transfer body, an end that is positioned at described lamp holder of described heat transfer body is provided with fresh air inlet, and described radiator is provided with exhaust vent.The heat of heat transfer body interior is scattered and disappeared away fast, can accelerate the flowing velocity of the air of spreader surface simultaneously, play the effect that improves radiating efficiency.
As preferably, the inner surface of described heat transfer body is provided with the heat sink strip that extends vertically.Increase the internal surface area of heat transfer body, so that taken away by the air of internal flow more rapidly in the heat, simultaneously heat is delivered on the radiator more rapidly and scatters out.
The present invention has following advantage, by the tip designs radiator at bulb, and in the outer end of radiator the heat radiation raised line is set in preferred version, thereby has increased heat-sinking capability and the radiating effect of bulb; Be towards the inclined-plane of lamp holder inclination with mounting plane design mounting plane on the side of bulb and in preferred version that the led light source assembly is installed, bulb is installed in lamp holder in lower vertically installed light fixture the time, radiation response is good; Design a plurality of mounting planes that circumferentially are distributed on the heat transfer body, and on this plane the led light source assembly is installed, can satisfy the lighting requirement of different angles; At the heat transfer body installation heat conduction bar is set, has increased the area of dissipation of heat transfer body, increased the overall heat-sinking capability of bulb.
Description of drawings
Fig. 1 is the schematic diagram of the embodiment of the invention one.
Fig. 2 is the A-A schematic cross-section of Fig. 1.
Fig. 3 is the use view of embodiment one.
Fig. 4 is the schematic diagram of the embodiment of the invention two.
Fig. 5 is that the B of Fig. 4 is to schematic diagram.
Fig. 6 is the use view of the embodiment of the invention two.
Fig. 7 is the schematic diagram of the embodiment of the invention three.
Fig. 8 is the C-C schematic cross-section of Fig. 7.
Fig. 9 is the schematic diagram of the embodiment of the invention four.
Figure 10 is the D-D schematic cross-section of Fig. 9.
Figure 11 is the air flow direction schematic diagram in radiator fan when work of the embodiment of the invention four.
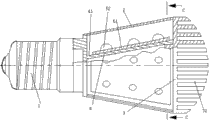
Among the figure: lamp holder 1, radiator fan 11, diffuser 2, draw-in groove 21, radiator 3, threaded connector 31, heat radiation projection 32, the height H of heat radiation projection, the first exhaust vent 33, the second exhaust vents 34, heat transfer body 4, mounting plane 41, the inclination angle E of mounting plane installs heat sink strip 42, endoporus 43, radiating groove 44, fresh air inlet 45, luminous zone air inlet 46, heat sink strip 47, led light source assembly 5, substrate 51, LED lamp pearl 52, reflection shield 6, floor lamp 7, light 8, ground 9, wall 10.
The specific embodiment
The present invention is further illustrated below in conjunction with accompanying drawing and embodiment.
Embodiment one, and referring to Fig. 1, a kind of LED bulb comprises lamp holder 1, six diffusers 2, radiator 3 and heat transfer bodies 4.
Heat transfer body 4 is for being provided with the tubular structure of endoporus 43.Heat transfer body 4 is made for aluminium alloy.One end of heat transfer body 4 is fixedly connected on the lamp holder 1, and the other end of heat transfer body 4 and radiator 3 are fixed together.
Heat transfer body 4 is provided with six mounting planes 41.Mounting plane 41 is the inclined-plane that tilts towards lamp holder 1.The size of the inclination angle E of mounting plane is 25 °.
A led light source assembly 5 respectively is installed on each mounting plane 41.At led light source assembly 5 reflection shield 6 is installed, diffuser 2 covers correspondingly and is located on the reflection shield 6.Led light source assembly 5, reflection shield 6 and diffuser 2 threes parallel with plane 41 is installed.
Led light source assembly 5 comprises substrate 51 and the LED lamp pearl 52 that is arranged on the substrate 51.Each piece is provided with delegation two row LED lamp pearls 52 basically.LED lamp pearl 52 is cylindrical.
The cross section of reflection shield 6 is the four directions annular, and the end that reflection shield 6 is positioned at led light source assembly 5 is little, large towards an end of diffuser 2.
Diffuser 2 is plate-like structure.The left end of diffuser 2 is connected on the heat transfer body 4, and the right-hand member of diffuser 2 is bonded on the radiator 3.
Referring to Fig. 2, heat transfer body 4 is six terrace with edge shapes.Six mounting planes 41 are six sides of heat transfer body 4.Each led light source assembly 5 forms a light-emitting zone together with corresponding reflection shield 6 and diffuser 2.The endoporus 43 of heat transfer body 4 is truncated cone-shaped.All be provided with installation heat sink strip 42 at the position between two adjacent mounting planes 41 of heat transfer body 4, the side of diffuser 2 and reflection shield 6 is fitted in to be installed on the heat sink strip 42, and diffuser 2 and reflection shield 6 are between two adjacent installation heat sink strips 42.
Referring to Fig. 3, when bulb of the present invention is installed on the floor lamp 7, light 8 major parts of sending are towards lamp holder 1, and the zone that is radiated on the ground 9 is also large than the field of illumination of existing LED bulb, and radiator 3 contacts with the air large tracts of land and open the heat radiation.So the present invention has overcome existing with the technology prejudice of luminous zone design at the end of bulb.
Embodiment two, referring to Fig. 4, with the difference of embodiment one be that lamp holder 1 is bayonet socket.Heat transfer body 4 is platy structure.Only be provided with mounting plane 41 in a side of heat transfer body 4.Reflection shield is not set.Diffuser 2 is up big and down small truncated cone-shaped.The lower end of diffuser 2 is connected on the lamp holder 1, and the upper end of diffuser 2 is connected on the radiator 3.Heat transfer body 4 and the led light source assembly 5 that is installed on the mounting plane 41 are positioned at translucent cover 2 inside.The size of the inclination angle E of mounting plane is 40 °.
Referring to Fig. 5, have radiating groove 44 in the side of heat transfer body 4.The purpose of design radiating groove 44 is in order to increase the area of dissipation of heat transfer body 4.
Referring to Fig. 6, the bulb of this kind structure is applicable to be installed on the floor lamp 7 of drawing close wall 10 placements, can effectively improve the illumination efficiency of bulb.In traditional lamp envelope design, all be to make that to carry out diffuse transmission type in 360 scopes of light centered by the axis of lamp holder 1 luminous, the light of directive wall 10 is by wall absorption like this.In the identical situation of LED lamp pearl 52, the brightness meeting of bulb of the present invention in the field of illumination is higher than traditional LED bulb far away, and also namely when realizing identical brightness requirement, this bulb is more in addition more energy-conservation than the LED bulb of traditional structure.
Embodiment three, referring to Fig. 7, with the difference of embodiment one are, LED lamp pearl 52 is spherical.Two row, three row LED lamp pearls 52 are installed on each piece basic 51.The free end of heat radiation projection 32 is positioned on the same sphere.Reflection shield is not installed on mounting plane 41.
Referring to Fig. 8, heat transfer body 4 is three terrace with edge shapes.Each side of heat transfer body 4 consists of a mounting plane 41.Diffuser 2 is truncated cone-shaped.Heat transfer body 4 all is positioned at same translucent cover 2 together with three led light source assemblies 5 that are installed in respectively on three mounting planes.
Embodiment four, referring to Fig. 9, with the difference of embodiment one be in the endoporus 43 of heat transfer body 4, to be provided with radiator fan 11.An end that is positioned at lamp holder 1 of heat transfer body 4 is provided with fresh air inlet 45.Be provided with the luminous zone air inlet 46 that space that mounting plane and translucent cover are surrounded is connected with endoporus 43 at mounting plane 41.Be provided with the first exhaust vent 33 that endoporus 43 is connected with space outerpace at radiator 3.Be provided with the second exhaust vent 34 that space that mounting plane and translucent cover are surrounded is connected with space outerpace at radiator 3.Hole wall at endoporus 43 is provided with the heat sink strip 47 that extends vertically.
Referring to Figure 10, all led light source assemblies 5 share same diffuser 2.Diffuser 2 is truncated cone-shaped.Inner surface at diffuser 2 is provided with draw-in groove 21.Draw-in groove 21 prolongs and extends axially.The mode that is stuck in the draw-in groove 21 by the side with reflection shield 6 fixes reflection shield 6.
Referring to Figure 11, when radiator fan 11 starts, air-flow is in fresh air inlet 45 enters endoporus 43, then one the tunnel flows out from the first exhaust vent 33 after luminous zone air inlet 46 enters the zone that diffuser and mounting plane surround again, directly flow out from the second exhaust vent 34 on another road, plays the effect that improves heat dispersion.
Embodiment five, with the difference of embodiment two be that the inclination angle E of mounting plane is 0 °.
Claims (7)
1. LED bulb, comprise lamp holder, lampshade and heat transfer body, it is characterized in that, described heat transfer body one end is connected with described lamp holder, the other end is connected with radiator, the surface between described radiator and described lamp holder of described heat transfer body is provided with mounting plane, the led light source assembly is installed on the described mounting plane, described lampshade is on described led light source assembly, described mounting plane is provided with reflection shield, described heat transfer body is tubular structure, described radiator filler cap is located on the end of described heat transfer body, the end face away from an end of described heat transfer body of described radiator is provided with the heat radiation projection, in the endoporus of heat transfer body, be provided with radiator fan, an end that is positioned at lamp holder of heat transfer body is provided with fresh air inlet, be provided with the luminous zone air inlet that space that mounting plane and diffuser are surrounded is connected with endoporus at mounting plane, be provided with the first exhaust vent that endoporus is connected with space outerpace at radiator, be provided with the second exhaust vent that space that mounting plane and reflection shield are surrounded is connected with space outerpace at radiator.
2. LED bulb according to claim 1 is characterized in that, described mounting plane is the inclined-plane that tilts towards described lamp holder.
3. LED bulb according to claim 1 and 2 is characterized in that, described mounting plane has three at least, and described mounting plane is along circumferentially being distributed on the described heat transfer body.
4. LED bulb according to claim 3 is characterized in that, described heat transfer body is the prismoid that an end is large, the other end is little at described radiator place, and each side of described heat transfer body forms respectively a described mounting plane.
5. LED bulb according to claim 3 is characterized in that, on each described mounting plane diffuser is installed separately.
6. LED bulb according to claim 5, it is characterized in that, the position between two adjacent described mounting planes at described heat transfer body all is provided with the installation heat sink strip, and described diffuser is installed between two adjacent described installation heat sink strips correspondingly.
7. LED bulb according to claim 1 and 2 is characterized in that, described heat radiation projection is laminated structure, and the free end of described heat radiation projection is positioned on the same sphere.
Priority Applications (1)
| Application Number | Priority Date | Filing Date | Title |
|---|---|---|---|
| CN2011102574948A CN102330902B (en) | 2011-09-02 | 2011-09-02 | LED (Light Emitting Diode) bulb |
Applications Claiming Priority (1)
| Application Number | Priority Date | Filing Date | Title |
|---|---|---|---|
| CN2011102574948A CN102330902B (en) | 2011-09-02 | 2011-09-02 | LED (Light Emitting Diode) bulb |
Publications (2)
| Publication Number | Publication Date |
|---|---|
| CN102330902A CN102330902A (en) | 2012-01-25 |
| CN102330902B true CN102330902B (en) | 2013-10-30 |
Family
ID=45482788
Family Applications (1)
| Application Number | Title | Priority Date | Filing Date |
|---|---|---|---|
| CN2011102574948A Active CN102330902B (en) | 2011-09-02 | 2011-09-02 | LED (Light Emitting Diode) bulb |
Country Status (1)
| Country | Link |
|---|---|
| CN (1) | CN102330902B (en) |
Families Citing this family (9)
| Publication number | Priority date | Publication date | Assignee | Title |
|---|---|---|---|---|
| CN103511859B (en) * | 2012-06-21 | 2017-04-19 | 海洋王照明科技股份有限公司 | LED indicating light |
| CN105864659B (en) * | 2015-02-04 | 2020-03-13 | 嘉兴山蒲照明电器有限公司 | LED bulb lamp |
| CN105841009B (en) * | 2015-02-04 | 2021-06-15 | 嘉兴山蒲照明电器有限公司 | An LED bulb light |
| CN106151933B (en) * | 2015-04-17 | 2021-09-07 | 嘉兴山蒲照明电器有限公司 | An LED bulb light |
| CN105972552B (en) * | 2016-06-28 | 2018-09-21 | 浙江机电职业技术学院 | A kind of heat radiating type Landscape Lamp |
| CN106016159B (en) * | 2016-06-28 | 2018-09-21 | 浙江机电职业技术学院 | A kind of energy-conserving road lamp |
| CN106016158B (en) * | 2016-06-28 | 2018-09-21 | 浙江机电职业技术学院 | A kind of solar street lamp structure |
| CN106016107B (en) * | 2016-06-28 | 2018-08-14 | 浙江机电职业技术学院 | A kind of garden landscape modulated structure |
| US10865974B2 (en) * | 2017-06-08 | 2020-12-15 | Signify Holding B.V. | Solid state lighting lamp |
Citations (5)
| Publication number | Priority date | Publication date | Assignee | Title |
|---|---|---|---|---|
| CN201306620Y (en) * | 2008-12-09 | 2009-09-09 | 嘉善善银节能科技有限公司 | Light emitting diode (LED) columnar lamp for heat-dissipating lamp bracket |
| CN201344393Y (en) * | 2009-02-20 | 2009-11-11 | 林峻毅 | Cylindrical LED lamp |
| CN201568758U (en) * | 2009-06-04 | 2010-09-01 | 陆炜 | Led illuminating lamp |
| CN201724025U (en) * | 2010-05-31 | 2011-01-26 | 刘艳娥 | LED lamp |
| CN202266860U (en) * | 2011-09-02 | 2012-06-06 | 黄山市广远光电科技有限公司 | LED (Light-emitting Diode) lamp bulb |
Family Cites Families (5)
| Publication number | Priority date | Publication date | Assignee | Title |
|---|---|---|---|---|
| KR200451488Y1 (en) * | 2008-04-23 | 2010-12-17 | (주)이노셈코리아 | LED direct light with excellent heat dissipation and reflectivity |
| KR100965900B1 (en) * | 2008-12-16 | 2010-06-24 | 홍삼표 | Capsule-type led lamp |
| CN201680177U (en) * | 2010-02-10 | 2010-12-22 | 周成凤 | Tube type LED lamp |
| CN201836753U (en) * | 2010-09-29 | 2011-05-18 | 王秋燕 | LED yard lamp |
| CN102266860A (en) * | 2011-07-08 | 2011-12-07 | 博罗县业鸿塑胶制品有限公司 | Method for recycling and cleaning waste plastics |
-
2011
- 2011-09-02 CN CN2011102574948A patent/CN102330902B/en active Active
Patent Citations (5)
| Publication number | Priority date | Publication date | Assignee | Title |
|---|---|---|---|---|
| CN201306620Y (en) * | 2008-12-09 | 2009-09-09 | 嘉善善银节能科技有限公司 | Light emitting diode (LED) columnar lamp for heat-dissipating lamp bracket |
| CN201344393Y (en) * | 2009-02-20 | 2009-11-11 | 林峻毅 | Cylindrical LED lamp |
| CN201568758U (en) * | 2009-06-04 | 2010-09-01 | 陆炜 | Led illuminating lamp |
| CN201724025U (en) * | 2010-05-31 | 2011-01-26 | 刘艳娥 | LED lamp |
| CN202266860U (en) * | 2011-09-02 | 2012-06-06 | 黄山市广远光电科技有限公司 | LED (Light-emitting Diode) lamp bulb |
Also Published As
| Publication number | Publication date |
|---|---|
| CN102330902A (en) | 2012-01-25 |
Similar Documents
| Publication | Publication Date | Title |
|---|---|---|
| CN102330902B (en) | LED (Light Emitting Diode) bulb | |
| CN202008025U (en) | High-luminosity angle bulb with frustum table heat-conduction mounting body | |
| CN101457916A (en) | LED lamp | |
| CN102367920A (en) | LED (light emitting diode) wide angle floodlight | |
| CN101893178A (en) | LED lamp tube | |
| CN102644866A (en) | LED (Light-Emitting Diode) lamp bulb with good heat radiation | |
| CN201992485U (en) | LED light source module that is easy to dissipate heat | |
| CN202266860U (en) | LED (Light-emitting Diode) lamp bulb | |
| CN202177001U (en) | Cylindrical ceiling lamp | |
| CN202203729U (en) | Light emitting diode (LED) bulb | |
| CN102705720A (en) | Light emitting diode (LED) direct-emitting type plate lamp | |
| EP3135983A1 (en) | Solar spectrum type led eye-protection flat lamp | |
| CN201382304Y (en) | LED bulb | |
| CN203963717U (en) | A LED Landscape Light | |
| CN202432345U (en) | Fin type warehouse lamp | |
| CN203454073U (en) | Novel convection type efficient and dust-free heat dissipation reflector lamp structure | |
| CN102606913B (en) | Large-angle LED (light emitting diode) lamp | |
| CN217978599U (en) | Flat-plate spotlight | |
| CN103423672A (en) | Large-angle LED (light emitting diode) bulb lamp | |
| CN210319676U (en) | Lamp with good lighting effect | |
| CN203036331U (en) | Large angle LED lights | |
| CN203703732U (en) | LED (light-emitting diode) lamp for filling station | |
| CN201206744Y (en) | LED lamp | |
| CN202419339U (en) | Side heat dissipation type LED (light-emitting diode) module, single-row type LED street lamp and double-row type LED street lamp | |
| CN200986167Y (en) | Heat radiating device of high power light-emitting diode lighting lamp |
Legal Events
| Date | Code | Title | Description |
|---|---|---|---|
| C06 | Publication | ||
| PB01 | Publication | ||
| C10 | Entry into substantive examination | ||
| SE01 | Entry into force of request for substantive examination | ||
| C14 | Grant of patent or utility model | ||
| GR01 | Patent grant |