CN102278617A - Lamp - Google Patents
Lamp Download PDFInfo
- Publication number
- CN102278617A CN102278617A CN2010102009017A CN201010200901A CN102278617A CN 102278617 A CN102278617 A CN 102278617A CN 2010102009017 A CN2010102009017 A CN 2010102009017A CN 201010200901 A CN201010200901 A CN 201010200901A CN 102278617 A CN102278617 A CN 102278617A
- Authority
- CN
- China
- Prior art keywords
- light fixture
- insulation division
- sleeve
- lamp
- lamp body
- Prior art date
- Legal status (The legal status is an assumption and is not a legal conclusion. Google has not performed a legal analysis and makes no representation as to the accuracy of the status listed.)
- Pending
Links
- 238000009413 insulation Methods 0.000 claims description 15
- 230000002093 peripheral effect Effects 0.000 claims description 10
- 238000009434 installation Methods 0.000 claims description 3
- 239000003292 glue Substances 0.000 abstract description 6
- 230000000903 blocking effect Effects 0.000 description 13
- 230000017525 heat dissipation Effects 0.000 description 7
- 239000000463 material Substances 0.000 description 3
- 230000008878 coupling Effects 0.000 description 2
- 238000010168 coupling process Methods 0.000 description 2
- 238000005859 coupling reaction Methods 0.000 description 2
- 239000011810 insulating material Substances 0.000 description 2
- 238000012986 modification Methods 0.000 description 2
- 230000004048 modification Effects 0.000 description 2
- RYGMFSIKBFXOCR-UHFFFAOYSA-N Copper Chemical compound [Cu] RYGMFSIKBFXOCR-UHFFFAOYSA-N 0.000 description 1
- XAGFODPZIPBFFR-UHFFFAOYSA-N aluminium Chemical compound [Al] XAGFODPZIPBFFR-UHFFFAOYSA-N 0.000 description 1
- 229910052782 aluminium Inorganic materials 0.000 description 1
- 238000001816 cooling Methods 0.000 description 1
- 229910052802 copper Inorganic materials 0.000 description 1
- 239000010949 copper Substances 0.000 description 1
- 230000000694 effects Effects 0.000 description 1
- 239000011521 glass Substances 0.000 description 1
- 238000000034 method Methods 0.000 description 1
- 239000012780 transparent material Substances 0.000 description 1
Images
Landscapes
- Non-Portable Lighting Devices Or Systems Thereof (AREA)
- Fastening Of Light Sources Or Lamp Holders (AREA)
- Arrangement Of Elements, Cooling, Sealing, Or The Like Of Lighting Devices (AREA)
Abstract
一种灯具,其包括一灯体及一容置在灯体内的电子元件,所述灯体内容置一绝缘的套筒,该套筒环绕在所述电子元件的周围。本发明灯具利用一绝缘的套筒取代现有技术的绝缘胶而起到防止电子元件漏电或短路的作用,大大减小了整灯的重量,整灯的单位成本也相应降低。
A lamp comprises a lamp body and an electronic component accommodated in the lamp body, an insulating sleeve is placed in the lamp body, and the sleeve surrounds the electronic component. The lamp of the invention uses an insulating sleeve to replace the insulating glue in the prior art to prevent electric leakage or short circuit of the electronic components, greatly reduces the weight of the whole lamp, and correspondingly reduces the unit cost of the whole lamp.
Description
技术领域 technical field
本发明涉及一种灯具。The invention relates to a lamp.
背景技术 Background technique
传统灯具包括一发光源及一用于给该发光源提供驱动电压的驱动电子元件。通常在该驱动电子元件的正常运作中,会产生漏电或是不必要的导电情况而破坏灯具的操作环境。为了解决这个问题,通常在电子元件周围填充绝缘胶以便将电子元件包覆,从而避免有漏电或短路的情况产生。然而填充绝缘胶将会造成整个灯具重量大幅增加,并且增加了整灯的单位成本。因此上述灯具需要进一步地改进。A conventional lamp includes a light source and a driving electronic component for providing a driving voltage to the light source. Usually, during the normal operation of the driving electronic components, electric leakage or unnecessary conduction will occur to destroy the operating environment of the lamp. In order to solve this problem, insulating glue is usually filled around the electronic components to cover the electronic components, so as to avoid the occurrence of electric leakage or short circuit. However, filling the insulating glue will greatly increase the weight of the entire lamp and increase the unit cost of the entire lamp. Therefore above-mentioned light fixture needs further improvement.
发明内容 Contents of the invention
有鉴于此,有必要提供一种重量轻且成本低的灯具。In view of this, it is necessary to provide a light-weight and low-cost light fixture.
一种灯具,其包括一灯体及一容置在灯体内的电子元件,所述灯体内容置一绝缘的套筒,该套筒环绕在所述电子元件的周围。A lamp comprises a lamp body and an electronic component accommodated in the lamp body, an insulating sleeve is placed in the lamp body, and the sleeve surrounds the electronic component.
本发明灯具利用一绝缘的套筒取代现有技术的绝缘胶而起到防止电子元件漏电或短路的作用,大大减小了整灯的重量,整灯的单位成本也相应降低。The lamp of the invention uses an insulating sleeve to replace the insulating glue in the prior art to prevent electric leakage or short circuit of the electronic components, greatly reduces the weight of the whole lamp, and correspondingly reduces the unit cost of the whole lamp.
附图说明 Description of drawings
图1为本发明实施方式提供的灯具立体组装图。Fig. 1 is a three-dimensional assembly view of a lamp provided by an embodiment of the present invention.
图2为图1的灯具的分解图。FIG. 2 is an exploded view of the lamp of FIG. 1 .
图3为图2的灯具的绝缘部的立体放大图。Fig. 3 is a perspective enlarged view of the insulating part of the lamp in Fig. 2 .
图4为图1的灯具沿IV-IV线的剖视图。Fig. 4 is a cross-sectional view of the lamp in Fig. 1 along line IV-IV.
图5为图2的灯具的倒置图。FIG. 5 is an inverted view of the lamp of FIG. 2 .
主要元件符号说明Description of main component symbols
驱动电路模组 10
电路板 12
电子元件 14
抵持部 16Resistance Department 16
套筒 20
灯头 100Lamp Holder 100
电连接头 110
导电接点 111
绝缘部 120
固定部 121Fixed
外围部 122Peripheral Department 122
安装部 123
结合部 124Combined
卡持部 125
容置槽 126
承载部 127Bearing
第一阻挡部 1270First block 1270
第二阻挡部 1272The second block 1272
第三阻挡部 1274The
收容槽 1276Storage Tank 1276
台阶部 128
缺口 129
灯体 200
支撑部 201Supporting
延伸部 202
散热部 203
散热片 205Heat sink 205
沟槽 206Groove 206
灯杯 210Lamp Cup 210
发光模组 220
具体实施方式 Detailed ways
以下将结合附图对本发明作进一步的详细说明。The present invention will be further described in detail below in conjunction with the accompanying drawings.
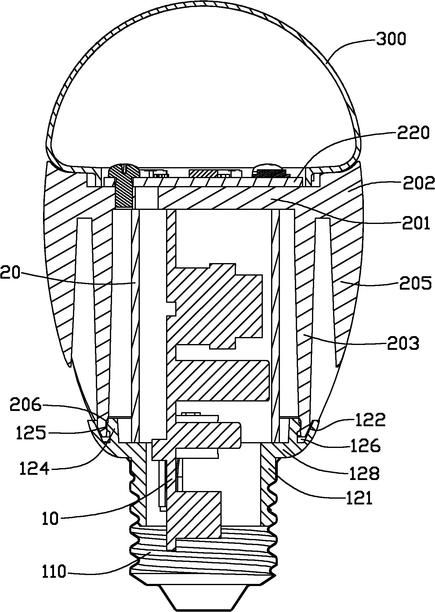
请参阅图1至图2,本发明一实施例中的灯具包括一与外部电源(图未示)连接的灯头100、一灯罩300及相对两端分别连接灯头100及灯罩300的一灯体200。一驱动电路模组10容置在灯体200内。一套筒20容置在灯体200内并套设在驱动电路模组10的外围。Please refer to Fig. 1 to Fig. 2, the lamp in one embodiment of the present invention comprises a
该灯头100包括一电连接头110及一绝缘部120。所述电连接头110套设于绝缘部120的底端,用于与外部电源电连接以提供灯具工作所需的电能。所述绝缘部120与灯体200固定连接。该电连接头110为一壳体结构,在其底端中部设置有一导电接点111,用于与外部电源电性连接。该电连接头110的壳体周围设置有一螺纹结构(未标示),用于与外部电源的插槽(图未示)相连接。该电连接头110通常为标准件,用于与外部电源电性连接而驱动所述驱动电路模组10。该灯具能够直接替换传统的白炽灯泡。The
请同时参阅图3,所述绝缘部120由塑胶材质一体成型,用来将灯头100的电连接头110与灯体200绝缘。该绝缘部120大致呈杯形。该绝缘部120包括位于底部的一固定部121及位于顶部的一安装部123。该固定部121呈筒状,其外径小于该安装部123的外径。该固定部121的外围开设有外螺纹(未标示),用于与所述电连接头110的螺纹结构内部相螺锁,以使绝缘部120与电连接头110连接一起组成灯头100。该固定部121的内表面向内凸设有二相对的承载部127,用于承载所述驱动电路模组10。每一承载部127包括一第一阻挡部1270、一第二阻挡部1272及一第三阻挡部1274。该第一阻挡部1270及第二阻挡部1272呈竖直状态。该第三阻挡部1274呈水平状态。该第三阻挡部1274连接该第一阻挡部1270及第二阻挡部1272的底端。第一阻挡部1270、第二阻挡部1272及第三阻挡部1274共同组成一收容槽1276。该固定部121的底端开设有一缺口129。Please also refer to FIG. 3 , the
所述驱动电路模组10与所述电连接头110电性连接。该驱动电路模组10包括一电路板12及安装在电路板12上的若干电子元件14。该电路板12由项部至底部逐渐缩小,以便电路板12的底部能够容置在绝缘部120内。该电路板12在由项部至底部渐缩过程中,在其相对两侧形成一抵持部16。该抵持部16靠近该电路板12的底端且与该电路板12的底端有一段距离。该抵持部16的两端角分别收容在所述固定部121的二收容槽1276内,并分别抵持在第三阻挡部1274上,从而将驱动电路模组10的底部插入绝缘部120内,相应地,驱动电路模组10的顶部抵顶于所述灯体200的顶部,以使驱动电路模组10固定安装于灯具的腔体内。驱动电路模组10的导线(图未示)穿过固定部121的缺口129与电连接头110焊接,以使驱动电路模组10与电连接头110电性连接。The driving
所述绝缘部120的安装部123包括由所述固定部121的顶缘水平向外延伸的一台阶部128、由该台阶部128的外缘向上向外延伸的一外围部122及由该台阶部128的顶面向上延伸的一结合部124。该台阶部128、该外围部122及该结合部124分别呈环形。该外围部122与结合部124间隔预定距离。该外围部122与该结合部124之间形成一容置槽126,用于容置所述灯体200的底部。该结合部124的外周环面向外凸设一卡持部125。该卡持部125呈环状而围绕在该结合部124的外围,用于与所述灯体200的底部相互卡扣。该卡持部125的横截面大致呈小半圆形。The mounting
所述灯体200包括一灯杯210及安装于灯杯210顶部的一发光模组220。该发光模组220通过螺丝(未标示)安装在灯杯210顶部,并与所述驱动电路模组10电性连接。该灯杯210由导热性能良好的材料如铝、铜等一体铸造成型。该灯杯210包括一支撑部201、自该支撑部201外围向上延伸的一延伸部202及自该支撑部201向下延伸的一散热部203。该支撑部201为圆形。该延伸部202为环形。该散热部203为内空的筒状结构(如图4所示)。该散热部203的外表面向外凸设有若干间隔的散热片205,用以散发灯杯210吸收的热量。每一散热片205大致呈“S”形。每一散热片205的底部抵在所述绝缘部120的外围部122上。The
请同时参阅图5,所述散热部203的内表面底端开设一环形的沟槽206。该散热部203的底端插入所述绝缘部120的容置槽126内。该沟槽206容置该绝缘部120的卡持部125,从而连接绝缘部120与灯杯210。Please also refer to FIG. 5 , an
所述套筒20由绝缘材料一体制成。该套筒20容置在所述散热部203内,并套设在驱动电路模组10的外围,避免有漏电或短路的情况产生。在本实施例中,该套筒20的底端抵在所述绝缘部120的台阶部128上,顶端抵在所述灯杯210的支撑部201底面。该套筒20位于该绝缘部120的结合部124内侧。该套筒20与结合部124相隔,也就是说,该套筒20的外径小于结合部124的内径。在其他实施例中,该套筒20的外周面贴设在结合部124的内周面上,也就是说,该套筒20的外径等于结合部124的内径。该套筒20材质与形状可针对需求做不同的选用与调整,只要其具有不导电、绝缘之效果即可用于包覆灯具的驱动电路模组10。The
所述灯罩300呈一侧开口的、内空的半球形,其固定于所述灯杯210顶端且罩设所述发光模组220。该灯罩300采用透明材料制成,如玻璃、塑料等。The
所述发光模组220可为一发光二极管(LED)模组。The
与现有技术相比,由绝缘材料制成的套筒20包覆驱动电路模组10,有效避免有漏电或短路的情况产生。该套筒20相比于在驱动电路模组10周围填充绝缘胶具有容易操作、使用方便、重量较轻以及成本较低之优点,使得整个灯具也具有容易操作、使用方便、重量较轻以及成本较低之优点。Compared with the prior art, the
本发明灯具利用一绝缘的套筒取代现有技术的绝缘胶而起到防止电子元件漏电或短路的作用,大大减小了整灯的重量,整灯的单位成本也相应降低。The lamp of the invention uses an insulating sleeve to replace the insulating glue in the prior art to prevent electric leakage or short circuit of the electronic components, greatly reduces the weight of the whole lamp, and correspondingly reduces the unit cost of the whole lamp.
可以理解的是,对于本领域的普通技术人员来说,可以根据本发明的技术构思做出其它各种相应的改变与变形,而所有这些改变与变形都应属于本发明权利要求的保护范围。It can be understood that those skilled in the art can make various other corresponding changes and modifications according to the technical concept of the present invention, and all these changes and modifications should belong to the protection scope of the claims of the present invention.
Claims (10)
Priority Applications (1)
| Application Number | Priority Date | Filing Date | Title |
|---|---|---|---|
| CN2010102009017A CN102278617A (en) | 2010-06-14 | 2010-06-14 | Lamp |
Applications Claiming Priority (1)
| Application Number | Priority Date | Filing Date | Title |
|---|---|---|---|
| CN2010102009017A CN102278617A (en) | 2010-06-14 | 2010-06-14 | Lamp |
Publications (1)
| Publication Number | Publication Date |
|---|---|
| CN102278617A true CN102278617A (en) | 2011-12-14 |
Family
ID=45104237
Family Applications (1)
| Application Number | Title | Priority Date | Filing Date |
|---|---|---|---|
| CN2010102009017A Pending CN102278617A (en) | 2010-06-14 | 2010-06-14 | Lamp |
Country Status (1)
| Country | Link |
|---|---|
| CN (1) | CN102278617A (en) |
Cited By (3)
| Publication number | Priority date | Publication date | Assignee | Title |
|---|---|---|---|---|
| CN103162141A (en) * | 2013-03-14 | 2013-06-19 | 邹正康 | Light emitting diode (LED) lamp |
| CN105408684A (en) * | 2013-06-10 | 2016-03-16 | 万斯创新公司 | LED lighting assembly and manufacturing method thereof |
| CN106015984A (en) * | 2016-06-30 | 2016-10-12 | 浙江生辉照明有限公司 | Heat sink and LED lamp |
-
2010
- 2010-06-14 CN CN2010102009017A patent/CN102278617A/en active Pending
Cited By (4)
| Publication number | Priority date | Publication date | Assignee | Title |
|---|---|---|---|---|
| CN103162141A (en) * | 2013-03-14 | 2013-06-19 | 邹正康 | Light emitting diode (LED) lamp |
| CN105408684A (en) * | 2013-06-10 | 2016-03-16 | 万斯创新公司 | LED lighting assembly and manufacturing method thereof |
| CN105408684B (en) * | 2013-06-10 | 2019-06-14 | 万斯创新公司 | LED lighting assembly and method of manufacturing the same |
| CN106015984A (en) * | 2016-06-30 | 2016-10-12 | 浙江生辉照明有限公司 | Heat sink and LED lamp |
Similar Documents
| Publication | Publication Date | Title |
|---|---|---|
| JP3168334U (en) | LED lighting fixture | |
| JP3168336U (en) | Heat dissipating module and LED lighting device provided with heat dissipating module | |
| US10024515B2 (en) | Lighting device having separable light source and circuitry | |
| US7990062B2 (en) | LED lamp | |
| US8408747B2 (en) | Light emitting devices having heat-dissipating surface | |
| CN102472464B (en) | Lamps and lighting fixtures | |
| TW201407091A (en) | Light-emitting diode bulb structure that enhances heat dissipation efficiency | |
| CN102834665A (en) | Heat dissipating device and illumination device | |
| JP2011228125A (en) | Illumination device | |
| CN201954316U (en) | LED lamp | |
| CN202188328U (en) | LED lamp with high-efficiency heat radiation power supply assembly | |
| CN102135242A (en) | LED lamps | |
| EP3179152B1 (en) | Lighting device | |
| CN102278617A (en) | Lamp | |
| US9182083B2 (en) | Light emitting diode bulb | |
| CN201242055Y (en) | Semiconductor lamp | |
| CN202884563U (en) | Light-emitting diode (LED) lamp | |
| CN202158376U (en) | light emitting diode bulb structure | |
| TW201109575A (en) | Light emitting diode lamp | |
| KR101611391B1 (en) | The led light to be equipped isolation heat-discharging plate | |
| US20130099668A1 (en) | Led lamp with an air-permeable shell for heat dissipation | |
| JP5283765B2 (en) | Lighting device | |
| TW201226775A (en) | LED bulb | |
| CN204227114U (en) | lamp | |
| CN206582578U (en) | A kind of LED lamp with heat dissipation of lamp base |
Legal Events
| Date | Code | Title | Description |
|---|---|---|---|
| C06 | Publication | ||
| PB01 | Publication | ||
| C02 | Deemed withdrawal of patent application after publication (patent law 2001) | ||
| WD01 | Invention patent application deemed withdrawn after publication |
Application publication date: 20111214 |
