CN102244131A - Building integrated photovoltaic solar module of hollow type and manufacturing method thereof - Google Patents

Building integrated photovoltaic solar module of hollow type and manufacturing method thereof Download PDF

Info

Publication number
CN102244131A
CN102244131A CN2011101647015A CN201110164701A CN102244131A CN 102244131 A CN102244131 A CN 102244131A CN 2011101647015 A CN2011101647015 A CN 2011101647015A CN 201110164701 A CN201110164701 A CN 201110164701A CN 102244131 A CN102244131 A CN 102244131A
Authority
CN
China
Prior art keywords
glass
solar module
glued membrane
crystal silicon
low
Prior art date
Legal status (The legal status is an assumption and is not a legal conclusion. Google has not performed a legal analysis and makes no representation as to the accuracy of the status listed.)
Granted
Application number
CN2011101647015A
Other languages
Chinese (zh)
Other versions
CN102244131B (en
Inventor
余宗保
李峰
董玉红
卢秀强
Current Assignee (The listed assignees may be inaccurate. Google has not performed a legal analysis and makes no representation or warranty as to the accuracy of the list.)
Jiangsu Xiuqiang Glasswork Co Ltd
Original Assignee
Jiangsu Xiuqiang Glasswork Co Ltd
Priority date (The priority date is an assumption and is not a legal conclusion. Google has not performed a legal analysis and makes no representation as to the accuracy of the date listed.)
Filing date
Publication date
Application filed by Jiangsu Xiuqiang Glasswork Co Ltd filed Critical Jiangsu Xiuqiang Glasswork Co Ltd
Priority to CN2011101647015A priority Critical patent/CN102244131B/en
Publication of CN102244131A publication Critical patent/CN102244131A/en
Application granted granted Critical
Publication of CN102244131B publication Critical patent/CN102244131B/en
Active legal-status Critical Current
Anticipated expiration legal-status Critical

Links

Images

Classifications

    • YGENERAL TAGGING OF NEW TECHNOLOGICAL DEVELOPMENTS; GENERAL TAGGING OF CROSS-SECTIONAL TECHNOLOGIES SPANNING OVER SEVERAL SECTIONS OF THE IPC; TECHNICAL SUBJECTS COVERED BY FORMER USPC CROSS-REFERENCE ART COLLECTIONS [XRACs] AND DIGESTS
    • Y02TECHNOLOGIES OR APPLICATIONS FOR MITIGATION OR ADAPTATION AGAINST CLIMATE CHANGE
    • Y02BCLIMATE CHANGE MITIGATION TECHNOLOGIES RELATED TO BUILDINGS, e.g. HOUSING, HOUSE APPLIANCES OR RELATED END-USER APPLICATIONS
    • Y02B10/00Integration of renewable energy sources in buildings
    • Y02B10/10Photovoltaic [PV]
    • YGENERAL TAGGING OF NEW TECHNOLOGICAL DEVELOPMENTS; GENERAL TAGGING OF CROSS-SECTIONAL TECHNOLOGIES SPANNING OVER SEVERAL SECTIONS OF THE IPC; TECHNICAL SUBJECTS COVERED BY FORMER USPC CROSS-REFERENCE ART COLLECTIONS [XRACs] AND DIGESTS
    • Y02TECHNOLOGIES OR APPLICATIONS FOR MITIGATION OR ADAPTATION AGAINST CLIMATE CHANGE
    • Y02BCLIMATE CHANGE MITIGATION TECHNOLOGIES RELATED TO BUILDINGS, e.g. HOUSING, HOUSE APPLIANCES OR RELATED END-USER APPLICATIONS
    • Y02B10/00Integration of renewable energy sources in buildings
    • Y02B10/20Solar thermal
    • YGENERAL TAGGING OF NEW TECHNOLOGICAL DEVELOPMENTS; GENERAL TAGGING OF CROSS-SECTIONAL TECHNOLOGIES SPANNING OVER SEVERAL SECTIONS OF THE IPC; TECHNICAL SUBJECTS COVERED BY FORMER USPC CROSS-REFERENCE ART COLLECTIONS [XRACs] AND DIGESTS
    • Y02TECHNOLOGIES OR APPLICATIONS FOR MITIGATION OR ADAPTATION AGAINST CLIMATE CHANGE
    • Y02EREDUCTION OF GREENHOUSE GAS [GHG] EMISSIONS, RELATED TO ENERGY GENERATION, TRANSMISSION OR DISTRIBUTION
    • Y02E10/00Energy generation through renewable energy sources
    • Y02E10/50Photovoltaic [PV] energy
    • YGENERAL TAGGING OF NEW TECHNOLOGICAL DEVELOPMENTS; GENERAL TAGGING OF CROSS-SECTIONAL TECHNOLOGIES SPANNING OVER SEVERAL SECTIONS OF THE IPC; TECHNICAL SUBJECTS COVERED BY FORMER USPC CROSS-REFERENCE ART COLLECTIONS [XRACs] AND DIGESTS
    • Y02TECHNOLOGIES OR APPLICATIONS FOR MITIGATION OR ADAPTATION AGAINST CLIMATE CHANGE
    • Y02PCLIMATE CHANGE MITIGATION TECHNOLOGIES IN THE PRODUCTION OR PROCESSING OF GOODS
    • Y02P70/00Climate change mitigation technologies in the production process for final industrial or consumer products
    • Y02P70/50Manufacturing or production processes characterised by the final manufactured product

Landscapes

  • Joining Of Glass To Other Materials (AREA)

Abstract

The invention provides a building integrated photovoltaic solar module of a hollow type and a manufacturing method thereof. The solar module has a laminated structure and is provided with front packaging glass (1), a first adhesive film bonding layer (2), crystal silicon chips (3), a second adhesive film connection layer (4), substrate glass (6), glass cements (8), chromatic crystallized glass panels (9), and toughened glass (10). Crystal silicon chips (3) are embedded into the second adhesive film connection layer (4) and are fixed on the surface of the first adhesive film bonding layer (2) by the second adhesive film connection layer (4). The chromatic crystallized glass panels (9) are fixed on the surface of the substrate glass (6) by the glass cements (8). Hollow aluminum strips (11) are arranged around the space between the toughened glass (10) and the substrate glass (6) for fixation and polysulfide rubbers (12) are coated on edges of the hollow aluminum strips for sealing. According to the invention, areas of back sides of a crystal silicon chip and a amorphous silicon cell are respectively covered by the solar module and decoration of chromatic crystallized pattern marks is displayed, so that good effects of shielding of sunrays, heat insulation and filtering can be achieved.

Description

Building integrated photovoltaic hollow type solar module and manufacture method
Technical field
The present invention relates to a kind of novel crystal silicon, the structure and the manufacture method of amorphous silicon solar cell module, belong to glass deep processing and building integrated photovoltaic field.
Background technology
In the crystal silicon type, when the extension of amorphous silicon type solar module is applied to building curtain wall, door and window, ceiling, remain at present in some problems affect industry practicality development.The effective cell power generation area of first daylighting area can change because of the different demands of user produce crystal silicon sheet spacing, and the frock clamp change calibration frequency was many when this variation will cause batch process, manufacturing cost is high; It two is that battery component can reach outdoor sunny slope electricity generate function, local to indoor printing opacity function, but the crystal silicon battery sheet back side and amorphous silicon battery flat colour and pattern can not be created visual sense of beauty to indoor environment, influence the combination property of indoor environment; It three is the thermal insulation when being used for curtain wall, door and window ceiling of building photovoltaic glass, heat insulation, sound insulation, optical filtering, safe shock resistance is poor, tensile strength is low, awaits further raising.
Summary of the invention
Technical problem:The purpose of this invention is to provide a kind of building integrated photovoltaic solar module and manufacture method, the one, promote thermal insulation, effect of heat insulation by selecting the low glued membrane of conductive coefficient for use; The 2nd, by multiple color crystal glass technology integrated use grafting, realize that the rear surface of solar cell be used for building integrated photovoltaic decorates the covering of room area, promote functional, practicality, ornamental perfect combination.
Technical scheme:Building integrated photovoltaic hollow type solar module of the present invention, it is characterized in that this solar module is the layered laminate structure, comprise preceding packaged glass, the first glued membrane adhesive linkage, crystal silicon sheet, the second glued membrane articulamentum, base plate glass, glass cement, color crystal glass elbow-board, toughened glass that order is provided with; The crystal silicon sheet embeds the second glued membrane articulamentum and is fixed on the first glued membrane adhesive linkage surface by the second glued membrane articulamentum; The color crystal glass elbow-board is fixed on the surface of base plate glass by glass cement; Between toughened glass and the base plate glass by around the hollow aluminum strip be set fix, and coat poly-sulphur glue in hollow aluminum strip limit portion and seal.
The first glued membrane adhesive linkage, the second glued membrane articulamentum are polyethylene-vinyl acetate (EVA) or polyvinyl butyral resin (PVB).
Preceding packaged glass is very white rolled glass, ultra-white float glass, common float glass or the glass that has plated antireflective coating, and thickness is 2-6mm.
Base plate glass is very white rolled glass, ultra-white float glass, common float glass or the glass that has plated low radiation Low-E film, and thickness is 2-6mm.
The manufacture method of building integrated photovoltaic hollow type solar module of the present invention is:
A) select preceding packaged glass for use;
B) select for use the first low glued membrane adhesive linkage of conductive coefficient to be positioned at above the preceding packaged glass;
C) require the distribution map crystal silicon sheet of arranging according to crystal silicon sheet spacing;
D) select for use second glued membrane articulamentum location to cover on the crystal silicon sheet;
E) toughened glass location is covered on the second glued membrane articulamentum, sent into the synthetic doubling assembly of laminating machine;
F) paste the color crystal glass elbow-board at the crystal silicon sheet back side of doubling assembly with glass cement, coat side is corresponding with the crystal silicon sheet back side;
H) color crystal glass elbow-board and toughened glass bond together by glass cement, toughened glass and base plate glass by around the hollow aluminum strip be set fix, and coat poly-sulphur glue in hollow aluminum strip limit portion and seal, form complete assemblies.
Wherein, the manufacture method of color crystal glass elbow-board is:
A) select float flat glass for use, by designing requirement cutting, edging, develop a film to be printed;
B) the low-temperature solvent type printing ink of allotment decorative pattern use, with 120 order screen paintings, 160 ℃, oven dry in 5 minutes;
C) the low-temperature solvent type printing ink of the color complexion use of allotment, with 100 order screen paintings, 160 ℃, oven dry in 5 minutes;
D) the low-temperature solvent type printing ink approximate of allotment back cover use with the silicon chip color, with 100 order screen paintings, 160 ℃, oven dry in 5 minutes;
E) the light grey low-temperature solvent type printing ink of allotment is with 250 order half tones seal separator bar box sequence number, 160 ℃, oven dry in 10 minutes;
F), carry out cutting according to the separator bar that has printed with the color crystal glass that prints;
G) glass behind the cutting is carried out edging, cleaning.
The making of color crystal glass elbow-board (9) can also be adopted the inboard directly method of wire mark air brushing of backboard,
H) selecting common float glass is base material;
I) by specified size glass is carried out cutting, edging and tempering;
J) 120 order screen paintings are used in the transparent sudden strain of a muscle of modulation low-temperature printing ink gloss oil, the oven dry in 5 minutes of 160 degree;
K) use plane data air brushing machine, whole patterns are finished in air brushing, the UV photocuring;
L) printing back cover, it is stand-by that hollow out goes out neat transmission region.
Beneficial effect:By selecting for use the low diaphragm of conductive coefficient to promote thermal insulation, effect of heat insulation; By multiple color crystal glass technology integrated use grafting, realize that the covering of crystal silicon sheet, amorphous silicon chip notacoria course room area is decorated, promoted functional, practicality, ornamental perfect combination.Be coated with the shielding of the Low-E rete increase on reservation limit by inner face, realized heat insulation, optical filtering, reduced indoor article high light degree of aging for transparent surface sunlight middle infrared (Mid-IR) in back-panel glass.
This target product can also combine with the Low-E energy-saving glass, has played when beautifying effect, reduced when assembly is used as curtain wall conductive coefficient, reached better shielding sunray, heat insulation, the effect that filters; Three provide the manufacture method of building integrated photovoltaic solar module; This product is the upgrading products of present solar module.
Description of drawings
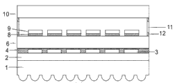
Fig. 1 is a structural representation of the present invention.
Wherein have: preceding packaged glass 1, the first glued membrane adhesive linkage 2, crystal silicon sheet 3, the second glued membrane articulamentum 4, base plate glass 6, glass cement 8, color crystal glass elbow-board 9, toughened glass 10, hollow aluminum strip 11, poly-sulphur glue 12.
Embodiment
Building integrated photovoltaic hollow type solar module of the present invention is the layered laminate structure, comprises preceding packaged glass 1, the first glued membrane adhesive linkage 2, crystal silicon sheet 3, the second glued membrane articulamentum 4, base plate glass 6, glass cement 8, color crystal glass elbow-board 9, toughened glass 10 that order is provided with; Crystal silicon sheet 3 embeds the second glued membrane articulamentum 4 and is fixed on the first glued membrane adhesive linkage, 2 surfaces by the second glued membrane articulamentum 4; Color crystal glass elbow-board 9 is fixed on the surface of base plate glass 6 by glass cement 8; Between toughened glass 10 and the base plate glass 6 by around that hollow aluminum strip 11 is set is fixing, and coat poly-sulphur glue 12 in hollow aluminum strip limit portion and seal.
The first glued membrane adhesive linkage 2, the second glued membrane articulamentum 4 are polyethylene-vinyl acetate (EVA) or polyvinyl butyral resin (PVB).
Preceding packaged glass 1 is very white rolled glass, ultra-white float glass, common float glass or the glass that has plated antireflective coating, and thickness is 2-6mm.
Base plate glass 6 is very white rolled glass, ultra-white float glass, common float glass or the glass that has plated low radiation Low-E film, and thickness is 2-6mm.
The color brilliant hollow type crystal silicon solar batteries assembly manufacture method of decorating back-panel glass is:
1) manufacture method one of color crystal glass elbow-board 9:
A) select float flat glass for use, by designing requirement cutting, edging, develop a film to be printed;
B) the low-temperature solvent type printing ink of allotment decorative pattern use, with 120 order screen paintings, 160 ℃, oven dry in 5 minutes;
C) the low-temperature solvent type printing ink of the color complexion use of allotment, with 100 order screen paintings, 160 ℃, oven dry in 5 minutes;
D) the low-temperature solvent type printing ink approximate of allotment back cover use with the silicon chip color, with 100 order screen paintings, 160 ℃, oven dry in 5 minutes;
E) the light grey low-temperature solvent type printing ink of allotment is with 250 order half tones seal separator bar box sequence number, 160 ℃, oven dry in 10 minutes;
F), carry out cutting according to the separator bar that has printed with the color crystal glass that prints;
G) glass behind the cutting is carried out edging, cleaning.
The manufacture method two of color crystal glass elbow-board 9:
A) selecting float glass is base material;
B) by specified size glass is carried out cutting, edging and tempering;
C) 120 order screen paintings are used in the transparent sudden strain of a muscle of modulation low-temperature printing ink gloss oil, the oven dry in 5 minutes of 160 degree;
D) use plane data air brushing machine, whole patterns are finished in air brushing, the UV photocuring;
E) printing back cover, it is stand-by that hollow out goes out neat transmission region.
Color brilliant synthetic method of decorating the hollow type crystal silicon solar batteries photovoltaic module of back-panel glass of the present invention is: packaged glass 1 before a) selecting for use;
B) select for use the low glued membrane of conductive coefficient 2 to be positioned at above the preceding packaged glass 1;
C) require the distribution map crystal silicon sheet 3 of arranging according to the silicon chip spacing;
D) select for use glued membrane 4 location to cover on crystal silicon sheet 3;
E) glass substrate 6 is decorated the glass that transfer membrane coating 5 is arranged and located superimposed position downwards in crystal silicon sheet correspondence;
F) toughened glass is covered as base plate glass 6 location on diaphragm, send into the synthetic doubling assembly of laminating machine;
G) paste color crystal glass elbow-board 9 at the crystal silicon sheet back side of doubling assembly with glass cement 8, coat side is corresponding with the crystal silicon sheet back side;
H) color crystal glass elbow-board 9 and base plate glass 6 bond together by glass cement 8, toughened glass 10 and base plate glass 6 by around that hollow aluminum strip 11 is set is fixing, and coat poly-sulphur glue 12 in hollow aluminum strip limit portion and seal the composition complete assemblies.

Claims (7)

1. building integrated photovoltaic hollow type solar module, it is characterized in that this solar module is the layered laminate structure, comprise preceding packaged glass (1), the first glued membrane adhesive linkage (2), crystal silicon sheet (3), the second glued membrane articulamentum (4), base plate glass (6), glass cement (8), color crystal glass elbow-board (9), toughened glass (10) that order is provided with; Crystal silicon sheet (3) embeds the second glued membrane articulamentum (4) and is fixed on first glued membrane adhesive linkage (2) surface by the second glued membrane articulamentum (4); Color crystal glass elbow-board (9) is fixed on the surface of base plate glass (6) by glass cement (8); Between toughened glass (10) and the base plate glass (6) by around that hollow aluminum strip (11) is set is fixing, and coat poly-sulphur glue (12) in hollow aluminum strip limit portion and seal.
2. building integrated photovoltaic hollow type solar module according to claim 1 is characterized in that: the first glued membrane adhesive linkage (2), the second glued membrane articulamentum (4) are polyethylene-vinyl acetate EVA or polyvinyl butyral resin PVB.
3. building integrated photovoltaic hollow type solar module according to claim 1 is characterized in that: preceding packaged glass (1) is very white rolled glass, ultra-white float glass, common float glass or the glass that has plated antireflective coating, and thickness is 2-6mm.
4. building integrated photovoltaic hollow type solar module according to claim 1, it is characterized in that, base plate glass (6) is very white rolled glass, ultra-white float glass, common float glass or the glass that has plated low radiation Low-E film, and thickness is 2-6mm.
5. the making side of a building integrated photovoltaic hollow type solar module as claimed in claim 1
Method is characterized in that the synthetic method of this photovoltaic module is:
A) select preceding packaged glass (1) for use;
B) select for use the first low glued membrane adhesive linkage (2) of conductive coefficient to be positioned at above the preceding packaged glass;
C) require the distribution map crystal silicon sheet (3) of arranging according to crystal silicon sheet (3) spacing;
D) select for use the second glued membrane articulamentum (4) location to cover on the crystal silicon sheet;
E) toughened glass (10) location is covered on the second glued membrane articulamentum (4), sent into the synthetic doubling assembly of laminating machine;
F) paste color crystal glass elbow-board (9) at the crystal silicon sheet back side of doubling assembly with glass cement (8), coat side is corresponding with crystal silicon sheet (3) back side;
H) color crystal glass elbow-board (9) and toughened glass (10) bond together by glass cement (8), toughened glass (10) and base plate glass (6) by around hollow aluminum strip (11) be set fix, and coat poly-sulphur glue (12) in hollow aluminum strip (11) limit portion and seal, form complete assemblies.
6. the manufacture method of building integrated photovoltaic hollow type solar module according to claim 5 is characterized in that: the manufacture method of color crystal glass elbow-board (9) is:
A) select float flat glass for use, by designing requirement cutting, edging, develop a film to be printed;
B) the low-temperature solvent type printing ink of allotment decorative pattern use, with 120 order screen paintings, 160 ℃, oven dry in 5 minutes;
C) the low-temperature solvent type printing ink of the color complexion use of allotment, with 100 order screen paintings, 160 ℃, oven dry in 5 minutes;
D) the low-temperature solvent type printing ink approximate of allotment back cover use with the silicon chip color, with 100 order screen paintings, 160 ℃, oven dry in 5 minutes;
E) the light grey low-temperature solvent type printing ink of allotment is with 250 order half tones seal separator bar box sequence number, 160 ℃, oven dry in 10 minutes;
F), carry out cutting according to the separator bar that has printed with the color crystal glass that prints;
G) glass behind the cutting is carried out edging, cleaning.
7. the manufacture method of building integrated photovoltaic hollow type solar module according to claim 5 is characterized in that: the inboard directly method of wire mark air brushing of backboard is adopted in the making of color crystal glass elbow-board (9),
H) selecting common float glass is base material;
I) by specified size glass is carried out cutting, edging and tempering;
J) 120 order screen paintings are used in the transparent sudden strain of a muscle of modulation low-temperature printing ink gloss oil, the oven dry in 5 minutes of 160 degree;
K) use plane data air brushing machine, whole patterns are finished in air brushing, the UV photocuring;
L) printing back cover, it is stand-by that hollow out goes out neat transmission region.
CN2011101647015A 2011-06-20 2011-06-20 Building integrated photovoltaic solar module of hollow type and manufacturing method thereof Active CN102244131B (en)

Priority Applications (1)

Application Number Priority Date Filing Date Title
CN2011101647015A CN102244131B (en) 2011-06-20 2011-06-20 Building integrated photovoltaic solar module of hollow type and manufacturing method thereof

Applications Claiming Priority (1)

Application Number Priority Date Filing Date Title
CN2011101647015A CN102244131B (en) 2011-06-20 2011-06-20 Building integrated photovoltaic solar module of hollow type and manufacturing method thereof

Publications (2)

Publication Number Publication Date
CN102244131A true CN102244131A (en) 2011-11-16
CN102244131B CN102244131B (en) 2013-05-08

Family

ID=44962081

Family Applications (1)

Application Number Title Priority Date Filing Date
CN2011101647015A Active CN102244131B (en) 2011-06-20 2011-06-20 Building integrated photovoltaic solar module of hollow type and manufacturing method thereof

Country Status (1)

Country Link
CN (1) CN102244131B (en)

Cited By (8)

* Cited by examiner, † Cited by third party
Publication number Priority date Publication date Assignee Title
CN105532321A (en) * 2016-01-29 2016-05-04 滦南林海科技发展有限责任公司 Agricultural-photovoltaic complementary photovoltaic module and application method thereof on agricultural greenhouse
CN106098824A (en) * 2016-07-13 2016-11-09 合肥中南光电有限公司 The mounting structure of solar module
CN106559029A (en) * 2016-12-06 2017-04-05 庄爱芹 Hollow type photovoltaic glass curtain wall and preparation method thereof
CN109390426A (en) * 2018-09-10 2019-02-26 广州市龙珠化工有限公司 A kind of glass panel of solar-energy photo-voltaic cell and preparation method thereof
WO2019196241A1 (en) * 2018-04-13 2019-10-17 广东汉能薄膜太阳能有限公司 Method for manufacturing power generating tile
CN110797437A (en) * 2019-11-08 2020-02-14 广东德恒龙焱能源科技有限公司 Production method for photovoltaic glass process
CN111119385A (en) * 2018-10-31 2020-05-08 北京汉能光伏投资有限公司 Photovoltaic curtain wall and manufacturing method thereof
CN111653640A (en) * 2020-06-10 2020-09-11 昆山富世通自动化设备有限公司 A color photovoltaic module and coloring method thereof

Citations (8)

* Cited by examiner, † Cited by third party
Publication number Priority date Publication date Assignee Title
CN201191614Y (en) * 2008-04-17 2009-02-04 黄鸣 Dual glass EVA hollow photovoltaic curtain wall
CN101367619A (en) * 2008-09-12 2009-02-18 江苏秀强玻璃工艺有限公司 Manufacturing method of colorful crystal glass
CN101504955A (en) * 2008-02-04 2009-08-12 株式会社Msk Transmission type sunlight electricity generating apparatus
CN101740650A (en) * 2009-12-15 2010-06-16 中国科学技术大学 Complete plate tube-sheet type photovoltaic hot-water module
CN201523018U (en) * 2009-10-12 2010-07-07 江苏林洋新能源有限公司 Color crystal hollow photovoltaic module
CN101820033A (en) * 2010-04-26 2010-09-01 江苏林洋新能源有限公司 Manufacturing method of colored-crystal hollow photovoltaic assembly
CN101922210A (en) * 2010-03-02 2010-12-22 新奥光伏能源有限公司 Multifunctional photovoltaic component and manufacturing method thereof
CN202120946U (en) * 2011-06-20 2012-01-18 江苏秀强玻璃工艺股份有限公司 Building photovoltaic integrated hollow solar cell assembly

Patent Citations (8)

* Cited by examiner, † Cited by third party
Publication number Priority date Publication date Assignee Title
CN101504955A (en) * 2008-02-04 2009-08-12 株式会社Msk Transmission type sunlight electricity generating apparatus
CN201191614Y (en) * 2008-04-17 2009-02-04 黄鸣 Dual glass EVA hollow photovoltaic curtain wall
CN101367619A (en) * 2008-09-12 2009-02-18 江苏秀强玻璃工艺有限公司 Manufacturing method of colorful crystal glass
CN201523018U (en) * 2009-10-12 2010-07-07 江苏林洋新能源有限公司 Color crystal hollow photovoltaic module
CN101740650A (en) * 2009-12-15 2010-06-16 中国科学技术大学 Complete plate tube-sheet type photovoltaic hot-water module
CN101922210A (en) * 2010-03-02 2010-12-22 新奥光伏能源有限公司 Multifunctional photovoltaic component and manufacturing method thereof
CN101820033A (en) * 2010-04-26 2010-09-01 江苏林洋新能源有限公司 Manufacturing method of colored-crystal hollow photovoltaic assembly
CN202120946U (en) * 2011-06-20 2012-01-18 江苏秀强玻璃工艺股份有限公司 Building photovoltaic integrated hollow solar cell assembly

Cited By (9)

* Cited by examiner, † Cited by third party
Publication number Priority date Publication date Assignee Title
CN105532321A (en) * 2016-01-29 2016-05-04 滦南林海科技发展有限责任公司 Agricultural-photovoltaic complementary photovoltaic module and application method thereof on agricultural greenhouse
CN106098824A (en) * 2016-07-13 2016-11-09 合肥中南光电有限公司 The mounting structure of solar module
CN106559029A (en) * 2016-12-06 2017-04-05 庄爱芹 Hollow type photovoltaic glass curtain wall and preparation method thereof
WO2019196241A1 (en) * 2018-04-13 2019-10-17 广东汉能薄膜太阳能有限公司 Method for manufacturing power generating tile
CN109390426A (en) * 2018-09-10 2019-02-26 广州市龙珠化工有限公司 A kind of glass panel of solar-energy photo-voltaic cell and preparation method thereof
CN109390426B (en) * 2018-09-10 2024-05-28 广州市龙珠化工有限公司 Glass panel for solar photovoltaic cell and preparation method thereof
CN111119385A (en) * 2018-10-31 2020-05-08 北京汉能光伏投资有限公司 Photovoltaic curtain wall and manufacturing method thereof
CN110797437A (en) * 2019-11-08 2020-02-14 广东德恒龙焱能源科技有限公司 Production method for photovoltaic glass process
CN111653640A (en) * 2020-06-10 2020-09-11 昆山富世通自动化设备有限公司 A color photovoltaic module and coloring method thereof

Also Published As

Publication number Publication date
CN102244131B (en) 2013-05-08

Similar Documents

Publication Publication Date Title
CN102244131B (en) Building integrated photovoltaic solar module of hollow type and manufacturing method thereof
CN104409536B (en) Integrative color photovoltaic assembly for building interior decoration and preparation method thereof
CN201347412Y (en) Stereoscopic glass
AU2018101583A4 (en) Solar cell module
JP2021027266A (en) Decorated solar cell module
CN101136442A (en) Solar photovoltaic power generation sandwich glass
CN103746021A (en) Light transmission film solar energy assembly containing color artistic pattern, and manufacturing method thereof
JP2012227402A (en) Solar cell panel with ornament pattern
CN102299190A (en) Building integrated photovoltaic (BIPV) hollow-type amorphous silicon solar module and manufacturing method thereof
EP4186102A1 (en) Photovoltaic panel
CN113421932A (en) Color photovoltaic module and preparation method thereof
CN202120946U (en) Building photovoltaic integrated hollow solar cell assembly
CN110890438A (en) A front plate for a solar module, a manufacturing method, and a solar module
CN102299189A (en) Building integrated photovoltaic laminated solar module and manufacturing method thereof
CN208955000U (en) A kind of solar energy luminous component
CN101922210B (en) Multifunctional photovoltaic component and manufacturing method thereof
CN110952689A (en) Front plate, solar glass curtain wall and preparation method thereof
CN201364445Y (en) Pattern-type discoloring glass
CN101820033B (en) Manufacturing method of colored-crystal hollow photovoltaic assembly
CN204834645U (en) Coloured solar energy glass
CN202120948U (en) Building photovoltaic integrated laminated solar module
CN102779878A (en) Color glazed glass photovoltaic double-glass assembly
CN106559029A (en) Hollow type photovoltaic glass curtain wall and preparation method thereof
CN111600532A (en) A kind of imitation three-dimensional plane power generation tile and its manufacturing method
CN202797022U (en) Photovoltaic double-glass component with enamelled glass

Legal Events

Date Code Title Description
C06 Publication
PB01 Publication
C10 Entry into substantive examination
SE01 Entry into force of request for substantive examination
C14 Grant of patent or utility model
GR01 Patent grant