CN102235030B - Extra-large-span cross-section-variable pre-stressed normally placed evacuating quadrangular pyramid space grid and manufacturing method thereof - Google Patents

Extra-large-span cross-section-variable pre-stressed normally placed evacuating quadrangular pyramid space grid and manufacturing method thereof Download PDF

Info

Publication number
CN102235030B
CN102235030B CN 201010154935 CN201010154935A CN102235030B CN 102235030 B CN102235030 B CN 102235030B CN 201010154935 CN201010154935 CN 201010154935 CN 201010154935 A CN201010154935 A CN 201010154935A CN 102235030 B CN102235030 B CN 102235030B
Authority
CN
China
Prior art keywords
prestressed
cable wire
span
frame
space truss
Prior art date
Legal status (The legal status is an assumption and is not a legal conclusion. Google has not performed a legal analysis and makes no representation as to the accuracy of the status listed.)
Expired - Fee Related
Application number
CN 201010154935
Other languages
Chinese (zh)
Other versions
CN102235030A (en
Inventor
马克俭
徐向东
李云
申波
肖岩
肖建春
李正农
易伟建
吴时强
刘建军
Current Assignee (The listed assignees may be inaccurate. Google has not performed a legal analysis and makes no representation or warranty as to the accuracy of the list.)
Hunan University
Guizhou University
Nanjing Hydraulic Research Institute of National Energy Administration Ministry of Transport Ministry of Water Resources
Original Assignee
Hunan University
Guizhou University
Nanjing Hydraulic Research Institute of National Energy Administration Ministry of Transport Ministry of Water Resources
Priority date (The priority date is an assumption and is not a legal conclusion. Google has not performed a legal analysis and makes no representation as to the accuracy of the date listed.)
Filing date
Publication date
Application filed by Hunan University, Guizhou University, Nanjing Hydraulic Research Institute of National Energy Administration Ministry of Transport Ministry of Water Resources filed Critical Hunan University
Priority to CN 201010154935 priority Critical patent/CN102235030B/en
Publication of CN102235030A publication Critical patent/CN102235030A/en
Application granted granted Critical
Publication of CN102235030B publication Critical patent/CN102235030B/en
Expired - Fee Related legal-status Critical Current
Anticipated expiration legal-status Critical

Links

Images

Landscapes

  • Rod-Shaped Construction Members (AREA)

Abstract

本发明公开了一种超大跨度变截面预应力正放抽空四角锥网架及其制作方法,它在正放抽空四角锥变截面双层网架( 1 )的两边约 1/3 处沿 x 方向和 y 方向设置预应力空间桁架( 2 , 在预应力空间桁架( 2 )下弦设置钢索转向支撑架( 5 );在预应力空间桁架( 2 )的支座节点( 6 )上端设置钢索支撑钢架( 7 ),在框架柱( 3 )的上部外侧设置水平撑杆( 8 );预应力钢索( 4 )的一端绕钢索支撑钢架( 7 )顶端向跨度中央向下倾斜,另一端绕过水平撑杆( 8 )端部的定滑轮后固定在框架柱( 3 )的下部。本发明适用于方形或矩形的超大跨度( 120m L 180m )屋盖,具有用钢量低、构造简单、制作安装成本低、力学性能优良等优点。

Figure 201010154935

The invention discloses a super - large - span variable - section prestressed positively vented evacuated quadrangular pyramid net frame and a manufacturing method thereof . set the prestressed space truss ( 2 ) in the and y direction , set the steel cable steering support frame ( 5 ) on the lower chord of the prestressed space truss ( 2 ) ; set the steel cable at the upper end of the support node ( 6 ) of the prestressed space truss ( 2 ) The supporting steel frame ( 7 ) is provided with a horizontal strut ( 8 ) on the upper outer side of the frame column ( 3 ) ; one end of the prestressed steel cable ( 4 ) is inclined downward toward the center of the span around the top of the steel cable supporting steel frame ( 7 ), The other end is fixed on the bottom of the frame post ( 3 ) after going around the fixed pulley at the end of the horizontal strut ( 8 ). The invention is suitable for square or rectangular super-long-span ( 120m L 180m ) roofs, and has the advantages of low steel consumption, simple structure, low manufacturing and installation costs, and excellent mechanical properties.

Figure 201010154935

Description

Super-span variable cross-section prestressing force is just being put the square pyramid space grid and preparation method thereof of finding time
Technical field
The present invention relates to a kind of steel grid roof structure, (120m ≦ L ≦ 180m) variable cross-section prestressing force is just being put the square pyramid space grid and preparation method thereof of finding time to particularly a kind of super-span, belongs to the technical field of construction steel structure.
Background technology
Plate steel mesh frame from nineteen sixty-five by external introduction more than 40 year so far because its space three-dimensional is stressed, factory makes, the on-the-spot installation, operation is simple, steel using amount is few, in single storey industry workshop and public building roof system, is widely used, and reaches tens million of square metres.But wherein span is at (18m~60m) account for more than 90%; Nearly 13 kinds of rack composition forms; No matter which kind of form; They have a common feature is that its clathrum that winds up is parallel in twos (equal altitudes) with lower edge clathrum plane, and the structure of its roof drainage gradient and composition are behind the upright short column of the node that winds up, to be connected to form drainage grade with purlin.When drainage grade required i=7%, during span L=30m, the highest short column reached 1.05m; When span L=60m, the short column height is 2.1m; When span L=155m, short column is up to 5.45m, and it accounts for the total height more than 40%.It is neither stressed with the member co-operation integral body that flat plate framed structure is formed for these members, on the contrary owing to gradient structure reason makes rack because the roof pitch requirement increases a large amount of imposed loads.
Traditional plate steel lattice structure has 13 kinds more than, the ratio of square planar and long limit and minor face less than 1.5 roof system plane in, square pyramid space grid rigidity is best; Between span 18m~60m, use the most extensive, when span is commonly called as super-span, the particularly span roof system at the square or rectangle plane of 120m~180m during greater than 60m; Standard practice is to adopt three layers, pyramid is made up of at rack height centre pyramid two quadrangular pyramids, when span is 155m * 155m; Its structure height reaches 12m, and when roof system drainage grade i=0.07, the post maximum height reaches 5.45m; The total height reaches 17.65m, as the high private residence of six floors, roof structure accounted for architectural complex long-pending 51%; Building periphery cladding increases outside one times more, and room conditioning power must double above, and not only steel using amount is big; Cost is high, and totally unfavorable to " energy-saving and emission-reduction " of building.Prior art is difficult to reach the designing requirement of " safety, reasonable, advanced, economy " to the rigid grid structure of super-span.Develop and a kind ofly not only practice thrift the roof structure height but also guarantee the rigidity of structure, when practicing thrift steel using amount, making the shared cube volume of indoor rigid grid structure is minimum a kind of new spatial network system, is the task of top priority of large-scale super-span building.
Summary of the invention
Technical problem to be solved by this invention is to provide a kind of super-span variable cross-section prestressing force just putting the square pyramid space grid and preparation method thereof of finding time.This rack is applied to super-span, and (the square or rectangle roof system of 120m≤L≤180m) has that steel using amount is low, an advantage such as simple structure, fabrication and installation cost are low, good mechanical performance, is a kind of safe, reasonable, advanced, economic new structure system.
For solving the problems of the technologies described above technical scheme of the present invention: the preparation method that super-span variable cross-section prestressing force is just being put the square pyramid space grid of finding time.This method is along x direction and y direction the Prestressed Space truss to be set at about 1/3 place, both sides of just putting the quadrangular pyramid variable cross-section double layer grid of finding time; On the Prestressed Space truss, prestressed cable is set; And the cable wire supporting steel frame is set in the wind up steel ball upper end of support node at two ends of every Pin Prestressed Space truss; Upper outside at frame column is provided with triatic stay, leans on frame column one side gusset place that the earth anchor cable wire is set at triatic stay; Fixed pulley has a down dip to the span mediad around cable wire supporting steel frame top with an end of prestressed cable; The cable wire that is passed in this Pin Prestressed Space truss lower-chord panel point turns to bracing frame, and the other end is walked around the bottom that is fixed on frame column behind the fixed pulley of triatic stay end; After setting up prestressing force, just putting find time quadrangular pyramid variable cross-section double layer grid and frame column, prestressed cable and self-balancing structural entity of earth anchor cable wire formation.
Super-span variable cross-section prestressing force is just being put the square pyramid space grid of finding time.Its formation comprises just puts the quadrangular pyramid variable cross-section double layer grid of finding time, and is provided with the Prestressed Space truss at said about 1/3 place, both sides of just putting the quadrangular pyramid variable cross-section double layer grid of finding time along x direction and y direction, and the two supports of Prestressed Space truss is on frame column; On the Prestressed Space truss, prestressed cable is arranged, be provided with cable wire in the crosspoint of x direction and y direction Prestressed Space truss lower edge and turn to bracing frame; The two ends of winding up at every Pin Prestressed Space truss are provided with support node, are provided with the cable wire supporting steel frame in the steel ball of support node upper end, are provided with triatic stay in the upper outside of frame column; Fixed pulley has a down dip to the span mediad one end of prestressed cable around cable wire supporting steel frame top, and the cable wire that is fixed on this Pin Prestressed Space truss turns on the bracing frame, and the other end is walked around the bottom that is fixed on frame column behind the fixed pulley of triatic stay end.
Above-mentioned super-span variable cross-section prestressing force is just being put in the square pyramid space grid of finding time, and leans on frame column one side gusset place to be provided with the earth anchor cable wire at described triatic stay, and the other end of this earth anchor cable wire is anchored on the ground.
Aforesaid super-span variable cross-section prestressing force is just being put in the square pyramid space grid of finding time, and described earth anchor cable wire and ground are 60 ° of angles.
Aforesaid super-span variable cross-section prestressing force is just being put in the square pyramid space grid of finding time, and the prestressing apparatus of positive and negative screw thread is housed on described triatic stay and earth anchor cable wire.
Aforesaid super-span variable cross-section prestressing force is just being put in the square pyramid space grid of finding time, two upper chord downwarpings of said Prestressed Space truss, and a lower chord is horizontal straight-bar, two upper chords are connected up and down through four diagonal web members with a lower chord.
Beneficial effect of the present invention: compared with prior art; It is a kind of novel roof structure form that super-span variable cross-section prestressing force of the present invention is just being put the square pyramid space grid of finding time; Be applied to the super-span (roof system of 120m≤L≤180m) of square or rectangle; Compare with existing plate steel mesh frame; Have that steel using amount is low, advantages such as simple structure, fabrication and installation cost are low, good mechanical performance, the superior structural form that to be that super large is striden a kind of in the plate steel lattice structure " safety, rationally, advanced, economy ".It can make whole building building structure (roof system and frame column) overall operation, when improving the rigidity of structure and globality, reaches the reduction steel using amount, practices thrift the purpose of construction costs.The present invention is square pyramid space grid because the employing bilayer is found time; The relative triple layer grid of its node and rod member quantity reduces more than 40%; The maximum height of structure can descend more than 40%; And the present invention adopts the tensile strength prestressed cable higher 7~8 times than common steel tube tensile strength to set up prestressing force and compensates, and forms whole steel grid roof, frame column and wire rope structure self equilibrium systems; Thereby significantly reduce the structural steel amount, satisfying a kind of super-span prestressed steel grid new structural system of formation under the rigidity of structure and the strength condition.
Description of drawings
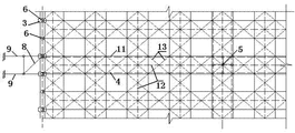
Fig. 1 is a plane structure arrangement diagram of the present invention;
Fig. 2 be the present invention at x, y is to the grid plane of arrangement figure that establishes Prestressed Space truss zone;
Fig. 3 is the side elevational view of Prestressed Space truss of the present invention;
The A-A sectional view of Fig. 3 of Fig. 4;
Fig. 5 is the axonometric drawing of cable wire upper support steelframe and triatic stay and prestressing apparatus;
Fig. 6 is prestressed cable turns to the bracing frame place at cable wire a axonometric drawing.
Below in conjunction with the accompanying drawing and the specific embodiment the present invention is further described.
The specific embodiment
Embodiment 1.Like Fig. 1, shown in 2, comprise and just put the quadrangular pyramid variable cross-section double layer grid 1 of finding time, can know each direction (X from Fig. 1; The Y direction) 16 Pin variable cross-section space truss quadratures form; And 15 * 15=225 the grid of having found time, the area of promptly finding time reaches 225 * 25=5625 ㎡, accounts for 25% of total roof system area.It is tangible that material usage descends.It is about 40% to know that from Fig. 3 total height of structure has also descended than the three layer flat plate rack of routine, because structure is found time and structure height reduces, its steel using amount descends, but the also corresponding decline of its rigidity, with the instructions for use of not satisfying structure.Be head it off; The present invention adopts roofing cable-stayed prestressing method to make roof structure and supporting frame trestle co-operation; Under the prestressing force effect, form " structure self equilibrium systems "; Its concrete structure is along x direction and y direction two Pin Prestressed Space truss 2 to be set respectively at about 1/3 place, both sides of just putting the quadrangular pyramid variable cross-section double layer grid 1 of finding time, and the two supports of Prestressed Space truss 2 is on frame column 3; Two upper chord 11 downwarpings of Prestressed Space truss 2, a lower chord 12 is horizontal straight-bar, two upper chords 11 are connected up and down through four diagonal web members 13 with a lower chord 12.Prestressed cable 4 is arranged on Prestressed Space truss 2, be provided with cable wire in the crosspoint of x direction and y direction Prestressed Space truss 2 lower edges and turn to bracing frame 5; The two ends of winding up at every Pin Prestressed Space truss 2 are provided with support node 6, are provided with cable wire supporting steel frame 7 in the steel ball of support node 6 upper end, are provided with triatic stay 8 in the upper outside of frame column 3; One end of prestressed cable 4 has a down dip to the span mediad around cable wire supporting steel frame 7 top fixed pulleys; And the cable wire that is fixed on this Pin Prestressed Space truss 2 turns on the bracing frame 5, and the other end is walked around the bottom that is fixed on frame column 3 behind the fixed pulley of triatic stay 8 ends.Triatic stay 8 leans on frame column 3 one side gusset places to be provided with the earth anchor cable wire 9 that is 60 ° of angles with ground, and the other end of this earth anchor cable wire 9 is anchored on the ground.The prestressing apparatus 10 of positive and negative screw thread is housed on triatic stay 8 and earth anchor cable wire 9.
Be example with the square roof structure of 155m * 155m, as shown in Figure 1, at every limit (X; Y) about 1/3 place's arrangement prestress space truss 2; As shown in Figure 3, be provided with support node 6 at each Prestressed Space truss 2 two ends, be provided with cable wire supporting steel frame 7 in the steel ball upper end of support node 6; One end of prestressed cable 4 has a down dip to the span mediad around cable wire supporting steel frame 7 top fixed pulleys; And the cable wire that is passed in this Pin Prestressed Space truss 2 turns to bracing frame 5 horizontal, and two prestressed cables of directions X 4 all turn at this with Y direction prestressed cable 4, forms steering angle; The other end of prestressed cable 4 is walked around the bottom that is fixed on frame column 3 behind the fixed pulley of triatic stay 8 ends.Cable wire turns to bracing frame 5 that four cable wire steering nodes are all arranged.Prestressing force is set up in prestressed cable 4 stretch-draw; Cable wire turn to produce respectively on the bracing frame 5 two by lower-chord panel point upwards effect and with load action opposite effect power; Whole network is provided with four cable wires altogether and turns to bracing frame 5; Then in the construction pre-stress stage, whole super-span network produces and load action opposite effect power.Because this active force is just in time opposite with the node effect of winding up, from rigidity of structure analysis, whole steel lattice structure middle position is equivalent to be provided with four elastomeric bearing points; Each elastomeric bearing point upwards produces active force, and these four by the lower-chord panel point active force (shaping structures attitude) that makes progress, and it makes each rod member of whole network produce the internal force opposite with load action again; (load attitude) upper chord pressurized when being load action; Lower chord is drawn, and its internal force is on the contrary during the prestress forming attitude, then structure normal " user mode " and distortion equal " becoming form " and " load attitude " sum with internal force; I.e. " structure use attitude "=" structure formation attitude "+" structural load attitude "; Because reasonably prestressing force cloth rope mode makes the structure that original rigidity is not enough and internal force is excessive, change into when satisfying rigidity of structure requirement; Reduce structural internal force and distribute, reach the target that reduces the structural steel amount, practices thrift construction costs.Among Fig. 3 and Fig. 4, prestressed cable 4 is walked around the bottom that behind the triatic stay 8 end fixed pulleys that frame column 3 upper outside are provided with, is fixed on frame column 3 after cable wire supporting steel frame 7 outward inclining again again.The prestressing apparatus 10 of the positive and negative screw thread of cast steel manufacturing is set at triatic stay 8 places; The prestressing apparatus 10 that turns clockwise, triatic stay 8 elongations promptly produce stretching forces to prestressed cable 4; After calculating definite stretching force, rotation prestressing apparatus 10 is set up prestressing force.The huge pressure that bears owing to the triatic stay 8 with prestressing apparatus 10 reaches frame column 3 (steel column, concrete filled steel tubular column or reinforced concrete pile); With the effect that makes frame column 3 produce inside sidesway; For this active force of balance; So lean on frame column 3 side gusset places that the earth anchor cable wire 9 that is 60 degree angles with ground is set at triatic stay 8, rotation prestressing apparatus 10 is set up prestressing force, then triatic stay 8 horizontal thrust of passing to frame column 3 is come balance by the earth anchor cable wire 9 that is anchored in ground; Just putting the quadrangular pyramid variable cross-section roof system frame column 3 of finding time this moment, prestressed cable 4, earth anchor cable wire 9 form a self-balancing structural entity.It " reinforcement bar " do not occur as folding prestressed cable wire self equilibrium systems in whole network, but " subtracting the power bar ", thereby reduce the structural steel amount.
Embodiment of the present invention is not limited to the foregoing description, and the various variations of under the prerequisite that does not break away from aim of the present invention, making all belong within protection scope of the present invention.

Claims (6)

1. preparation method that super-span variable cross-section prestressing force is just being put the square pyramid space grid of finding time; It is characterized in that: about 1/3 place, both sides just putting the quadrangular pyramid variable cross-section double layer grid of finding time is provided with the Prestressed Space truss along x direction and y direction; On the Prestressed Space truss, prestressed cable is set; And the cable wire supporting steel frame is set in the wind up steel ball upper end of support node at two ends of every Pin Prestressed Space truss; Upper outside at frame column is provided with triatic stay, leans on frame column one side gusset place that the earth anchor cable wire is set at triatic stay; Fixed pulley has a down dip to the span mediad around cable wire supporting steel frame top with an end of prestressed cable; The cable wire that is fixed on this Pin Prestressed Space truss lower edge turns on the bracing frame, and the other end is walked around the bottom that is fixed on frame column behind the fixed pulley of triatic stay end; After setting up prestressing force, just putting find time quadrangular pyramid variable cross-section double layer grid and frame column, prestressed cable and self-balancing structural entity of earth anchor cable wire formation.
2. one kind is adopted the super-span variable cross-section prestressing force of method making according to claim 1 just putting the square pyramid space grid of finding time; Comprise and just put the quadrangular pyramid variable cross-section double layer grid (1) of finding time; It is characterized in that: be provided with Prestressed Space truss (2) at said about 1/3 place, both sides of just putting the quadrangular pyramid variable cross-section double layer grid (1) of finding time along x direction and y direction, the two supports of Prestressed Space truss (2) is on frame column (3); Prestressed cable (4) is arranged on Prestressed Space truss (2), be provided with cable wire in the crosspoint of x direction and y direction Prestressed Space truss (2) lower edge and turn to bracing frame (5); Be provided with support node (6) at the two ends of winding up of every Pin Prestressed Space truss (2), be provided with cable wire supporting steel frame (7), be provided with triatic stay (8) in the upper outside of frame column (3) in the steel ball of support node (6) upper end; Fixed pulley has a down dip to the span mediad one end of prestressed cable (4) around cable wire supporting steel frame (7) top; And the cable wire that is fixed on this Pin Prestressed Space truss (2) turns on the bracing frame (5), and the other end is walked around the bottom that is fixed on frame column (3) behind the fixed pulley of triatic stay (8) end.
3. super-span variable cross-section prestressing force according to claim 2 is just being put the square pyramid space grid of finding time; It is characterized in that: lean on frame column (3) one side gusset places to be provided with earth anchor cable wire (9) at described triatic stay (8), the other end of this earth anchor cable wire (9) is anchored on the ground.
4. super-span variable cross-section prestressing force according to claim 3 is just being put the square pyramid space grid of finding time, and it is characterized in that: described earth anchor cable wire (9) is 60 ° of angles with ground.
5. super-span variable cross-section prestressing force according to claim 2 is just being put the square pyramid space grid of finding time, and it is characterized in that: the prestressing apparatus (10) that positive and negative screw thread is housed on described triatic stay (8) and earth anchor cable wire (9).
6. super-span variable cross-section prestressing force according to claim 2 is just being put the square pyramid space grid of finding time; It is characterized in that: two upper chords (11) downwarping of said Prestressed Space truss (2); A lower chord (12) is horizontal straight-bar, and two upper chords (11) are connected up and down through four diagonal web members (13) with a lower chord (12).
CN 201010154935 2010-04-26 2010-04-26 Extra-large-span cross-section-variable pre-stressed normally placed evacuating quadrangular pyramid space grid and manufacturing method thereof Expired - Fee Related CN102235030B (en)

Priority Applications (1)

Application Number Priority Date Filing Date Title
CN 201010154935 CN102235030B (en) 2010-04-26 2010-04-26 Extra-large-span cross-section-variable pre-stressed normally placed evacuating quadrangular pyramid space grid and manufacturing method thereof

Applications Claiming Priority (1)

Application Number Priority Date Filing Date Title
CN 201010154935 CN102235030B (en) 2010-04-26 2010-04-26 Extra-large-span cross-section-variable pre-stressed normally placed evacuating quadrangular pyramid space grid and manufacturing method thereof

Publications (2)

Publication Number Publication Date
CN102235030A CN102235030A (en) 2011-11-09
CN102235030B true CN102235030B (en) 2012-12-05

Family

ID=44886100

Family Applications (1)

Application Number Title Priority Date Filing Date
CN 201010154935 Expired - Fee Related CN102235030B (en) 2010-04-26 2010-04-26 Extra-large-span cross-section-variable pre-stressed normally placed evacuating quadrangular pyramid space grid and manufacturing method thereof

Country Status (1)

Country Link
CN (1) CN102235030B (en)

Families Citing this family (5)

* Cited by examiner, † Cited by third party
Publication number Priority date Publication date Assignee Title
CN104481028B (en) * 2014-11-27 2016-09-07 江苏筑森建筑设计股份有限公司 A kind of Prestressed Space network
CN106088706B (en) * 2016-06-21 2018-03-27 武汉大学 A kind of checkerboard type quadrangular pyramid lattice steel constructions cooling tower
CN108952203A (en) * 2018-08-30 2018-12-07 安徽省建筑科学研究设计院 A kind of rack system and rack reinforcement means based on girder truss reinforcing
CN110814651B (en) * 2019-11-14 2021-09-21 鞍钢建设集团有限公司 Manufacturing method of anchoring piece for steel structure building beam column decoration module component
CN115162523B (en) * 2022-09-09 2022-11-22 清华大学建筑设计研究院有限公司 Tension shunting type large-span space grid structure

Citations (6)

* Cited by examiner, † Cited by third party
Publication number Priority date Publication date Assignee Title
WO1993022520A1 (en) * 1992-05-03 1993-11-11 Mero-Raumstruktur Gmbh & Co. Spatial bearing structure of flat glass panes, bars, cables and connecting components
CN1877036A (en) * 2006-07-07 2006-12-13 贵州大学 Large-span large-cantilever roofing cable-stayed type double-layer prestressed steel grid roof structure
CN1877037A (en) * 2006-07-07 2006-12-13 贵州大学 Large-span large-column distance quasi-ribbed floor type prestressed steel grid roof structure
CN200964645Y (en) * 2006-07-07 2007-10-24 贵州大学 Large span large cantilever roof oblique-pulling type double-layer prestress steel grid roof
KR100950091B1 (en) * 2009-04-14 2010-03-26 (주)서울텐트 Tensioned fabric structure
CN201433490Y (en) * 2009-07-09 2010-03-31 贵州大学 A rectangular plane super-long-span prestressed space tube truss roof

Patent Citations (6)

* Cited by examiner, † Cited by third party
Publication number Priority date Publication date Assignee Title
WO1993022520A1 (en) * 1992-05-03 1993-11-11 Mero-Raumstruktur Gmbh & Co. Spatial bearing structure of flat glass panes, bars, cables and connecting components
CN1877036A (en) * 2006-07-07 2006-12-13 贵州大学 Large-span large-cantilever roofing cable-stayed type double-layer prestressed steel grid roof structure
CN1877037A (en) * 2006-07-07 2006-12-13 贵州大学 Large-span large-column distance quasi-ribbed floor type prestressed steel grid roof structure
CN200964645Y (en) * 2006-07-07 2007-10-24 贵州大学 Large span large cantilever roof oblique-pulling type double-layer prestress steel grid roof
KR100950091B1 (en) * 2009-04-14 2010-03-26 (주)서울텐트 Tensioned fabric structure
CN201433490Y (en) * 2009-07-09 2010-03-31 贵州大学 A rectangular plane super-long-span prestressed space tube truss roof

Also Published As

Publication number Publication date
CN102235030A (en) 2011-11-09

Similar Documents

Publication Publication Date Title
CN106193306B (en) A kind of long-span hangar fringe truss prestressed structural systems and its construction method
CN102587497B (en) A string truss structure with load relaxation function and its implementation method
CN103046645B (en) A kind of whole casting structure and construction method of Large-span Precast
CN102235055B (en) Stayed prestressed orthogonal space tube truss steel grid structure and manufacturing method thereof
CN104831851A (en) Reinforced concrete orthogonal-diagonal space lattice box structure and production method thereof
CN102235030B (en) Extra-large-span cross-section-variable pre-stressed normally placed evacuating quadrangular pyramid space grid and manufacturing method thereof
CN101942884B (en) Roof with approximately quadrate plane and super large space pre-stressed steel grid structure and manufacturing method thereof
CN102605885B (en) Large-sized closed roof formed by light steel truss arch for building
CN201236414Y (en) Shuttle shaped beam string girder structure
CN102433963B (en) Lattice type single-row reinforcement crisscross-section concrete column and manufacture method thereof
CN208650258U (en) An outer hoop-assembled connection node for RC-light steel building-up hybrid structure
CN103225344A (en) Hollow steel section-concrete combined framework and construction method thereof
CN104805902B (en) It is a kind of to improve the structure of hangar stress performance
CN210562915U (en) Factory building roof structure
CN201753475U (en) Steel grid structure of strut-framed prestress orthogonal space pipe truss
CN201722773U (en) Super-long span variable cross-section prestress normally-placed evacuating quadrangular pyramid net rack
CN201722778U (en) Super-long span variable cross-section double-layer and three-layer prestressed ribbed beam type net rack
CN110206148A (en) Big across the superelevation spatial mesh structure system that bearing diagonal is combined with arched roof
CN112962787B (en) Force opposite-impact structure
CN102235031B (en) Double-layer and triple-layer prestressed rib beam grid with super-large span and variable cross-section and its manufacturing method
CN206016005U (en) The cellular hollow sandwich panel ceiling for storied building of large span right hexagonal steel-concrete
CN100422468C (en) Long-span and large-column spacing quasi-rib-type prestressed steel grid roof structure
CN2923870Y (en) Long-span and large-column spacing quasi-rib type prestressed steel grid roof
CN1727617A (en) A tourist sign tower
CN102587500B (en) Spherical joint sliding support with effect of relieving internal force of guy cable

Legal Events

Date Code Title Description
C06 Publication
PB01 Publication
C10 Entry into substantive examination
SE01 Entry into force of request for substantive examination
C14 Grant of patent or utility model
GR01 Patent grant
C17 Cessation of patent right
CF01 Termination of patent right due to non-payment of annual fee

Granted publication date: 20121205

Termination date: 20130426