CN102208141A - 悬吊式地面模拟失重科研训练装置 - Google Patents
悬吊式地面模拟失重科研训练装置 Download PDFInfo
- Publication number
- CN102208141A CN102208141A CN2010101378796A CN201010137879A CN102208141A CN 102208141 A CN102208141 A CN 102208141A CN 2010101378796 A CN2010101378796 A CN 2010101378796A CN 201010137879 A CN201010137879 A CN 201010137879A CN 102208141 A CN102208141 A CN 102208141A
- Authority
- CN
- China
- Prior art keywords
- hoisting
- support frame
- column
- lifting bracket
- suspension
- Prior art date
- Legal status (The legal status is an assumption and is not a legal conclusion. Google has not performed a legal analysis and makes no representation as to the accuracy of the status listed.)
- Granted
Links
- 238000012549 training Methods 0.000 title claims abstract description 37
- 238000011160 research Methods 0.000 title claims abstract description 12
- 239000000725 suspension Substances 0.000 claims abstract description 34
- 210000003414 extremity Anatomy 0.000 claims abstract description 13
- 210000000689 upper leg Anatomy 0.000 claims abstract description 13
- 230000006835 compression Effects 0.000 claims description 7
- 238000007906 compression Methods 0.000 claims description 7
- 244000309464 bull Species 0.000 claims description 5
- 230000007246 mechanism Effects 0.000 claims description 4
- 238000006073 displacement reaction Methods 0.000 claims 1
- 238000010586 diagram Methods 0.000 description 11
- 244000309466 calf Species 0.000 description 6
- 238000000034 method Methods 0.000 description 5
- 230000005484 gravity Effects 0.000 description 4
- 230000009467 reduction Effects 0.000 description 4
- 230000007613 environmental effect Effects 0.000 description 3
- 238000004088 simulation Methods 0.000 description 3
- 210000001015 abdomen Anatomy 0.000 description 2
- 230000036541 health Effects 0.000 description 2
- 238000009434 installation Methods 0.000 description 2
- 230000033001 locomotion Effects 0.000 description 2
- 238000004804 winding Methods 0.000 description 2
- 230000002411 adverse Effects 0.000 description 1
- 230000009286 beneficial effect Effects 0.000 description 1
- 230000005540 biological transmission Effects 0.000 description 1
- 238000004364 calculation method Methods 0.000 description 1
- 238000004891 communication Methods 0.000 description 1
- 238000013461 design Methods 0.000 description 1
- 230000000694 effects Effects 0.000 description 1
- 230000005611 electricity Effects 0.000 description 1
- 238000002474 experimental method Methods 0.000 description 1
- 238000012423 maintenance Methods 0.000 description 1
- 238000012544 monitoring process Methods 0.000 description 1
- 230000007935 neutral effect Effects 0.000 description 1
- 230000008569 process Effects 0.000 description 1
- 239000002699 waste material Substances 0.000 description 1
Images
Landscapes
- Rehabilitation Tools (AREA)
Abstract
一种悬吊式地面模拟失重科研训练模拟器,包括一个悬空式水平起吊支架,该起吊支架带有用于将人体悬系于其下方的悬挂系统,所述悬挂系统包括将人体的头部、躯干、大腿和小腿依序并列悬挂于所述起吊支架上的肢体绑缚系统。
Description
技术领域
本发明涉及一种航天员科研训练用装置,特别涉及一种失重环境地面模拟训练和实验研究平台,属于航天员训练地面模拟设备技术领域。
背景技术
要圆满完成载人航天飞行任务,航天员可以说是最核心的决定因素之一。故其身体健康状态与操作能力就显得至关重要,但是由于其工作环境是太空,他们需要面对多种特殊的环境条件。完全或部分的失重就是这些特殊环境条件中最普遍且无法避免的一种。为了保证航天员在执行飞行任务过程中能够顺利地在航天器的舱内外完成飞行监视、操作、控制、通信、维修以及科学研究等特殊工作任务并进行正常的生活,就必须对他们进行严格的训练,使他们对航天特殊环境因素有很强的适应能力。同时还必须参考训练情况,为航天员制定出适当、有效的对抗措施,从而把太空特殊环境中的不利因素对他们的影响尽量降到最低。
既然失重是一种普遍的特殊环境,也是对航天员操作和健康影响较大的外在因素,我们就必须在地面采取各种方法营造类似于失重的条件,在其中对航天员实施训练,使航天员在真实的太空失重环境下也能对各项操作到达游刃有余的境界。目前,在地面普遍采用的失重训练方法主要有失重飞机训练、中性浮力水槽训练、悬吊训练等,其侧重点各有不同。其中悬吊训练可以在普通的地面环境中实施,具有安全性较高、操作较简单、训练灵活性较高、实现成本低等特点。
目前,国外已有的几种典型地面模拟失重悬吊训练装置包括NASA的减重力行走模拟器(Reduced Gravity Walking Simulator)和零重力运动模拟器(Zero-gravity Locomotion Simulator)。
我国现有的地面悬吊训练装置主要是出舱活动训练模拟器内的悬吊装置,该装置属于出舱活动训练模拟器的一个部分,是在航天员穿着舱外服的状态下利用气动提升装置将航天员呈体位垂直态吊离地面,使航天员在悬吊状态下进行相关的操作。其缺点在于:训练过程中航天员呈竖直体态,导致尽管其被悬吊起来而处于悬空状态,但沿身体轴线方向还是能感受到重力的作用,对失重感觉的体验比较不真实;该装置只能在航天员穿着舱外训练航天服的条件下进行悬吊,从而降低了训练科目设置的灵活性;垂直体位的情况下想实现部分失重情况的模拟需要调节吊带拉力,这就增加了对系统设计计算的难度;该装置是出舱活动训练模拟器的一个子结构,不能单独启动这一块机构进行训练,也不能随意移动该悬吊机构配合不同的训练平台实施训练。
发明内容
本发明的目的是提供一种用于航天员科研训练领域的悬吊式地面模拟失重科研训练装置。它不仅可以自由地移动到适当位置与各种训练平台组合来达到不同的训练和科研实验目的,还可以方便地基本实现完全或部分失重环境的模拟。
本发明的目的是通过如下技术方案实现的:一种悬吊式地面模拟失重训练科研装置,包括悬吊支撑架、起吊支架、减力齿轮箱、脚限位器以及肢体绑缚系统,其特征在于:所述的悬吊支撑架底部装有可制动脚轮,从而可实现整个装置的自由移动及固定,所述的起吊支架轴线与水平面夹角可以随意调节。
本发明所述的悬吊支撑架由支撑架立柱、支撑架横梁、支撑架肋板、调整横梁和调整滑轮组成,所述的支撑架立柱与支撑架横梁以及支撑架肋板与支撑架立柱、支撑架肋板与支撑架横梁之间采用螺纹连接,所述的支撑架横梁、支撑架立柱均为中空结构,其内部安装有两个起吊滑轮,滑轮上绕有起吊钢丝绳,绳的一端用挂钩与起吊支架相连,另一端穿过支撑架横梁和支撑架立柱缠绕在齿轮箱内的小齿轮轴上,所述的用于支承调整滑轮的调整横梁通过螺纹连接固定在支撑架横梁上,所述的可制动脚轮通过螺纹连接与支撑架立柱底部相连。
本发明所述的起吊支架由起吊支架龙骨、调整横梁、调整线、头部横梁、躯干横梁、大腿横梁和小腿横梁组成,所述的调整横梁与起吊支架龙骨间采用螺纹连接,所述的调整线一端与调整横梁上的吊环固连,另一端绕过调整滑轮后缠绕于支撑架立柱上的挂钩,所述的头部横梁、躯干横梁、大腿横梁和小腿横梁均套装在起吊支架龙骨上,可以在龙骨上自由滑动,调整到适当位置后用蝶形螺母固定。
本发明所述的齿轮箱包括一对啮合齿轮、箱体和手轮,采用螺纹连接方式安装在支撑架立柱中部。
本发明所述的肢体绑缚系统主要包括安全头盔、胸腹支承垫、大腿束缚带、小腿束缚带,所述的安全头盔、胸腹支承垫、大腿束缚带、小腿束缚带分别用挂钩和连接绳与头部横梁、躯干横梁、大腿横梁和小腿横梁上的吊环对应相连。
本发明与现有技术相比,具有以下优点及有益效果:①由于采用了安装有可制动脚轮的门式悬吊支撑架,避免了现有悬吊训练装置结构复杂、质量过大、移动困难等缺点,不仅使装置本身的结构更简单,节省了空间,更有利于装置与不同训练台的方便组合。②起吊支架与水平面的夹角可实现从0°到90°(不含)的变化,从而可以简单地基本模拟完全失重到部分重力环境。③通过人工转动齿轮箱手轮就可以升降起吊支架,升降到所需高度后将锁紧销钉插入齿轮箱锁紧轮轮毂上的制动孔即可实现齿轮制动从而达到锁定训练高度的目的,使得升降操作更加灵活方便,还避免了如电、气等资源的浪费,降低了训练成本。④根据齿轮传动增速减力的特点,手轮力远远小于被起吊者重力,减小了训练实施者的操作负荷。⑤肢体绑缚系统和相应的起吊支架部件采用的绑缚方式为针对被悬吊者肢体的各大部位质心分别悬吊,增加了被悬吊者的舒适度,而且各个悬吊部件之间互为冗余保障,提高了悬吊训练的安全性。
附图说明
图1为悬吊式地面模拟失重科研训练装置的总体结构示意图。
图2为悬吊支撑架示意图。
图3为减力齿轮箱示意图。
图4为起吊滑轮安装关系剖面图。
图5为齿轮箱内部结构剖面图。
图6为大腿横梁及其上螺纹连接件装配关系剖面图。
图7为脚限制器示意图。
图8为立柱滑套系统剖视图。
图9为立柱滑套系统及相关零件装配关系示意图。
具体实施方式
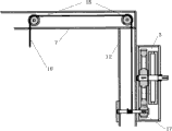
图1为悬吊式地面模拟失重科研训练装置的总体结构示意图。其主要由底部装有可制动脚轮11的悬吊支撑架1、由起吊钢丝绳22悬吊于悬吊支撑架横梁80的起吊支架2、固定在悬吊支撑架立柱上的齿轮箱3、可以与悬吊支撑架立柱相对滑动的脚限位器4以及连接在起吊支架各肢体横梁上的肢体绑缚系统5组成。其中,起吊支架2的水平位置要求为:起吊支架相应于被悬吊者的脚侧一端到该侧支撑架横梁立柱的距离应保证被悬吊者的双脚能踩到脚限制器4,起吊支架相应于被悬吊者头侧一端与该侧支撑架横梁立柱之间的距离应大于1米。
图2为悬吊支撑架示意图。其主要由头侧支撑架立柱6、支撑架横梁7和脚侧支撑架立柱12组成,三者之间以螺丝连接的方式连接为门式框架,两条支撑架肋板10分别连接于相应的支撑架立柱和支撑架横梁之间以提高增加前述门式框架的刚度和稳定性,调整横梁8两端各有一个调整滑轮9,在该横梁中部用螺栓将其固定于支撑架横梁7中部,支撑架横梁80和支撑架立柱6、12均为中空结构,其内部安装有两个起吊滑轮,头侧支撑架立柱6中部焊接四个挂钩50用于缠绕并固定调整绳,脚侧支撑架立柱12中部开孔52用于安装齿轮箱3中的小齿轮轴,四个可制动脚轮11分别用螺栓固定在两条支撑架立柱底部。
图3为齿轮箱外部整体结构示意图。箱体可以拆卸为六块,彼此之间采用螺丝连接,锁紧销13穿过外侧箱体上的孔插在箱体上,手轮14与箱体内小齿轮轴之间采用平键连接。
图4为起吊滑轮安装关系剖面图。两个起吊滑轮15均以横穿支撑架横梁的轴支承的方式安装在支撑架横梁7的内部,起吊钢丝绳16一端连接起吊支架2的挂钩,另一端绕过起吊滑轮15后穿过脚侧支撑架立柱12内部的空腔缠绕并固定在齿轮箱3内的小齿轮17的轴上。
图5为齿轮箱内部结构图。主要包括一对啮合齿轮:小齿轮17和大齿轮18,以及连接到大齿轮轴上的锁紧轮19,锁紧轮19轮毂上开了如图所示的圆孔(制动孔191),当锁紧销13插入后实现齿轮制动,大齿轮18的轴一端搭接于齿轮箱箱壁,另一端用平键与手轮14连接。旋动手轮14带动大齿轮18转动,从而带动与之啮合的小齿轮17转动,缠绕在小齿轮轴上的起吊钢丝绳16缠绕圈数发生变化,实现起吊支架2的升降,锁紧销13插入锁紧轮19轮毂上的制动孔191后齿轮不能转动,实现起吊支架2的高度维持。
图6为肢体横梁及其上螺纹连接件装配关系剖面图。大腿横梁20包括底部开槽的横梁主体和焊接在主体上表面中点处的套筒201,槽中装有两个滑块螺栓22,两螺栓分别与两个吊环螺母23配合,拧紧螺母23可实现滑块螺栓在大腿横梁上的固定,套筒201套装在起吊支架2的龙骨上,旋紧蝶形螺母21可实现大腿横梁20与起吊支架2的龙骨之间相对位置的固定。头部横梁、躯干横梁和小腿横梁的结构及工作原理与大腿横梁相同。
图7为脚限制器示意图。脚限制器4主要包括踏板24、立柱滑套系统25、蝶形螺母26和压紧把手32。踏板24可以与滑套系统25相对滑动,旋紧蝶形螺母26可实现前述二者的相对固定。立柱滑套系统25可沿脚侧支撑架立柱12上下滑动,扳动压紧把手32可实现滑套系统在立柱上的固定。
图9为立柱滑套系统沿A-A方向剖切后及其相关零件装配关系示意图。主要包括压紧把手32、压紧块27、滑动轴承辊子28、滑动侧固定块29、立柱滑套主体30和压紧侧固定块31。压紧块27接近立柱侧面材质为橡胶,压下压紧把手32可令压紧块27贴附到脚侧支撑架立柱12上实现摩擦制动。滑动侧固定块29与立柱滑套主体30、压紧侧固定块31与立柱滑套主体30之间均采用螺纹连接,滑动轴承辊子28共有四个。
Claims (10)
1.一种悬吊式地面模拟失重科研训练模拟器,包括一个悬空式水平起吊支架,该起吊支架带有用于将人体悬系于其下方的悬挂系统,所述悬挂系统包括将人体的头部、躯干、大腿和小腿依序并列悬挂于所述起吊支架上的肢体绑缚系统。
2.如权利要求1所述的模拟器,其特征在于,还包括一个悬吊支撑架,该悬吊支承架包括一个悬吊支撑架横梁和两个于该横梁两端处支承着该横梁的悬吊支撑架立柱,所述水平起吊支架可用卷扬缆索悬吊于支撑架横梁上;在悬吊支撑架横梁上装有第一滑轮系统,用以从中穿过卷扬缆索来吊起所述起吊支架,在悬吊支撑架横梁上还装有第二滑轮系统,用以从中穿过调整绳而连接于所述起吊支架临近所述头部的端部,与卷扬缆索相配合来调整所述起吊支架的水平度或倾斜度。
3.如权利要求2所述的模拟器,其特征在于,在所述立柱之一上装有卷扬机构用于卷扬所述卷扬缆索;所述横梁和立柱是中空结构,所述卷扬缆索在中空结构内走绳。
4.如权利要求3所述的模拟器,其特征在于,所述卷扬机构包括一个用于卷扬所述缆索的卷扬轴和一个与该卷扬轴机械联动的锁紧轮,该锁紧轮上具有一系列均布于圆周上的制动孔与一个锁紧销相配合,锁紧销相对于该立柱沿所述圆周方向固定,当锁紧销插入其中任一个制动孔时,就能把锁紧轮和卷扬轴制动。
5.如权利要求4所属的模拟器,其特征在于,所述卷扬机构包括一个固定到卷扬轴上的小齿轮和一个驱动所述小齿轮的大齿轮,所述锁紧轮与大齿轮相互之间固定连接。
6.如权利要求1所述的模拟器,其特征在于,用于头部、躯干和大腿及小腿的肢体绑缚系统包括一个横交跨连于起吊支架并可顺其纵向相对滑动变位的肢体横梁,该肢体横梁有一个套管滑动套接到所述起吊支架上,有一个螺栓与所述套管上的螺纹通孔相连接并可顶紧所述起吊支架,以此使肢体横梁与起吊支架之间相对定位。
7.如权利要求2所述的模拟器,其特征在于,还包括一个脚限制器,脚限制器包括一个可套在其中一个立柱上上下滑动的立柱滑套系统和一对连接到该立柱滑套系统上的脚踏板。
8.如权利要求7所述的模拟器,其特征在于,脚踏板与立柱滑套系统安装成可相对水平滑动。
9.如权利要求8所述的模拟器,其特征在于,立柱滑套系统与相应的立柱之间是通过辊子或滚轮接合的,辊子安装定位到滑套系统上。
10.如权利要求7、8所述的模拟器,其特征在于,滑套系统上装有一个可与立柱压紧定位的压紧块,该压紧块背对所述立柱的一侧与一个安装到滑套系统上的压紧把手的凸轮轴相顶接,通过凸轮轴向压紧块传递位移和压力。
Priority Applications (1)
| Application Number | Priority Date | Filing Date | Title |
|---|---|---|---|
| CN 201010137879 CN102208141B (zh) | 2010-03-30 | 2010-03-30 | 悬吊式地面模拟失重科研训练装置 |
Applications Claiming Priority (1)
| Application Number | Priority Date | Filing Date | Title |
|---|---|---|---|
| CN 201010137879 CN102208141B (zh) | 2010-03-30 | 2010-03-30 | 悬吊式地面模拟失重科研训练装置 |
Publications (2)
| Publication Number | Publication Date |
|---|---|
| CN102208141A true CN102208141A (zh) | 2011-10-05 |
| CN102208141B CN102208141B (zh) | 2013-03-27 |
Family
ID=44696948
Family Applications (1)
| Application Number | Title | Priority Date | Filing Date |
|---|---|---|---|
| CN 201010137879 Expired - Fee Related CN102208141B (zh) | 2010-03-30 | 2010-03-30 | 悬吊式地面模拟失重科研训练装置 |
Country Status (1)
| Country | Link |
|---|---|
| CN (1) | CN102208141B (zh) |
Cited By (8)
| Publication number | Priority date | Publication date | Assignee | Title |
|---|---|---|---|---|
| CN103134537A (zh) * | 2011-11-30 | 2013-06-05 | 苏州工业园区高登威科技有限公司 | 翻转定位机构 |
| CN103751947A (zh) * | 2014-02-07 | 2014-04-30 | 黄彬 | 悬吊训练装置 |
| CN105336239A (zh) * | 2015-10-30 | 2016-02-17 | 国网浙江省电力公司丽水供电公司 | 一种低压计量采集教学装置 |
| CN106212301A (zh) * | 2016-07-28 | 2016-12-14 | 北京航空航天大学 | 一种模拟失重状态下大鼠体液分布的调节装置 |
| CN107350700A (zh) * | 2017-08-15 | 2017-11-17 | 山东大学 | 一种高速列车车体侧墙正反面焊接翻转夹具及工作方法 |
| CN110090418A (zh) * | 2019-05-28 | 2019-08-06 | 哈尔滨工程大学 | 一种绳索悬吊式航天员微重力环境模拟训练装置及训练方法 |
| CN115382183A (zh) * | 2021-05-24 | 2022-11-25 | 北京九天微星科技发展有限公司 | 一种舱外任务体验装置 |
| CN115839882A (zh) * | 2023-02-21 | 2023-03-24 | 国网辽宁省电力有限公司 | 一种轻质高绝缘复合材料的性能测试仪 |
Citations (3)
| Publication number | Priority date | Publication date | Assignee | Title |
|---|---|---|---|---|
| US5848899A (en) * | 1997-05-07 | 1998-12-15 | Centre For Research In Earth And Space Technology | Method and device for simulating weightlessness |
| US20030113695A1 (en) * | 2001-03-22 | 2003-06-19 | Lee Sung Taee | Skydiving simulator and skydiving training process using the same |
| CN101394904A (zh) * | 2005-12-22 | 2009-03-25 | 西科工业股份有限公司 | 运动板模拟器 |
-
2010
- 2010-03-30 CN CN 201010137879 patent/CN102208141B/zh not_active Expired - Fee Related
Patent Citations (3)
| Publication number | Priority date | Publication date | Assignee | Title |
|---|---|---|---|---|
| US5848899A (en) * | 1997-05-07 | 1998-12-15 | Centre For Research In Earth And Space Technology | Method and device for simulating weightlessness |
| US20030113695A1 (en) * | 2001-03-22 | 2003-06-19 | Lee Sung Taee | Skydiving simulator and skydiving training process using the same |
| CN101394904A (zh) * | 2005-12-22 | 2009-03-25 | 西科工业股份有限公司 | 运动板模拟器 |
Non-Patent Citations (1)
| Title |
|---|
| 赵晨光等: "航天仿真技术综述", 《军事运筹与系统工程》 * |
Cited By (10)
| Publication number | Priority date | Publication date | Assignee | Title |
|---|---|---|---|---|
| CN103134537A (zh) * | 2011-11-30 | 2013-06-05 | 苏州工业园区高登威科技有限公司 | 翻转定位机构 |
| CN103751947A (zh) * | 2014-02-07 | 2014-04-30 | 黄彬 | 悬吊训练装置 |
| CN105336239A (zh) * | 2015-10-30 | 2016-02-17 | 国网浙江省电力公司丽水供电公司 | 一种低压计量采集教学装置 |
| CN106212301A (zh) * | 2016-07-28 | 2016-12-14 | 北京航空航天大学 | 一种模拟失重状态下大鼠体液分布的调节装置 |
| CN107350700A (zh) * | 2017-08-15 | 2017-11-17 | 山东大学 | 一种高速列车车体侧墙正反面焊接翻转夹具及工作方法 |
| CN107350700B (zh) * | 2017-08-15 | 2023-08-22 | 山东大学 | 一种高速列车车体侧墙正反面焊接翻转夹具及工作方法 |
| CN110090418A (zh) * | 2019-05-28 | 2019-08-06 | 哈尔滨工程大学 | 一种绳索悬吊式航天员微重力环境模拟训练装置及训练方法 |
| CN115382183A (zh) * | 2021-05-24 | 2022-11-25 | 北京九天微星科技发展有限公司 | 一种舱外任务体验装置 |
| CN115839882A (zh) * | 2023-02-21 | 2023-03-24 | 国网辽宁省电力有限公司 | 一种轻质高绝缘复合材料的性能测试仪 |
| CN115839882B (zh) * | 2023-02-21 | 2023-05-16 | 国网辽宁省电力有限公司 | 一种轻质高绝缘复合材料的性能测试仪 |
Also Published As
| Publication number | Publication date |
|---|---|
| CN102208141B (zh) | 2013-03-27 |
Similar Documents
| Publication | Publication Date | Title |
|---|---|---|
| CN102208141B (zh) | 悬吊式地面模拟失重科研训练装置 | |
| CN108338895B (zh) | 一种平面行走跟随支撑助力装置 | |
| CN105288978B (zh) | 一种用于失重环境的柔索驱动航天员划船训练器 | |
| WO2016008418A1 (zh) | 锁装置、升降装置、直降逃生系统、管道及车辆 | |
| CN204037912U (zh) | 跳伞仿真系统 | |
| CN220818721U (zh) | 一种多环境动态模拟射击训练平台 | |
| CN202426824U (zh) | 一种外骨骼型台式下肢体康复练习机 | |
| CN102551988A (zh) | 一种外骨骼型台式下肢体康复练习机 | |
| CN220420088U (zh) | 直升机跳伞模拟平台 | |
| CN205440870U (zh) | 人力扑翼飞行器 | |
| CN211461940U (zh) | 一种婴儿爬行模式训练设备 | |
| RU177554U1 (ru) | Устройство для тренировки вестибулярного аппарата | |
| CN202397990U (zh) | 一种高空消防逃生装置 | |
| CN102258846B (zh) | 多模式宇航员康复训练机器人 | |
| CN110070775A (zh) | 一种模拟直升机乘员海上逃逸救生训练系统和训练方法 | |
| CN204979235U (zh) | 人力扑翼飞行器 | |
| CN212332931U (zh) | 一种高强度高海况自由降落式救生艇 | |
| CN102160933B (zh) | 飞升舱圆周矩阵排列的转塔游乐器 | |
| RU2171759C1 (ru) | Мускулолет-биплан с подвижными относительно друг друга по вертикали крыльями | |
| CN202186496U (zh) | 水上漂跑步机 | |
| CN108671479A (zh) | 一种人力单车式负压体能训练仪及训练方法 | |
| CN206604067U (zh) | 一种航空航天工作人员用可隐藏式锻炼设备 | |
| CN204447126U (zh) | 一种用于提高身体素质的多功能综合训练模拟器 | |
| CN202322243U (zh) | 飞行员遇险救护设备 | |
| CN110189566A (zh) | 一种水上救生训练系统 |
Legal Events
| Date | Code | Title | Description |
|---|---|---|---|
| C06 | Publication | ||
| PB01 | Publication | ||
| C10 | Entry into substantive examination | ||
| SE01 | Entry into force of request for substantive examination | ||
| C14 | Grant of patent or utility model | ||
| GR01 | Patent grant | ||
| C17 | Cessation of patent right | ||
| CF01 | Termination of patent right due to non-payment of annual fee |
Granted publication date: 20130327 Termination date: 20140330 |