CN102205425B - 轴承外圈自动加工机 - Google Patents
轴承外圈自动加工机 Download PDFInfo
- Publication number
- CN102205425B CN102205425B CN 201110119423 CN201110119423A CN102205425B CN 102205425 B CN102205425 B CN 102205425B CN 201110119423 CN201110119423 CN 201110119423 CN 201110119423 A CN201110119423 A CN 201110119423A CN 102205425 B CN102205425 B CN 102205425B
- Authority
- CN
- China
- Prior art keywords
- outer ring
- bearing outer
- cylinder
- chuck mechanism
- place
- Prior art date
- Legal status (The legal status is an assumption and is not a legal conclusion. Google has not performed a legal analysis and makes no representation as to the accuracy of the status listed.)
- Expired - Fee Related
Links
- 239000000463 material Substances 0.000 claims abstract description 233
- 230000007246 mechanism Effects 0.000 claims abstract description 108
- 238000000034 method Methods 0.000 claims abstract description 19
- 238000009826 distribution Methods 0.000 claims abstract description 12
- 230000009471 action Effects 0.000 claims description 30
- 238000001816 cooling Methods 0.000 claims description 20
- 238000007599 discharging Methods 0.000 claims description 13
- 238000011010 flushing procedure Methods 0.000 claims description 13
- 230000001595 contractor effect Effects 0.000 claims description 11
- 238000005520 cutting process Methods 0.000 claims description 10
- 238000003032 molecular docking Methods 0.000 claims description 10
- 239000007788 liquid Substances 0.000 claims description 8
- 238000003860 storage Methods 0.000 claims description 7
- 239000012530 fluid Substances 0.000 claims description 3
- 230000008569 process Effects 0.000 abstract description 9
- 230000035611 feeding Effects 0.000 description 71
- 238000003754 machining Methods 0.000 description 10
- 230000000694 effects Effects 0.000 description 9
- 230000008602 contraction Effects 0.000 description 7
- 238000001514 detection method Methods 0.000 description 5
- 230000003321 amplification Effects 0.000 description 3
- 239000012809 cooling fluid Substances 0.000 description 3
- 238000003199 nucleic acid amplification method Methods 0.000 description 3
- 230000000630 rising effect Effects 0.000 description 3
- 238000007789 sealing Methods 0.000 description 3
- XEEYBQQBJWHFJM-UHFFFAOYSA-N Iron Chemical compound [Fe] XEEYBQQBJWHFJM-UHFFFAOYSA-N 0.000 description 2
- 230000004888 barrier function Effects 0.000 description 2
- 230000000295 complement effect Effects 0.000 description 2
- 238000010586 diagram Methods 0.000 description 2
- 230000003028 elevating effect Effects 0.000 description 2
- 238000011084 recovery Methods 0.000 description 2
- 238000005452 bending Methods 0.000 description 1
- 230000009286 beneficial effect Effects 0.000 description 1
- 230000008901 benefit Effects 0.000 description 1
- 238000007664 blowing Methods 0.000 description 1
- -1 connecting plate 18 Substances 0.000 description 1
- 230000007423 decrease Effects 0.000 description 1
- 230000007812 deficiency Effects 0.000 description 1
- 238000004146 energy storage Methods 0.000 description 1
- 238000005516 engineering process Methods 0.000 description 1
- 235000021050 feed intake Nutrition 0.000 description 1
- 239000012467 final product Substances 0.000 description 1
- 229910052742 iron Inorganic materials 0.000 description 1
- 238000003825 pressing Methods 0.000 description 1
- 239000000047 product Substances 0.000 description 1
- 238000005096 rolling process Methods 0.000 description 1
- 239000002699 waste material Substances 0.000 description 1
Images
Landscapes
- Automatic Assembly (AREA)
Abstract
本发明涉及轴承外圈自动加工机。该轴承外圈自动加工机,包括机架、自动提升机、主轴、驱动主轴的主马达、夹头机构、刀座、控制装置、进料座、驱动进料座的顶料气缸、驱动进料座和顶料气缸的送料油缸、上料道、堆码机构、可移动的下料道和驱动下料道的接料气缸,在所述上料道和所述进料座的对接处设有分料机构,上料道的和进料座对接的一端比另一端低,下料道的和夹头机构对接的一端比另一端高。本发明提供了一种从上料到产品堆码全部自动化的、加工效率高的轴承外圈自动加工机,解决了现有的轴承外圈加工时自动化程度低、加工效率低的问题。
Description
技术领域
本发明涉及轴承加工领域,尤其涉及一种对轴承外圈内表面进行车削作业的轴承外圈自动加工机。
背景技术
加工轴承外圈时,有的是通过冲压成型,有的是先锻压出外圈毛坯,然后进行车削与磨削,现有的对轴承外圈内表面进行加工时,是通过人工装夹在通用车床上进行车削,用通用车床加工轴承外圈时因为是通过人工将轴承外圈毛坯件装夹到车床夹头机构上,加工完成后再人工将轴承外圈取下,这种逐个人工装卸的加工方式费时费力,加工效率低下,而且需要作业人员守护在车床旁,故让费劳动力,自动化程度低。
在中国专利号为ZL200720113159X,名称为“轴承加工三主轴车床”的专利文献中公开了一种可加工轴承套圈(内圈和外圈的总称)的车床,该车床设计有三根车床主轴和与三根主轴位置相匹配的上下料装置,实现了一定程度的自动化,但该专利有如下不足:仅仅实现了进料的自动化,没能实现上料、下料、排料和堆码的自动化;将毛坯件送到轴承主轴上进行加工和将主轴上加工好了的轴承套圈取下是通过同一套动作机构即上下料装置完成的,具体动作过程为将待加工件放置到上下料装置内,后移上下料装置到与主轴机构对齐,主轴机构内的加工好后的工件排到上下料装置内,前移上下料装置到与主轴机构脱开,上下料装置下移并将加工好的工件排到储料箱内,上下料装置再次后移到与主轴机构对齐并将待加工件装到主轴机构内,上下料装置再前移并与主轴机构脱开,上下料装置再上移复位,即完成一次自动进料动作,故主轴机构待料时间较长,导致加工效率降低。
发明内容
本发明提供了一种从上料到产品堆码全部自动化的、加工效率高的轴承外圈自动加工机,解决了现有的轴承外圈加工时自动化程度低、加工效率低的问题。
以上技术问题是通过下列技术方案解决的:一种轴承外圈自动加工机,包括机架、自动提升机、主轴、驱动主轴的主马达、通过主轴驱动的夹头机构、可沿主轴轴向移动的用于固定切削刀具的刀座和控制装置,还包括将轴承外圈送到夹头机构上的进料座、驱动进料座沿主轴轴向移动的顶料气缸、驱动进料座和顶料气缸作同步移动的送料油缸、对接在所述自动提升机与进料座之间的歪曲上升的上料道、对加工好后的轴承外圈进行堆码的堆码机构、可对接在堆码机构与夹头机构之间的移动的下料道和驱动下料道移动的接料气缸,在所述上料道和所述进料座的对接处设有用于控制上料道内的轴承外圈逐个进入所述进料座的分料机构,所述上料道的和所述进料座对接的一端比另一端低,所述下料道的和所述夹头机构对接的一端比另一端高。使用时,将待加工的轴承外圈批量放置在自动提升机上,自动提升机将轴承外圈逐个提升到上料道位置高的一端内,轴承外圈是以竖置状态存放在上料道内的,在重力的作用下,轴承外圈沿着弯曲上升的上料道向位置较低的一端即与进料座对接的一端滚动,并在分料机构的作用下只能逐个进入进料座中、余下的在下料道中排队等候,送料油缸将进料座和顶料气缸送到使进料座上的轴承外圈同夹头机构对齐的位置,顶料气缸将轴承外圈顶到夹头机构内,夹头机构将轴承外圈夹紧后顶料气缸和送料油缸复位,下一个待加工的轴承外圈进入进料座中,与此同时刀座向夹头机构靠近并通过安装在其上的切削刀具对轴承外圈内表面进行加工,加工完毕后,刀座带动刀具移开,接料气缸使下料道对接在夹头机构与堆码机构之间,加工好的轴承外圈从夹头机构中自动排出后掉落在下料道内并在重力的作用下沿下料道滚落到堆码机构中,堆码机构将轴承外圈自动堆码整齐,轴承外圈在下料道内呈竖置状态。
作为优选,所述分料机构包括跷跷杆、两根用于阻止上料道内的轴承外圈下滚的分料杆、两个导向套和用于从跷跷杆一端转动跷跷杆用的可移动的撞击件,所述跷跷杆的另一端设有弹簧,所述两根分料杆分别铰接在所述跷跷杆的两端,所述两根分料杆分别穿过所述两个导向套。使用时,跷跷杆的中部铰接在机架上,两个导向套固定在机架上,弹簧的一端固定在跷跷杆的一端上另一端固定在机架上,撞击件通过送料油缸驱动作升降运动。当撞击件没有压到跷跷杆时,远离送料座的那根分料杆将料道内的轴承外圈挡住不能向下移动,当送料油缸下推送料座以使进料座与夹头机构对齐的过程中,撞击件也一起下移并压在跷跷杆的没有设置弹簧的一端上,使跷跷杆该端向下转动,靠近送料座所在端的分料杆竖直下移,远离送料座所在端的分料杆上移并失去对轴承外圈的阻挡作用、弹簧被拉长储能,上料道内的轴承外圈整体下滚并被靠近送料座所在端的分料杆阻挡住,当送料油缸带动进料座上升并脱开与夹头机构的对接时,撞击件也一起上移并脱开对跷跷杆的下压作用,在弹簧的作用下,跷跷杆反向转动,靠近送料座所在端的分料杆竖直上移并失去对轴承外圈的阻挡作用,远离送料座所在端的分料杆下移并从上料道内的第一个与第二个轴承外圈之间插入并将除第一个轴承外圈外的其余的轴承外圈阻挡住不能够向下滚动,第一个轴承外圈自动滚到进料座内。
作为优选,所述堆码机构包括水平设置的横截面为“V”字形的料槽、位于料槽一端的进料口和位于料槽的进料口所在端的推料气缸。加工好的轴承外圈经进料口呈竖置状态进入料槽,然后推料气缸沿着料槽的延伸方向将轴承外圈推移开,以便下一个进入,使得料槽内的轴承外圈整齐地排列在一起,不会产生后掉下的轴承外圈撞击先掉下的轴承外圈、导致轴承外圈损伤的现象,同时也不用人工逐个堆码,自动化程度高。
作为优选,所述推料气缸的活塞杆上连接有推料块,所述推料块的表面上设有弹性防护层,所述推料气缸处于伸出状态,所述推料块位于所述进料口的下方。轴承外圈进入料槽内时,首先是掉到推料块上,然后推料气缸收缩,使推料块离开进料口,轴承外圈从推料块上掉到料槽内,推料气缸再伸出,推料块将轴承外圈从料槽的对应于进料口所在的位置推开,推料块对齐在进料口下方等待下一个轴承外圈的到来。因轴承外圈精车削加工完成后外表面留有0.2mm-0.3mm的磨削余量,此时此类零件完成精车削后需轻拿轻放,平稳转移,保护外表面的磨削余量不因撞击而损坏,现实中往往因为操作员的不小心或者转移零件动作太大而难以避免地损坏了零件表面以致零件报废,给企业带来不小的损失。此种设计能使工件缓慢下落,并通过在推料块上设计弹性防护层,使轴承外圈掉在推离块上,故不易损伤轴承外圈。
作为优选,本发明包括包括与所述控制装置电连接的满料检测开关和推料气缸收缩检测开关,所述控制装置对所述堆码机构进行控制的方法为:1、初始状态时使所述推料气缸处于伸出状态;2、从轴承外圈从所述夹头机构排出时开始计时,计时到设定的时长后控制所述推料气缸作收缩动作;3、所述推料气缸收缩设定时长后,控制所述推料气缸作伸出动作;4、当满料检测开关检测到轴承外圈堆码到设定值或推料气缸收缩检测开关检测到推料气缸收缩不到位时,控制所述主马达停止。不用人工守候在机器旁,自动化程度高。
作为优选,所述料槽内搁置有固定块,所述固定块上设置有与所述料槽相平行的串料杆,所述串料杆上套设有可沿所述串料杆的轴向移动的阻挡滑块。在推料气缸推动轴承外圈时,轴承外圈推动阻挡滑块一起移动,所有的轴承外圈都套在串料杆上,将轴承外圈从料槽内取走时,通过握持住串料杆将轴承外圈整串一起转移即可。故可方便操作员轻松转移加工完成的工件,设置阻挡滑块,推料气缸推移轴承外圈的过程中,轴承外圈不易翻倒,能减少堆码时的轴承外圈的损伤数量。
作为优选,本发明包括残液回收托盘,所述料槽位于所述残液回收托盘内,所述残液回收托盘上设有出液孔。随轴承外圈携带来的冷却液通过回收托盘集中回收,清洁环保。
作为优选,所述主轴为空心轴,所述夹头机构包括与所述主轴固接在一起的夹头座、内置于夹头座的可在夹头座内轴向移动的一端可弹性开合的弹簧夹头、固接在夹头座内并套接在弹簧夹头的弹性开合端的锥套、穿设在所述主轴内的用于移动弹簧夹头用的拉管、内置于拉管的冷却管、内置于冷却管的气管、内置于弹簧夹头并与夹头座相固接的工件挡接块和固接在弹簧夹头上的沿弹簧夹头周向分布的若干压爪,所述主轴上固接有用于驱动拉管沿主轴的轴向移动的空心回转油缸,所述空心回转油缸同所述主轴同轴线,所述冷却管的一端和所述气管的一端都密封连接在所述工件挡接块上,所述工件挡接块的远离所述气管的一端的端部上设有与所述气管相连通的出气口和与所述冷却管相连通的出液口。轴承外圈内置于弹簧夹头内时,其端面被工件挡接块挡住来实现定位,当空心回转油缸沿主轴的轴向向夹头座内拉拉管时,拉管拉动弹簧夹头向夹头座内移动,由于锥套的作用,弹性夹头带动压爪合拢,从轴承外圈的外表面将轴承外圈夹持住,冷却液经冷却管进入后从出液口流出,车削时起到冷却作用,压缩气体经气管进入后从出气口流出,当空心回转油缸不拉拉管时,弹性夹头向夹头座外移动并松开对轴承外圈的夹持,压缩气体将轴承外圈从弹簧夹头内吹出。故本发明的夹头机构具有自动冷却、出料和装夹功能。
作为优选,本发明包括包括与所述控制装置电连接的出料计数开关和进料计数开关,所述控制装置对所述自动提升机进行控制的控制方法为:1、通过所述进料计数开关计算出进入所述上料道内的轴承外圈数量,通过所述出料计数开关计算出流出所述上料道内的轴承外圈数量,然后计算出所述上料道内的轴承外圈的数量;2、当所述上料道内的轴承外圈数量大于等于所设定的最大存放量时,控制所述自动提升机停止向所述上料道内送料;3、当所述上料道内的轴承外圈数量小于等于所设定的最小存放量时,控制所述自动提升机向所述上料道内送料。能使自动提升机与后续的机构自动同步,不需要人员长期守护在机器旁,自动化程度高,可通过设置合理的最大存放量来减轻上料道的载荷,以延长上料道的使用寿命。
作为优选,本发明的控制方法为:1、检测所述上料道内是否有料,有料则进入后续步骤,没有料则发出报警并提示报警原因;2、当所述夹头机构处于松开状态、所述接料气缸伸出到位、所述顶料气缸收缩到位时,所述送料油缸作伸出动作、然后进入后续步骤,否则报警并提示报警原因;3、当所述夹头机构处于松开状态、所述接料气缸伸出到位、所述送料油缸伸出到位时,所述顶料气缸作伸出动作、然后进入后续步骤,否则报警并提示报警原因;4、当待加工的轴承外圈被送到所述夹头机构内时,所述夹头机构作夹紧动作、然后进入后续步骤,否则报警并提示报警原因;5、当所述夹头机构处于夹紧状态、所述接料气缸伸出到位、所述送料油缸伸出到位时,所述顶料气缸作收缩动作、然后进入后续步骤,否则报警并提示报警原因;6、当所述夹头机构处于夹紧状态、所述接料气缸伸出到位、所述顶料气缸收缩到位时,所述送料油缸作收缩动作、然后进入后续步骤,否则报警并提示报警原因;7、当所述送料油缸收缩到位时,所述刀座靠拢所述夹头机构并对轴承外圈切削设定时长后再远离所述夹头机构、然后进入后续步骤,否则报警并提示报警原因;8、当所述夹头机构处于夹紧状态、所述送料油缸收缩到位、所述顶料气缸收缩到位时,所述接料气缸作收缩动作、然后进入后续步骤,否则报警并提示报警原因;9、当接料气缸收缩到位时,所述夹头机构作松开动作、然后进入后续步骤,否则报警并提示报警原因;10、当所述夹头机构处于松开状态、轴承外圈掉入到下料道内时,所述接料气缸作伸出动作,否则报警并提示报警原因。各动作元件的动作交接是通过检测上一步及相关动作到位后才进行的,故较之通过延时的方式进行控制而言,动作更加安全准确可靠。有故障时报警并显示报警的原因,有利于作业人员及时发现故障原因。
本发明具有下述优点,上料、装料、夹料、推(吹)料、接料、堆码全部自动化,完成了轴承外圈的自动车削加工,有着更佳的综合切削性能,在切削时间和切削性能上都有很强的竞争力。为轴承外圈实现全自动加工提供了优越的设备基础。上料道设计为弯曲上升,能降低轴承外圈下滚时的冲击力。
附图说明
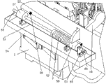
图1为本发明的立体结构示意图;
图2为图1中的堆码机构的放大后的结构示意图;
图3为图1中的分料机构的放大后的结构示意图;
图4为送料油缸和顶料气缸同机架的连接关系的正视放大示意图;
图5为送料座、顶料气缸和上料道入口三者的位置关系的放大剖视正视示意图;
图6为本发明的夹头机构的爆炸示意图;
图7为本发明的夹头结构同主轴连接在一起时的轴向剖视示意图;
图8为本发明的电路框图。
图中:机架1,机箱11,刀座12,送料油缸13,进料座14,上下滑板15,下料道16,接料气缸17,连接板18,顶料气缸19,自动提升机2,上料道21,顶料块22,顶块轴承23,分料机构3,跷跷杆31,前分料杆32,后分料杆33,前导向套34,后导向套35,撞击件36,弹簧37,夹头机构4,压爪40,锥套41,工件挡接块42,出液口421,出气口422,蝶形螺母43,弹簧夹头44,夹头座45,排屑孔451,三爪法兰46,拉管47,冷却管48,气管49,堆码机构5,料槽51,进料口52,推料气缸53,残液回收托盘54,排液管55,推料块56,固定块57,串料杆58,阻挡滑块59,送料油缸收缩检测开关61,送料油缸伸出检测开关62,进料计数开关63,出料计数开关64,下料检测开关65,接料气缸收缩检测开关66,接料气缸伸出检测开关67,推料气缸收缩检测开关68,满料检测开关69,顶料气缸收缩检测开关60,轴承外圈7,主轴8,皮带轮81,空心回转油缸82,主轴法兰83,油缸法兰84,法兰轴承85,控制装置9,送料油缸电磁阀91,顶料气缸电磁阀92,接料气缸电磁阀93,推料气缸电磁阀94,空心回转油缸电磁阀95,压力传感器96,显示器97,报警装置98,主马达控制装置99,刀座控制装置90。
具体实施方式
下面结合附图与实施例对本发明作进一步的说明。
参见图1,一种轴承外圈自动加工机,包括机架1和自动提升机2,机架1上设有机箱11,机箱11内设有主轴8和驱动主轴的主马达,在图1中主轴8和主马达都没有画出,主轴8是沿左右方向延伸的,主轴8的结构参见图6,机箱11的右端上设有通过主轴驱动作旋转运动的夹头机构4,在机架1上设有可沿主轴轴向移动即左右移动的用于固定切削刀具的刀座12,在机架11上还设有送料油缸13,送料油缸13上安装有送料油缸收缩检测开关61和送料油缸伸出检测开关62,送料油缸收缩检测开关61用于检测送料油缸13收缩是否到位,送料油缸伸出检测开关62用于检测送料油缸13伸出是否到位,送料油缸13的活塞杆与进料座14相固接在一起,送料油缸13可驱动上下滑板15上下移动,在自动提升机2与进料座14之间设置有歪曲上升的上料道21,上料道21的和进料座14对接的一端比上料道21的和自动提升机2对接的一端低,上料道21和自动提升机2的对接处设有进料计数开关63,在上料道21和进料座14的对接处设有分料机构3,在上料道21和进料座14的对接处设有出料计数开关64,在机架1的前侧上设有堆码机构5,在堆码机构5与夹头机构4之间对接有可上下移动的下料道16,在下料道16内设有下料检测开关65,下料道16通过接料气缸17驱动着作升降运动,在接料气缸17上设有接料气缸收缩检测开关66和接料气缸伸出检测开关67,接料气缸收缩检测开关66是用来检测接料气缸17是否收缩到位用的,接料气缸伸出检测开关67是用来检测接料气缸17是否伸出到位用的,下料道16的和夹头机构4对接的一端比下料道16的同堆码机构5对接的一端高。
参见图2,堆码机构5包括横截面为“V”字形的水平设置的料槽51、位于料槽右上方的进料口52和位于料槽右端的推料气缸53,进料口52固定在机架1的前侧面上,进料口52与下料道16相对接,料槽51和推料气缸53都固定在残液回收托盘54上,残液回收托盘54固定在机架1的前侧面上,残液回收托盘54的底部设有出液孔,出夜孔通过排液管55与废液回收装置相连通,推料气缸53的活塞杆上连接有横截面为圆形的推料块56,推料块56的侧表面上包裹有弹性防护层,推料气缸53处于伸出状态时,推料块56位于进料口52的正下方,位于推料块56的右侧的地方设有推料气缸收缩检测开关68,推料气缸收缩检测开关68用于检测推料气缸53收缩时是否到位用的,料槽51内搁置有固定块57,固定块57上设置有与料槽51相平行的串料杆58,串料杆58上套设有阻挡滑块59,在位于固定块57的右侧的地方设置有满料检测开关69,当阻挡滑块59到达满料检测开关69所在的位置时,表示料槽51内的轴承外圈7已满。堆码机构5的堆码动作过程为:初始状态时,推料气缸53处于伸出状态,轴承外圈7从下料道16经进料口52掉到推料块56上,然后推料气缸53收缩,带动推料块56右移,轴承外圈7从推料块56上掉到料槽51内,推料气缸53伸出,带动推料块56左移,推料块56带动轴承外圈7左移,使轴承外圈7套设在串料杆58上,轴承外圈7左移时带动已经套在串料杆上的轴承外圈及阻挡滑块59一起左移。
参见图3,分料机构3包括跷跷杆31、前分料杆32、后分料杆33、前导向套34、后导向套35和撞击件36,跷跷杆31的中部与机架1相铰接,跷跷杆31的后端通过弹簧37固接在机架1上,后导向套35和前导向套34固定在机架1上,前分料杆32穿设过前导向套34,前分料杆32的上端铰接在跷跷杆31的前端,后分料杆33穿过后导向套35,后分料杆33的上端铰接在跷跷杆31的后端,撞击件36为一颗螺栓,撞击件36螺纹连接在固定在上下滑板15的上端的横杆上,撞击件36距离上下滑板15上端的距离可调,前分料杆32和后分料杆33都位于上料道21的上方。分料机构3的工作过程为:当撞击件36不压在跷跷杆31上时,后分料杆33阻挡在轴承外圈7中的第一个的前方,使轴承外圈7排队等候在上料道21内不能下滚,当送料油缸13伸长时,带动上下滑板15下移,上下滑板15带动撞击件36下移,撞击件36下移的过程中会压接在跷跷杆31的前端上带动跷跷杆31的前端下降、后端上升,从而使前分料杆32下降,后分料杆33上升,运动的结果是后分料杆33与轴承外圈7之间分开,轴承外圈7整体下滚到被前分料杆32阻挡住;当送料油缸13上升时,带动上下滑板15上升,上下滑板15带动撞击件36上移,撞击件36脱开对跷跷杆31的前端的下压,在弹簧37的作用下,跷跷杆31的前端上升、后端下降,从而使前分料杆32上升,后分料杆33下降,运动的结果是后分料杆33从下料道21内的第一个轴承外圈与第二个轴承外圈之间插入,使从第二个轴承外圈开始的轴承外圈都不能够下滚,前分料杆32与第一个轴承外圈脱开,第一个轴承外圈下滚到进料座14内。
参见图4,上下滑板15的下端通过连接板18固定在送料油缸13的活塞杆上,进料座14固定在上下滑板15的下端上,进料座14的左端即搁置轴承外圈7的一端的横截面为“V”字形,进料座14的右端内固定有顶料气缸19,顶料气缸19为薄型气缸,顶料气缸19安装为沿左右方向伸缩,顶料气缸19上安装有顶料气缸收缩检测开关60,顶料气缸收缩检测开关60是用于检测顶料气缸19收缩是否到位的。
参见图5,当进料座14位于上部位置时,进料座14同上料道21对接在一起,轴承外圈7能够顺畅地滚进进料座14内,顶料气缸19的活塞杆上连接有一端封闭的管状的顶料块22,顶料块22通过顶块轴承23可转动地连接在顶料气缸19的活塞杆上,顶料块22的大小同轴承外圈7的大小相匹配,以便能够平稳地将轴承外圈7向右顶。
参见图6,夹头机构4包括六只压爪40、锥套41、工件挡接块42、蝶形螺母43、弹簧夹头44、夹头座45、三爪法兰46、拉管47、冷却管48和气管49,工件挡接块42的右端面上有凹坑,凹坑内设有出液口421,工件挡接块42的右端面上设有出气口422,夹头座45的侧面上设有排屑孔451。
参见图7,主轴8为空心轴,三爪法兰46的左端固定在主轴8的右端上,夹头座45套接在三爪法兰的三个爪外并固接在三爪法兰46的右端上,弹簧夹头44穿设在夹头座45内并套设在三爪法兰46的三个爪外外,蝶形螺母43内置在三爪法兰46内并抵接在弹簧夹头44的内部的左端面上,拉管47自左向右依次穿过主轴8、三爪法兰46和夹头座45后螺纹连接在蝶形螺母43上,工件挡接块42固接在三爪法兰46的三个爪的右端部上,锥套41卡接在夹头座45的右端内部并套设在弹簧夹头44的弹性开合端即右端上,六只压爪40固接在弹簧夹头44的右端内,六只压爪40沿弹簧夹头44的周向均匀分布,冷却管48穿设在拉管47内,冷却管48的右端密封固接在工件挡接块42上,出液口421与冷却管48相连通,气管49穿设在冷却管48内,气管49的右端密封固接在工件挡接块42上,出气口422与气管49相连通,主轴8上安装有皮带轮81,主马达(图中没有画出)是通过皮带轮81来驱动主轴8的,拉管47是通过空心回转油缸82驱动作向左移动的,空心回转油缸82通过两个主轴法兰83固接在皮带轮81的左端上,空心回转油缸82的左端上固接有油缸法兰84,油缸法兰84套设在冷却管48上,油缸法兰84通过法兰轴承85可转动地连接在冷却管48上。对轴承外圈7的夹持与松开的方法为,空心回转油缸82驱动拉管47左移,拉管47通过蝶形螺母43向左拉弹簧夹头44,弹簧夹头44左移的过程中锥套41使弹簧夹头44的右端弹性合拢,弹簧夹头44驱动压爪40夹紧在轴承外圈7上,即可对轴承外圈7进行车削,冷却液从冷却管48的左端注入并从出液口421内流出对刀具及轴承外圈7进行冷却,压缩气体从气管49的左端流入并从出气口422内流出,将车削下的铁屑从排屑孔451内排出;当空心回转油缸82不左拉拉管47时,弹簧夹头44右移并弹性张开,压爪40松开对轴承外圈7的夹紧,从出气口422内流出的气体将轴承外圈7从弹簧夹头44内吹出,起到自动排料的作用。
参见图8,本发明还包括控制装置9,与控制装置电连接在一起的主马达控制装置99、刀座控制装置90、送料油缸电磁阀91、顶料气缸电磁阀92、接料气缸电磁阀93、推料气缸电磁阀94、空心回转油缸电磁阀95、压力传感器96、显示器97和报警装置98,送料油缸收缩检测开关61、送料油缸伸出检测开关62、进料计数开关63、出料计数开关64、下料检测开关65、接料气缸收缩检测开关66、接料气缸伸出检测开关67、推料气缸收缩检测开关68、满料检测开关69和顶料气缸收缩检测开关60十者都与控制装置9电连接在一起,送料油缸电磁阀91是用于控制送料油缸13作伸缩动作的,顶料气缸电磁阀92是用于控制顶料气缸19作伸缩动作的,接料气缸电磁阀93是用于控制接料气缸17作伸缩动作的,推料气缸电磁阀94是用于控制推料气缸53作伸缩动作的,空心回转油缸电磁阀95是用于控制空心回转油缸82去左拉拉管47的,压力传感器96是用于检测气管49内的气压的,主马达控制装置99用于控制主马达的工作状态,刀座控制装置90用于控制刀座12的移动,控制装置9的主控部件为PLC。
参见图1到图8,本发明的动作步骤和控制方法为:
第一步:计算上料道21内的轴承外圈数量,当上料道21内的轴承外圈数量大于等于所设定的最大存放量时,控制装置9控制自动提升机2停止向上料道21内送料;当上料道21内的轴承外圈数量小于等于所设定的最小存放量时,控制装置9控制自动提升机2向上料道21内送料;当上料道21内的轴承外圈数量为零时,控制装置9控制报警装置98报警、控制显示器97显示有关提示信息,让作业容易知道报警原因;当上料道内有料时则进入后续步骤。上料道内的轴承数量为进料计数开关63所检测到的数量减去下出料检测开关64所检测到的数量。本发明将出料检测开关64设计在上料道21的出料端去检测的有益效果为,还有一个轴承外圈在加工时就能提醒作业人员向自动提升机内投料,避免到全部加工完后再提醒,产生待料的现象发生,空转率低。
第二部:当夹头机构4处于松开状态、接料气缸伸出检测开关67检测到接料气缸17伸出到位、顶料气缸收缩检测开关60检测到顶料气缸19收缩到位时,控制装置9通过送料油缸电磁阀91控制送料油缸13作伸出动作;送料油缸13使进料座14连同顶料气缸19和轴承外圈7一起下降,下降到位时,轴承外圈7刚好对齐弹簧夹头44。如果送料油缸13的伸出时间到达设定时长而没有伸出到位时,则控制装置9控制报警装置98报警并通过显示器97显示相关错误信息,让作业人员知道报警原因。
第三步:当夹头机构4处于松开状态、接料气缸伸出检测开关67检测到接料气缸17伸出到位、送料油缸伸出检测开关62检测到送料油缸13伸出到位时,控制装置9通过顶料气缸电磁阀92控制顶料气缸19作伸出动作;顶料气缸19将轴承外圈顶到弹簧夹头44内,当轴承外圈抵接到工件抵接块42上时,轴承外圈7会将出气口422堵住,气管49内的气压会上升。如果顶料气缸19伸出时间到达设定时长而没有将料顶到位时,则控制装置8控制报警装置98报警并通过显示器97显示相关错误信息,让作业人员知道报警原因。
第四步:当压力传感器96检测到气管49内的气压升到设定值时,通过空心回转油缸电磁阀95控制空心回转油缸82左拉拉管,压爪40将轴承外圈7夹紧。通过检测气管49内的气压来判断轴承外圈7是否送到夹头机构4内,能避免轴承宽度变窄时,虽然顶料气缸19伸出到位,但是轴承外圈不能被夹头机构4夹住即没有到位而误当作到位,动作更加安全可靠。
第五步:当夹头机构4处于夹紧状态、接料气缸伸出检测开关67检测到接料气缸17伸出到位、送料油缸伸出检测开关62检测到送料油缸13伸出到位时,控制装置9通过顶料气缸电磁阀92控制顶料气缸19作收缩动作。弹簧夹头44是否处于夹紧状态的判断方法为,从通过空心回转油缸电磁阀95去使空心回转油缸83左拉拉管47开始计时到设定时长后即视为夹紧。如果顶料气缸19收缩时间到达设定时长而没有收缩到位时,则控制装置9控制报警装置98报警并通过显示器97显示相关错误信息,让作业人员知道报警原因。
第六步:当夹头机构4处于夹紧状态、接料气缸伸出检测开关67检测到接料气缸17伸出到位、顶料气缸收缩检测开关60检测到顶料气缸19收缩到位时,控制装置9通过送料油缸电磁阀91控制送料油缸13作收缩动作。当送料座14上升到位时,在分料机构3的作用下,又一个轴承外圈7自动进入送料座14内。如果送料油缸13收缩时间到达设定时长而没有收缩到位时,则控制装置9控制报警装置报警98并通过显示器97显示相关错误信息,让作业人员知道报警原因。
第七步:控制装置9控制刀座控制装置90去控制刀座12靠拢夹头机构4并通过安装在刀座上的刀具对轴承外圈7切削设定时长后,刀座12远离夹头机构4。
第八步:当夹头机构4处于夹紧状态、送料油缸收缩检测开关61检测到送料油缸13收缩到位、顶料气缸收缩检测开关60检测到顶料气缸19收缩到位时,控制装置9通过接料气缸电磁阀93控制接料气缸17作收缩动作。接料气缸17收缩到位时,下料道16对接在夹头机构4与进料口52之间。如果接料气缸17收缩时间到达设定时长而没有收缩到位时,则控制装置9控制报警装置98报警并通过显示器97显示相关错误信息,让作业人员知道报警原因。
第九步:当接料气缸收缩检测开关66检测到接料气缸17收缩到位时,控制装置9通过空心回转油缸电磁阀95控制夹头机构4作松开动作。轴承外圈7被吹落到下料道16内并沿下料道滚落到堆码机构5内被堆码机构堆码好。堆码时的控制过程为:从夹头机构4开始松开进行计时到设定时长后,控制装置9通过推料气缸电磁阀94控制推料气缸53作回缩动作;当推料气缸53收缩时间达到设定时长后,控制装置9通过推料气缸电磁阀94控制推料气缸53作伸出动作。当满料检测开关69检测到轴承外圈7堆码满时,则控制装置9控制主马达控制装置99去控制主马达停止工作并通过报警装置98报警并通过显示器97显示报警原因;从夹头机构4开始松开进行计时到设定时长后,如果轴承外圈7还没有掉落到下料道16内,则控制装置9控制报警装置98报警并通过显示器97显示相关错误信息,让作业人员知道报警原因;从推料气缸53收缩开始计时到设定时长后,如果推料气缸收缩检测开关68检测到推料气缸53没有收缩到位,则控制装置9控制报警装置98报警并通过显示器97显示相关错误信息,让作业人员知道报警原因。
第十步:当夹头机构4处于松开状态、下料检测开关65检测到轴承外圈7掉入到下料道16内并延时设定时长后,控制装置9通过接料气缸电磁阀93控制接料气缸17作伸出动作。如果接料气缸17伸出时间到达设定时长而没有伸出到位时,则控制装置9控制报警装置98报警并通过显示器97显示相关错误信息,让作业人员知道报警原因。
Claims (10)
1.一种轴承外圈自动加工机,包括机架、自动提升机、主轴、驱动主轴的主马达、通过主轴驱动的夹头机构、可沿主轴轴向移动的用于固定切削刀具的刀座和控制装置,其特征在于,还包括将轴承外圈送到夹头机构上的进料座、驱动进料座沿主轴轴向移动的顶料气缸、驱动进料座和顶料气缸作同步移动的送料油缸、对接在所述自动提升机与进料座之间的歪曲上升的上料道、对加工好后的轴承外圈进行堆码的堆码机构、可对接在堆码机构与夹头机构之间的移动的下料道和驱动下料道移动的接料气缸,在所述上料道和所述进料座的对接处设有用于控制上料道内的轴承外圈逐个进入所述进料座的分料机构,所述上料道的和所述进料座对接的一端比另一端低,所述下料道的和所述夹头机构对接的一端比另一端高。
2.根据权利要求1所述的轴承外圈自动加工机,其特征在于,所述分料机构包括跷跷杆、两根用于阻止上料道内的轴承外圈下滚的分料杆、两个导向套和用于从跷跷杆一端转动跷跷杆的可移动的撞击件,所述跷跷杆的另一端设有弹簧,所述两根分料杆分别铰接在所述跷跷杆的两端,所述两根分料杆分别穿过所述两个导向套。
3.根据权利要求1或2所述的轴承外圈自动加工机,其特征在于,所述堆码机构包括水平设置的横截面为“V”字形的料槽、位于料槽一端的进料口和位于料槽的进料口所在端的推料气缸。
4.根据权利要求3所述的轴承外圈自动加工机,其特征在于,所述推料气缸的活塞杆上连接有推料块,所述推料块的表面上设有弹性防护层,所述推料气缸处于伸出状态,所述推料块位于所述进料口的下方。
5.根据权利要求4所述的轴承外圈自动加工机,其特征在于,包括与所述控制装置电连接的满料检测开关和推料气缸收缩检测开关,所述控制装置对所述堆码机构进行控制的方法为:1、初始状态时使所述推料气缸处于伸出状态;2、从轴承外圈从所述夹头机构排出时开始计时,计时到设定的时长后控制所述推料气缸作收缩动作;3、所述推料气缸收缩设定时长后,控制所述推料气缸作伸出动作;4、当满料检测开关检测到轴承外圈堆码到设定值或推料气缸收缩检测开关检测到推料气缸收缩不到位时,控制所述主马达停止。
6.根据权利要求3所述的轴承外圈自动加工机,其特征在于,所述料槽内搁置有固定块,所述固定块上设置有与所述料槽相平行的串料杆,所述串料杆上套设有可沿所述串料杆的轴向移动的阻挡滑块。
7.根据权利要求3所述的轴承外圈自动加工机,其特征在于,包括残液回收托盘,所述料槽位于所述残液回收托盘内,所述残液回收托盘上设有出液孔。
8.根据权利要求1或2所述的轴承外圈自动加工机,其特征在于,所述主轴为空心轴,所述夹头机构包括与所述主轴固接在一起的夹头座、内置于夹头座的可在夹头座内轴向移动的一端可弹性开合的弹簧夹头、固接在夹头座内并套接在弹簧夹头的弹性开合端的锥套、穿设在所述主轴内的用于移动弹簧夹头用的拉管、内置于拉管的冷却管、内置于冷却管的气管、内置于弹簧夹头并与夹头座相固接的工件挡接块和固接在弹簧夹头上的沿弹簧夹头周向分布的若干压爪,所述主轴上固接有用于驱动拉管沿主轴的轴向移动的空心回转油缸,所述空心回转油缸同所述主轴同轴线,所述冷却管的一端和所述气管的一端都密封连接在所述工件挡接块上,所述工件挡接块的远离所述气管的一端的端部上设有与所述气管相连通的出气口和与所述冷却管相连通的出液口。
9.根据权利要求1或2所述的轴承外圈自动加工机,其特征在于,包括与所述控制装置电连接的出料计数开关和进料计数开关,所述控制装置对所述自动提升机进行控制的控制方法为:1、通过所述进料计数开关计算出进入所述上料道内的轴承外圈数量,通过所述出料计数开关计算出流出所述上料道内的轴承外圈数量,然后计算出所述上料道内的轴承外圈的数量;2、当所述上料道内的轴承外圈数量大于等于所设定的最大存放量时,控制所述自动提升机停止向所述上料道内送料;3、当所述上料道内的轴承外圈数量小于等于所设定的最小存放量时,控制所述自动提升机向所述上料道内送料。
10.一种用于如权利要求1所述的轴承外圈自动加工机的控制方法,其特征在于,1、检测所述上料道内是否有料,有料则进入后续步骤,没有料则发出报警并提示报警原因;2、当所述夹头机构处于松开状态、所述接料气缸伸出到位、所述顶料气缸收缩到位时,所述送料油缸作伸出动作、然后进入后续步骤,否则报警并提示报警原因;3、当所述夹头机构处于松开状态、所述接料气缸伸出到位、所述送料油缸伸出到位时,所述顶料气缸作伸出动作、然后进入后续步骤,否则报警并提示报警原因;4、当待加工的轴承外圈被送到所述夹头机构内时,所述夹头机构作夹紧动作、然后进入后续步骤,否则报警并提示报警原因;5、当所述夹头机构处于夹紧状态、所述接料气缸伸出到位、所述送料油缸伸出到位时,所述顶料气缸作收缩动作、然后进入后续步骤,否则报警并提示报警原因;6、当所述夹头机构处于夹紧状态、所述接料气缸伸出到位、所述顶料气缸收缩到位时,所述送料油缸作收缩动作、然后进入后续步骤,否则报警并提示报警原因;7、当所述送料油缸收缩到位时,所述刀座靠拢所述夹头机构并对轴承外圈切削设定时长后再远离所述夹头机构、然后进入后续步骤,否则报警并提示报警原因;8、当所述夹头机构处于夹紧状态、所述送料油缸收缩到位、所述顶料气缸收缩到位时,所述接料气缸作收缩动作、然后进入后续步骤,否则报警并提示报警原因;9、当接料气缸收缩到位时,所述夹头机构作松开动作、然后进入后续步骤,否则报警并提示报警原因;10、当所述夹头机构处于松开状态、轴承外圈掉入到下料道内时,所述接料气缸作伸出动作,否则报警并提示报警原因。
Priority Applications (1)
| Application Number | Priority Date | Filing Date | Title |
|---|---|---|---|
| CN 201110119423 CN102205425B (zh) | 2011-05-10 | 2011-05-10 | 轴承外圈自动加工机 |
Applications Claiming Priority (1)
| Application Number | Priority Date | Filing Date | Title |
|---|---|---|---|
| CN 201110119423 CN102205425B (zh) | 2011-05-10 | 2011-05-10 | 轴承外圈自动加工机 |
Publications (2)
| Publication Number | Publication Date |
|---|---|
| CN102205425A CN102205425A (zh) | 2011-10-05 |
| CN102205425B true CN102205425B (zh) | 2013-03-13 |
Family
ID=44694650
Family Applications (1)
| Application Number | Title | Priority Date | Filing Date |
|---|---|---|---|
| CN 201110119423 Expired - Fee Related CN102205425B (zh) | 2011-05-10 | 2011-05-10 | 轴承外圈自动加工机 |
Country Status (1)
| Country | Link |
|---|---|
| CN (1) | CN102205425B (zh) |
Families Citing this family (28)
| Publication number | Priority date | Publication date | Assignee | Title |
|---|---|---|---|---|
| CN102500804A (zh) * | 2011-10-13 | 2012-06-20 | 河南省中原轴瓦股份有限公司 | 一种双轴锥面加工机床 |
| CN102489724B (zh) * | 2011-11-14 | 2016-04-20 | 盐城双佳电气有限公司 | 全自动割管机 |
| CN102489628B (zh) * | 2011-12-12 | 2013-12-11 | 镇江希西维轴承有限公司 | 一种轴承外圈自动冲压油槽及卸料装置 |
| CN102554274B (zh) * | 2011-12-22 | 2016-04-27 | 大连机床(数控)股份有限公司 | 用于机床的中空棒料加工自动挡料下料装置 |
| CN102626893B (zh) * | 2012-04-10 | 2014-02-19 | 新昌县大成自动化设备有限公司 | 一种不规则轴承专用磨床 |
| CN103934477B (zh) * | 2014-04-29 | 2016-06-22 | 新昌新天龙纽尚精密轴承有限公司 | 一种轴承车削上料机构 |
| CN103949663B (zh) * | 2014-04-30 | 2016-06-29 | 新昌新天龙纽尚精密轴承有限公司 | 一种轴承加工提升送料装置 |
| CN104001936B (zh) * | 2014-05-04 | 2016-04-13 | 洛阳维斯格轴承有限公司 | 等截面超薄壁轴承套圈车削加工工艺方法 |
| CN105312462B (zh) * | 2014-07-29 | 2018-10-09 | 无锡市大桥轴承机械有限公司 | 一种辗环机送料装置及送料方法 |
| CN104275509B (zh) * | 2014-10-08 | 2016-08-24 | 泛科轴承集团有限公司 | 轴承外圈多孔自动加工机 |
| CN104692096B (zh) * | 2015-03-04 | 2017-03-08 | 浙江盛达物联科技股份有限公司 | 推力球轴承套圈自动翻面装置 |
| CN104863962B (zh) * | 2015-06-01 | 2018-06-22 | 山东朝阳轴承有限公司 | 圆锥滚子轴承全自动理料机 |
| CN105215745A (zh) * | 2015-10-31 | 2016-01-06 | 重庆大友金属有限责任公司 | 防错加工门铰链钻孔夹具 |
| CN106180760B (zh) * | 2016-08-12 | 2018-05-25 | 沈阳机床股份有限公司 | 一种斜床身双主轴、双排刀及机内自动上下料的数控车床 |
| CN106239325B (zh) * | 2016-08-23 | 2018-05-15 | 哈工大机器人集团(广州)知识产权投资控股有限公司 | 一种轴承表面全自动加工机器人 |
| CN106623985A (zh) * | 2016-11-09 | 2017-05-10 | 安徽千禧精密轴承制造有限公司 | 一种轴承外圈加工装置 |
| CN106583762A (zh) * | 2016-11-09 | 2017-04-26 | 安徽千禧精密轴承制造有限公司 | 一种自动放料卸料轴承外圈加工一体装置 |
| CN108460446B (zh) * | 2017-04-11 | 2023-01-20 | 上海哥瑞利软件股份有限公司 | 一种Molding设备上下料计数方法及设备 |
| CN107007939B (zh) * | 2017-04-17 | 2019-06-07 | 宁波中哲医疗科技有限公司 | 碳棒自动更换设备的防护装置 |
| CN107618855A (zh) * | 2017-09-27 | 2018-01-23 | 德清县凌鹰电器有限公司 | 一种工件凸圈加工自动送料夹紧装置 |
| CN107570726B (zh) * | 2017-10-10 | 2023-06-06 | 浙江金汤机床有限公司 | 发动机气门连续全自动加工专用数控车床及其方法 |
| CN108000259A (zh) * | 2017-12-18 | 2018-05-08 | 江苏飞象数控设备有限公司 | 无心磨上下料机构 |
| CN108637279B (zh) * | 2018-05-03 | 2019-11-05 | 安徽宇宙机床有限公司 | 一种移动式数控排刀车床的自动上料装置 |
| CN108916250A (zh) * | 2018-06-26 | 2018-11-30 | 嘉善优耐特滑动轴承厂 | 一种轴承整装方法 |
| CN109895409B (zh) * | 2019-03-29 | 2021-03-16 | 邵东智能制造技术研究院有限公司 | 老虎钳套胶装配总装 |
| CN112975529B (zh) * | 2021-03-22 | 2021-09-14 | 玉环仪表机床制造厂 | 一种双主轴加工机床及其控制方法 |
| CN113460654A (zh) * | 2021-07-15 | 2021-10-01 | 浙江日发精密机床有限公司 | 一种套圈用送料装置 |
| CN114035495A (zh) * | 2021-10-18 | 2022-02-11 | 奔腾激光(温州)有限公司 | 一种plc控制系统及其操作方法和其操作的装置 |
Citations (3)
| Publication number | Priority date | Publication date | Assignee | Title |
|---|---|---|---|---|
| CN201036813Y (zh) * | 2007-03-21 | 2008-03-19 | 丁冲丰 | 一种用于加工轴承套圈的自动车床 |
| CN201186356Y (zh) * | 2008-03-12 | 2009-01-28 | 石传明 | 自动上料装置 |
| CN201537699U (zh) * | 2009-09-25 | 2010-08-04 | 浙江陀曼精密机械有限公司 | 一种全自动车床 |
Family Cites Families (1)
| Publication number | Priority date | Publication date | Assignee | Title |
|---|---|---|---|---|
| JPH07195204A (ja) * | 1993-12-28 | 1995-08-01 | Citizen Watch Co Ltd | 複数主軸を有する旋盤用棒材供給装置 |
-
2011
- 2011-05-10 CN CN 201110119423 patent/CN102205425B/zh not_active Expired - Fee Related
Patent Citations (3)
| Publication number | Priority date | Publication date | Assignee | Title |
|---|---|---|---|---|
| CN201036813Y (zh) * | 2007-03-21 | 2008-03-19 | 丁冲丰 | 一种用于加工轴承套圈的自动车床 |
| CN201186356Y (zh) * | 2008-03-12 | 2009-01-28 | 石传明 | 自动上料装置 |
| CN201537699U (zh) * | 2009-09-25 | 2010-08-04 | 浙江陀曼精密机械有限公司 | 一种全自动车床 |
Non-Patent Citations (1)
| Title |
|---|
| JP特开平7-195204A 1995.08.01 |
Also Published As
| Publication number | Publication date |
|---|---|
| CN102205425A (zh) | 2011-10-05 |
Similar Documents
| Publication | Publication Date | Title |
|---|---|---|
| CN102205425B (zh) | 轴承外圈自动加工机 | |
| US3720992A (en) | Automatic pipe handling system | |
| CN105252330A (zh) | 一种机床的分料推料机构 | |
| CN106395314A (zh) | 一种轴承内圈自动上料装置 | |
| CN105312955A (zh) | 一种机械手夹送料和顶料装置 | |
| CN114055070B (zh) | 一种工程脚手架立杆全自动焊接专机 | |
| CN204308071U (zh) | 机械式自动液压油缸钢筒扩径机 | |
| CN111822978B (zh) | 毛细管装配机 | |
| CN207577551U (zh) | 一种轴管上料机的推进装置 | |
| CN208531665U (zh) | 一种带定位分张功能的自动上料机 | |
| CN219648704U (zh) | 一种自动化车床 | |
| CN106112130A (zh) | 一种全自动电磁阀阀体内孔去毛刺机 | |
| CN109433928A (zh) | 一种铝天花扣板自动生产线 | |
| CN111790951A (zh) | 闭门器活塞铣齿自定心加工设备及其加工工艺 | |
| CN204248543U (zh) | 一种机械手夹送料和顶料装置 | |
| CN209379926U (zh) | 一种自动送料的转塔式机床 | |
| CN105583478B (zh) | 攻丝机 | |
| CN114101778B (zh) | 一种盘扣脚手架立杆自动生产线 | |
| CN112024908A (zh) | 一种金属零件锥面加工设备 | |
| CN207580829U (zh) | 一种轴管上料机 | |
| CN213894234U (zh) | 一种自动排序上料机 | |
| CN116618689B (zh) | 一种钻杆自动化生产线及方法 | |
| CN113579825A (zh) | 一种机械式自动送料装置及其送料方法 | |
| CN209379930U (zh) | 一种自动送料的排刀式机床 | |
| CN216729577U (zh) | 一种圆棒料自动车削加工设备 |
Legal Events
| Date | Code | Title | Description |
|---|---|---|---|
| C06 | Publication | ||
| PB01 | Publication | ||
| C10 | Entry into substantive examination | ||
| SE01 | Entry into force of request for substantive examination | ||
| C14 | Grant of patent or utility model | ||
| GR01 | Patent grant | ||
| CF01 | Termination of patent right due to non-payment of annual fee | ||
| CF01 | Termination of patent right due to non-payment of annual fee |
Granted publication date: 20130313 Termination date: 20180510 |