CN102182136B - Road Section Measuring Instrument - Google Patents
Road Section Measuring Instrument Download PDFInfo
- Publication number
- CN102182136B CN102182136B CN 201110041134 CN201110041134A CN102182136B CN 102182136 B CN102182136 B CN 102182136B CN 201110041134 CN201110041134 CN 201110041134 CN 201110041134 A CN201110041134 A CN 201110041134A CN 102182136 B CN102182136 B CN 102182136B
- Authority
- CN
- China
- Prior art keywords
- guide rail
- displacement sensor
- road section
- measuring instrument
- section measuring
- Prior art date
- Legal status (The legal status is an assumption and is not a legal conclusion. Google has not performed a legal analysis and makes no representation as to the accuracy of the status listed.)
- Expired - Fee Related
Links
- 238000006073 displacement reaction Methods 0.000 claims abstract description 36
- 230000005540 biological transmission Effects 0.000 claims abstract description 3
- 230000033001 locomotion Effects 0.000 claims description 11
- 229910000831 Steel Inorganic materials 0.000 claims description 4
- 239000010959 steel Substances 0.000 claims description 4
- 238000005259 measurement Methods 0.000 abstract description 23
- 238000004441 surface measurement Methods 0.000 abstract description 2
- 238000000034 method Methods 0.000 description 7
- 230000009286 beneficial effect Effects 0.000 description 3
- 230000001133 acceleration Effects 0.000 description 2
- 238000004458 analytical method Methods 0.000 description 2
- 230000000694 effects Effects 0.000 description 2
- 238000011326 mechanical measurement Methods 0.000 description 2
- 239000000523 sample Substances 0.000 description 2
- 238000004804 winding Methods 0.000 description 2
- 230000007812 deficiency Effects 0.000 description 1
- 238000010586 diagram Methods 0.000 description 1
- 230000010354 integration Effects 0.000 description 1
- 239000000463 material Substances 0.000 description 1
- 238000000691 measurement method Methods 0.000 description 1
Images
Landscapes
- Length Measuring Devices With Unspecified Measuring Means (AREA)
Abstract
本发明涉及一种道路断面测量仪,属于路面测量领域;一种道路断面测量仪,包含一导轨;一支承所述导轨的导轨支架;一安装在所述导轨上并沿其作直线往复运动的驱动装置;所述驱动装置包括动力设备,传动机构,支架,行走轮;安装在所述支架上的位移传感器:包括横向位移传感器、纵向位移传感器;安装在导轨上并使驱动装置改变运动方向的转向开关,导轨两端设有转向开关挡板;其特征在于:所述的位移传感器是非接触式位移传感器;本发明测量的精度高,并且结构简单,输出数字信号利于再次利用,测量条件要求不高,仪器轻便容易移动。
The invention relates to a road section measuring instrument, belonging to the field of road surface measurement; a road section measuring instrument, comprising a guide rail; a guide rail bracket supporting the guide rail; Driving device; the driving device includes power equipment, a transmission mechanism, a bracket, and a walking wheel; a displacement sensor installed on the bracket includes a lateral displacement sensor and a longitudinal displacement sensor; Steering switch, the two ends of the guide rail are provided with a steering switch baffle; it is characterized in that: the displacement sensor is a non-contact displacement sensor; the invention has high measurement accuracy, simple structure, and the output digital signal is conducive to reuse, and the measurement conditions are not required. High, the instrument is light and easy to move.
Description
技术领域 technical field
本发明涉及一种道路断面测量仪,属于路面测量领域。The invention relates to a road section measuring instrument, which belongs to the field of road surface measurement.
背景技术 Background technique
道路断面测量仪是用于测量路面或者建筑物断面几何形状的仪器。目前公知的道路断面测量仪采用的是机械测量的方法,仪器包含有木质双排导轨,导轨上装有链条,导轨与支架通过链条连接,支架上有驱动装置,支架下端有滚轮探头,支架上固定有笔,测量的方法是驱动装置带动支架在木质双排导轨的链条上移动,带动连接在支架上的滚轮在断面上滑动,让连接在支架上的笔画出探头运动的平行轨迹,然后对轨迹进行分析,笔绘出断面几何图形。这种仪器的缺点在于:The road section measuring instrument is an instrument used to measure the geometric shape of the road surface or building section. At present, the known road section measuring instrument adopts the method of mechanical measurement. The instrument includes wooden double-row guide rails. Chains are installed on the guide rails. The guide rails and the brackets are connected by chains. With a pen, the measurement method is that the driving device drives the bracket to move on the chain of the wooden double-row guide rail, and drives the roller connected to the bracket to slide on the section, so that the pen connected to the bracket can draw the parallel trajectory of the probe movement, and then adjust the trajectory Carry out analysis and draw the cross-sectional geometry with the pen. The disadvantages of this instrument are:
1.机械测量存在很多不精确的原因,由于是用的滚轮,有很多路面有可能出现比滚轮直径更小的坑而导致不能准确测量;由于是接触测量,对断面的材质也有要求,不能适应所有断面情况。1. There are many inaccurate reasons for mechanical measurement. Because the roller is used, there may be pits on the road surface that are smaller than the diameter of the roller, resulting in inaccurate measurement; because it is a contact measurement, there are also requirements for the material of the section, which cannot be adapted All cross-sections.
2.机械制图可能存在不精确的地方,精度不高。2. There may be inaccuracies in the mechanical drawing, and the precision is not high.
3.测量的条件要求也比较高,对纸和笔的要求也比较高。3. The requirements for measurement conditions are relatively high, and the requirements for paper and pens are also relatively high.
4.测量过程的时间也比较长,需要经过测量,分析,绘图等几个过程。4. The measurement process takes a long time, and it needs to go through several processes such as measurement, analysis, and drawing.
5.由于木质导轨和链条以及笔、纸、探头等物的装配以及运输不轻便,导致仪器移动不方便。5. Due to the inconvenient assembly and transportation of wooden guide rails and chains, pens, paper, probes, etc., the movement of the instrument is inconvenient.
发明内容 Contents of the invention
为了克服现有技术的不足,本发明提供一种测量精度高、信号容易处理、测量条件要求低、测量时间短、移动方便的道路断面测量仪。In order to overcome the deficiencies of the prior art, the present invention provides a road section measuring instrument with high measurement accuracy, easy signal processing, low measurement condition requirements, short measurement time and convenient movement.
本发明提供的技术方案是:一种道路断面测量仪,包含一导轨;一支承所述导轨的导轨支架;一安装在所述导轨上并沿其作直线往复运动的驱动装置;所述驱动装置包括动力设备,传动机构,支架,行走轮;安装在所述支架上的位移传感器:包括横向位移传感器、纵向位移传感器;安装在导轨上并使驱动装置改变运动方向的转向开关,导轨两端设有转向开关挡板;其特征在于:所述的位移传感器是非接触式位移传感器;The technical solution provided by the present invention is: a road section measuring instrument, comprising a guide rail; a guide rail bracket supporting the guide rail; a drive device installed on the guide rail and reciprocating linearly along it; the drive device It includes power equipment, a transmission mechanism, a bracket, and a walking wheel; a displacement sensor installed on the bracket: including a lateral displacement sensor and a longitudinal displacement sensor; a steering switch installed on the guide rail to make the driving device change the direction of motion. There is a steering switch baffle; it is characterized in that: the displacement sensor is a non-contact displacement sensor;
本发明的有益效果是:经过横向位移传感器和纵向位移传感器传输给接线端子板后输出给PC端的信号为数字信号,更容易处理,采取非接触式测量位移会更精确,测量步骤简短,测量简单。The beneficial effects of the present invention are: the signal output to the PC terminal after being transmitted to the terminal board by the lateral displacement sensor and the longitudinal displacement sensor is a digital signal, which is easier to process, and the non-contact measurement displacement will be more accurate, the measurement steps are short, and the measurement is simple .
进一步,考虑到测量精度的问题,所述的纵向位移传感器为激光位移传感器。Further, considering the problem of measurement accuracy, the longitudinal displacement sensor is a laser displacement sensor.
使用激光位移传感器的有益效果是:激光测量的精度在0.00005m,远高于国家规定的断面测量精度要求0.005-0.001m,且激光测量为非接触测量,抗干扰能力强,适应面更广。The beneficial effect of using the laser displacement sensor is: the accuracy of laser measurement is 0.00005m, which is much higher than the 0.005-0.001m required by the national section measurement accuracy, and the laser measurement is non-contact measurement, with strong anti-interference ability and wider adaptability.
进一步,考虑到价格成本、测量精度等问题,所述的横向位移传感器为旋转编码器。Further, considering issues such as cost and measurement accuracy, the lateral displacement sensor is a rotary encoder.
进一步,考虑到导轨的选择问题,为了更为轻便、水平、摩擦力均匀等问题,所述的导轨为型钢。Further, considering the selection of the guide rail, the guide rail is made of section steel for the sake of lighter weight, level, and uniform friction force.
使用型钢的有益效果是:型钢的力学性能好,装配和运输都更加简单,达到了移动方便的效果。The beneficial effect of using the section steel is that the section steel has good mechanical properties, and the assembly and transportation are simpler, achieving the effect of convenient movement.
附图说明 Description of drawings
图1是本发明的结构示意图。Fig. 1 is a structural schematic diagram of the present invention.
具体实施方式 Detailed ways
下面结合附图和实施例对本发明进一步说明。The present invention will be further described below in conjunction with the accompanying drawings and embodiments.
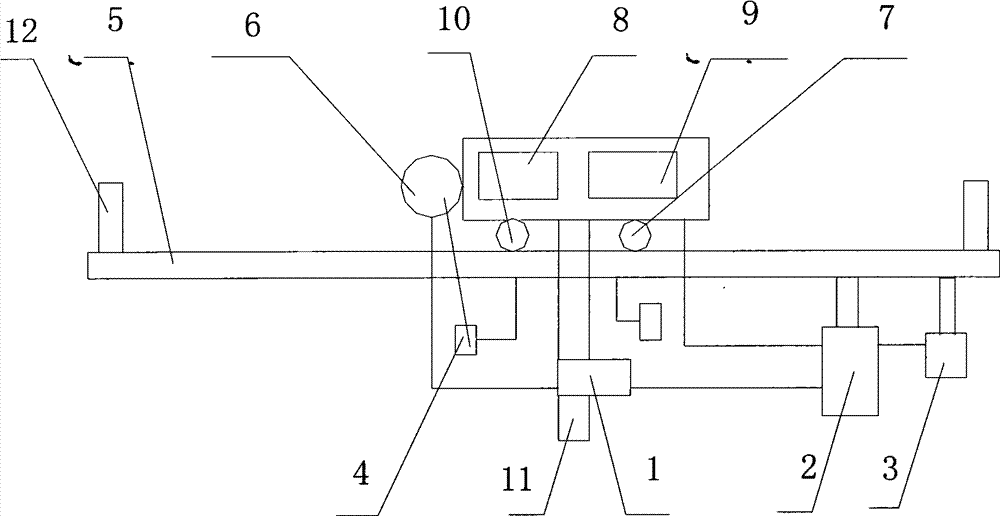
在图1中,本实施例设有激光位移传感器1,激光位移传感器1固定在支架11底端,导轨5与步进电机驱动器8和步进电机9通过驱动轮7和从动轮10连接,激光位移传感器1、旋转编码器6、步进电机驱动器8、步进电机9分别与接线端子板2相连接,接线端子板2与电源3相连接,导轨5两端设有转向开关挡板块12。In Fig. 1, the present embodiment is provided with
本发明在使用时,由激光位移传感器1、支架11、步进电机驱动器8、步进电机绕组9、旋转编码器6、驱动轮7、从动轮10、转向开关4组成的可滑动整体作往复运动,每次单程行程完毕后,触动转向开关4,转向开关4触发旋转编码器6,旋转编码器6传入脉冲信号进入步进电机驱动器8,步进电机驱动器8控制步进电机绕组9带动驱动轮7让可滑动整体再次做往复运动,由于运动中激光位移传感器1匀速扫描断面,由旋转编码器6确定激光纵向位移传感器扫描内容的横坐标,激光位移传感器1的扫描内容确定纵坐标,信号通过接线端子板2接入PC端。When the present invention is in use, the slidable whole composed of
采用这种方法,测量的精度高,并且测量精度高、信号容易处理、测量条件要求低、方便移动、测量时间短的断面测量仪。Using this method, the measurement accuracy is high, and the cross-section measuring instrument has high measurement accuracy, easy signal processing, low measurement condition requirements, convenient movement, and short measurement time.
以上所述的仅是本发明的优选实施方式,应当指出,对于本领域的技术人员来说,在不脱离本发明结构的前提下,还可以作出若干变形和改进,比如:The above is only the preferred embodiment of the present invention, it should be pointed out that for those skilled in the art, without departing from the structure of the present invention, some deformations and improvements can also be made, such as:
1.把从动轮磨花来增加摩擦力来保持水平往复运动的精度;1. Grind the driven wheel to increase friction to maintain the accuracy of horizontal reciprocating motion;
2.变换激光位移传感器为声波位移传感器;2. Transform the laser displacement sensor into an acoustic displacement sensor;
3.变换旋转编码器为加速度位移传感器,通过加速度的2次积分得到位移的方法来确定横坐标;3. Transform the rotary encoder into an acceleration displacement sensor, and determine the abscissa by the method of obtaining the displacement by 2 times of integration of the acceleration;
4.变换旋转编码器为横向激光位移传感器,直接测量位移来确定横坐标。4. Transform the rotary encoder into a lateral laser displacement sensor, and directly measure the displacement to determine the abscissa.
这些也应该视为本发明的保护范围,这些都不会影响本发明实施的效果和专利的实用性。These should also be regarded as the protection scope of the present invention, and these will not affect the effect of the present invention and the practicability of the patent.
Claims (4)
Priority Applications (1)
| Application Number | Priority Date | Filing Date | Title |
|---|---|---|---|
| CN 201110041134 CN102182136B (en) | 2011-02-18 | 2011-02-18 | Road Section Measuring Instrument |
Applications Claiming Priority (1)
| Application Number | Priority Date | Filing Date | Title |
|---|---|---|---|
| CN 201110041134 CN102182136B (en) | 2011-02-18 | 2011-02-18 | Road Section Measuring Instrument |
Publications (2)
| Publication Number | Publication Date |
|---|---|
| CN102182136A CN102182136A (en) | 2011-09-14 |
| CN102182136B true CN102182136B (en) | 2013-04-10 |
Family
ID=44568415
Family Applications (1)
| Application Number | Title | Priority Date | Filing Date |
|---|---|---|---|
| CN 201110041134 Expired - Fee Related CN102182136B (en) | 2011-02-18 | 2011-02-18 | Road Section Measuring Instrument |
Country Status (1)
| Country | Link |
|---|---|
| CN (1) | CN102182136B (en) |
Families Citing this family (3)
| Publication number | Priority date | Publication date | Assignee | Title |
|---|---|---|---|---|
| CN105092021A (en) * | 2015-04-30 | 2015-11-25 | 浙江海洋学院 | Device and method for testing marine-shafting torsion vibration |
| CN105887632A (en) * | 2016-04-06 | 2016-08-24 | 长安大学 | Leveling method and device of hanging type paver |
| CN108071001B (en) * | 2016-11-11 | 2020-04-14 | 张传业 | Trousers turn-over machine |
Citations (8)
| Publication number | Priority date | Publication date | Assignee | Title |
|---|---|---|---|---|
| JPH04202904A (en) | 1990-11-30 | 1992-07-23 | Suehiro Sangyo Kk | Girder device for precise pavement and paving machine for precise pavement |
| GB2253700A (en) * | 1991-03-12 | 1992-09-16 | British Gas Plc | Apparatus to measure the profile of a surface |
| CN1140219A (en) * | 1995-07-10 | 1997-01-15 | 赵济海 | Light push-type instrument for surveying longitudinal road section |
| JPH1172326A (en) | 1997-07-03 | 1999-03-16 | Art Electron Kk | Measuring apparatus for shape of road surface |
| CN1384245A (en) * | 2001-04-29 | 2002-12-11 | 陆键 | Automatic surface section instrument for detecting road surface flatness and its detection method |
| JP2007113347A (en) * | 2005-10-24 | 2007-05-10 | Disco Abrasive Syst Ltd | Road surface cutting device |
| CN101319485A (en) * | 2008-07-16 | 2008-12-10 | 张小虎 | Photographing measurement method for detecting highroad pavement planeness |
| KR20100059308A (en) * | 2008-11-26 | 2010-06-04 | 한국철도기술연구원 | Sensing device for ruggedness of the road surface |
-
2011
- 2011-02-18 CN CN 201110041134 patent/CN102182136B/en not_active Expired - Fee Related
Patent Citations (8)
| Publication number | Priority date | Publication date | Assignee | Title |
|---|---|---|---|---|
| JPH04202904A (en) | 1990-11-30 | 1992-07-23 | Suehiro Sangyo Kk | Girder device for precise pavement and paving machine for precise pavement |
| GB2253700A (en) * | 1991-03-12 | 1992-09-16 | British Gas Plc | Apparatus to measure the profile of a surface |
| CN1140219A (en) * | 1995-07-10 | 1997-01-15 | 赵济海 | Light push-type instrument for surveying longitudinal road section |
| JPH1172326A (en) | 1997-07-03 | 1999-03-16 | Art Electron Kk | Measuring apparatus for shape of road surface |
| CN1384245A (en) * | 2001-04-29 | 2002-12-11 | 陆键 | Automatic surface section instrument for detecting road surface flatness and its detection method |
| JP2007113347A (en) * | 2005-10-24 | 2007-05-10 | Disco Abrasive Syst Ltd | Road surface cutting device |
| CN101319485A (en) * | 2008-07-16 | 2008-12-10 | 张小虎 | Photographing measurement method for detecting highroad pavement planeness |
| KR20100059308A (en) * | 2008-11-26 | 2010-06-04 | 한국철도기술연구원 | Sensing device for ruggedness of the road surface |
Non-Patent Citations (14)
| Title |
|---|
| 张开斌 * |
| 张开斌.道路谱测量检测技术研究综述.《电子测量与仪器学报》.2010,第24卷(第1期), * |
| 徐占 * |
| 李孟良 * |
| 杨殿阁 * |
| 杨波 * |
| 段虎明 * |
| 汪斌.路面不平度测量技术研究综述.《中外公路》.2009,第29卷(第5期), * |
| 石峰 * |
| 石锋 * |
| 谢飞 * |
| 谢飞.路面不平度的测量.《武汉理工大学学报(信息与管理工程版)》.2010,第32卷(第3期), * |
| 赵志松.使用激光传感器测量道路的表面形状.《中外公路》.1985,(第2期), * |
| 过学迅 * |
Also Published As
| Publication number | Publication date |
|---|---|
| CN102182136A (en) | 2011-09-14 |
Similar Documents
| Publication | Publication Date | Title |
|---|---|---|
| CN201161592Y (en) | Rail smooth degree detecting vehicle | |
| CN102620689B (en) | Steel rail corrugation laser measuring device | |
| CN201397107Y (en) | Measuring tool for detecting vibration damper connecting rod | |
| CN104535039B (en) | Crane beam track eccentricity measurement device and method | |
| CN102182136B (en) | Road Section Measuring Instrument | |
| CN100516875C (en) | A device for testing the deformation of cement-based materials under multiple environmental conditions | |
| CN217504991U (en) | Highway bituminous pavement paving temperature measurement mechanism | |
| CN202083673U (en) | Automatic ultrasonic flaw-detecting and thickness-measuring equipment of seamless steel tube | |
| CN205711655U (en) | A kind of asphalt-spreader paving thickness real-time detection apparatus | |
| CN202321843U (en) | Guide rail detection device and elevator device with same | |
| CN202522197U (en) | Wheel profile laser measuring device | |
| CN102353348B (en) | Detection and automatic straightening method of electrified railway construction contact line hard spot | |
| CN104237118A (en) | Novel micro-control dynamic friction coefficient tester | |
| CN102645182A (en) | Surface profile scanning type workpiece precut part weighing device | |
| CN103537422A (en) | Mechanical pulse vibration exciter | |
| CN202073014U (en) | Road section measuring instrument | |
| CN206469868U (en) | A kind of cage guide top surface distance meter | |
| CN204188506U (en) | A kind of novel micro-control kinetic friction coefficient tester | |
| CN202133382U (en) | Device for hard spot detection and automatic alignment for contact line in electrified railway construction | |
| CN203287179U (en) | Probe positioning apparatus for flow field determination | |
| CN215714310U (en) | Track scale for track traffic | |
| CN206891406U (en) | A kind of highly automated measurement structure of automotive frame | |
| CN201607210U (en) | Cam measuring instrument | |
| CN204479514U (en) | One is used for comparatively tubule material failure detector | |
| CN210570589U (en) | Measuring instrument for detecting inner and outer diameters of steel pipe |
Legal Events
| Date | Code | Title | Description |
|---|---|---|---|
| C06 | Publication | ||
| PB01 | Publication | ||
| C10 | Entry into substantive examination | ||
| SE01 | Entry into force of request for substantive examination | ||
| C14 | Grant of patent or utility model | ||
| GR01 | Patent grant | ||
| CF01 | Termination of patent right due to non-payment of annual fee |
Granted publication date: 20130410 Termination date: 20190218 |
|
| CF01 | Termination of patent right due to non-payment of annual fee |
