CN102173076A - Compound drive mechanical servo press - Google Patents
Compound drive mechanical servo press Download PDFInfo
- Publication number
- CN102173076A CN102173076A CN2010106022646A CN201010602264A CN102173076A CN 102173076 A CN102173076 A CN 102173076A CN 2010106022646 A CN2010106022646 A CN 2010106022646A CN 201010602264 A CN201010602264 A CN 201010602264A CN 102173076 A CN102173076 A CN 102173076A
- Authority
- CN
- China
- Prior art keywords
- connecting rod
- hammer
- crank
- slider
- power
- Prior art date
- Legal status (The legal status is an assumption and is not a legal conclusion. Google has not performed a legal analysis and makes no representation as to the accuracy of the status listed.)
- Pending
Links
Images
Landscapes
- Press Drives And Press Lines (AREA)
Abstract
本发明涉及一种复合驱动机械式伺服压力机,所述的压力机包括机架、曲柄、连杆、伺服电机、滚珠丝杠、在滑轨内的滑块、三副构件、冲锤连杆和冲锤,曲柄与机架通过转动副相连接;曲柄与大功率定转速电机相连接;所述的伺服电机与滑块之间通过滚珠丝杠相连接;三副构件的三个节点分别与连杆、冲锤连杆、在滑轨内的滑块连接,连杆与曲柄通过转动副相连接,冲锤连杆的末端通过转动副与冲锤相连接,冲锤处于固定导轨之内。利用大功率定速普通电机和小功率伺服电机的配合,可以精确的控制冲锤的冲压速度以及冲压位置,解决大功率机械式伺服压力机制造成本过高的难题,而且三副构件的加入,也能够使冲锤的压力工作曲线更为多样化,满足各种冲压作业的要求。
The invention relates to a composite drive mechanical servo press, which includes a frame, a crank, a connecting rod, a servo motor, a ball screw, a slider in a slide rail, three auxiliary components, and a hammer connecting rod and the impact hammer, the crank is connected with the frame through the revolving pair; the crank is connected with the high-power fixed-speed motor; the servo motor and the slider are connected by ball screws; The connecting rod, the hammer connecting rod, and the slider in the slide rail are connected, the connecting rod and the crank are connected through a rotary pair, the end of the hammer connecting rod is connected with the punch through a rotary pair, and the punch is in the fixed guide rail. Using the combination of a high-power fixed-speed ordinary motor and a low-power servo motor, the punching speed and punching position of the hammer can be precisely controlled to solve the problem of high manufacturing costs of high-power mechanical servo presses, and the addition of three components, It can also make the pressure working curve of the ram more diversified to meet the requirements of various stamping operations.
Description
技术领域technical field
本发明涉及无切削的金属成型加工设备,具体地说,涉及一种伺服压力机。The invention relates to non-cutting metal forming processing equipment, in particular to a servo press.
背景技术Background technique
在金属成型加工领域,液压式压力机和机械式压力机是两种主要的加工设备。液压式压力机生产效率低、液压系统维护困难且成本高。传统的机械式压力机缺少“柔性”,不能得到用户根据不同加工工艺需要的压力工作曲线,很难满足现代市场产品多样化、变化快、批量小的要求。近年来,出现了伺服电机直接驱动的机械式压力机,如日本网野公司连杆压力机、日本小松HF系列压力机、美国俄亥俄州大学双肘杆压力机、齐齐哈尔第二机床集团压力机,这种压力机结构形式与普通机械压力机基本相同,仅将普通电机换成伺服电机,通过调节伺服电机的输入可以改善滑块的速度特性和动力学性能,这种压力机由于不使用飞轮,冲压时能量全部由伺服电机提供,若需要大吨位压力机时,则需要使用大功率的伺服电机,但大功率伺服电机价格非常昂贵,因此这种压力机的制造成本非常高。In the field of metal forming processing, hydraulic presses and mechanical presses are the two main types of processing equipment. Hydraulic presses have low production efficiency, difficult and costly hydraulic system maintenance. The traditional mechanical press lacks "flexibility", and cannot obtain the pressure working curve required by the user according to different processing techniques, and it is difficult to meet the requirements of modern market product diversification, rapid change, and small batch. In recent years, there have been mechanical presses directly driven by servo motors, such as connecting rod presses from Amino Corporation in Japan, Komatsu HF series presses in Japan, double toggle presses from Ohio State University in the United States, and presses from Qiqihar Second Machine Tool Group. The structure of this kind of press is basically the same as that of ordinary mechanical presses. Only the ordinary motor is replaced by a servo motor. By adjusting the input of the servo motor, the speed characteristics and dynamic performance of the slider can be improved. Since this press does not use a flywheel, The energy is all provided by the servo motor during stamping. If a large-tonnage press is required, a high-power servo motor is required, but the high-power servo motor is very expensive, so the manufacturing cost of this press is very high.
发明内容Contents of the invention
本发明的目的在于针对现有金属成型用压力机存在的生产效率低、维护困难、成本高、且“柔性”差等上述不足,本发明提供一种复合驱动机械式伺服压力机,该压力机由大功率定转速电机和小功率伺服电机共同带动,大功率定速电机提供冲压作功,小功率伺服电机实现冲锤位置和速度的调整,该压力机可按照不同的压力加工工艺,提供复杂的运动输出规律,满足各种冲压作业的要求。The purpose of the present invention is to solve the above-mentioned deficiencies such as low production efficiency, difficult maintenance, high cost, and poor "flexibility" existing in existing metal forming presses. The present invention provides a composite drive mechanical servo press. Driven by a high-power constant-speed motor and a low-power servo motor, the high-power constant-speed motor provides punching work, and the low-power servo motor realizes the adjustment of the hammer position and speed. The regularity of motion output can meet the requirements of various stamping operations.
本发明的技术方案为:一种复合驱动机械式伺服压力机,所述的压力机包括机架、曲柄、连杆、伺服电机、滚珠丝杠、在滑轨内的滑块、三副构件、冲锤连杆和冲锤,曲柄与机架通过转动副相连接;曲柄与大功率定转速电机相连接,并由该大功率定转速电机带动曲柄旋转;小功率伺服电机与滑块之间通过滚珠丝杠相连接,伺服电机的转动带动滚珠丝杠转动,进而使固连在滚珠丝杠螺母上的滑块移动;三副构件的三个节点分别与连杆、冲锤连杆、在滑轨内的滑块连接,连杆与曲柄通过转动副相连接,冲锤连杆的末端通过转动副与冲锤相连接,冲锤处于固定导轨之内。The technical solution of the present invention is: a composite drive mechanical servo press, the press includes a frame, a crank, a connecting rod, a servo motor, a ball screw, a slider in a slide rail, three auxiliary components, The connecting rod of the hammer and the hammer, the crank and the frame are connected through a rotating pair; the crank is connected with a high-power fixed-speed motor, and the high-power fixed-speed motor drives the crank to rotate; the small-power servo motor and the slider pass through The ball screw is connected, the rotation of the servo motor drives the ball screw to rotate, and then the slider fixed on the ball screw nut moves; the three nodes of the three secondary components are connected with the connecting rod, the hammer connecting rod, and the The slider in the rail is connected, the connecting rod is connected with the crank through the rotary pair, the end of the hammer connecting rod is connected with the hammer through the rotary pair, and the punch is in the fixed guide rail.
本发明的有益效果为:本发明利用大功率定速普通电机和小功率伺服电机,可以精确的控制冲锤的冲压速度以及冲压位置,解决大功率机械式伺服压力机制造成本过高的难题,而且三副构件的加入,能使冲锤的压力工作曲线更为多样化,完成冲裁、落料、弯曲、成型、拉延和精压等工艺。The beneficial effects of the present invention are: the present invention utilizes a high-power fixed-speed ordinary motor and a low-power servo motor to accurately control the punching speed and punching position of the hammer, and solve the problem of high manufacturing cost of a high-power mechanical servo press. Moreover, the addition of three pairs of components can make the pressure working curve of the hammer more diversified, and complete the processes of blanking, blanking, bending, forming, drawing and fine pressing.
附图说明Description of drawings
图1为本发明具体实施例的结构示意图。Fig. 1 is a schematic structural diagram of a specific embodiment of the present invention.
具体实施方式Detailed ways
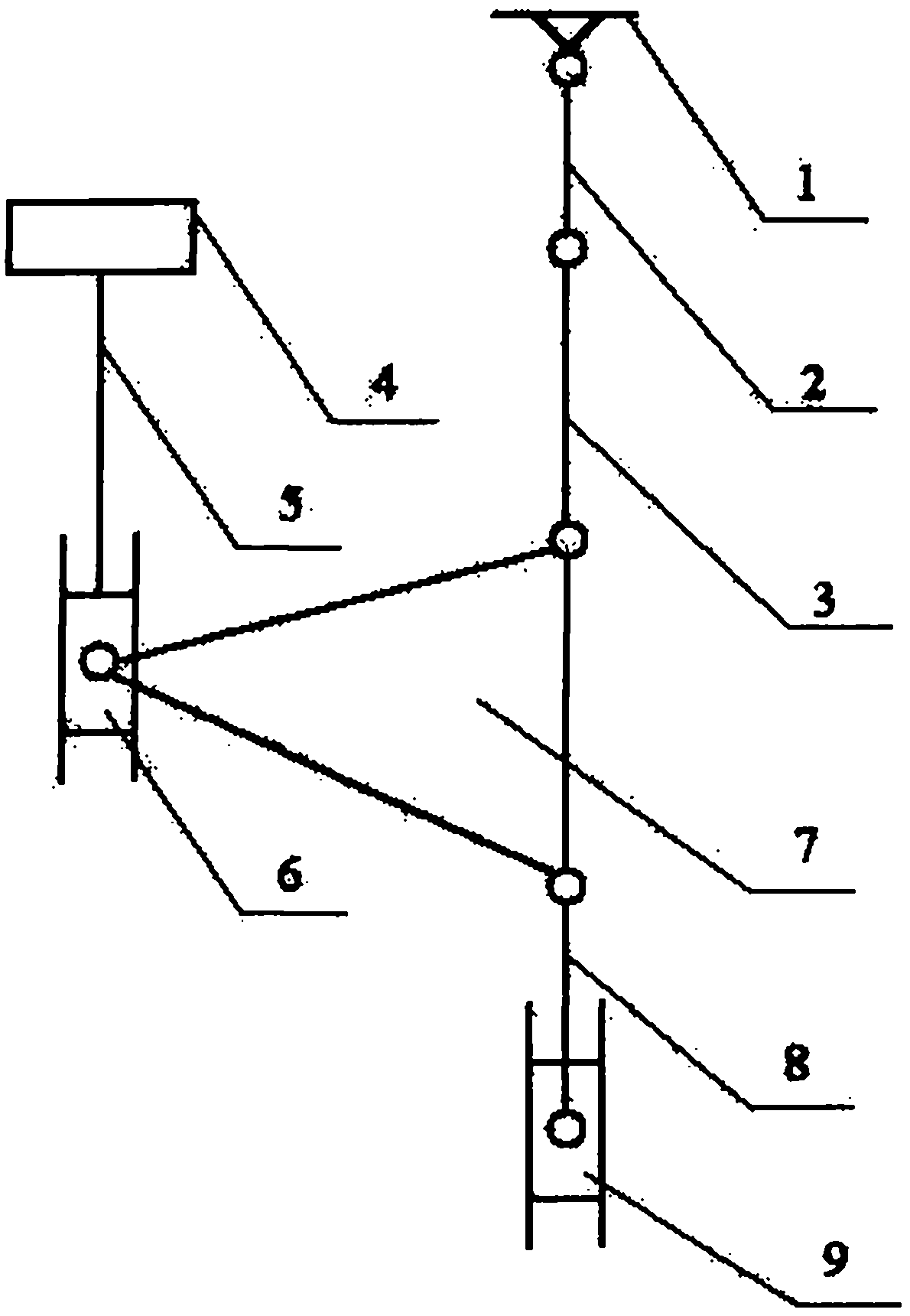
如图1所示的本发明的具体实施例,一种复合驱动机械式伺服压力机,所述的压力机包括机架1、曲柄2、连杆3、伺服电机4、滚珠丝杠5、在滑轨内的滑块6、三副构件7、冲锤连杆8和冲锤9,曲柄2与机架1通过转动副相连接;曲柄2与大功率定转速电机相连接,并由该大功率定转速电机带动曲柄2旋转;小功率伺服电机4与滑块6之间通过滚珠丝杠5相连接,伺服电机4的转动带动滚珠丝杠5转动,进而使固连在滚珠丝杠5螺母上的滑块6移动;三副构件7的三个节点分别与连杆3、冲锤连杆8、在滑轨内的滑块6连接,连杆3与曲柄2通过转动副相连接,冲锤连杆8的末端通过转动副与冲锤9相连接,冲锤9处于固定导轨之内。The specific embodiment of the present invention as shown in Figure 1, a kind of composite drive mechanical servo press, described press comprises
工作时,曲柄2在大功率定转速电机的带动下做旋转运动,为压力机提供主要动能,利用滚珠丝杠副5将伺服电机4的旋转运动转换为直线运动,从而带动滑块6开始在滑轨内运动,实现冲锤9位置和速度的调整,在曲柄2和滑块6共同运动作用下,连杆3和三副构件7按照较为复杂的轨迹开始运动,在此过程中,冲锤9在冲锤连杆8的作用下也开始运动,由于受到导轨的水平方向限位,而且冲锤连杆8与冲锤9又是相互铰接,因此冲锤9只能在导轨内上下冲压。When working, the
Claims (1)
Priority Applications (1)
| Application Number | Priority Date | Filing Date | Title |
|---|---|---|---|
| CN2010106022646A CN102173076A (en) | 2010-12-14 | 2010-12-14 | Compound drive mechanical servo press |
Applications Claiming Priority (1)
| Application Number | Priority Date | Filing Date | Title |
|---|---|---|---|
| CN2010106022646A CN102173076A (en) | 2010-12-14 | 2010-12-14 | Compound drive mechanical servo press |
Publications (1)
| Publication Number | Publication Date |
|---|---|
| CN102173076A true CN102173076A (en) | 2011-09-07 |
Family
ID=44516417
Family Applications (1)
| Application Number | Title | Priority Date | Filing Date |
|---|---|---|---|
| CN2010106022646A Pending CN102173076A (en) | 2010-12-14 | 2010-12-14 | Compound drive mechanical servo press |
Country Status (1)
| Country | Link |
|---|---|
| CN (1) | CN102173076A (en) |
Cited By (5)
| Publication number | Priority date | Publication date | Assignee | Title |
|---|---|---|---|---|
| CN110280633A (en) * | 2019-07-22 | 2019-09-27 | 南京邮电大学 | High-speed overload full electric servo numerical control bender with multi-operation mode |
| CN110280634A (en) * | 2019-07-22 | 2019-09-27 | 南京邮电大学 | Crank screw rod composite drive machine for press-bending metal sheet with multiple-working mode |
| CN110280632A (en) * | 2019-07-22 | 2019-09-27 | 南京邮电大学 | The mechanical full electric servo numerical control bender of high-speed overload based on composite drive |
| CN113885598A (en) * | 2021-10-12 | 2022-01-04 | 苏州铁马自动化科技有限公司 | Road strength meter control system and control method thereof |
| CN117020139A (en) * | 2023-09-04 | 2023-11-10 | 河北农业大学 | Swing guide rod type continuous casting mold non-sinusoidal vibration device |
Citations (7)
| Publication number | Priority date | Publication date | Assignee | Title |
|---|---|---|---|---|
| DE2428077A1 (en) * | 1974-06-11 | 1976-01-02 | Weingarten Ag Maschf | DEVICE FOR BALANCING THE TILT OF A MACHINE DRIVEN BY A CRANK DRIVE |
| CN1546311A (en) * | 2003-12-10 | 2004-11-17 | 杜如虚 | Mechanical controlled pressing machine with two degrees of freedom |
| DE102006006312A1 (en) * | 2006-02-10 | 2007-08-16 | Pressenservice Scheitza Gmbh | Servo Press |
| CN101474877A (en) * | 2009-01-16 | 2009-07-08 | 山东科技大学 | Mechanical type numerical control press machine |
| CN101788043A (en) * | 2010-02-10 | 2010-07-28 | 华中科技大学 | Toggle lever pressure transmission mechanism |
| CN102019707A (en) * | 2010-12-03 | 2011-04-20 | 广东锻压机床厂有限公司 | Triangular connecting rod-toggle rod transmission mechanism with large force magnification ratio for servo press |
| CN202021830U (en) * | 2010-12-14 | 2011-11-02 | 山东科技大学 | Compound-driving mechanical servo press machine |
-
2010
- 2010-12-14 CN CN2010106022646A patent/CN102173076A/en active Pending
Patent Citations (7)
| Publication number | Priority date | Publication date | Assignee | Title |
|---|---|---|---|---|
| DE2428077A1 (en) * | 1974-06-11 | 1976-01-02 | Weingarten Ag Maschf | DEVICE FOR BALANCING THE TILT OF A MACHINE DRIVEN BY A CRANK DRIVE |
| CN1546311A (en) * | 2003-12-10 | 2004-11-17 | 杜如虚 | Mechanical controlled pressing machine with two degrees of freedom |
| DE102006006312A1 (en) * | 2006-02-10 | 2007-08-16 | Pressenservice Scheitza Gmbh | Servo Press |
| CN101474877A (en) * | 2009-01-16 | 2009-07-08 | 山东科技大学 | Mechanical type numerical control press machine |
| CN101788043A (en) * | 2010-02-10 | 2010-07-28 | 华中科技大学 | Toggle lever pressure transmission mechanism |
| CN102019707A (en) * | 2010-12-03 | 2011-04-20 | 广东锻压机床厂有限公司 | Triangular connecting rod-toggle rod transmission mechanism with large force magnification ratio for servo press |
| CN202021830U (en) * | 2010-12-14 | 2011-11-02 | 山东科技大学 | Compound-driving mechanical servo press machine |
Cited By (7)
| Publication number | Priority date | Publication date | Assignee | Title |
|---|---|---|---|---|
| CN110280633A (en) * | 2019-07-22 | 2019-09-27 | 南京邮电大学 | High-speed overload full electric servo numerical control bender with multi-operation mode |
| CN110280634A (en) * | 2019-07-22 | 2019-09-27 | 南京邮电大学 | Crank screw rod composite drive machine for press-bending metal sheet with multiple-working mode |
| CN110280632A (en) * | 2019-07-22 | 2019-09-27 | 南京邮电大学 | The mechanical full electric servo numerical control bender of high-speed overload based on composite drive |
| CN110280632B (en) * | 2019-07-22 | 2024-03-26 | 南京邮电大学 | High-speed heavy-load mechanical all-electric servo numerical control bending machine based on compound drive |
| CN110280633B (en) * | 2019-07-22 | 2024-09-06 | 南京邮电大学 | High-speed heavy-load full-electric servo numerical control bending machine with multiple working modes |
| CN113885598A (en) * | 2021-10-12 | 2022-01-04 | 苏州铁马自动化科技有限公司 | Road strength meter control system and control method thereof |
| CN117020139A (en) * | 2023-09-04 | 2023-11-10 | 河北农业大学 | Swing guide rod type continuous casting mold non-sinusoidal vibration device |
Similar Documents
| Publication | Publication Date | Title |
|---|---|---|
| CN101396876B (en) | Double-motor mechanical coordination in-phase slider driven eight-bar servo pressure device | |
| CN102172759B (en) | Mechanical multi-link servo press driven by six parallelly-connected motors | |
| CN203438560U (en) | Servo screw press | |
| CN205439299U (en) | Novel press actuating system | |
| CN102173076A (en) | Compound drive mechanical servo press | |
| CN201456435U (en) | Connecting rod force increasing mechanism of servo press machine | |
| CN101474877A (en) | Mechanical type numerical control press machine | |
| CN103991230A (en) | Transmission type double-station punching machine with crank connecting rod structure | |
| CN102555254A (en) | Main transmission mechanism for high-speed press | |
| CN101863132A (en) | A mechanical servo drive main transmission device for CNC turret punch press | |
| CN204172414U (en) | Automatic punching machine | |
| CN106734500A (en) | A kind of servomotor drives the mechanical high speed fine punching machine host of main motion | |
| CN201669902U (en) | Mechanical CNC press | |
| CN102173075A (en) | Mechanical servo press | |
| CN201941173U (en) | Combined drive mechanical servo press with two degrees of freedom | |
| CN203876251U (en) | Double-station numerically controlled punching machine | |
| CN108859205A (en) | A kind of novel multi link heavy duty servo-pressing machine | |
| CN202021831U (en) | Mechanical type servo forcing press | |
| CN103071723B (en) | Main transmission device of mechanical servo numerical-control turret punching machine | |
| CN202062674U (en) | Two-freedom-degree nine-rod mechanical press | |
| CN202021830U (en) | Compound-driving mechanical servo press machine | |
| CN103084526B (en) | Frequency conversion type double disk friction screw press | |
| CN102717525A (en) | Knuckle servo press | |
| CN202088490U (en) | Six-link toggle rod type servo press | |
| CN202318993U (en) | Mechanical press with double toggle rods |
Legal Events
| Date | Code | Title | Description |
|---|---|---|---|
| C06 | Publication | ||
| PB01 | Publication | ||
| C10 | Entry into substantive examination | ||
| SE01 | Entry into force of request for substantive examination | ||
| C02 | Deemed withdrawal of patent application after publication (patent law 2001) | ||
| WD01 | Invention patent application deemed withdrawn after publication |
Application publication date: 20110907 |
