CN102120234B - Transverse movement device of top die of multiple pressure head plate bending machine - Google Patents
Transverse movement device of top die of multiple pressure head plate bending machine Download PDFInfo
- Publication number
- CN102120234B CN102120234B CN 201010583399 CN201010583399A CN102120234B CN 102120234 B CN102120234 B CN 102120234B CN 201010583399 CN201010583399 CN 201010583399 CN 201010583399 A CN201010583399 A CN 201010583399A CN 102120234 B CN102120234 B CN 102120234B
- Authority
- CN
- China
- Prior art keywords
- patrix
- guide rail
- support
- bending machine
- upper mold
- Prior art date
- Legal status (The legal status is an assumption and is not a legal conclusion. Google has not performed a legal analysis and makes no representation as to the accuracy of the status listed.)
- Expired - Fee Related
Links
Images
Landscapes
- Presses And Accessory Devices Thereof (AREA)
- Bending Of Plates, Rods, And Pipes (AREA)
Abstract
一种多压头弯板机的上模横向移动装置,包含有弯板机本体(1)、导轨(23)、上模(6)和使上模(6)移动的驱动装置,弯板机本体(1)设置有包含有立柱(4)、支座(5)和下模(21),在立柱(4)的上端设置有支座(5),导轨(23)设置在支座(5)上,上模(6)设置为通过支架设置在导轨(23)上,上模(6)的支架设置为与导轨(23)滑动联接,上模(6)设置为与下模(21)相对应,驱动装置设置为与上模(6)的支架联接,上模(6)的移动方向设置为与板材的进出料方向垂直,采用了上模(6)的横向移动装置,不仅降低了弯板机的高度与重心,增大了弯板机的稳定性;特别是由于增大了空间,也更加方便了板料的安放与起吊工作,也方便了对上模(6)和下模(21)的维护和保养工作。
A lateral moving device for an upper mold of a multi-press bending machine, comprising a bending machine body (1), a guide rail (23), an upper mold (6) and a driving device for moving the upper mold (6), the bending machine The body (1) is provided with a column (4), a support (5) and a lower mold (21), and a support (5) is provided on the upper end of the column (4), and the guide rail (23) is arranged on the support (5). ), the upper die (6) is set to be arranged on the guide rail (23) through the bracket, the support of the upper die (6) is set to be slidingly connected with the guide rail (23), and the upper die (6) is set to be connected to the lower die (21) Correspondingly, the driving device is set to be connected with the support of the upper mold (6), and the moving direction of the upper mold (6) is set to be perpendicular to the material feeding and discharging direction of the plate, and the lateral moving device of the upper mold (6) is adopted, which not only reduces the The height and center of gravity of the bending machine increase the stability of the bending machine; especially because of the increased space, it is also more convenient to place and lift the sheet metal, and it is also convenient to adjust the upper die (6) and the lower die. (21) Maintenance and maintenance work.
Description
一、技术领域: 1. Technical field:
本发明涉及一种多压头弯板机的上模横向移动装置,主要用于具有三维曲面的板材构件冲压的塑性成形加工的弯板机,尤其是用于船体三维曲面外板构件的弯板机,属于机械工程领域。The invention relates to an upper mold lateral moving device of a multi-press bending machine, which is mainly used for the bending machine for plastic forming processing of plate members with three-dimensional curved surfaces, especially for the bending of outer plate members with three-dimensional curved surfaces machine, belonging to the field of mechanical engineering.
二、背景技术: 2. Background technology:
随着我国经济的迅速发展,造船业也在迅速发展,在造船时,其船体外板构件大都是曲面,三维曲面板材零件的制造,为此需要研究新型的三维曲面的多压头弯板机。现有的弯板机中,一般由三个梁组成:固定液压缸的上梁、安放下模具的下梁,还有安放上模具的中间施加压力的活动梁,为方便板材的进出料和板材的安放与起吊,需要较大的中间活动梁行程,致使弯板压力机存在高度大、重心高的缺点。With the rapid development of my country's economy, the shipbuilding industry is also developing rapidly. During shipbuilding, most of the hull's outer plate members are curved surfaces, and the manufacture of three-dimensional curved plate parts requires research on a new type of three-dimensional curved surface multi-pressure head bending machine. . In the existing bending machine, it is generally composed of three beams: the upper beam for fixing the hydraulic cylinder, the lower beam for placing the lower mold, and the movable beam for applying pressure in the middle of the upper mold. The placement and lifting of the bending machine requires a large intermediate movable beam stroke, resulting in the disadvantages of large height and high center of gravity of the bending machine.
三、发明内容: 3. Contents of the invention:
本发明的目的是为船舶大型尺度外板曲面构件多压头冷弯加工成形设备,提供一种上模横向移动装置,解决了原有弯板机高度大、重心高的技术问题,增大了弯板机的稳定性,也方便了板材进出料的操作及维修。The purpose of the present invention is to provide a lateral moving device for the upper mold for the cold-bending processing and forming equipment of large-scale outer plate curved surface components of ships, which solves the technical problems of the original bending machine with large height and high center of gravity, and increases the The stability of the plate bending machine also facilitates the operation and maintenance of the plate in and out.
本发明的上述目的是这样实现的,其技术方案是:一种多压头弯板机的上模横向移动装置,包含有弯板机本体、导轨、上模和使上模移动的驱动装置,弯板机本体设置有包含有立柱、支座和下模,在立柱的上端设置有支座,导轨设置在支座上,上模设置为通过支架设置在导轨上,上模的支架设置为与导轨滑动联接,上模设置为与下模相对应,驱动装置设置为与上模的支架联接,上模的移动方向设置为与板材的进出料方向垂直。The above-mentioned purpose of the present invention is achieved in this way, and its technical solution is: an upper mold lateral movement device of a multi-press bending machine, including a bending machine body, a guide rail, an upper mold and a driving device for moving the upper mold, The body of the plate bending machine is provided with a column, a support and a lower die. A support is provided at the upper end of the column. The guide rail is arranged on the support. The upper die is set on the guide rail through the bracket. The guide rail is slidingly connected, the upper mold is set to correspond to the lower mold, the driving device is set to be connected to the bracket of the upper mold, and the moving direction of the upper mold is set to be perpendicular to the direction of feeding and discharging of the plate.
当需要板材进料时,启动驱动装置,推动上模向弯板机本体的一侧移动,使下模的上部空间增大,把成形的板料吊出,把板材放到下模上,再启动驱动装置,使上模与下模准确定位,使上模与下模对板材冲压成形,由于设计了导轨,增大了下模的空间,满足了板材的进出料的要求,同时降低了弯板机的重心,增大了弯板机的稳定性,由于设计了导轨,增大了下模的空间,方便了板材的进出料的操作及维修,同时降低了弯板机的重心,增大了弯板机的稳定性。When the sheet material needs to be fed, start the driving device, push the upper die to move to the side of the bending machine body, increase the upper space of the lower die, lift out the formed sheet, put the sheet on the lower die, and then Start the driving device to make the upper mold and the lower mold accurately positioned, so that the upper mold and the lower mold can press and form the plate. Due to the design of the guide rail, the space of the lower mold is increased, which meets the requirements for the material in and out of the plate, and at the same time reduces the bending. The center of gravity of the plate bending machine increases the stability of the plate bending machine. Due to the design of the guide rail, the space of the lower mold is increased, which facilitates the operation and maintenance of the material in and out of the plate, and at the same time reduces the center of gravity of the plate bending machine, increasing the The stability of the bending machine is improved.
本发明设计了,导轨设置为包含有导轨座和滑轨,导轨座的横截面设置为四边形,在与上模的支架接触的导轨座的两边设置有滑轨,滑轨设置为通过螺栓与导轨座联接。The present invention designs that the guide rail is set to include a guide rail seat and a slide rail, the cross section of the guide rail seat is set as a quadrilateral, slide rails are provided on both sides of the guide rail seat in contact with the bracket of the upper die, and the slide rail is arranged to pass through the bolt and the guide rail seat connection.
本发明设计了,驱动装置设置为推拉油缸,推拉油缸的轴线设置为与板材的进出料方向垂直,推拉油缸的一端设置为与导轨铰接、另一端设置为与上模的支架铰接。The present invention designs that the driving device is set as a push-pull oil cylinder, the axis of the push-pull oil cylinder is set to be perpendicular to the feeding and discharging direction of the plate, one end of the push-pull oil cylinder is set to be hinged to the guide rail, and the other end is set to be hinged to the bracket of the upper mold.
本发明设计了,上模设置为包含有压头和压力油缸,压头、压力油缸设置为多个,多个压头设为排列在上模的支架中,多个压头设置为排列成方形,压力油缸的一端设置为与上模的支架铰接,另一端设置为与压头铰接,压力油缸设置为与压力油缸的液压控制器联接。The present invention designs that the upper mold is set to include a pressure head and a pressure oil cylinder, and the pressure head and the pressure oil cylinder are set in multiples, and the multiple pressure heads are arranged in the bracket of the upper mold, and the multiple pressure heads are arranged in a square shape , one end of the pressure oil cylinder is set to be hinged with the bracket of the upper mold, the other end is set to be hinged with the pressure head, and the pressure oil cylinder is set to be connected with the hydraulic controller of the pressure oil cylinder.
本发明设计了,还包含有滚轮,上模的支架设置为通过滚轮与导轨联接。The present invention designs, also includes roller, and the bracket of upper mold is arranged to connect with guide rail through roller.
四、附图说明: 4. Description of drawings:
图1为本发明的结构示意图:Fig. 1 is a structural representation of the present invention:
图2为图1的A-A剖面图:Fig. 2 is the A-A sectional view of Fig. 1:
图3为图2的B-B剖面图。Fig. 3 is a B-B sectional view of Fig. 2 .
五、具体实施方式: 5. Specific implementation methods:
下面结合附图所示实施例,进一步说明本发明的具体内容及工作过程。Below in conjunction with the embodiment shown in the drawings, the specific content and working process of the present invention will be further described.
一种多压头弯板机的上模横向移动装置,用于船体外板构件的多压头弯板机,主要用于造船中的船体外板构件等大型三维板材的成形加工,与一般弯板机不同,主要是本发明的上模具可以沿与板材进料方向垂直的方向进行移动,从而增大板材进出料时的空间,从而解决了使机床重心降低的技术问题。An upper mold lateral movement device of a multi-press bending machine, which is used for a multi-press bending machine of a ship's outer plate member, and is mainly used for the forming and processing of large three-dimensional plates such as ship's outer plate members in shipbuilding. The plate machine is different, mainly because the upper mold of the present invention can move along the direction perpendicular to the sheet material feeding direction, thereby increasing the space when the sheet material is fed in and out, thereby solving the technical problem of lowering the center of gravity of the machine tool.
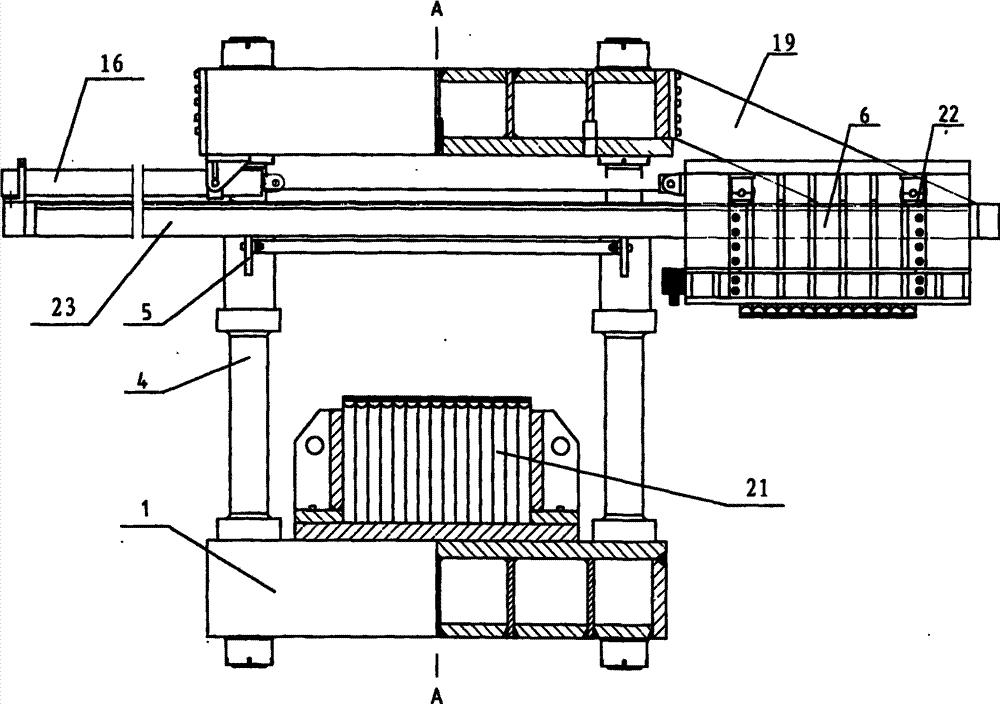
图1是本发明的实施例的结构示意图,本实施例的技术方案是:包含有弯板机本体1、导轨23、上模6、滚轮22、推拉油缸16和加强筋19,弯板机本体1设置有包含有立柱4、支座5和下模21,在立柱4的上端设置有支座5,导轨23设置在支座5上,导轨23设置为通过加强筋19与弯板机本体1的上端联接,上模6设置为通过支架设置在导轨23上,上模6的支架设置为通过滚轮22与导轨23联接,上模6设置为与下模21相对应,推拉油缸16的轴线设置为与板材的进出料方向垂直,推拉油缸16的一端设置为与导轨23铰接、另一端设置为与上模6的支架铰接。Fig. 1 is a structural schematic diagram of an embodiment of the present invention. The technical solution of this embodiment is: a bending machine body 1, a
在本实施例中,导轨23设置为包含有导轨座和单轨,导轨座的横截面设置为四边形,在与上模6的支架接触的导轨座的两边设置有单轨,单轨设置为通过螺栓与导轨座联接。In this embodiment, the
在本实施例中,上模6设置为包含有压头61和压力油缸62,压头61、压力油缸62设置为196个,196个压头61设为排列在上模6的支架中,196个压头61设置为排列成正方形,压力油缸62的一端设置为与上模6的支架铰接,另一端设置为与压头61铰接,压力油缸62设置为与压力油缸62的液压控制器联接。In this embodiment, the upper die 6 is set to include a
当需要板材进料时,启动推拉油缸16的液压控制器,使推拉油缸16伸长,推动上模6向弯板机本体1的一侧移动,使下模21的上部空间增大,把板材放到下模21上,在启动推拉油缸16的液压控制器,使推拉油缸16收缩,当上模6到达与下模21设定的位置时停止。When sheet materials need to be fed, start the hydraulic controller of the push-pull cylinder 16 to extend the push-pull cylinder 16, push the upper die 6 to move to one side of the bending machine body 1, increase the upper space of the lower die 21, and press the sheet material Put it on the lower mold 21, start the hydraulic controller of the push-pull oil cylinder 16 to shrink the push-pull oil cylinder 16, and stop when the upper mold 6 reaches the position set with the lower mold 21.
在本发明中,上模6与下模21的结构已申报了中国专利,其名称为:方形压头可调活络模具板材曲面成形装置。In the present invention, the structure of the upper mold 6 and the lower mold 21 has been applied for a Chinese patent, and its name is: a square pressure head adjustable movable mold plate curved surface forming device.
在进行本发明的方案设计时,我们在进行弯板机试验时,发现在对上模6和下模21特别是上模6进行维护保养时,由于上模6与下模21之间的距离太近,空间小,很不方便,就设计了导轨23,采用了上模6的横移方式,发现可以增大下模21的上部空间时,同时降低了弯板机本体1的重心,增强了弯板机本体1的稳定性,也更加方便了板料的安放与起吊工作。When carrying out the scheme design of the present invention, when we were carrying out the bending machine test, we found that when the upper die 6 and the lower die 21, especially the upper die 6, were maintained, due to the distance between the upper die 6 and the lower die 21 It is too close, the space is small, and it is very inconvenient, so the
本发明的特点:Features of the present invention:
1、由于设计了导轨23,增大下模21的上部空间,方便了板材的进出,降低了弯板机本体1的高度和重心,增强了弯板机本体1的稳定性。1. Due to the design of the
2、由于设计了导轨23,更利于板料的安放与起吊工作,也方便了对上模6和下模21的维护和保养。2. Because the
由此可见,由于本发明的上模能横向移动的多压头弯板机,不仅降低了弯板机的高度与重心,增大了弯板机的稳定性;特别是由于增大了空间,也更加方便了板料的安放与起吊工作,也方便了对上模6和下模21的维护和保养工作。It can be seen that the multi-head plate bending machine with the upper mold capable of lateral movement of the present invention not only reduces the height and center of gravity of the plate bending machine, but also increases the stability of the plate bending machine; especially because of the increased space, It also facilitates the laying and lifting work of the sheet metal, and also facilitates the maintenance and maintenance work of the upper mold 6 and the lower mold 21.
在多压头弯板机的上模横向移动装置的技术领域中,凡是包含有弯板机本体1设置有包含有立柱4、支座5和下模21,在立柱4的上端设置有支座5,导轨23设置在支座5上,上模6设置为通过支架设置在导轨23上,上模6的支架设置为与导轨23滑动联接,上模6设置为与下模21相对应,驱动装置设置为与上模6的支架联接,上模6的移动方向设置为与板材的进出料方向垂直的技术内容都在本发明的保护范围内。In the technical field of the upper die lateral movement device of the multi-press bending machine, any plate bending machine body 1 is provided with a column 4, a
Claims (5)
Priority Applications (1)
| Application Number | Priority Date | Filing Date | Title |
|---|---|---|---|
| CN 201010583399 CN102120234B (en) | 2010-11-29 | 2010-11-29 | Transverse movement device of top die of multiple pressure head plate bending machine |
Applications Claiming Priority (1)
| Application Number | Priority Date | Filing Date | Title |
|---|---|---|---|
| CN 201010583399 CN102120234B (en) | 2010-11-29 | 2010-11-29 | Transverse movement device of top die of multiple pressure head plate bending machine |
Publications (2)
| Publication Number | Publication Date |
|---|---|
| CN102120234A CN102120234A (en) | 2011-07-13 |
| CN102120234B true CN102120234B (en) | 2012-12-26 |
Family
ID=44248952
Family Applications (1)
| Application Number | Title | Priority Date | Filing Date |
|---|---|---|---|
| CN 201010583399 Expired - Fee Related CN102120234B (en) | 2010-11-29 | 2010-11-29 | Transverse movement device of top die of multiple pressure head plate bending machine |
Country Status (1)
| Country | Link |
|---|---|
| CN (1) | CN102120234B (en) |
Families Citing this family (3)
| Publication number | Priority date | Publication date | Assignee | Title |
|---|---|---|---|---|
| CN102974663A (en) * | 2012-12-21 | 2013-03-20 | 楚天科技股份有限公司 | Bending machine, bending method based on bending machine and barrel-shaped bending part |
| CN108163137A (en) * | 2017-12-23 | 2018-06-15 | 宁波高新区若水智创科技有限公司 | A kind of mobile adjustable propeller corrector |
| CN112872075A (en) * | 2021-01-11 | 2021-06-01 | 安徽天彩电缆集团有限公司 | One-die multi-extrusion die |
Citations (4)
| Publication number | Priority date | Publication date | Assignee | Title |
|---|---|---|---|---|
| CN1155455A (en) * | 1995-10-02 | 1997-07-30 | 阿玛达美都丽股份有限公司 | Uppeer tool holder apparatus for press brake |
| JP2003285125A (en) * | 2002-03-26 | 2003-10-07 | Matsushita Electric Works Ltd | Pressing device |
| CN101695730A (en) * | 2009-10-20 | 2010-04-21 | 无锡锡锻机床有限公司 | Rapid translation-type die changing mechanism of multi-site numerical control punch press |
| CN201930999U (en) * | 2010-11-29 | 2011-08-17 | 泰安市硕力液压设备厂 | Top die horizontal movement device of multiple pressure head plate bending machine |
Family Cites Families (1)
| Publication number | Priority date | Publication date | Assignee | Title |
|---|---|---|---|---|
| JPH11198183A (en) * | 1998-01-12 | 1999-07-27 | Nissan Motor Co Ltd | Stack forming method and apparatus |
-
2010
- 2010-11-29 CN CN 201010583399 patent/CN102120234B/en not_active Expired - Fee Related
Patent Citations (4)
| Publication number | Priority date | Publication date | Assignee | Title |
|---|---|---|---|---|
| CN1155455A (en) * | 1995-10-02 | 1997-07-30 | 阿玛达美都丽股份有限公司 | Uppeer tool holder apparatus for press brake |
| JP2003285125A (en) * | 2002-03-26 | 2003-10-07 | Matsushita Electric Works Ltd | Pressing device |
| CN101695730A (en) * | 2009-10-20 | 2010-04-21 | 无锡锡锻机床有限公司 | Rapid translation-type die changing mechanism of multi-site numerical control punch press |
| CN201930999U (en) * | 2010-11-29 | 2011-08-17 | 泰安市硕力液压设备厂 | Top die horizontal movement device of multiple pressure head plate bending machine |
Also Published As
| Publication number | Publication date |
|---|---|
| CN102120234A (en) | 2011-07-13 |
Similar Documents
| Publication | Publication Date | Title |
|---|---|---|
| CN104209384A (en) | Novel automobile door edge wrapping machine | |
| CN102120234B (en) | Transverse movement device of top die of multiple pressure head plate bending machine | |
| CN203557586U (en) | Demoulding device for composite pipe | |
| CN207013492U (en) | A kind of hydraulic pressure bending steel plate device | |
| CN203426217U (en) | Board forming machine | |
| CN203227706U (en) | Steel plate bending machine | |
| CN203381216U (en) | Dislocation correction structure of hook tail frame hydraulic machine | |
| CN102962278B (en) | Module holder moving device of vertical extruder and vertical extruder | |
| CN204138270U (en) | The self-powered platform of Novel car door taping machine | |
| CN221891259U (en) | Device for positioning deck and longitudinal ribs when welding bridge deck | |
| CN202021854U (en) | Mobile workbench of mobile gantry type numerical control steel plate leveling hydraulic press | |
| CN203557733U (en) | Mobile curtain wall press | |
| CN203330289U (en) | Punch press automatic feeding and discharging device | |
| CN201930999U (en) | Top die horizontal movement device of multiple pressure head plate bending machine | |
| CN102172673A (en) | Large-tonnage moving crossbeam hydraulic machine | |
| CN202479416U (en) | Large railhead refined forging press | |
| CN101698356A (en) | Hydraulic machine for gantry frame boat | |
| CN202984943U (en) | Upright H-shaped steel clamping device | |
| CN202357189U (en) | Corner cutter for plastic film | |
| CN109877957B (en) | A demoulding device | |
| CN205601233U (en) | Four post guider of hot press | |
| CN204736468U (en) | A new type of large-table four-column hydraulic press | |
| CN206652943U (en) | A kind of vertical-parting core shooter | |
| CN220951610U (en) | Demoulding robot | |
| CN115921629B (en) | Forming equipment for pressing edge of steel-plastic composite plate |
Legal Events
| Date | Code | Title | Description |
|---|---|---|---|
| C06 | Publication | ||
| PB01 | Publication | ||
| C10 | Entry into substantive examination | ||
| SE01 | Entry into force of request for substantive examination | ||
| C14 | Grant of patent or utility model | ||
| GR01 | Patent grant | ||
| TR01 | Transfer of patent right | ||
| TR01 | Transfer of patent right |
Effective date of registration: 20170727 Address after: 271000, Shandong, Tai'an province Taishan District High Street office on the South High Village Patentee after: SHANDONG ZHONGSHUO MACHINERY EQUIPMENT MANUFACTURING CO.,LTD. Address before: 271000, Tai'an, Shandong province Taishan district on the South High Village Patentee before: Tai'an Sphere Hydraulic Factory |
|
| PE01 | Entry into force of the registration of the contract for pledge of patent right |
Denomination of invention: Transverse movement device of top die of multiple pressure head plate bending machine Effective date of registration: 20190626 Granted publication date: 20121226 Pledgee: Taian Hongze Financing Guarantee Co.,Ltd. Pledgor: SHANDONG ZHONGSHUO MACHINERY EQUIPMENT MANUFACTURING CO.,LTD. Registration number: 2019370000139 |
|
| PE01 | Entry into force of the registration of the contract for pledge of patent right | ||
| PC01 | Cancellation of the registration of the contract for pledge of patent right | ||
| PC01 | Cancellation of the registration of the contract for pledge of patent right |
Date of cancellation: 20200724 Granted publication date: 20121226 Pledgee: Taian Hongze Financing Guarantee Co.,Ltd. Pledgor: SHANDONG ZHONGSHUO MACHINERY EQUIPMENT MANUFACTURING Co.,Ltd. Registration number: 2019370000139 |
|
| PE01 | Entry into force of the registration of the contract for pledge of patent right |
Denomination of invention: A transverse moving device of upper die for multi head bending machine Effective date of registration: 20200728 Granted publication date: 20121226 Pledgee: Taian Hongze Financing Guarantee Co.,Ltd. Pledgor: SHANDONG ZHONGSHUO MACHINERY EQUIPMENT MANUFACTURING Co.,Ltd. Registration number: Y2020980004459 |
|
| PE01 | Entry into force of the registration of the contract for pledge of patent right | ||
| PC01 | Cancellation of the registration of the contract for pledge of patent right |
Date of cancellation: 20210709 Granted publication date: 20121226 Pledgee: Taian Hongze Financing Guarantee Co.,Ltd. Pledgor: SHANDONG ZHONGSHUO MACHINERY EQUIPMENT MANUFACTURING Co.,Ltd. Registration number: Y2020980004459 |
|
| PC01 | Cancellation of the registration of the contract for pledge of patent right | ||
| PE01 | Entry into force of the registration of the contract for pledge of patent right |
Denomination of invention: A transverse moving device for upper die of multi indenter bending machine Effective date of registration: 20210723 Granted publication date: 20121226 Pledgee: Taian Hongze Financing Guarantee Co.,Ltd. Pledgor: SHANDONG ZHONGSHUO MACHINERY EQUIPMENT MANUFACTURING Co.,Ltd. Registration number: Y2021980006653 |
|
| PE01 | Entry into force of the registration of the contract for pledge of patent right | ||
| PC01 | Cancellation of the registration of the contract for pledge of patent right | ||
| PC01 | Cancellation of the registration of the contract for pledge of patent right |
Date of cancellation: 20220713 Granted publication date: 20121226 Pledgee: Taian Hongze Financing Guarantee Co.,Ltd. Pledgor: SHANDONG ZHONGSHUO MACHINERY EQUIPMENT MANUFACTURING CO.,LTD. Registration number: Y2021980006653 |
|
| PE01 | Entry into force of the registration of the contract for pledge of patent right |
Denomination of invention: A lateral movement device for the upper mold of a multi head bending machine Effective date of registration: 20230725 Granted publication date: 20121226 Pledgee: Taian Hongze Financing Guarantee Co.,Ltd. Pledgor: SHANDONG ZHONGSHUO MACHINERY EQUIPMENT MANUFACTURING CO.,LTD. Registration number: Y2023980049625 |
|
| PE01 | Entry into force of the registration of the contract for pledge of patent right | ||
| PC01 | Cancellation of the registration of the contract for pledge of patent right | ||
| PC01 | Cancellation of the registration of the contract for pledge of patent right |
Granted publication date: 20121226 Pledgee: Taian Hongze Financing Guarantee Co.,Ltd. Pledgor: SHANDONG ZHONGSHUO MACHINERY EQUIPMENT MANUFACTURING CO.,LTD. Registration number: Y2023980049625 |
|
| PE01 | Entry into force of the registration of the contract for pledge of patent right | ||
| PE01 | Entry into force of the registration of the contract for pledge of patent right |
Denomination of invention: A lateral moving device for the upper mold of a multi head bending machine Granted publication date: 20121226 Pledgee: Taian Hongze Financing Guarantee Co.,Ltd. Pledgor: SHANDONG ZHONGSHUO MACHINERY EQUIPMENT MANUFACTURING CO.,LTD. Registration number: Y2024980030313 |
|
| PC01 | Cancellation of the registration of the contract for pledge of patent right | ||
| PC01 | Cancellation of the registration of the contract for pledge of patent right |
Granted publication date: 20121226 Pledgee: Taian Hongze Financing Guarantee Co.,Ltd. Pledgor: SHANDONG ZHONGSHUO MACHINERY EQUIPMENT MANUFACTURING CO.,LTD. Registration number: Y2024980030313 |
|
| CF01 | Termination of patent right due to non-payment of annual fee |
Granted publication date: 20121226 |
|
| CF01 | Termination of patent right due to non-payment of annual fee |
