CN102100147B - Vertical type axial flow threshing machine specially designed for breeding soybeans - Google Patents
Vertical type axial flow threshing machine specially designed for breeding soybeans Download PDFInfo
- Publication number
- CN102100147B CN102100147B CN201010601719A CN201010601719A CN102100147B CN 102100147 B CN102100147 B CN 102100147B CN 201010601719 A CN201010601719 A CN 201010601719A CN 201010601719 A CN201010601719 A CN 201010601719A CN 102100147 B CN102100147 B CN 102100147B
- Authority
- CN
- China
- Prior art keywords
- drum
- frame
- straw
- fan
- threshing
- Prior art date
- Legal status (The legal status is an assumption and is not a legal conclusion. Google has not performed a legal analysis and makes no representation as to the accuracy of the status listed.)
- Expired - Fee Related
Links
Images
Landscapes
- Threshing Machine Elements (AREA)
Abstract
立式轴流大豆育种专用脱粒机属于农业机械;该机由机架、悬臂梁、可视组合外罩、脱粒滚筒、叶片式清选滚筒、排秸风扇、分离筛筒、排秸箱、离心风机、喂料口、集料口和籽粒出口组成;可视组合外罩铰接在机架两端可以自由开闭,外罩表面固装有机玻璃;脱粒滚筒、叶片式清选滚筒和排秸风扇依次固定连接,脱粒滚筒中间设置清选风道;本机可以一次性完成脱粒、分离、清选作业,具有体积小、重量轻、结构合理、便于快速清理、机动性好等特点,能够满足科研和生产上准确测产的要求。
The vertical axial-flow thresher for soybean breeding belongs to agricultural machinery; the machine consists of a frame, a cantilever beam, a visible combination cover, a threshing drum, a blade-type cleaning drum, a straw fan, a separation screen drum, a straw box, and a centrifugal fan. , feeding port, collecting port and grain outlet; the visual combination cover is hinged at both ends of the frame and can be opened and closed freely, and the surface of the cover is fixed with plexiglass; the threshing drum, blade type cleaning drum and straw fan are fixedly connected in sequence , The cleaning air duct is set in the middle of the threshing drum; this machine can complete the threshing, separation and cleaning operations at one time. It has the characteristics of small size, light weight, reasonable structure, easy and fast cleaning, and good mobility. Accurate production requirements.
Description
技术领域: Technical field:
本发明创造属于农业机械,主要涉及一种立式轴流大豆育种专用脱粒机。The invention belongs to agricultural machinery, and mainly relates to a special thresher for vertical axial flow soybean breeding.
背景技术: Background technique:
科研上大豆产量测量和大豆育种,要经过脱粒、分离和清选三个环节。传统的育种脱粒机多为切流滚筒脱粒,风扇和往复式振动筛配合进行分离清选,这些部件结构复杂,体积较大,并且工作时震动剧烈,噪声较大。卧式轴流脱粒机的凹板分离筛的分离面积较小,在相同的分离效率下,与立式轴流脱粒机相比较体积增加。现有的小型立式轴流脱粒机的清选系统多采用上下两个风扇和旋轮的组合,结构比较复杂,并且排秸箱主要由金属外罩支撑,这样就限制了将整个外罩制作成为可以自由开闭的机构,从而影响了对残留在机体内的茎秆和籽粒进行快速清理,不能满足科研上对大豆产量测定和大豆育种工作的要求。In terms of scientific research, soybean yield measurement and soybean breeding must go through three steps: threshing, separation and cleaning. Traditional breeding threshers mostly use tangential flow drum threshing, and fans and reciprocating vibrating screens are used for separation and cleaning. These parts have complex structures, large volumes, and they vibrate violently and make noise during operation. The concave plate separation screen of the horizontal axial flow thresher has a smaller separation area, and at the same separation efficiency, the volume increases compared with the vertical axial flow thresher. The cleaning system of the existing small vertical axial flow threshing machine mostly adopts the combination of upper and lower fans and rotary wheels, the structure is relatively complicated, and the straw box is mainly supported by a metal outer cover, which limits the possibility of making the entire outer cover. The mechanism of free opening and closing affects the rapid cleaning of the stalks and grains remaining in the body, and cannot meet the requirements of soybean yield measurement and soybean breeding in scientific research.
发明内容: Invention content:
本发明创造的目的就是针对上述问题,解决目前育种脱粒机体积过大、结构复杂、不能快速清理、籽粒含杂率高、工作不可靠的缺点。The purpose of the present invention is to solve the above-mentioned problems and solve the shortcomings of the current breeding threshers, such as large volume, complex structure, inability to quickly clean up, high impurity content in grains, and unreliable operation.
本发明创造的基本设计是,立式轴流大豆育种专用脱粒机,包括机架及配装在机架上的行走轮、推杆;在机架上部固装悬臂梁,电动机固装在悬臂梁外侧部上,在悬臂梁内侧部上立向可转动地配装主轴,带轮固装在主轴上侧部上,传动带装配在电动机和带轮上,在主轴下侧部上固装排秸风扇,排秸箱固装在悬臂梁内侧下部上,且位于排秸风扇外部,将其整体包容;在排秸风扇下侧部上依次固装叶片式清选滚筒和脱粒滚筒,排秸风扇与叶片式清选滚筒、脱粒滚筒成一体;分离筛筒装配在叶片式清选滚筒和脱粒滚筒外部,分离筛筒上端部固定在排秸箱下侧部上,在分离筛筒下端配装带有籽粒出口的集料口;在脱粒滚筒内部设置清选风道,离心风机安装在机架上,清选风道的上端和下端分别与叶片式清选滚筒和离心风机连通;铰接座设置在机架上端部上;在分离筛筒外部可开闭地装配右可视组合外罩和左可视组合外罩,将分离筛筒整体密封包容;左可视组合外罩由左支撑框架及配装在左支撑框架上的喂料口、铰接板、短有机玻璃板、锁定板装配构成,右可视组合外罩由右支撑框架及配装在右支撑框架上的铰接板、锁定板、长有机玻璃板装配构成,紧固件组将左支撑框架上的锁定板和右支撑框架上的锁定板固定,左支撑框架上的铰接板和右支撑框架上的铰接板分别与机架上的铰接座铰连接。The basic design created by the present invention is that the special thresher for vertical axial flow soybean breeding includes a frame and walking wheels and push rods fitted on the frame; On the outer side, the main shaft is vertically and rotatably equipped on the inner side of the cantilever beam, the pulley is fixed on the upper side of the main shaft, the transmission belt is assembled on the motor and the pulley, and the straw fan is fixed on the lower side of the main shaft , the straw box is fixed on the inner lower part of the cantilever beam, and is located outside the straw fan to contain it as a whole; on the lower side of the straw fan, the blade type cleaning drum and the threshing drum are fixed in turn, and the straw fan and the blade The type cleaning drum and the threshing drum are integrated; the separation screen drum is assembled on the outside of the blade type cleaning drum and the threshing drum, the upper end of the separation screen drum is fixed on the lower side of the straw discharge box, and the lower end of the separation screen drum is equipped with a grain filter. The collecting port of the outlet; the cleaning air duct is set inside the threshing drum, the centrifugal fan is installed on the frame, and the upper and lower ends of the cleaning air duct are respectively connected with the blade type cleaning drum and the centrifugal fan; On the upper end; the right visible combined outer cover and the left visible combined outer cover can be assembled on the outside of the separation screen drum to seal and contain the separation screen drum as a whole; the left visible combined outer cover is composed of the left support frame and the left support frame The upper feed port, hinge plate, short plexiglass plate and locking plate are assembled, and the right visible combination cover is composed of the right support frame and the hinge plate, locking plate and long plexiglass plate assembled on the right support frame. The fastener group fixes the locking plate on the left support frame and the locking plate on the right support frame, and the hinge plate on the left support frame and the hinge plate on the right support frame are respectively hinged with the hinge seat on the frame.
本发明创造结构设计合理,脱粒、分离、清选效果好,使用安全可靠,社会经济效益高。The invention has reasonable structural design, good threshing, separation and cleaning effects, safe and reliable use, and high social and economic benefits.
附图说明: Description of drawings:
图1是立式轴流大豆育种专用脱粒机总体结构示意图。Figure 1 is a schematic diagram of the overall structure of a vertical axial flow soybean breeding special thresher.
图2是立式轴流大豆育种专用脱粒机内部结构示意图。Fig. 2 is a schematic diagram of the internal structure of a vertical axial flow thresher specially used for soybean breeding.
图3是左可视组合外罩结构示意图。Fig. 3 is a schematic diagram of the structure of the left visible combination cover.
图4是右可视组合外罩结构示意图。Fig. 4 is a schematic diagram of the structure of the right visible combined outer cover.
图5是排秸风扇结构示意图。Fig. 5 is a structural schematic diagram of the straw fan.
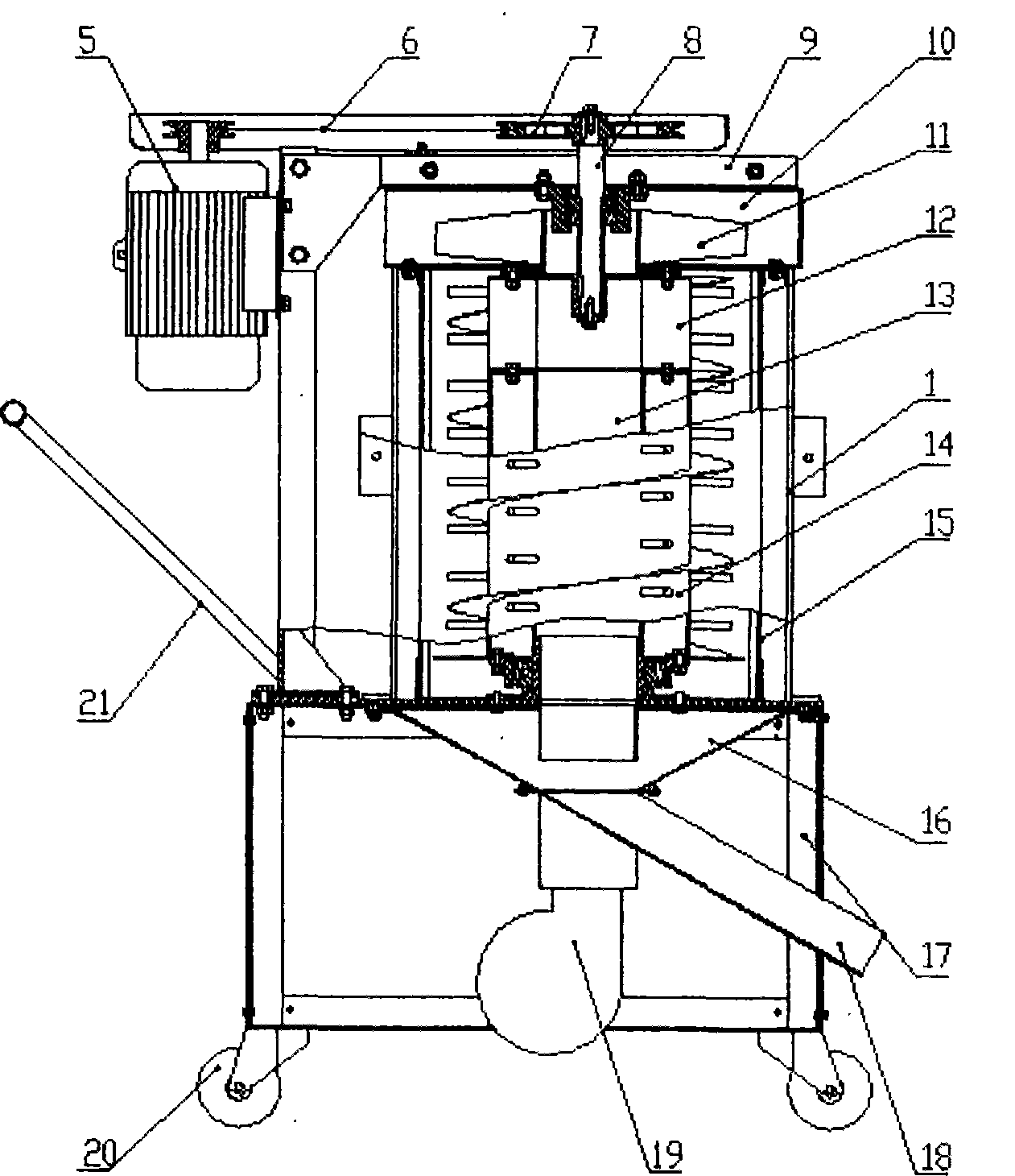
图中件号说明:Description of part number in the figure:
1、右可视组合外罩 2、铰接座 3、喂料口 4、左可视组合外罩 5、电动机 6、传动带 7、带轮 8、主轴 9、悬臂梁 10、排秸箱 11、排秸风扇 12、叶片式清选滚筒 13、清选风道 14、脱粒滚筒 15、分离筛筒 16、集料口 17、机架 18、籽粒出口 19、离心风机 20、行走轮 21、推杆 22、铰接板 23、短有机玻璃板 24、左支撑框架 25、锁定板 26、右支撑框架 27、长有机玻璃板 28排秸风扇叶片1. Right visible combined cover 2. Hinged
具体实施方式: Detailed ways:
下面结合附图对本发明创造最佳实施方案进行详细描述。The best embodiment of the present invention will be described in detail below in conjunction with the accompanying drawings.
立式轴流大豆育种专用脱粒机,包括机架17及配装在机架17上的行走轮20、推杆21;在机架17上部固装悬臂梁9,电动机5固装在悬臂梁9外侧部上,在悬臂梁9内侧部上立向可转动地配装主轴8,带轮7固装在主轴8上侧部上,传动带6装配在电动机5和带轮7上,在主轴8下侧部上固装排秸风扇11,排秸箱10固装在悬臂梁9内侧下部上,且位于排秸风扇11外部,将其整体包容;在排秸风扇11下侧部上依次固装叶片式清选滚筒12和脱粒滚筒14,排秸风扇11与叶片式清选滚筒12、脱粒滚筒14成一体;分离筛筒15装配在叶片式清选滚筒12和脱粒滚筒14外部,分离筛筒15上端部固定在排秸箱10下侧部上,在分离筛筒15下端配装带有籽粒出口18的集料口16;在脱粒滚筒14内部设置清选风道13,离心风机19安装在机架17上,清选风道13的上端和下端分别与叶片式清选滚筒12和离心风机19连通;铰接座2设置在机架17上端部上;在分离筛筒15外部可开闭地装配右可视组合外罩1和左可视组合外罩4,将分离筛筒15整体密封包容;左可视组合外罩4由左支撑框架24及配装在左支撑框架24上的喂料口3、铰接板22、短有机玻璃板23、锁定板25装配构成,右可视组合外罩1由右支撑框架26及配装在右支撑框架26上的铰接板22、锁定板25、长有机玻璃板27装配构成,紧固件组将左支撑框架24上的锁定板25和右支撑框架26上的锁定板25固定,左支撑框架24上的铰接板22和右支撑框架26上的铰接板22分别与机架17上的铰接座2铰连接;喂料口3在左支撑框架24右下方呈下倾配装,喂料口3中心线与主轴8轴向成65°~75°角;排秸风扇11上的排秸风扇叶片28整体呈扭曲状。Vertical axial-flow thresher for soybean breeding, including
立式轴流大豆育种专用脱粒机工作时,由固定在悬臂梁9上的电动机5输出动力通过传动带6和带轮7传递给主轴8,主轴8带动脱粒滚筒14、叶片式清选滚筒12和排秸风扇11同步旋转;待脱物通过向下倾斜的喂料口3喂入,在高速旋转的脱粒滚筒14离心力作用下,使待脱物料被带入脱粒室内,待脱物通过脱粒滚筒14上的脱粒钉齿反复击打进行脱粒,由于喂料口3的结构设计,不会出现物料反吐现象;与此同时物料在脱粒滚筒14和叶片式清选滚筒12的作用下向上运输;在离心力的作用下,籽粒、颖壳和短茎秆从分离筛筒15的筛孔中分离出来进入沉降室,长茎秆被运输到排秸箱10,再被高速旋转的排秸风扇11排出机外;在高速旋转的排草风扇11的作用下,具有整体扭曲状的排草风扇叶片28产生的负压通过分离筛筒15的筛孔在沉降室内形成上升的吸运气流,比重较小的颖杂被上升的气流带入排秸箱10,通过排秸风扇11排出机外;比重较大的籽粒、颖壳和短茎秆通过集料口16落到籽粒出口18上面,籽粒出口18下设有产生上升气流的离心风机19,离心风机19产生的高压垂直气流将绝大部分颖壳和短茎秆通过清选风道13和叶片式清选滚筒12吹入脱粒室内,在排秸风扇11的作用下被运输到排秸箱10内,然后由排秸风扇11排出机外,籽粒顺着倾斜的籽粒出口18进入收集箱;脱粒完毕后打开左、右可视组合外罩,对残留在壳体内的茎秆和籽粒进行快速清理。When the vertical axial-flow soybean breeding special thresher is working, the output power of the motor 5 fixed on the cantilever beam 9 is transmitted to the main shaft 8 through the transmission belt 6 and the pulley 7, and the main shaft 8 drives the
Claims (2)
Priority Applications (1)
| Application Number | Priority Date | Filing Date | Title |
|---|---|---|---|
| CN201010601719A CN102100147B (en) | 2010-12-23 | 2010-12-23 | Vertical type axial flow threshing machine specially designed for breeding soybeans |
Applications Claiming Priority (1)
| Application Number | Priority Date | Filing Date | Title |
|---|---|---|---|
| CN201010601719A CN102100147B (en) | 2010-12-23 | 2010-12-23 | Vertical type axial flow threshing machine specially designed for breeding soybeans |
Publications (2)
| Publication Number | Publication Date |
|---|---|
| CN102100147A CN102100147A (en) | 2011-06-22 |
| CN102100147B true CN102100147B (en) | 2012-08-29 |
Family
ID=44153392
Family Applications (1)
| Application Number | Title | Priority Date | Filing Date |
|---|---|---|---|
| CN201010601719A Expired - Fee Related CN102100147B (en) | 2010-12-23 | 2010-12-23 | Vertical type axial flow threshing machine specially designed for breeding soybeans |
Country Status (1)
| Country | Link |
|---|---|
| CN (1) | CN102100147B (en) |
Families Citing this family (8)
| Publication number | Priority date | Publication date | Assignee | Title |
|---|---|---|---|---|
| CN106717572A (en) * | 2016-12-09 | 2017-05-31 | 重庆速腾机械制造有限公司 | Soya bean thresing machine |
| CN108012672B (en) * | 2018-01-03 | 2023-10-03 | 苏州萨伯工业设计有限公司 | Dynamic balance threshing device with servo feedback control function |
| CN108040613B (en) * | 2018-01-10 | 2023-10-20 | 江苏农林职业技术学院 | Be used for roast kind automation equipment of crop |
| CN108576881A (en) * | 2018-04-16 | 2018-09-28 | 马同金 | A kind of garlic husking machine |
| CN110810873A (en) * | 2018-08-11 | 2020-02-21 | 劳加斌 | Black bean shelling thresher |
| CN109644692A (en) * | 2018-12-26 | 2019-04-19 | 西京学院 | A kind of vertical single-column maize sheller |
| CN111527888B (en) * | 2020-04-09 | 2021-06-25 | 山西农业大学 | A kind of automatic high-efficiency grading and screening equipment for Wenguan fruit granules |
| CN112535023B (en) * | 2020-12-02 | 2021-09-03 | 武汉理工大学 | Dustless rice thresher |
Citations (4)
| Publication number | Priority date | Publication date | Assignee | Title |
|---|---|---|---|---|
| CN2069643U (en) * | 1990-03-12 | 1991-01-23 | 刘若夫 | Vertical airflow cleaning thresher |
| CN2071421U (en) * | 1990-06-20 | 1991-02-20 | 海安县农机化技术推广服务站 | Vertical axial-flow threshing machine |
| EP0522267B1 (en) * | 1991-05-10 | 1995-08-09 | Deere & Company | Axial separator |
| CN201938104U (en) * | 2010-12-23 | 2011-08-24 | 东北农业大学 | Vertical axial-flow special thresher for breeding soybeans |
-
2010
- 2010-12-23 CN CN201010601719A patent/CN102100147B/en not_active Expired - Fee Related
Patent Citations (4)
| Publication number | Priority date | Publication date | Assignee | Title |
|---|---|---|---|---|
| CN2069643U (en) * | 1990-03-12 | 1991-01-23 | 刘若夫 | Vertical airflow cleaning thresher |
| CN2071421U (en) * | 1990-06-20 | 1991-02-20 | 海安县农机化技术推广服务站 | Vertical axial-flow threshing machine |
| EP0522267B1 (en) * | 1991-05-10 | 1995-08-09 | Deere & Company | Axial separator |
| CN201938104U (en) * | 2010-12-23 | 2011-08-24 | 东北农业大学 | Vertical axial-flow special thresher for breeding soybeans |
Also Published As
| Publication number | Publication date |
|---|---|
| CN102100147A (en) | 2011-06-22 |
Similar Documents
| Publication | Publication Date | Title |
|---|---|---|
| CN102100147B (en) | Vertical type axial flow threshing machine specially designed for breeding soybeans | |
| CN204518532U (en) | High efficiency grain sheller unit | |
| CN201938104U (en) | Vertical axial-flow special thresher for breeding soybeans | |
| CN203530272U (en) | Flaxseed shell separating device | |
| CN106108042B (en) | Peanut Sheller | |
| CN103734877B (en) | A kind of silybum marianum seed shelling and method of separating hull and kernel | |
| CN206978097U (en) | Peanut seedling, leaf, fruit separating and reclaiming device | |
| CN206978036U (en) | Self-propelled peanut picks up machine for picking fruits | |
| CN108684333A (en) | A kind of tongue bran combined type cleaning and sorting system and tongue bran type of threshing and sorting | |
| CN205510956U (en) | Small -size rice and wheat thresher with clean function | |
| CN207639216U (en) | A kind of tongue bran combined type cleaning and sorting system and tongue bran type of threshing and sorting | |
| CN207519182U (en) | A kind of grain sheller unit | |
| CN216654909U (en) | Rice seed selection device convenient to edulcoration | |
| CN104838818A (en) | Pressing threshing and separating device for wheat | |
| CN205284254U (en) | Novel thresher | |
| CN2877243Y (en) | Small-sized straw cutting and threshing integral combine-harvester | |
| CN207948212U (en) | An agricultural threshing device | |
| CN202488995U (en) | Dual-sieve full-automatic pine nut and corn multi-purpose thresher | |
| CN201928670U (en) | Split type multistage grain cleaning type threshing machine | |
| CN205961890U (en) | Multi -functional single ear of grain rice thresher | |
| CN105284302A (en) | Novel thresher | |
| CN207531396U (en) | A kind of rice harvesting device | |
| CN216650549U (en) | Corn thresher for agricultural production convenient to clearance | |
| CN221689346U (en) | Rapeseed obtaining device | |
| CN204968605U (en) | Corn ear cleaning plant of threshing |
Legal Events
| Date | Code | Title | Description |
|---|---|---|---|
| C06 | Publication | ||
| PB01 | Publication | ||
| C10 | Entry into substantive examination | ||
| SE01 | Entry into force of request for substantive examination | ||
| C14 | Grant of patent or utility model | ||
| GR01 | Patent grant | ||
| CF01 | Termination of patent right due to non-payment of annual fee | ||
| CF01 | Termination of patent right due to non-payment of annual fee |
Granted publication date: 20120829 Termination date: 20201223 |
