CN102071768B - Edge keel structure - Google Patents

Edge keel structure Download PDF

Info

Publication number
CN102071768B
CN102071768B CN2010106038470A CN201010603847A CN102071768B CN 102071768 B CN102071768 B CN 102071768B CN 2010106038470 A CN2010106038470 A CN 2010106038470A CN 201010603847 A CN201010603847 A CN 201010603847A CN 102071768 B CN102071768 B CN 102071768B
Authority
CN
China
Prior art keywords
limiting plate
keelson
along
main body
panel
Prior art date
Legal status (The legal status is an assumption and is not a legal conclusion. Google has not performed a legal analysis and makes no representation as to the accuracy of the status listed.)
Expired - Fee Related
Application number
CN2010106038470A
Other languages
Chinese (zh)
Other versions
CN102071768A (en
Inventor
范春荣
Current Assignee (The listed assignees may be inaccurate. Google has not performed a legal analysis and makes no representation or warranty as to the accuracy of the list.)
SHANGHAI GOUSI DECORATIVE MATERIAL CO Ltd
Original Assignee
SHANGHAI GOUSI DECORATIVE MATERIAL CO Ltd
Priority date (The priority date is an assumption and is not a legal conclusion. Google has not performed a legal analysis and makes no representation as to the accuracy of the date listed.)
Filing date
Publication date
Application filed by SHANGHAI GOUSI DECORATIVE MATERIAL CO Ltd filed Critical SHANGHAI GOUSI DECORATIVE MATERIAL CO Ltd
Priority to CN2010106038470A priority Critical patent/CN102071768B/en
Publication of CN102071768A publication Critical patent/CN102071768A/en
Application granted granted Critical
Publication of CN102071768B publication Critical patent/CN102071768B/en
Expired - Fee Related legal-status Critical Current
Anticipated expiration legal-status Critical

Links

Images

Landscapes

  • Finishing Walls (AREA)

Abstract

The invention discloses an edge keel structure, which is characterized by comprising an edge keel body and a panel. The edge keel body comprises a mounting part, a first suspended part and a second suspended part, wherein the mounting part, the first suspended part and the second suspended part are connected into a whole; the first and second suspended part are arranged on the two sides of the bottom of the mounting part; the mounting part comprises a rectangular structure of which the upper part of the inner side edge of the cross section has an opening; the first suspended part comprises a first limiting plate and a first elastic plate with a hook; and the second suspended part comprises a second limiting plate, and the second limiting plate and the first limiting plate are symmetrically arranged at an interval. The panel is embedded between the first limiting plate and the second limiting plate of the edge keel body, and comprises a first decorative part, two embedded parts and two clamped parts. When the panel is matched and connected with the edge keel, the two embedded part are embedded between the first limiting plate and the second limiting plate respectively, the decorative part is positioned at the bottom of the first and second limiting plates, and the two clamped parts are clamped on the raised lines on the first and second limiting plates. The edge keel structure has the advantages of structural reliability, convenience for use, installation firmness and decorative elegance.

Description

Along the keelson structural member
Technical field
The present invention relates to the keel structure spare that a kind of indoor decoration is used, relate in particular to a kind of along the keelson structural member.
Background technology
The Along with people's growth in the living standard, increasingly high to the environment requirement of live and work.Personalized decoration result becomes fashion.In the decoration design, the design of furred ceiling becomes important link especially.In the installation of furred ceiling, the form of plane furred ceiling is many at present.In order to improve the layout effect of furred ceiling; Someone designs in the central authorities of furred ceiling or middle island or island, the limit zone of protrusion is set all around; The edge trim plate with other part furred ceilings in island or island, limit zone is to adopt wooden or working of plastics or sheet metal are processed in existing; Must support member be installed earlier during installation, on this support member, fixedly install the edge trim plate of boundary again, have complex structure, weak effect, operation is many, cost is high shortcoming.
Summary of the invention
The present invention is in order to overcome the above-mentioned shortcoming that prior art exists, and provide a kind of simple in structure, easy for installation, use solid and reliable, good decorating effect along the keelson structural member.
The technical scheme that the present invention takes is: a kind ofly be characterized in along the keelson structural member, comprise along the keelson main body and with panel along the adaptive combination of keelson main body;
A described installation portion that is connected as a single entity and first suspension part and second suspension part that are arranged on said installation portion two bottom sides of comprising along the keelson main body; Wherein: described installation portion comprises that a cross section is the rectangle of inner side edge upper opening; Described first suspension part comprises one first limiting plate and an elastic webbing hook plate; Described second suspension part comprises second limiting plate that is provided with at interval with first limiting plate of said first suspension part symmetry; Described elastic webbing hook plate is bent into the elongated hook-shaped plate that is by one and constitutes, its hook portion opening outwardly, protuberance is towards first limiting plate; Be provided with the gap of a pair of Plug Division that is used to inlay buckle between the protuberance of said elastic webbing hook plate and the limiting plate; Said first limiting plate is identical with the second limiting plate structure, an elongated raised line that includes plate always and be provided with in the inside side of this straight plate, and the raised line of said first limiting plate and second limiting plate is relative;
Described panel is embedded in said along between first limiting plate and second limiting plate of keelson main body, and this panel comprises an ornamental portion that is connected as a single entity, two Access Divisions that make progress vertically extending two inlay and extend to the top from two inlay tops respectively from the ornamental portion both sides; With said when the keelson main body is connected; Described two inlay are embedded in respectively between said first limiting plate and second limiting plate; Described decorative position is in the bottom of said first limiting plate and second limiting plate, and described two Access Divisions are connected on the raised line of said first limiting plate and second limiting plate.
Above-mentioned a kind of along the keelson structural member; Wherein, Described installation portion along the keelson main body comprises that horizontal low level overlap edge, vertical short support edge, a horizontal high position articulates limit, a vertical long upholstery border and a base; The outboard end of described low level overlap edge is connected with the top of described short support edge; The outboard end that a described horizontal high position articulates the limit is connected with the top of said vertical long upholstery border, is connected through a base between described vertical short support edge and the described vertical long upholstery border; A described horizontal low level overlap edge and a described horizontal high position articulate the separated between the upper and lower drop between the limit, form the opening of a side direction.
Above-mentioned a kind of along the keelson structural member, wherein, be provided with the gap between the projection line that a described horizontal low level overlap edge and a described horizontal high position articulate the limit.
Above-mentioned a kind of along the keelson structural member, wherein, the gap that is provided with between the protuberance of the elastic webbing hook plate of said first suspension part along the keelson main body and first limiting plate is the thickness smaller or equal to the sheet material of buckle Plug Division.
Above-mentioned a kind of along the keelson structural member; Wherein, The two ends, top of the ornamental portion of said panel and the bottom of described two inlay be respectively for step is connected, and the width of the bottom of the width of said step and said first limiting plate and second limiting plate along the keelson main body is with wide; When with said when the keelson main body is connected, the step at two ends, described ornamental portion top just is resisted against the bottom of said first limiting plate and second limiting plate, described two inlay are embedded between the two limiting plate inwalls of said two suspension parts.
Above-mentioned a kind of along the keelson structural member, wherein, described panel two Access Divisions are made up of each symmetrically arranged groove in inlay top respectively; When with said when the keelson main body is connected, the groove of described two Access Divisions is connected to respectively on the raised line that said first limiting plate and the second limiting plate inwall be provided with.
Above-mentioned a kind of along the keelson structural member, wherein, an intilted portion of assigning is upwards respectively extended at top, described two Access Division also symmetry.
Above-mentioned a kind of along the keelson structural member, wherein, said panel comprises flat panel, and the bottom of the ornamental portion of described flat panel is the plane, and both sides are the right angle; During assembling, the bottom of the ornamental portion of said flat panel is concordant with the bottom of said buckle.
Above-mentioned a kind of along the keelson structural member, said panel comprises high cam, and the bottom of the ornamental portion of described high cam is the plane, and both sides are the right angle, or is the corner cut of symmetry; During assembling, the bottom of the ornamental portion of said high cam surpasses the height of the bottom of said buckle.
Above-mentioned a kind of along the keelson structural member, wherein, also comprise a horizontal reinforcing rib, be arranged in the ornamental portion of said high cam.
The present invention is owing to adopted above technical scheme, and the technique effect of its generation is tangible:
1, owing to the installation portion along the keelson main part is to adopt the cross section to be the rectangle of inner side edge upper opening; In the central authorities of furred ceiling or when forming middle island or the zone, island, limit of protrusion all around; As long as the high position of this opening is articulated the limit to be hung on the horizontal hanging piece that the suspension rod bottom connects; The bottom that the low level overlap edge of this opening is fixed on horizontal hanging piece gets final product, and is simple in structure, fixedly mounts very convenient; And the periphery of island or zone, island, limit furred ceiling was consistent with whole furred ceiling effect during this long upholstery border along the outside of keelson main part formed, good decorating effect;
2, owing to be provided with panel along between first suspension part of keelson main part and second suspension part, can make whole furred ceiling along limit and entity that third dimension is very strong of furred ceiling formation;
3, owing to, also can be high cam, and the height of the ornamental portion of high cam can change according to designing requirement, so furred ceiling can form multiple variation can be flat panel along the panel that is provided with between two suspension parts of keelson main part;
4, owing to the structure that is connected as a single entity that can comprise an installation portion and two suspension parts along the keelson main part, make sound construction, both buckle can be installed, also the integrated device module can be installed, make furred ceiling have bigger more function by an employing;
5, owing to all adopt the structure that is connected as a single entity, can create section bar, be convenient to large-scale production, promote the use of along keelson main part and panel.
Description of drawings
Fig. 1 is the user mode sketch map of a kind of embodiment that is used along keelson structural member and buckle of the present invention.
Fig. 2 is the structural section sketch map along the keelson main part of the present invention.
Fig. 3 is the structural section sketch map of a kind of high cam embodiment in the panel of the present invention.
Fig. 4 is the structural section sketch map of another kind of high cam embodiment in the panel of the present invention.
Fig. 5 is the structural section sketch map of a kind of flat panel embodiment in the panel of the present invention.
Fig. 6 is the structural representation of the user mode that is used along keelson structural member and buckle, suspension rod of the present invention.
The specific embodiment
Concrete performance characteristic of the present invention is by following embodiment and combine accompanying drawing to further describe.
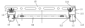
See also Fig. 1, Fig. 1 is the sketch map of a kind of embodiment of the user mode that is used along keelson structural member and buckle of the present invention.The present invention is a kind of along the keelson structural member, comprise along keelson main body 11 and with panel 12 along the adaptive combination of keelson main body.Describedly comprise the installation portion 111 that is connected as a single entity, first suspension part 112, second suspension part 113 along keelson main body 11, described installation portion cross section is the rectangle of inner side edge upper opening 114.When being installed in the middle island furred ceiling that forms protrusion; As long as the high position of this opening is articulated the limit to be hung on the horizontal hanging piece 13 that the suspension rod bottom connects; The bottom that the low level overlap edge of this opening is fixed on horizontal hanging piece gets final product, the periphery of island furred ceiling during this long upholstery border along the outside of keelson main part forms.The a pair of plug-in unit portion of buckle 14 or other integration modules be inserted in this along first suspension part 112 of keelson main body 11 and should between keel 15 suspension parts 16 of island furred ceiling main body; Described panel 12 is embedded between said first suspension part 112 along keelson main body 11, second suspension part 113, forms to have multi-functional and third dimension significantly along island furred ceiling in the keelson.Among the figure 17 be with this in the adaptive panel of keel of island furred ceiling main body.
See also Fig. 2, Fig. 2 is the structural section sketch map of a kind of embodiment along the keelson main part of the present invention.Describedly comprise the installation portion 21 that is connected as a single entity, first suspension part 22, second suspension part 23 along keelson main body 2.In the present embodiment; Described installation portion 21 along keelson main body 2 comprises that horizontal low level overlap edge 211, one vertical short support edge 212, one a horizontal high position articulates limit 213, vertical a long upholstery border 214 and a base 215; The outboard end of described low level overlap edge is connected with the top of described short support edge; The outboard end that a described horizontal high position articulates the limit is connected with the top of said vertical long upholstery border, and described vertical short support edge is connected through a base with described vertical long upholstery border; A described horizontal low level overlap edge and a described horizontal high position articulate the interval drop of limit between up and down, form the opening A of a side direction.
For ease of installing, in the present embodiment, be provided with gap H between the projection line that a described horizontal low level overlap edge and a described horizontal high position articulate the limit with the mutual support and connection of the horizontal hanging piece of suspension rod.
First suspension part 22 of the present invention comprises one first limiting plate 221 and an elastic webbing hook plate 222; Described elastic webbing hook plate 222 is bent into the elongated hook-shaped plate that is by one and constitutes, its hook portion opening 2221 outwardly, protuberance 2222 is towards first limiting plate; Be provided with the gap h of a pair of Plug Division that is used to inlay buckle between the protuberance of said elastic webbing hook plate and the limiting plate, form draw-in groove.Described second suspension part 23 comprises second limiting plate 231 that is provided with at interval with said first limiting plate symmetry.Said first limiting plate and second limiting plate are provided with an elongated raised line 2211,2311 in its inside side respectively.
The gap that is provided with between the protuberance of the elastic webbing hook plate of said first suspension part along the keelson main body and first limiting plate is the thickness smaller or equal to the sheet material of suspended ceiling pinch plate Plug Division.During installation, described panel is embedded between two limiting plates of said two suspension parts along the keelson main body.
Described panel can be the bottom flat panel concordant with the buckle of furred ceiling main body, and is as shown in Figure 4; Also can be the high cam that the bottom is higher than the buckle bottom of furred ceiling main body, as shown in Figure 3.
See also Fig. 3, Fig. 3 is the structural section sketch map of a kind of high cam embodiment in the panel of the present invention.This panel comprises an ornamental portion 31 that is connected as a single entity, two Access Divisions 33 that make progress vertically extending two inlay 32 and extend to the top from two inlay tops respectively from the ornamental portion both sides.Described two Access Divisions 33 are made up of each symmetrical upwardly extending groove in inlay top respectively.When with said when the keelson main body is connected; Described two inlay are embedded in respectively between said first limiting plate and second limiting plate; Described decorative position is in the bottom of said first limiting plate and second limiting plate, and the groove of described two Access Divisions is connected to respectively on the raised line that the inwall of said first limiting plate and second limiting plate is provided with.
Junction in the bottom of the two ends, top of the ornamental portion of said panel and described two inlay respectively is provided with a step 34, and the width of the bottom of the width of said step and said limiting plate along the keelson main body is with wide; When with said when the keelson main body is connected, the step at two ends, described ornamental portion top just is resisted against the two limiting plates bottom of said two suspension parts, this decorative position is in the below of said two suspension parts.
An intilted portion 35 of assigning is upwards respectively extended at top, described two Access Division also symmetry.
The bottom surface 311 of the ornamental portion of this high cam is the plane in the present embodiment, and both sides are the right angle.During assembling, the bottom of the ornamental portion of said high cam protrudes in the bottom of suspended ceiling pinch plate.The bottom of the ornamental portion of said high cam surpasses what of height of the bottom of said buckle and can set according to designing requirement.
See also Fig. 4, Fig. 4 is the structural section sketch map of the embodiment of another kind of high cam in the panel of the present invention.With the foregoing description difference,, can in the ornamental portion of high cam, be provided with a horizontal reinforcing rib 41 for improving the intensity of this high cam.
See also Fig. 5, Fig. 5 is the structural section sketch map of the embodiment of a kind of flat panel in the panel of the present invention.Described flat panel comprises an ornamental portion 51 that is connected as a single entity, two Access Divisions 53 that are connected two inlay 52 of ornamental portion both sides and are connected to two inlay top.With the foregoing description difference be, the bottom of described ornamental portion 51 does not have outstanding part, and during assembling, the bottom of the ornamental portion of said high cam is concordant with the bottom of said buckle.
See also Fig. 6, Fig. 6 is the structural representation of user mode of the present invention.During installation, form furred ceiling main body (not shown) earlier.When island or island, limit are regional in formation; Earlier horizontal hanging piece 62 is fixed through suspension rod 61 and roof ceiling; Again the keel of furred ceiling main body are suspended on the connector of the T font that hanging piece 62 bottoms connect; To be somebody's turn to do then and articulate the limit along the high position of the opening of keelson main part 63 and hang on the horizontal hanging piece (not shown); And the low level overlap edge of this opening is fixed on the bottom of horizontal hanging piece 62, make this long upholstery border along the outside of keelson main part 63 form in the periphery of staggered floor furred ceiling in island or zone, island, limit, the furred ceiling in island or zone, island, limit in arranging again.With this be: buckle 64 or integrated device panel are buckled into along fixing in the draw-in groove of keelson bottom through a snapping limit along the furred ceiling arrangement that the keelson structural member is connected along the limit; This buckle 64 or integrated device panel buckle into through another snapping limit in the draw-in groove of keel 65 of furred ceiling in formation island or zone, island, limit, thus form one complete, with furred ceiling relief, staggered floor.
Reliable in structure of the present invention can be made up of section bar, and is easy to use, and practicality is installed firmly, and is easy to utilize.

Claims (10)

1. one kind along the keelson structural member, it is characterized in that, comprise along the keelson main body and with panel along the adaptive combination of keelson main body;
A described installation portion that is connected as a single entity and first suspension part and second suspension part that are arranged on said installation portion two bottom sides of comprising along the keelson main body; Wherein: described installation portion comprises that interconnective one horizontal low level overlap edge, vertical short support edge, a horizontal high position articulates limit, a vertical long upholstery border and a base; A described horizontal low level overlap edge and a described horizontal high position articulate the separated between the upper and lower drop between the limit, form the rectangle that a cross section is the inner side edge upper opening; Described first suspension part comprises one first limiting plate and an elastic webbing hook plate; Described second suspension part comprises second limiting plate that is provided with at interval with first limiting plate of said first suspension part symmetry; Described elastic webbing hook plate is bent into the elongated hook-shaped plate that is by one and constitutes, its hook portion opening outwardly, protuberance is towards first limiting plate; Be provided with the gap of a pair of Plug Division that is used to inlay buckle between the protuberance of said elastic webbing hook plate and first limiting plate; Said first limiting plate is identical with the second limiting plate structure, an elongated raised line that includes plate always and be provided with in the inside side of this straight plate, and the raised line of said first limiting plate and second limiting plate is relative;
Described panel is embedded in said along between first limiting plate and second limiting plate of keelson main body, and this panel comprises an ornamental portion that is connected as a single entity, two Access Divisions that make progress vertically extending two inlay and extend to the top from two inlay tops respectively from the ornamental portion both sides; With said when the keelson main body is connected; Described two inlay are embedded in respectively between said first limiting plate and second limiting plate; Described decorative position is in the bottom of said first limiting plate and second limiting plate, and described two Access Divisions are connected on the raised line of said first limiting plate and second limiting plate.
2. according to claim 1 a kind of along the keelson structural member; It is characterized in that; The outboard end of the described low level overlap edge of described installation portion along the keelson main body is connected with the top of described short support edge; The outboard end that a described horizontal high position articulates the limit is connected with the top of said vertical long upholstery border, is connected through a base between described vertical short support edge and the described vertical long upholstery border; A described horizontal low level overlap edge and a described horizontal high position articulate the separated between the upper and lower drop between the limit, form the opening of a side direction.
3. according to claim 2ly a kind ofly it is characterized in that along the keelson structural member a described horizontal low level overlap edge and a described horizontal high position articulate the limit and between the projection line of vertical plane, be provided with the gap.
4. according to claim 1 a kind ofly it is characterized in that along the keelson structural member, the gap that is provided with between the protuberance of the elastic webbing hook plate of said first suspension part along the keelson main body and first limiting plate is the thickness smaller or equal to the sheet material of buckle Plug Division.
5. according to claim 1 a kind of along the keelson structural member; It is characterized in that; The two ends, top of the ornamental portion of said panel and the bottom of described two inlay be respectively for step is connected, and the width of the bottom of the width of said step and said first limiting plate and second limiting plate along the keelson main body is with wide; When with said when the keelson main body is connected, the step at two ends, described ornamental portion top just is resisted against the bottom of said first limiting plate and second limiting plate, described two inlay are embedded between the two limiting plate inwalls of said two suspension parts.
6. according to claim 1 a kind ofly it is characterized in that along the keelson structural member, two Access Divisions of described panel are made up of each symmetrically arranged groove in inlay top respectively; When with said when the keelson main body is connected, the groove of described two Access Divisions is connected to respectively on the raised line that said first limiting plate and the second limiting plate inwall be provided with.
7. according to claim 1 or 6 described a kind ofly it is characterized in that along the keelson structural member, an intilted portion of assigning is upwards respectively extended at top, described two Access Division also symmetry.
8. according to claim 1ly a kind ofly it is characterized in that along the keelson structural member said panel comprises flat panel, the bottom of the ornamental portion of described flat panel is the plane, and both sides are the right angle; During assembling, the bottom of the ornamental portion of said flat panel is concordant with the bottom of said buckle.
9. according to claim 1ly a kind ofly it is characterized in that along the keelson structural member said panel comprises high cam, the bottom of the ornamental portion of described high cam is the plane, and both sides are the right angle, or are the corner cut of symmetry; During assembling, the bottom of the ornamental portion of said high cam surpasses the height of the bottom of said buckle.
10. according to claim 9 a kind ofly it is characterized in that along the keelson structural member also comprises a horizontal reinforcing rib, is arranged in the ornamental portion of said high cam.
CN2010106038470A 2010-12-24 2010-12-24 Edge keel structure Expired - Fee Related CN102071768B (en)

Priority Applications (1)

Application Number Priority Date Filing Date Title
CN2010106038470A CN102071768B (en) 2010-12-24 2010-12-24 Edge keel structure

Applications Claiming Priority (1)

Application Number Priority Date Filing Date Title
CN2010106038470A CN102071768B (en) 2010-12-24 2010-12-24 Edge keel structure

Publications (2)

Publication Number Publication Date
CN102071768A CN102071768A (en) 2011-05-25
CN102071768B true CN102071768B (en) 2012-03-28

Family

ID=44030508

Family Applications (1)

Application Number Title Priority Date Filing Date
CN2010106038470A Expired - Fee Related CN102071768B (en) 2010-12-24 2010-12-24 Edge keel structure

Country Status (1)

Country Link
CN (1) CN102071768B (en)

Families Citing this family (5)

* Cited by examiner, † Cited by third party
Publication number Priority date Publication date Assignee Title
EP3128091B1 (en) * 2014-03-31 2018-11-28 Shanghai Puhe Technology Co., Ltd. Framework unit and framework unit assembly thereof
CN104727478B (en) * 2015-03-21 2017-05-10 浙江移动电气股份有限公司 Two-layer suspension ceiling structure of integrated suspension ceiling and installation method thereof
CN107304592B (en) * 2016-04-20 2023-03-21 北新集团建材股份有限公司 Special-shaped keel and combined keel thereof
CN105971180B (en) * 2016-06-29 2017-05-24 浙江亚厦装饰股份有限公司 Integrated suspended ceiling assembly and assembling method thereof
CN107386574B (en) * 2017-08-08 2024-02-27 傅明 Suspension member and decorative plate assembly

Family Cites Families (7)

* Cited by examiner, † Cited by third party
Publication number Priority date Publication date Assignee Title
CN2402758Y (en) * 2000-01-12 2000-10-25 江苏华东机房(集团)公司 Strip panel member and metal joist using in same
ATE349585T1 (en) * 2002-07-30 2007-01-15 Hunter Douglas Ind Bv PANEL CONSTRUCTION FOR SUSPENDED CEILINGS
US7278243B2 (en) * 2004-07-14 2007-10-09 Worthington Armstrong Venture Molding for suspended panel ceiling
CN100570096C (en) * 2006-09-06 2009-12-16 张慕贞 Track type moveable light steel keel
CN201195903Y (en) * 2008-05-14 2009-02-18 郭启雄 Component ceiling section bar
KR101079376B1 (en) * 2009-05-11 2011-11-02 김원걸 Waterproof Ceiling With Multiple Types Of Structures
CN201915538U (en) * 2010-12-24 2011-08-03 上海构思装饰材料有限公司 Edgewise keel structural component

Also Published As

Publication number Publication date
CN102071768A (en) 2011-05-25

Similar Documents

Publication Publication Date Title
CN102071768B (en) Edge keel structure
CN205557972U (en) Reassembling type corner furred ceiling layer
CN201857685U (en) Aluminum ceiling keel
CN105064588A (en) A brand-new composite suspended ceiling and its installation method
CN201915538U (en) Edgewise keel structural component
CN102102417B (en) Exposed keel structural member
CN103818325A (en) Connecting structure between upper grid border trim strip and front bumper of automobile
CN217027876U (en) Hanging mirror line and hanging mirror line mounting structure
KR101810812B1 (en) Device for Coupling Wall-decoration Boards of an Elevator
CN201310178Y (en) Skirting line
CN103850381A (en) Decorative ceiling structure
CN201915537U (en) Exposed keel structural component
KR200455262Y1 (en) Three-dimensional molding material for interior
CN215167085U (en) Suspended ceiling structure
CN205171795U (en) Cover mounting structure of integrated furred ceiling of fill type
CN203782960U (en) Decorative ceiling structure
CN210238908U (en) Mounting assembly for integrated ceiling
CN212053410U (en) Accessory mounting structure of grid furred ceiling
CN204804139U (en) Brand -new compound furred ceiling
CN201460118U (en) Keel for suspended ceiling
CN202658786U (en) Connecting reinforcement structure between panel and keel
CN210217038U (en) Toilet frame underframe system
CN213359264U (en) Edge folding line and brick assembly for multi-side fixation of brick
CN216864602U (en) Integrated automatic clothes hanger shell
CN204341207U (en) The mounting structure of plaque under a kind of concealed rear side wall

Legal Events

Date Code Title Description
C06 Publication
PB01 Publication
C10 Entry into substantive examination
SE01 Entry into force of request for substantive examination
C14 Grant of patent or utility model
GR01 Patent grant
C17 Cessation of patent right
CF01 Termination of patent right due to non-payment of annual fee

Granted publication date: 20120328

Termination date: 20121224