CN102027892A - Simple trawl fishing system for aquaculture pond - Google Patents
Simple trawl fishing system for aquaculture pond Download PDFInfo
- Publication number
- CN102027892A CN102027892A CN 201010523244 CN201010523244A CN102027892A CN 102027892 A CN102027892 A CN 102027892A CN 201010523244 CN201010523244 CN 201010523244 CN 201010523244 A CN201010523244 A CN 201010523244A CN 102027892 A CN102027892 A CN 102027892A
- Authority
- CN
- China
- Prior art keywords
- trawl
- trawlnet
- pond
- transport vehicle
- steel wire
- Prior art date
- Legal status (The legal status is an assumption and is not a legal conclusion. Google has not performed a legal analysis and makes no representation as to the accuracy of the status listed.)
- Granted
Links
- 238000009360 aquaculture Methods 0.000 title abstract description 8
- 244000144974 aquaculture Species 0.000 title abstract description 8
- 229910000831 Steel Inorganic materials 0.000 claims abstract description 11
- 239000010959 steel Substances 0.000 claims abstract description 11
- 241000251468 Actinopterygii Species 0.000 claims description 9
- 239000004020 conductor Substances 0.000 claims 4
- 241000209094 Oryza Species 0.000 claims 2
- 235000007164 Oryza sativa Nutrition 0.000 claims 2
- 239000002828 fuel tank Substances 0.000 claims 2
- 235000009566 rice Nutrition 0.000 claims 2
- 239000002775 capsule Substances 0.000 claims 1
- 238000010586 diagram Methods 0.000 description 4
- 241000238557 Decapoda Species 0.000 description 2
- 238000000034 method Methods 0.000 description 2
- 239000004677 Nylon Substances 0.000 description 1
- 239000004698 Polyethylene Substances 0.000 description 1
- 230000009286 beneficial effect Effects 0.000 description 1
- 238000009395 breeding Methods 0.000 description 1
- 230000001488 breeding effect Effects 0.000 description 1
- 239000003638 chemical reducing agent Substances 0.000 description 1
- 238000009313 farming Methods 0.000 description 1
- 238000010297 mechanical methods and process Methods 0.000 description 1
- 229920001778 nylon Polymers 0.000 description 1
- -1 polyethylene Polymers 0.000 description 1
- 229920000573 polyethylene Polymers 0.000 description 1
- 230000004083 survival effect Effects 0.000 description 1
Images
Abstract
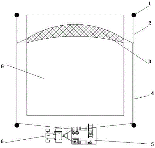
本发明属于渔业工程机械技术领域,一种养殖池塘简易拖网捕捞系统,在池塘(G)长度方向两侧,在前后端各设置一根地桩(1),在每侧前后端的地桩(1)之间分别绷紧一根钢丝导绳(2),网囊(3)的横向两端分别牵引至两侧的钢丝导绳(2)上,且连接在穿入钢丝导绳(2)的套环上,套环由拖网钢丝绳(4)拉拽,两根拖网钢丝绳(4)分别经套置在前端的地桩(1)后合并送入牵引装置(5)中的左、右拖网绞车(53、54),左、右拖网绞车(53、54)由拖拉机(6)供给动力。所述牵引装置(5)还包括设置在拖车上,运行时与池塘(G)长度方向一致的导轨(56)上的运输车(55),运输车(55)的后方设置经导绳滑轮(57)导向的运输车牵引绞车(58)。本发明结构简单,操作方便,拖起鱼网快速,大大节省人力和时间,提高工作效率。
The invention belongs to the technical field of fishery engineering machinery, and relates to a simple trawling system for aquaculture ponds. On both sides of the length direction of the pond (G), one ground pile (1) is arranged at the front and rear ends respectively, and the ground piles (1) at the front and rear ends of each side ) respectively tighten a steel wire guide rope (2), the lateral ends of the mesh bag (3) are pulled to the steel wire guide ropes (2) on both sides respectively, and connected to the wire guide rope (2) On the collar, the collar is pulled by the trawl wire rope (4), and the two trawl wire ropes (4) are combined and sent to the left and right trawl winches in the traction device (5) after being sleeved on the ground pile (1) at the front end respectively. (53,54), left and right trawl winches (53,54) are powered by tractor (6). Described traction device (5) also comprises being arranged on the trailer, transport vehicle (55) on the guide rail (56) consistent with pond (G) length direction during operation, the rear of transport vehicle (55) is provided with via guide rope pulley ( 57) Guided transporter traction winch (58). The invention has the advantages of simple structure, convenient operation, fast pulling up of the fishing net, greatly saving manpower and time, and improving work efficiency.
Description
技术领域technical field
本发明属于渔业工程机械技术领域,具体涉及一种用于养殖池塘拖网捕捞的装置系统。The invention belongs to the technical field of fishery engineering machinery, and in particular relates to a device system for trawl fishing in aquaculture ponds.
背景技术Background technique
池塘养殖起网是一种在池塘中拖拉鱼网,从而捕获上市规格产品的方法。鱼网可以是一个简单的拖网或是一个特别为此目的制作的网具,通常使用聚乙烯或尼龙线并配有浮漂、吊锤,有时还附有一个网囊。所使用的拖网的尺寸要根据用于作业的池塘大小、水的深浅而定。一般高度为2.5-9米,长度相当于池塘宽度1.6倍的网具。所选择的网目应根据销售产品的规格来定,适用的网目规格为1-5厘米。Pond farming netting is a method of hauling nets in ponds to catch market-sized product. A fishing net can be a simple trawl net or a specially made net for the purpose, usually using polyethylene or nylon line and equipped with floats, drop hammers and sometimes a mesh pocket. The size of the trawl used depends on the size and depth of the pond used for the operation. The general height is 2.5-9 meters, and the length is equivalent to 1.6 times the width of the pond. The selected mesh should be determined according to the specifications of the products sold, and the applicable mesh size is 1-5 cm.
拖网的底部保持拖在池塘的底部。如果不这样做,许多鱼虾便将从网下溜走。最好沿池塘的长边拖网,一般使用宽度最大为50米的长方形池塘,从而可以沿两岸拖拉网的两头。The bottom of the trawl remains dragged over the bottom of the pond. If this is not done, many fish and shrimp will slip through the net. It is best to trawl along the long sides of the pond, generally using rectangular ponds with a maximum width of 50 m, so that both ends of the net can be trawled along the banks.
现有技术拖网是采用人工,进行拖网作业的人数越多,效率就越高,3至5个人可以在30米宽的池塘进行拉网作业,而7至10人可以应付一个宽50米的池塘。用单网在一个0.2公顷大的养殖池塘中进行捕大留小,需要3到4个人,耗时大约2-3小时。Trawling in the prior art is manual, and the more people who carry out the trawl operation, the higher the efficiency. 3 to 5 people can pull the net in a pond with a width of 30 meters, and 7 to 10 people can handle a pond with a width of 50 meters. . It takes about 2-3 hours for 3 to 4 people to catch the big and keep the small in a 0.2-hectare breeding pond with a single net.
也有池塘养殖在起网时,需要8-10人,需要花费大量起网时间0.5-1个小时,此类人工起网的方式效率较低,这对于小成本的池塘养殖来说,占用成本较高。There are also pond cultures that need 8-10 people when raising the nets, and it takes a lot of time to raise the nets for 0.5-1 hour. high.
发明内容Contents of the invention
本发明的目的是提供一种机械方式进行起网,使用人工少,时间短,提高工作效率,也提高打捞捕获水产的成活率、新鲜度。The purpose of the present invention is to provide a mechanical method for lifting nets, which uses less labor and takes less time, improves work efficiency, and improves the survival rate and freshness of salvaged and caught aquatic products.
本发明的目的由如下技术方案实现:The purpose of the present invention is achieved by the following technical solutions:
一种养殖池塘简易拖网捕捞系统,其特征在于:A simple trawling system for aquaculture ponds, characterized in that:
在池塘长度方向两侧,在前后端各设置一根地桩,在每侧前后端的地桩之间分别绷紧一根钢丝导绳,网囊的横向两端分别牵引至两侧的钢丝导绳上,且连接在穿入钢丝导绳的套环上,套环由拖网钢丝绳拉拽,两根拖网钢丝绳分别经套置在前端的地桩后合并送入牵引装置中的左、右拖网绞车,左、右拖网绞车由拖拉机供给动力。On both sides of the length direction of the pond, set a ground pile at the front and rear ends respectively, and tighten a steel wire guide rope between the ground piles at the front and rear ends of each side, and the lateral ends of the mesh bag are respectively pulled to the steel wire guide ropes on both sides and connected to the collar that penetrates the steel wire guide rope, the collar is pulled by the trawl wire rope, and the two trawl wire ropes are respectively sleeved on the ground pile at the front end and then combined and sent to the left and right trawl winches in the traction device. The left and right trawl winches are powered by the tractor.
进一步,所述地桩为母桩与子桩接插结构,母桩固定在地表,上有活动盖板,子桩可插入和拔出拆卸。Further, the ground pile is a socket structure of a female pile and a sub-pile, the female pile is fixed on the ground surface and has a movable cover plate, and the sub-pile can be inserted and pulled out for disassembly.
进一步,所述牵引装置还包括设置在拖车上,运行时与池塘长度方向一致导轨上的运输车,运输车的后方设置经导绳滑轮导向的运输车牵引绞车。Further, the traction device also includes a transport vehicle arranged on the trailer, running on a guide rail consistent with the length direction of the pond, and a transport vehicle traction winch guided by a guide rope pulley is arranged behind the transport vehicle.
进一步,所述牵引装置还包括油箱,经吸油滤油器、齿轮泵供给手动多路换向阀,手动多路换向阀对左、右拖网绞车和运输车牵引绞车提供压力油;拖拉机驱动齿轮泵。Further, the traction device also includes an oil tank, which is supplied to the manual multi-way reversing valve through the oil suction filter and the gear pump, and the manual multi-way reversing valve provides pressure oil to the left and right trawl winches and the traction winch of the transport vehicle; the tractor drives the gear Pump.
进一步,所述池塘的长度为20-100米,宽度为20-50米。Further, the pond has a length of 20-100 meters and a width of 20-50 meters.
本发明液压拖网捕捞系统,用于养殖池塘起网,该起网系统包括拖拉机(用于提供动力以及运输),齿轮泵,多路手动换向阀,摆线绞车,拖网等。拖拉机提供动力带动齿轮泵供油,液压绞车拉动拖网完成鱼群的围捕、起网等工作。The hydraulic trawl fishing system of the present invention is used for lifting nets in aquaculture ponds. The net lifting system includes a tractor (for power supply and transportation), a gear pump, a multi-way manual reversing valve, a cycloidal winch, and a trawl net. The tractor provides power to drive the gear pump to supply oil, and the hydraulic winch pulls the trawl net to complete the work of rounding up fish schools and lifting the net.
本发明的优越性和有益效果,本发明提供了一种灵活,易于操作,可靠性高的拖网系统,只要一台拖拉机作为动力,既可以作水产鱼虾的运输,又可以作为池塘拖网起鱼的动力,结构简单,操作方便,拖起鱼网快速,大大节省人力和时间,提高工作效率。The advantages and beneficial effects of the present invention, the present invention provides a flexible, easy-to-operate, high-reliability trawling system, as long as a tractor is used as the power, it can not only be used for the transportation of aquatic fish and shrimp, but also can be used as a pond trawling net to pick up fish Power, simple structure, easy operation, quick to pull up the fishing net, greatly saving manpower and time, and improving work efficiency.
附图说明Description of drawings
图1为本发明养殖池塘简易拖网捕捞系统的一实施例,配置在池塘周边的结构示意图;Fig. 1 is an embodiment of the simple and easy trawling system for aquaculture ponds of the present invention, a schematic diagram of the structure configured on the periphery of the pond;
图2为本发明养殖池塘简易拖网捕捞系统的一实施例中拖拉机及牵引装置的配置示意图;Fig. 2 is the disposition schematic diagram of tractor and traction device in an embodiment of the simple and easy trawling system of aquaculture pond of the present invention;
图3为本发明一实施例液压系统部分的配置结构示意图;Fig. 3 is a schematic diagram of the configuration structure of the hydraulic system part according to an embodiment of the present invention;
图4为本发明一实施例地桩部分的配置结构示意图。Fig. 4 is a schematic diagram of the configuration structure of the ground pile part according to an embodiment of the present invention.
图中1是地桩,10是子桩,11是母桩,2是钢丝导绳,3是网囊,4是拖网钢丝绳,5是牵引装置,51是齿轮泵,52是油箱,53是左/右拖网绞车,54是右/左拖网绞车,55是运输车,56是导轨,57是导绳滑轮,58是运输车牵引绞车,59是液压系统,59a是吸油滤油器,59b是快换接头,59d是压力表,59e是手动多路换向阀,59f是单向节流阀,59g减速器,59h是安全阀,59i是回油滤油器,6是拖拉机,G是池塘。In the figure, 1 is a ground pile, 10 is a sub-pile, 11 is a mother pile, 2 is a wire guide rope, 3 is a mesh bag, 4 is a trawl wire rope, 5 is a traction device, 51 is a gear pump, 52 is an oil tank, and 53 is a left /Right trawl winch, 54 is right/left trawl winch, 55 is transport vehicle, 56 is guide rail, 57 is guide rope pulley, 58 is traction winch of transport vehicle, 59 is hydraulic system, 59a is oil suction filter, 59b is fast Change joints, 59d is a pressure gauge, 59e is a manual multi-way reversing valve, 59f is a one-way throttle valve, 59g is a reducer, 59h is a safety valve, 59i is an oil return filter, 6 is a tractor, and G is a pond.
具体实施方式Detailed ways
以下结合附图,对本发明的技术方案作详细说明。The technical solution of the present invention will be described in detail below in conjunction with the accompanying drawings.
一种养殖池塘简易拖网捕捞系统,A simple trawling system for aquaculture ponds,
在池塘G长度方向两侧,在前后端各设置一根地桩1,在每侧前后端的地桩1之间分别绷紧一根钢丝导绳2,网囊3的横向两端分别牵引至两侧的钢丝导绳2上,且连接在穿入钢丝导绳2的套环上,网囊3绳端接有活扣,可方便拆卸,套环由拖网钢丝绳4拉拽,两根拖网钢丝绳4分别经套置在前端的地桩1后合并送入牵引装置5中的左、右拖网绞车53、54,左、右拖网绞车53、54由拖拉机6供给动力。On both sides of the length direction of the pond G, a
当拖拉机6启动,左、右拖网绞车53、54转动,网囊3的横向两端分别由拖网钢丝绳4拉拽向前慢慢收紧。只需要一台拖拉机6便能实现网囊3的拖网作业。When
所述地桩1为母桩11与子桩10接插结构,母桩固定在地表,上有活动盖板,子桩10可插入和拔出拆卸。母桩11钉死在地表,稍露出地表,不工作时,用盖板盖住,防止雨水进入,子桩10可拆卸,使用时,穿进母桩11中即可,工作完毕从母桩11中取出,连同钢丝导绳一并放置拖车上。The
所述牵引装置5还包括设置在拖车上,运行时与池塘G长度方向一致的导轨56上的运输车55,运输车55的后方设置经导绳滑轮57导向的运输车牵引绞车58。Described
当网囊3拉拢后,网囊3将捕捞的水产装入运输车55内,启动运输车牵引绞车58,运输车55在导绳滑轮57的导向下沿导轨56移动至拖车上。After
所述牵引装置5还包括油箱52,经吸油滤油器59a、齿轮泵51供给手动多路换向阀59e,手动多路换向阀59e对左、右拖网绞车53、54和运输车牵引绞车58提供压力油;拖拉机6驱动齿轮泵51。所述左、右拖网绞车53、54和运输车牵引绞车58由以上结构、部件配合运行。The
在所述吸油滤油器59a和齿轮泵51之间接入快换接头59b;便于装接,作业。A quick change joint 59b is connected between the oil suction filter 59a and the
在手动多路换向阀59e至油箱52的回路中接入回油滤油器59i;以保持油箱和工作回路中油的干净,保护设备,延长工作寿命。Connect the oil return filter 59i in the circuit from the manual
在油路中接入压力表59d和安全阀59h,确保运行安全。A
所述池塘G的长度为20-100米,宽度为20-50米,本发明适宜的池塘规模。The pond G has a length of 20-100 meters and a width of 20-50 meters, which is a suitable pond scale for the present invention.
Claims (6)
Priority Applications (1)
| Application Number | Priority Date | Filing Date | Title |
|---|---|---|---|
| CN201010523244A CN102027892B (en) | 2010-10-28 | 2010-10-28 | A simple trawling system for aquaculture ponds |
Applications Claiming Priority (1)
| Application Number | Priority Date | Filing Date | Title |
|---|---|---|---|
| CN201010523244A CN102027892B (en) | 2010-10-28 | 2010-10-28 | A simple trawling system for aquaculture ponds |
Publications (2)
| Publication Number | Publication Date |
|---|---|
| CN102027892A true CN102027892A (en) | 2011-04-27 |
| CN102027892B CN102027892B (en) | 2012-09-19 |
Family
ID=43881775
Family Applications (1)
| Application Number | Title | Priority Date | Filing Date |
|---|---|---|---|
| CN201010523244A Expired - Fee Related CN102027892B (en) | 2010-10-28 | 2010-10-28 | A simple trawling system for aquaculture ponds |
Country Status (1)
| Country | Link |
|---|---|
| CN (1) | CN102027892B (en) |
Cited By (9)
| Publication number | Priority date | Publication date | Assignee | Title |
|---|---|---|---|---|
| CN102405864A (en) * | 2011-10-18 | 2012-04-11 | 中国水产科学研究院淡水渔业研究中心 | Pond for improving carp catching rate |
| CN102630654A (en) * | 2012-04-17 | 2012-08-15 | 中国水产科学研究院淡水渔业研究中心 | Efficient labor-saving pond fishing device |
| CN104839102A (en) * | 2015-05-25 | 2015-08-19 | 李成启 | Semi-mechanized large-scale seafood capturing device |
| CN104855344A (en) * | 2015-05-22 | 2015-08-26 | 李成启 | Semi-mechanization marine product catching device based on small ship |
| CN108353857A (en) * | 2018-04-05 | 2018-08-03 | 陈明光 | A kind of intelligence fishery drawing device and its working method |
| CN108812565A (en) * | 2018-07-09 | 2018-11-16 | 苏州市申航生态科技发展股份有限公司 | A kind of flowing water pool fish-catching apparatus |
| CN109937915A (en) * | 2019-04-04 | 2019-06-28 | 颜安满 | Draw net structure for aquaculture |
| CN112931429A (en) * | 2021-02-05 | 2021-06-11 | 福建省华渔生态科技有限公司 | Fishing device for pond fish culture |
| CN116803258A (en) * | 2023-08-03 | 2023-09-26 | 浙江省农业科学院 | Pond culture fishing device |
Citations (5)
| Publication number | Priority date | Publication date | Assignee | Title |
|---|---|---|---|---|
| GB318100A (en) * | 1928-08-27 | 1930-10-15 | Robert James Dunn | Improvements in means for the hauling of excavating and other machinery |
| US3553879A (en) * | 1969-06-18 | 1971-01-12 | Us Interior | Seine tow bar |
| US4509285A (en) * | 1982-06-02 | 1985-04-09 | Smith C Bruce | Aquaculture harvester |
| CN2421202Y (en) * | 2000-04-28 | 2001-02-28 | 夏卫星 | Soil shovelling transporting cable car |
| CN201395053Y (en) * | 2009-05-08 | 2010-02-03 | 黄树生 | Automobile hydraulic transmission automatic lifting in-situ upender |
-
2010
- 2010-10-28 CN CN201010523244A patent/CN102027892B/en not_active Expired - Fee Related
Patent Citations (5)
| Publication number | Priority date | Publication date | Assignee | Title |
|---|---|---|---|---|
| GB318100A (en) * | 1928-08-27 | 1930-10-15 | Robert James Dunn | Improvements in means for the hauling of excavating and other machinery |
| US3553879A (en) * | 1969-06-18 | 1971-01-12 | Us Interior | Seine tow bar |
| US4509285A (en) * | 1982-06-02 | 1985-04-09 | Smith C Bruce | Aquaculture harvester |
| CN2421202Y (en) * | 2000-04-28 | 2001-02-28 | 夏卫星 | Soil shovelling transporting cable car |
| CN201395053Y (en) * | 2009-05-08 | 2010-02-03 | 黄树生 | Automobile hydraulic transmission automatic lifting in-situ upender |
Cited By (11)
| Publication number | Priority date | Publication date | Assignee | Title |
|---|---|---|---|---|
| CN102405864A (en) * | 2011-10-18 | 2012-04-11 | 中国水产科学研究院淡水渔业研究中心 | Pond for improving carp catching rate |
| CN102630654A (en) * | 2012-04-17 | 2012-08-15 | 中国水产科学研究院淡水渔业研究中心 | Efficient labor-saving pond fishing device |
| CN104855344A (en) * | 2015-05-22 | 2015-08-26 | 李成启 | Semi-mechanization marine product catching device based on small ship |
| CN104839102A (en) * | 2015-05-25 | 2015-08-19 | 李成启 | Semi-mechanized large-scale seafood capturing device |
| CN108353857A (en) * | 2018-04-05 | 2018-08-03 | 陈明光 | A kind of intelligence fishery drawing device and its working method |
| CN108353857B (en) * | 2018-04-05 | 2020-11-10 | 绍兴纤逸纺织科技有限公司 | An intelligent fishing net pulling device and its working method |
| CN108812565A (en) * | 2018-07-09 | 2018-11-16 | 苏州市申航生态科技发展股份有限公司 | A kind of flowing water pool fish-catching apparatus |
| CN109937915A (en) * | 2019-04-04 | 2019-06-28 | 颜安满 | Draw net structure for aquaculture |
| CN109937915B (en) * | 2019-04-04 | 2024-01-09 | 颜安满 | Net pulling structure for aquaculture |
| CN112931429A (en) * | 2021-02-05 | 2021-06-11 | 福建省华渔生态科技有限公司 | Fishing device for pond fish culture |
| CN116803258A (en) * | 2023-08-03 | 2023-09-26 | 浙江省农业科学院 | Pond culture fishing device |
Also Published As
| Publication number | Publication date |
|---|---|
| CN102027892B (en) | 2012-09-19 |
Similar Documents
| Publication | Publication Date | Title |
|---|---|---|
| CN102027892B (en) | A simple trawling system for aquaculture ponds | |
| CN107580865B (en) | A kind of kelp harvesting and sorting method and robot | |
| KR101438992B1 (en) | Management device of long-line type cage for abalone and refloat method thereby | |
| CN202722041U (en) | Kelp harvesting device | |
| CN106719492A (en) | A kind of pair of ship is worked continuously and moldeed depth sea shellfish collection system and its fishes method | |
| CN102835360A (en) | Pond culture laser-assisted capturing device and capturing method | |
| CN204681899U (en) | A kind of pay-off of boat for harvesting | |
| CN202504055U (en) | Pond fish catching net box | |
| CN108901956A (en) | Mechanization structure and laying collecting method suitable for the cultivation of oyster raft posture | |
| CN111109211A (en) | Fishing gear | |
| CN203563568U (en) | Shrimp and crab temporary rearing and automatic fishing device | |
| CN209002629U (en) | A kind of live fish transfer device between breeding ship and live fish carrier | |
| CN202340436U (en) | Water plant mowing equipment for ship | |
| CN202211089U (en) | Shellfish harvester | |
| CN102630654A (en) | Efficient labor-saving pond fishing device | |
| CN204762920U (en) | A equipment for excavating razor clam | |
| CN210470679U (en) | Lifting type net cage for temporarily breeding edible river crabs | |
| CN207794053U (en) | Cloth bag sand-protecting barrier lays device | |
| CN205973994U (en) | Benthophyte plants net | |
| CN211832480U (en) | Fishing gear | |
| CN117016461A (en) | Breed storehouse and use breed worker's ship in this breed storehouse with fish device is caught up with in lift | |
| CN212728503U (en) | Small-size reservoir fixed semi-automatic visual fishing device | |
| CN204426401U (en) | A kind of Square Net-cage gathers in the crops special fishing net | |
| CN205161629U (en) | Cage fish culture's quick fishing device | |
| CN216392723U (en) | Mud flat shellfish buries formula collection system of perching |
Legal Events
| Date | Code | Title | Description |
|---|---|---|---|
| C06 | Publication | ||
| PB01 | Publication | ||
| C10 | Entry into substantive examination | ||
| SE01 | Entry into force of request for substantive examination | ||
| C14 | Grant of patent or utility model | ||
| GR01 | Patent grant | ||
| C17 | Cessation of patent right | ||
| CF01 | Termination of patent right due to non-payment of annual fee |
Granted publication date: 20120919 Termination date: 20131028 |
