CN102009576B - Single trailing arm suspension deceleration type wheel electric drive system - Google Patents
Single trailing arm suspension deceleration type wheel electric drive system Download PDFInfo
- Publication number
- CN102009576B CN102009576B CN 201010567793 CN201010567793A CN102009576B CN 102009576 B CN102009576 B CN 102009576B CN 201010567793 CN201010567793 CN 201010567793 CN 201010567793 A CN201010567793 A CN 201010567793A CN 102009576 B CN102009576 B CN 102009576B
- Authority
- CN
- China
- Prior art keywords
- wheel
- arm suspension
- motor
- hub
- trailing arm
- Prior art date
- Legal status (The legal status is an assumption and is not a legal conclusion. Google has not performed a legal analysis and makes no representation as to the accuracy of the status listed.)
- Expired - Fee Related
Links
Images
Landscapes
- Arrangement Or Mounting Of Propulsion Units For Vehicles (AREA)
Abstract
本发明公开了一种单纵臂悬架减速式轮边电驱动系统,A字形单纵臂悬架摆臂通过滑动轴承和滑动轴承盖支承在电机轴两端上,单纵臂悬架摆臂与车轴的一端连接,车轴的另一端通过轮毂轴承与轮毂联接,轮毂、轮辋和制动鼓由螺栓固接在一起;小齿轮通过平键安装在电机输出轴上,大齿轮由数个螺栓将其安装在制动鼓上,并与小齿轮啮合。本发明的优点是紧凑简洁、传动效率高,各轮的驱动力独立可控,有利于提高车辆的操稳性、舒适性。
The invention discloses a single trailing arm suspension deceleration wheel side electric drive system. The A-shaped single trailing arm suspension swing arm is supported on both ends of the motor shaft through a sliding bearing and a sliding bearing cover. The single trailing arm suspension swing arm It is connected to one end of the axle, and the other end of the axle is connected to the hub through the hub bearing. The hub, rim and brake drum are fixed together by bolts; the small gear is installed on the output shaft of the motor through a flat key, and the large gear is fixed by several bolts. It is mounted on the brake drum and meshes with the pinion. The invention has the advantages of compactness and simplicity, high transmission efficiency, and independent controllable driving force of each wheel, which is beneficial to improve the stability and comfort of the vehicle.
Description
技术领域 technical field
本发明涉及电动汽车的驱动系统,特别涉及一种单纵臂悬架减速式轮边电驱动系统。 The present invention relates to a drive system of an electric vehicle, in particular to a single trailing arm suspension deceleration wheel side electric drive system.
背景技术 Background technique
电动汽车按照电机驱动车轮方式的不同方式可分为集中电机驱动形式与电动轮驱动形式。集中电机驱动形式动力传递一般经过减速器,差速器,传动轴,万向节等机械装置传递至驱动轮。这种驱动形式结构复杂,传动效率低,无法实现车轮的独立控制。 Electric vehicles can be divided into centralized motor drive form and electric wheel drive form according to different modes of motor drive wheels. The power transmission in the form of centralized motor drive is generally transmitted to the drive wheels through mechanical devices such as reducers, differentials, drive shafts, and universal joints. This type of drive has a complex structure, low transmission efficiency, and cannot achieve independent control of the wheels.
电动轮驱动形式则将电机直接安装于驱动轮,驱动系统和整车结构简洁、传动效率高,各电动轮的驱动力矩也可以独立控制,有利于提高恶劣路面条件下的行驶性能。电动轮驱动所用电机主要分为高速内转子电机和低速外转子电机。高速内转子电机体积小、质量轻、成本低功率密度高,但一般须经安装于轮内的行星齿轮减速器减速后将动力传递到车轮上;外转子电机可提供较高转矩直接驱动车轮,机构简单,但它自身的体积大,质量大,功率密度低。因此无论是高速内转子还是低速外转子电机驱动的电动轮,它们的非簧载质量都比较大,电机尺寸及质量受到很大限制。 In the electric wheel drive mode, the motor is directly installed on the driving wheel. The driving system and the vehicle have a simple structure and high transmission efficiency. The driving torque of each electric wheel can also be controlled independently, which is conducive to improving the driving performance under harsh road conditions. The motors used in electric wheel drives are mainly divided into high-speed inner rotor motors and low-speed outer rotor motors. High-speed inner-rotor motors are small in size, light in weight, low in cost and high in power density, but generally must be decelerated by planetary gear reducers installed inside the wheels to transmit power to the wheels; outer-rotor motors can provide higher torque to directly drive the wheels , the mechanism is simple, but its own volume, mass, and low power density. Therefore, whether it is a high-speed inner rotor or a low-speed outer rotor motor-driven electric wheel, their unsprung mass is relatively large, and the size and quality of the motor are greatly limited.
电动轮传动与集中电机传动相比存在较大优势,但不足也很明显。 Compared with the centralized motor drive, the electric wheel transmission has great advantages, but the disadvantages are also obvious.
发明内容 Contents of the invention
本发明所要解决的技术问题是要提供一种减小非簧载质量,结构紧凑简洁,传动效率高的单纵臂悬架减速式轮边电驱动系统。本发明利用单纵臂悬架在汽车侧向平面内摆动,将车轮滚动中心轴线与电机输出轴线平行地布置于该单纵臂悬架两端,以使得在悬架摆动过程中,车轮滚动中心轴线与电机输出轴线平行且距离不变。这样电机与车轮之间的动力传递可以为一对齿轮、一对带轮或者一对链轮传动。此外通过设置齿数比,还能起到减速增扭的作用。本发明可用于非转向轮的减速式轮边驱动,在两后轮驱动时,左右各使用一套本系统。 The technical problem to be solved by the present invention is to provide a single trailing arm suspension deceleration wheel side electric drive system with reduced unsprung mass, compact and simple structure and high transmission efficiency. In the present invention, the single trailing arm suspension is used to swing in the lateral plane of the vehicle, and the rolling center axis of the wheel is arranged at both ends of the single trailing arm suspension in parallel with the output axis of the motor, so that during the swinging process of the suspension, the rolling center of the wheel The axis is parallel to the output axis of the motor and the distance is constant. The power transmission between the motor and the wheels can be a pair of gears, a pair of pulleys or a pair of sprocket transmissions. In addition, by setting the gear ratio, it can also play the role of deceleration and torque increase. The present invention can be used for the deceleration wheel side drive of non-steering wheels, and when the two rear wheels are driven, one set of the system is used on the left and right sides.
为了解决以上的技术问题,本发明提供了一种单纵臂悬架减速式轮边电驱动系统,A字形单纵臂悬架摆臂通过滑动轴承和滑动轴承盖支承在电机轴两端上,单纵臂悬架摆臂与车轴的一端连接,车轴的另一端通过轮毂轴承与轮毂联接,轮毂、轮辋和制动鼓由螺栓固接在一起;小齿轮通过平键安装在电机输出轴上,大齿轮由数个螺栓将其安装在制动鼓上,并与小齿轮啮合,使车轮滚动中心轴线与电机输出轴轴线平行且距离不变。 In order to solve the above technical problems, the present invention provides a single trailing arm suspension deceleration wheel side electric drive system, the A-shaped single trailing arm suspension swing arm is supported on both ends of the motor shaft through sliding bearings and sliding bearing covers, The swing arm of the single trailing arm suspension is connected to one end of the axle, and the other end of the axle is connected to the hub through the hub bearing. The hub, rim and brake drum are fixed together by bolts; the pinion is installed on the output shaft of the motor through a flat key. The large gear is installed on the brake drum by several bolts, and meshes with the pinion, so that the center axis of wheel rolling is parallel to the axis of the output shaft of the motor and the distance is constant.
滑动轴承的电机外壳处分别设有一凸肩,滑动轴承的两端也设有凸肩,限制了单纵臂悬架摆臂沿其轴向移动,即限制了车轮的侧向移动传来的侧向力。 The motor casing of the sliding bearing is respectively provided with a shoulder, and the two ends of the sliding bearing are also provided with a shoulder, which limits the axial movement of the swing arm of the single trailing arm suspension, that is, limits the lateral movement of the wheel. Xiangli.
本发明的单纵臂悬架摆臂与车轴的一端连接,通过电机两端的滑动轴承安装于电机的外壳上,也即电机的输出轴轴线与单纵臂悬架的摆动中心轴线重合,轮辋通过轮毂轴承支承于车轴上,即车轮滚动中心轴线与车轴轴线重合。因此,当车轮跳动时,电机输出轴轴线与车轮滚动中心轴线始终保持平行且距离不变。 The swing arm of the single trailing arm suspension of the present invention is connected to one end of the axle, and is installed on the casing of the motor through the sliding bearings at both ends of the motor, that is, the axis of the output shaft of the motor coincides with the swing center axis of the single trailing arm suspension, and the rim passes through The hub bearing is supported on the axle, that is, the center axis of wheel rolling coincides with the axis of the axle. Therefore, when the wheel is beating, the axis of the motor output shaft and the rolling center axis of the wheel are always parallel and the distance remains unchanged.
单纵臂悬架摆臂通过电机两端的滑动轴承支承于电机壳的前后两端,因电机轴向具有一定的尺寸,从而使得单纵臂悬架摆臂的摆臂部分,也即A型臂部分具有一定的跨距,当滑动轴承与轴存有一定间隙情况下,较大的跨距引起的车轴-单纵臂悬架摆臂在汽车水平面的转动较小,且A型臂的结构提高悬架承受侧向力的刚度。以上两个因素将减少因悬架在水平面内微转及侧向形变对传动系统的干涉。同时这种结构方式结构紧凑,避免了与电机轴之间的结构干涉。 The swing arm of the single trailing arm suspension is supported on the front and rear ends of the motor housing through the sliding bearings at both ends of the motor. Because the motor has a certain size in the axial direction, the swing arm part of the single trailing arm suspension, that is, the A type The arm part has a certain span. When there is a certain gap between the sliding bearing and the shaft, the larger span causes the axle-single trailing arm suspension swing arm to rotate less in the horizontal plane of the car, and the structure of the A-arm Increase the stiffness of the suspension against lateral forces. The above two factors will reduce the interference on the transmission system due to the slight rotation of the suspension in the horizontal plane and the lateral deformation. At the same time, this structure is compact and avoids structural interference with the motor shaft.
本发明的制动系统可以使用盘式制动或者鼓式制动。 The brake system of the present invention can use disc brakes or drum brakes.
本发明的优越功效在于:采用减速式轮边电驱动系统,可以使用具备高比功率的高速内转子电机。电机以及部分减速传动部件属于簧载质量,相较于电动轮较大地减小了非簧载质量,同时也保留了其诸多优点。此系统结构紧凑简洁、传动效率高,各轮的驱动力独立可控,有利于提高车辆的操稳性、舒适性。 The superior efficacy of the present invention lies in that a high-speed inner-rotor motor with high specific power can be used by adopting a reduction-type wheel-side electric drive system. The motor and some deceleration transmission parts belong to the sprung mass, which greatly reduces the unsprung mass compared with the electric wheel, and at the same time retains many of its advantages. This system has a compact and simple structure, high transmission efficiency, and the driving force of each wheel is independently controllable, which is conducive to improving the stability and comfort of the vehicle.
附图说明 Description of drawings
图1为本发明的结构示意图; Fig. 1 is a structural representation of the present invention;
图2为本发明采用齿轮传动的原理示意图; Fig. 2 is the principle schematic diagram that the present invention adopts gear transmission;
图3为本发明采用带/链传动的原理示意图; Fig. 3 is the schematic diagram of the principle that the present invention adopts belt/chain transmission;
图中标号说明 Explanation of symbols in the figure
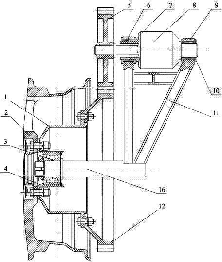
1—制动鼓; 2—轮辋; 1—brake drum; 2—wheel rim;
3—轮毂轴承; 4—轮毂; 3—wheel bearing; 4—wheel hub;
5—小齿轮; 6—滑动轴承盖C; 5—pinion; 6—sliding bearing cover C;
7—滑动轴承A; 8—电机; 7—sliding bearing A; 8—motor;
9—滑动轴承盖D; 10—滑动轴承B; 9—sliding bearing cover D; 10—sliding bearing B;
11—单纵臂悬架摆臂; 12—大齿轮; 11—single trailing arm suspension arm; 12—big gear;
13—小带轮/小链轮; 14—大带轮/大链轮; 13—small pulley/small sprocket; 14—large pulley/large sprocket;
15—传动带/传动链; 16—车轴。 15—drive belt/drive chain; 16—axle.
具体实施方式 Detailed ways
请参阅附图所示,对本发明作进一步的描述。 Please refer to the accompanying drawings for a further description of the present invention.
如图1所示,本发明对采用齿轮传动方式且配备鼓式制动器进行实例说明,其他传动方式及配备盘式制动器的系统只需在此基础上稍作修改,这里不作具体阐述。 As shown in Fig. 1 , the present invention uses a gear transmission mode and is equipped with a drum brake as an example. Other transmission modes and systems equipped with disc brakes only need to be slightly modified on this basis, and will not be elaborated here.
如图1所示,小齿轮5通过平键安装于电机输出轴,大齿轮12通过与小齿轮5啮合获得动力。大齿轮12由数个螺栓将其安装于制动鼓1上,制动鼓1、轮毂4和轮辋2由螺栓固定在一起,这样大齿轮12便可驱动车轮。轮毂4的内圈支承于轮毂轴承3的外圈,轮毂轴承3的内圈支承于车轴16和单纵臂悬架摆臂11的车轴部分。轮毂轴承3通过止退螺母、车轴16和单纵臂悬架摆臂11上的凸肩、轮毂4的凸肩和孔用弹性挡圈定位安装。
As shown in FIG. 1 , the pinion 5 is installed on the output shaft of the motor through a flat key, and the
电机8通过弹性橡胶铰连接于车架。电机8两端的外壳制成圆柱形且其中心线与电机8输出轴轴线重合。车轴16和单纵臂悬架摆臂11的摆臂部分与轴承盖6C、9D通过螺栓连接,形成一个内环支承于滑动轴承7A、10B的外圈,滑动轴承7A、10B内圈支承于电机壳的前后圆柱形位置处,因电机轴向具有一定的尺寸,故车轴16和单纵臂悬架摆臂11的摆臂部分形成A字形,A字形底部具有一定的跨距,该跨距使得因轴承与轴存有一定间隙时悬架在水平面内的微转减小,同时增加了悬架承受侧向力的刚度,降低了悬架在水平面内转动及形变对小齿轮5、大齿轮12传动产生的干涉影响,同时结构紧凑,避免了与电机轴之间的结构干涉。用于安装滑动轴承7A、10B的电机外壳处分别设有一凸肩,滑动轴承7A、10B的两端也设有凸肩,从而限制了车轴16和单纵臂悬架摆臂11沿其轴向移动,通过这种方式限制了车轮的侧向移动,承受了车轮传递过来的侧向力。
Motor 8 is connected to vehicle frame by elastic rubber hinge. The shell at two ends of the motor 8 is made into a cylindrical shape and its centerline coincides with the axis of the output shaft of the motor 8 . The
此外车轴16和单纵臂悬架摆臂11中,车轴轴线与摆臂旋转中心轴线平行,保证了在车轮跳动过程中车轮滚动中心轴线与电机输出轴轴线始终平行且距离不变。这样,小齿轮5与大齿轮12就能始终啮合。如图2所示,电机8将动力传递给小齿轮5,大齿轮12与小齿轮5啮合以获得动力,进而驱动车轮。
In addition, in the
在本实施例中,电机8、小齿轮5均属于簧载质量。 In this embodiment, both the motor 8 and the pinion 5 are sprung masses.
在本实施例中,弹簧可以选择扭杆弹簧或者螺旋弹簧。 In this embodiment, the spring can be a torsion bar spring or a coil spring.
如图3所示,本发明的传动系统采用带/链传动方式,固定于车架上的电机8将动力传递给小带轮/小链轮13,该小带轮/小链轮13通过传动带/传动链15驱动大带轮/大链轮14转动,进而驱动车轮。
As shown in Figure 3, transmission system of the present invention adopts belt/chain transmission mode, and the motor 8 that is fixed on the vehicle frame transmits power to small pulley/
Claims (2)
Priority Applications (1)
| Application Number | Priority Date | Filing Date | Title |
|---|---|---|---|
| CN 201010567793 CN102009576B (en) | 2010-12-01 | 2010-12-01 | Single trailing arm suspension deceleration type wheel electric drive system |
Applications Claiming Priority (1)
| Application Number | Priority Date | Filing Date | Title |
|---|---|---|---|
| CN 201010567793 CN102009576B (en) | 2010-12-01 | 2010-12-01 | Single trailing arm suspension deceleration type wheel electric drive system |
Publications (2)
| Publication Number | Publication Date |
|---|---|
| CN102009576A CN102009576A (en) | 2011-04-13 |
| CN102009576B true CN102009576B (en) | 2013-04-17 |
Family
ID=43839984
Family Applications (1)
| Application Number | Title | Priority Date | Filing Date |
|---|---|---|---|
| CN 201010567793 Expired - Fee Related CN102009576B (en) | 2010-12-01 | 2010-12-01 | Single trailing arm suspension deceleration type wheel electric drive system |
Country Status (1)
| Country | Link |
|---|---|
| CN (1) | CN102009576B (en) |
Families Citing this family (12)
| Publication number | Priority date | Publication date | Assignee | Title |
|---|---|---|---|---|
| CN102673365A (en) * | 2012-06-01 | 2012-09-19 | 同济大学 | Hybrid power electric automobile driving system by utilizing synchronous belt transmission |
| CN104890504B (en) * | 2015-06-03 | 2017-04-05 | 同济大学 | A kind of integrated trapezoidal link-type independent suspension speed-reducing type wheel power drive system |
| CN110001381A (en) * | 2019-04-16 | 2019-07-12 | 智导灵(苏州)智能科技有限公司 | A kind of new-energy automobile wheel side separated type drive assembly |
| CN111923721B (en) * | 2019-10-24 | 2022-04-29 | 中国北方车辆研究所 | Single trailing arm in-wheel motor drive module |
| CN111873783B (en) * | 2019-10-24 | 2021-11-23 | 中国北方车辆研究所 | Strengthen heat dissipation type in-wheel motor trailing arm suspension |
| CN111038248A (en) * | 2019-12-24 | 2020-04-21 | 武汉理工大学 | Electric wheel for vehicle and electric vehicle |
| CN111204175A (en) * | 2020-02-20 | 2020-05-29 | 坤泰车辆系统(常州)有限公司 | Suspension system with wheel drive structure |
| CN114312263B (en) * | 2020-09-30 | 2024-07-16 | 比亚迪股份有限公司 | Motor driving structure and automobile |
| GB202102372D0 (en) * | 2021-02-19 | 2021-04-07 | Hughes Thomas | Independent electric drive for low floor vehicles |
| CN113752818B (en) * | 2021-09-10 | 2025-01-28 | 西南交通大学 | A wheel-side motor structure with independent steering and independent driving |
| CN113844214A (en) * | 2021-10-21 | 2021-12-28 | 合肥正浩机械科技有限公司 | Tire cooling structure |
| CN118157390B (en) * | 2024-03-22 | 2024-11-19 | 深圳中菱科技有限公司 | High-torque output device, system and method for external rotor motor |
Family Cites Families (8)
| Publication number | Priority date | Publication date | Assignee | Title |
|---|---|---|---|---|
| US4529223A (en) * | 1982-07-15 | 1985-07-16 | Mazda Motor Corporation | Vehicle rear-suspension mechanism |
| FR2631902B1 (en) * | 1988-05-31 | 1990-09-07 | Andruet Jean Claude | AUTOMOTIVE VEHICLE WITH ELECTRIC PROPULSION |
| JP4225134B2 (en) * | 2003-06-25 | 2009-02-18 | トヨタ自動車株式会社 | Vehicle suspension system |
| JP2005170150A (en) * | 2003-12-09 | 2005-06-30 | Nissan Motor Co Ltd | Wheel motor supporting structure |
| CN2719716Y (en) * | 2004-07-15 | 2005-08-24 | 北京嘉捷源技术开发有限公司 | Driving rear axle for superlow flooring airport ferry vehicle |
| CN2832575Y (en) * | 2005-07-29 | 2006-11-01 | 上海燃料电池汽车动力系统有限公司 | Connecting structure of single longitudinal swing arm, independent suspension, disc type brake and internal rotor electric wheel |
| CN100352709C (en) * | 2005-07-29 | 2007-12-05 | 上海燃料电池汽车动力系统有限公司 | Coupling structure between indendent suspension of single longitudinal swing arm, disc brake and electric drive wheel of external rotor |
| CN101342848B (en) * | 2008-08-15 | 2010-07-14 | 同济大学 | A new type of electric vehicle double trailing arm suspension wheel side drive structure |
-
2010
- 2010-12-01 CN CN 201010567793 patent/CN102009576B/en not_active Expired - Fee Related
Also Published As
| Publication number | Publication date |
|---|---|
| CN102009576A (en) | 2011-04-13 |
Similar Documents
| Publication | Publication Date | Title |
|---|---|---|
| CN102009576B (en) | Single trailing arm suspension deceleration type wheel electric drive system | |
| CN206030979U (en) | Commercial car wheel driving independent suspension device | |
| US20090133944A1 (en) | In-wheel motor system | |
| WO2018038629A1 (en) | Motorized wheel of a vehicle | |
| CN201872602U (en) | Wheel reduction electric wheel having drum brake | |
| CN106347091A (en) | Clutch control type electric drive axle | |
| CN108407601B (en) | A built-in suspension driven by a hub motor and a position-limited transmission electric wheel | |
| CN203401963U (en) | Motor-driven hub reduction system | |
| CN103448537A (en) | Motor-driven hub reduction system | |
| CN102555770B (en) | Speed-reducing wheel-rim driving system using mass of motor as mass of power vibration absorber | |
| CN102529684B (en) | Wheel-side deceleration driving device of equal-length double wishbone suspension | |
| CN101985278B (en) | Reduction type wheel electric drive and vertical jitter type suspension system of electric vehicle | |
| CN102745073B (en) | Integrated single swinging arm suspension synchronous belt reduction type hub electric-drive system with tension device | |
| CN107458221A (en) | A kind of double reduction formula Direct wheel drives system | |
| CN108749554A (en) | With the matched electric automobile hub power drive system of independent suspension | |
| KR20130115956A (en) | Lear suspension mounting structure for an electronic vehicle | |
| CN211054919U (en) | Parallel shaft integrated electric drive axle assembly and vehicle with the same | |
| CN102582417B (en) | Speed-reducing type wheel electric drive system of electric vehicle | |
| CN109278517A (en) | A non-load-bearing independent drive electric axle | |
| CN203543558U (en) | Integrated single-longitudinal-arm suspension wheel side electric-driving system with tensioning mechanism | |
| CN102555772A (en) | Speed reduction type hub driving system with function of power shock absorption | |
| CN111186269A (en) | Integrated symmetric support single-swing-arm suspension wheel side electric driving system | |
| CN117445638A (en) | An omnidirectional two-wheel drive unit | |
| CN206579409U (en) | The overall rear axle of new pure electric automobile | |
| CN216069585U (en) | Coaxial electric drive axle |
Legal Events
| Date | Code | Title | Description |
|---|---|---|---|
| C06 | Publication | ||
| PB01 | Publication | ||
| C10 | Entry into substantive examination | ||
| SE01 | Entry into force of request for substantive examination | ||
| C14 | Grant of patent or utility model | ||
| GR01 | Patent grant | ||
| CF01 | Termination of patent right due to non-payment of annual fee |
Granted publication date: 20130417 |
|
| CF01 | Termination of patent right due to non-payment of annual fee |
