CN101979954B - Measuring tool for measuring arc parts - Google Patents
Measuring tool for measuring arc parts Download PDFInfo
- Publication number
- CN101979954B CN101979954B CN201010518168A CN201010518168A CN101979954B CN 101979954 B CN101979954 B CN 101979954B CN 201010518168 A CN201010518168 A CN 201010518168A CN 201010518168 A CN201010518168 A CN 201010518168A CN 101979954 B CN101979954 B CN 101979954B
- Authority
- CN
- China
- Prior art keywords
- measuring
- ring
- cross bar
- present
- dial gauge
- Prior art date
- Legal status (The legal status is an assumption and is not a legal conclusion. Google has not performed a legal analysis and makes no representation as to the accuracy of the status listed.)
- Expired - Fee Related
Links
Images
Landscapes
- A Measuring Device Byusing Mechanical Method (AREA)
Abstract
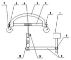
本发明涉及测量工具的技术领域,尤其涉及一种测量圆弧类零件的量具。本发明包括圆环量体,所述圆环量体两端设有千分表座架,在千分表座架上安装有千分表,横杆固定于圆环量体两端,所述横杆上设有高精度水平仪,高精度水平仪放置于横杆上铣出的一凹槽内,所述高精度水平仪连接有圆环部对称调节螺栓和圆环部水平调节螺栓。本发明的结构简单,且容易维护,本发明的结构可做成不同量程的系列,测量范围可覆盖从50mm以上的所有小于180度的圆弧类零件,测量圆弧时方便、快捷,实际操作简单。
The invention relates to the technical field of measuring tools, in particular to a measuring tool for measuring circular arc parts. The present invention comprises a ring measuring body, the two ends of the ring measuring body are provided with a dial gauge mount, a dial indicator is installed on the dial gauge mount, a cross bar is fixed at both ends of the ring measuring body, and the A high-precision level is provided on the crossbar, and the high-precision level is placed in a groove milled out on the crossbar. The high-precision level is connected with a symmetrical adjustment bolt of the ring part and a horizontal adjustment bolt of the ring part. The structure of the present invention is simple and easy to maintain. The structure of the present invention can be made into a series of different measuring ranges. The measuring range can cover all arc parts from 50mm and above and less than 180 degrees. It is convenient and fast to measure the arc, and the actual operation Simple.
Description
技术领域 technical field
本发明涉及一种量具,尤其涉及一种测量圆弧类零件的量具。 The invention relates to a measuring tool, in particular to a measuring tool for measuring arc parts.
背景技术 Background technique
在生产过程中,常遇到圆弧内径的测量问题,特别是针对小于180度圆弧类零件,通常情况下,用普通常规量具都无法测量,或者在测量过程中精度较低等原因,使测量圆弧的尺寸误差很大,严重时不能满足生产需要。 In the production process, we often encounter the problem of measuring the inner diameter of the arc, especially for the arc parts less than 180 degrees. Usually, it cannot be measured with ordinary conventional measuring tools, or the accuracy is low during the measurement process. The size error of the measured arc is very large, and it cannot meet the production needs in severe cases.
发明内容 Contents of the invention
本发明要解决的技术问题是:在测量小于180度圆弧类零件,通常情况下,用普通常规量具都无法测量,或者在测量过程中精度较低等原因,使测量圆弧的尺寸误差很大,严重时不能满足生产需要,提供一种测量圆弧类零件的量具。 The technical problem to be solved by the present invention is: when measuring arc parts less than 180 degrees, under normal circumstances, it cannot be measured with ordinary conventional measuring tools, or the accuracy is low during the measurement process, so that the size error of the measured arc is very large. If it is too large, it cannot meet the production needs in severe cases. A measuring tool for measuring arc parts is provided.
为了克服背景技术中存在的缺陷,本发明解决其技术问题所采用的技术方案是:本发明包括圆环量体,所述圆环量体两端设有千分表座架,在千分表座架上安装有千分表,横杆固定于圆环量体两端,所述横杆上设有高精度水平仪,高精度水平仪放置于横杆上铣出的一凹槽内,所述高精度水平仪连接有圆环部对称调节螺栓和圆环部水平调节螺栓。 In order to overcome the defects existing in the background technology, the technical solution adopted by the present invention to solve its technical problems is: the present invention includes a ring measuring body, and the two ends of the ring measuring body are provided with a dial gauge mount, and the dial gauge A dial indicator is installed on the seat frame, and the cross bar is fixed at both ends of the ring measuring body. A high-precision level is arranged on the cross bar, and the high-precision level is placed in a groove milled on the cross bar. The precision level is connected with a ring part symmetrical adjustment bolt and a ring part horizontal adjustment bolt.
根据本发明的另一个实施例,进一步包括所述千分表座架上安装的千分表由锁紧螺栓固定。 According to another embodiment of the present invention, it further includes that the dial gauge installed on the dial gauge mount is fixed by locking bolts.
根据本发明的另一个实施例,进一步包括所述横杆中心钻一小孔,连接万向杆体。 According to another embodiment of the present invention, it further includes drilling a small hole in the center of the cross bar to connect the universal bar body.
根据本发明的另一个实施例,进一步包括所述万向杆体上连接磁性表座,由螺栓固定连接。 According to another embodiment of the present invention, it further includes that the universal rod body is connected to the magnetic watch base, and is fixedly connected by bolts.
本发明的有益效果是:本发明的结构简单,且容易维护,本发明的结构可做成不同量程的系列,测量范围可覆盖从50mm以上的所有小于180度的圆弧类零件,测量圆弧时方便、快捷,实际操作简单。 The beneficial effects of the present invention are: the structure of the present invention is simple and easy to maintain; the structure of the present invention can be made into a series of different measuring ranges; It is convenient, fast and easy to operate. the
附图说明 Description of drawings
下面结合附图和实施例对本发明进一步说明。 The present invention will be further described below in conjunction with the accompanying drawings and embodiments.
图1是本发明的结构示意图; Fig. 1 is a structural representation of the present invention;
其中: 1、圆环量体,2、横杆,3、千分表座架,4、高精度水平仪,5、锁紧螺栓,6、千分表,7、磁性表座,8、螺栓,9、万向杆体,10、圆环部水平调节螺栓,11、圆环部对称调节螺栓。 Among them: 1. Ring measuring body, 2. Cross bar, 3. Dial gauge mount, 4. High-precision level, 5. Locking bolt, 6. Dial gauge, 7. Magnetic base, 8. Bolt, 9. The universal rod body, 10. The horizontal adjustment bolt of the ring part, and 11. The symmetrical adjustment bolt of the ring part.
具体实施方式 Detailed ways
图1是本发明的结构示意图,图中包括圆环量体1,所述圆环量体1两端设有千分表座架3,在千分表座架3上安装有千分表6,横杆2固定于圆环量体1两端,所述横杆2上设有高精度水平仪4,高精度水平仪4放置于横杆2上铣出的一凹槽内,所述高精度水平仪4连接有圆环部对称调节螺栓11和圆环部水平调节螺栓10。圆环量体1为1/4的圆环,通过圆环直径一致的标准圈,对圆环量体1进行校零位,使千分表6压缩到最大量程,两边千分表6的指针须一致,然后圆环量体1部分装在磁性表座7上,磁性表座7吸附在测量零件的合适位置,圆环量体1圆环头部对准工件圆弧,利用装置上的水平仪粗调水平方向,然后左右摆动,看一边的千分表6精调水平和固定水平,然后旋转装置的圆环部分,使两边千分表6的指针一致,读出表值,对照事先计算好的千分表摆动情况与圆弧所在圆的半径函数变化情况的表格,可得出此时圆弧半径。
Fig. 1 is the structural representation of the present invention, comprises ring measuring body 1 among the figure, and described ring measuring body 1 two ends are provided with dial gauge mount 3, is installed with
所述千分表座架3上安装的千分表6由锁紧螺栓5固定。千分表6可以精调水平和固定水平。
The
所述横杆2中心钻一小孔,连接万向杆体9。万向杆体9用于连接磁性表座7。
A hole is drilled in the center of the
所述万向杆体9上连接磁性表座7,由螺栓8固定连接。工作时磁性表座9可安置于零件各个合适的位置。
The
本发明的结构简单,且容易维护,本发明的结构可做成不同量程的系列,测量范围可覆盖从50mm以上的所有小于180度的圆弧类零件,测量圆弧时方便、快捷,实际操作简单。 The structure of the present invention is simple and easy to maintain. The structure of the present invention can be made into a series of different measuring ranges. The measuring range can cover all arc parts from 50mm and above and less than 180 degrees. It is convenient and fast to measure the arc, and the actual operation Simple.
Claims (4)
Priority Applications (1)
| Application Number | Priority Date | Filing Date | Title |
|---|---|---|---|
| CN201010518168A CN101979954B (en) | 2010-10-25 | 2010-10-25 | Measuring tool for measuring arc parts |
Applications Claiming Priority (1)
| Application Number | Priority Date | Filing Date | Title |
|---|---|---|---|
| CN201010518168A CN101979954B (en) | 2010-10-25 | 2010-10-25 | Measuring tool for measuring arc parts |
Publications (2)
| Publication Number | Publication Date |
|---|---|
| CN101979954A CN101979954A (en) | 2011-02-23 |
| CN101979954B true CN101979954B (en) | 2012-09-05 |
Family
ID=43600472
Family Applications (1)
| Application Number | Title | Priority Date | Filing Date |
|---|---|---|---|
| CN201010518168A Expired - Fee Related CN101979954B (en) | 2010-10-25 | 2010-10-25 | Measuring tool for measuring arc parts |
Country Status (1)
| Country | Link |
|---|---|
| CN (1) | CN101979954B (en) |
Families Citing this family (4)
| Publication number | Priority date | Publication date | Assignee | Title |
|---|---|---|---|---|
| CN102809342B (en) * | 2012-07-09 | 2013-12-11 | 平高集团有限公司 | Aligning mechanism for arc radius measuring device |
| CN102818501B (en) * | 2012-07-09 | 2013-12-11 | 平高集团有限公司 | Arc radius measuring device |
| CN111578823A (en) * | 2020-06-22 | 2020-08-25 | 中铁检验认证中心有限公司 | Device for measuring spherical crown profile, its assembling method and its measuring method |
| CN112697026B (en) * | 2021-01-13 | 2025-06-24 | 中国葛洲坝集团机械船舶有限公司 | Device and method for measuring the curvature radius of the outer edge of the arc gate panel |
Citations (6)
| Publication number | Priority date | Publication date | Assignee | Title |
|---|---|---|---|---|
| CN2116883U (en) * | 1992-03-25 | 1992-09-23 | 熊建平 | Large-size testing instrument |
| JP2001317907A (en) * | 2000-05-11 | 2001-11-16 | Hitachi Cable Ltd | Multipurpose radius of curvature measuring instrument |
| CN2802437Y (en) * | 2005-05-14 | 2006-08-02 | 张修江 | Radius rule for measuring curve |
| CN201037762Y (en) * | 2007-02-07 | 2008-03-19 | 西安飞机工业(集团)有限责任公司 | Tool for measuring arc height |
| CN201177493Y (en) * | 2008-04-11 | 2009-01-07 | 广西玉柴机器股份有限公司 | Inspection tool for circle arc radius measurment |
| CN101451805A (en) * | 2007-11-28 | 2009-06-10 | 上海梅山钢铁股份有限公司 | High precision orthodrome radius measuring apparatus and measuring method thereof |
-
2010
- 2010-10-25 CN CN201010518168A patent/CN101979954B/en not_active Expired - Fee Related
Patent Citations (6)
| Publication number | Priority date | Publication date | Assignee | Title |
|---|---|---|---|---|
| CN2116883U (en) * | 1992-03-25 | 1992-09-23 | 熊建平 | Large-size testing instrument |
| JP2001317907A (en) * | 2000-05-11 | 2001-11-16 | Hitachi Cable Ltd | Multipurpose radius of curvature measuring instrument |
| CN2802437Y (en) * | 2005-05-14 | 2006-08-02 | 张修江 | Radius rule for measuring curve |
| CN201037762Y (en) * | 2007-02-07 | 2008-03-19 | 西安飞机工业(集团)有限责任公司 | Tool for measuring arc height |
| CN101451805A (en) * | 2007-11-28 | 2009-06-10 | 上海梅山钢铁股份有限公司 | High precision orthodrome radius measuring apparatus and measuring method thereof |
| CN201177493Y (en) * | 2008-04-11 | 2009-01-07 | 广西玉柴机器股份有限公司 | Inspection tool for circle arc radius measurment |
Also Published As
| Publication number | Publication date |
|---|---|
| CN101979954A (en) | 2011-02-23 |
Similar Documents
| Publication | Publication Date | Title |
|---|---|---|
| CN101726237B (en) | Device for coaxially detecting coaxial errors of inner holes and outer circles | |
| CN103386500B (en) | A kind of hole machined boring tool aligning device and using method thereof | |
| CN101979954B (en) | Measuring tool for measuring arc parts | |
| CN109015108B (en) | Alignment device for machine tool parts | |
| CN206593572U (en) | A kind of instrument for accurately measuring optical mirror slip center thickness | |
| CN201955042U (en) | External circle diameter measuring caliper gauge | |
| CN201444029U (en) | Multifunctional inner hole measuring scale | |
| CN101915562A (en) | An inclination sensor calibration device | |
| CN106197187A (en) | A kind of outside micrometer school detecting method | |
| CN105423843A (en) | Integrated raceway measuring instrument for bearing | |
| CN105299005B (en) | Flange to positive assembly method and implement this method to positive rigging position degree cubing | |
| CN205228353U (en) | Outer lane roundness detection device in bearing | |
| CN207300083U (en) | General gear bounce gauge | |
| CN103630039B (en) | A kind of on-line measurement device having the shallow seam part of axle for centre | |
| CN206248000U (en) | A kind of outside diameter detects instrument | |
| CN102430958B (en) | Three-lever centering device and centering method for numerical control machine | |
| CN204478971U (en) | Boring cutter bar is beated adjustment detector | |
| CN207763617U (en) | Cylindrical component base thickness measures tooling | |
| CN106524862A (en) | Oblique geometric tolerance measuring instrument | |
| CN210981108U (en) | Internal spline tooth top circle diameter inspection fixture | |
| CN204554285U (en) | A kind of multi inertial sensor testing apparatus detects frock | |
| CN202947665U (en) | Roll neck blind hole symmetry measurement instrument | |
| CN205228316U (en) | Lever for dial gage alignment measure frock | |
| CN214199885U (en) | Adjustable centering tool for coupler | |
| CN114850538B (en) | Adaptive punching drill floor for blind hole method residual stress detection |
Legal Events
| Date | Code | Title | Description |
|---|---|---|---|
| C06 | Publication | ||
| PB01 | Publication | ||
| C10 | Entry into substantive examination | ||
| SE01 | Entry into force of request for substantive examination | ||
| C14 | Grant of patent or utility model | ||
| GR01 | Patent grant | ||
| CF01 | Termination of patent right due to non-payment of annual fee | ||
| CF01 | Termination of patent right due to non-payment of annual fee |
Granted publication date: 20120905 |
