CN101947478B - Final screening mechanism movable single-stage hammer screening crusher - Google Patents
Final screening mechanism movable single-stage hammer screening crusher Download PDFInfo
- Publication number
- CN101947478B CN101947478B CN2010102914428A CN201010291442A CN101947478B CN 101947478 B CN101947478 B CN 101947478B CN 2010102914428 A CN2010102914428 A CN 2010102914428A CN 201010291442 A CN201010291442 A CN 201010291442A CN 101947478 B CN101947478 B CN 101947478B
- Authority
- CN
- China
- Prior art keywords
- sieve
- pair
- group
- grate
- support frame
- Prior art date
- Legal status (The legal status is an assumption and is not a legal conclusion. Google has not performed a legal analysis and makes no representation as to the accuracy of the status listed.)
- Expired - Fee Related
Links
Images
Landscapes
- Crushing And Pulverization Processes (AREA)
- Combined Means For Separation Of Solids (AREA)
Abstract
一种终筛机构可移式单段锤式筛分破碎机,属于矿山机械。包括由左、右、前、后箱体和上箱体构成的具有破碎工作腔的破碎机箱本体,左箱体的上部构成为进料口;一设置有锤头的破碎转子,位于破碎机箱本体;一终筛机构,设在破碎工作腔内;一预分筛机构,设在左箱体的外侧的顶部;一格栅体,位于破碎工作腔内,终筛机构包括第一筛料篦子、第二筛料篦子、一对第一筛料篦子支承架、一对第二筛料篦子支承架和一支承辊,特点是:在一个筛料篦子支承架上设置至少一对第一滚轮,在另一个第一筛料篦子支承架上设置至少一对第一滚轮;在一个筛料篦子支承架上设置至少一对第二滚轮,在另一个第二筛料篦子支承架上设置至少一对第二滚轮。优点:体现更换的方便和快捷,减轻工作强度。
The utility model relates to a movable single-stage hammer type screening crusher with a final screening mechanism, which belongs to mining machinery. It includes a crusher box body with a crushing working chamber composed of left, right, front, rear boxes and an upper box body. The upper part of the left box body is formed as a feeding port; a crushing rotor with a hammer head is located on the crusher box body. ; a final screening mechanism, located in the crushing working chamber; a pre-screening mechanism, located on the top of the outside of the left box; a grid body, located in the crushing working chamber, the final screening mechanism includes the first sieve grate, The second sieve material grate, a pair of first sieve material grate support frames, a pair of second sieve material grate support frames and a support roller are characterized in that at least one pair of first rollers is set on one sieve material grate support frame, At least one pair of first rollers is set on another first sieve material grate support frame; Two rollers. Advantages: It reflects the convenience and speed of replacement, and reduces the work intensity.
Description
技术领域 technical field
本发明属于矿山机械技术领域,具体涉及一种终筛机构可移式单段锤式筛分破碎机,用于将石灰石击碎。The invention belongs to the technical field of mining machinery, and in particular relates to a single-stage hammer-type sieving crusher with a movable final sieving mechanism, which is used for crushing limestone.
背景技术 Background technique
周知,石灰石是一种用途广泛的矿物原料,除可用于制造水泥外,在金属冶炼中常用它作为熔剂,石灰石也是电厂脱硫及电石生产中的重要材料。电厂脱硫及电石生产中所使用的大都为活性石灰,而活性石灰是由颗粒状的石灰石煅烧而成的。目前采用竖窑法煅烧时,要求石灰石的粒度为40-120mm左右;采用回转窑煅烧时,则要求石灰石的粒度为10-50mm左右。小于上述粒度的石灰石则不能利用。也就是说,竖窑法煅烧要求小于40mm的石灰石的粒度越少越好;而回转窑煅烧要求小于10mm的石灰石的粒度越少越好。以电石生产为例,在煅烧过程中需要引入空气(鼓风煅烧),因此一旦石灰石的粒度过于细碎,那么会影响通风效果。As we all know, limestone is a widely used mineral raw material. In addition to being used to make cement, it is often used as a flux in metal smelting. Limestone is also an important material in power plant desulfurization and calcium carbide production. Active lime is mostly used in power plant desulfurization and calcium carbide production, and active lime is calcined from granular limestone. At present, when the shaft kiln method is used for calcination, the particle size of the limestone is required to be about 40-120mm; when the rotary kiln is used for calcination, the particle size of the limestone is required to be about 10-50mm. Limestone smaller than the above particle size cannot be used. That is to say, the calcination of the shaft kiln method requires the particle size of the limestone less than 40mm to be as small as possible; while the calcination of the rotary kiln requires the particle size of the limestone less than 10mm to be as small as possible. Taking calcium carbide production as an example, air needs to be introduced during the calcination process (blast calcination), so once the particle size of the limestone is too fine, it will affect the ventilation effect.
以往在对石灰石破碎的过程中为了尽可能减少细料,即避免破碎时石灰石出现不能满足前述竖窑或回转窑煅烧工艺要求的情形,通常使用挤压法破碎,例如使用颚式或圆锥式破碎机,但由于此类破碎机的破碎比小,因此,如果要达到前述的竖窑法煅烧或回转窑煅烧的工艺要求的粒度,则需要二级甚至三级破碎,从而导致生产流程复杂,设备投资庞大。In the past, in the process of crushing limestone, in order to reduce fine materials as much as possible, that is, to avoid the situation that limestone cannot meet the above-mentioned calcination process requirements of shaft kiln or rotary kiln during crushing, extrusion method is usually used for crushing, such as jaw or cone crushing However, due to the small crushing ratio of this type of crusher, if the particle size required by the aforementioned shaft kiln calcination or rotary kiln calcination process is to be achieved, secondary or even tertiary crushing is required, resulting in complex production processes and equipment The investment is huge.
又,在现代水泥生产中,传统的球磨机因能耗高已逐渐被具有更为节能效果的立式辊磨取代,已往使用球磨机粉磨原料(石灰石)时,要求提供的石灰石越细越好。因此,当时衡量破碎机的技术特性不仅破碎比大,而且产品中细料率越高越好。而当今使用辊磨生产,粉料多不利于形成稳定的碾压床,反而降低辊磨的效率。Also, in modern cement production, the traditional ball mill has gradually been replaced by a vertical roller mill with more energy-saving effects due to its high energy consumption. In the past, when using a ball mill to grind raw materials (limestone), the finer the limestone required, the better. Therefore, when measuring the technical characteristics of the crusher, not only the crushing ratio is large, but the higher the fine material rate in the product, the better. Today, however, roller mills are used for production. Too much powder is not conducive to the formation of a stable rolling bed, but reduces the efficiency of roller mills.
由上述说明可知,已有技术中的破碎机所破碎的石灰石颗粒显然难以满足前述工艺对颗粒的要求,因此,有必要加以改进,然而在已公开的专利和非专利文献中均未见诸有得以借鉴的技术启示。例如,授权公告号CN2678765Y提供的双转子单段锤式破碎机壳体是围绕降低进机矿石的跌落高度、减少故障率和提高机内使用寿命而提出的;又如,CN100512968C推荐的双转子锤式破碎机是为改善石灰石与粘土的比例均匀而藉以避免粘土糊住篦缝引起积料降低(影响)破碎效率以及确保破碎转子负荷均匀而提出的。为此,本申请人进行了有益的探索和尝试,并且将形成的解决上述技术问题的技术方案与本申请同日提出了专利申请(名称为单段锤式筛分破碎机)。如业界所知之理,破碎机对矿石的破碎原理是依靠枢轴设置在破碎转子上的多组锤头对进入破碎工作腔中的矿石的打击来体现的,即在破碎转子转动的同时带动枢轴设置其上的锤头击打矿石使矿石破碎,破碎后的矿石由终筛机构筛出。终筛机构在破碎工作腔内的位置是位于破碎转子的下方,其由一对彼此铰接的并且安顿在筛料篦子支承架上的筛料篦子构成,筛料篦子通常由篦条或篦块构成,相邻篦条或相邻篦块之间的间隙构成为筛料槽,被锤头击碎的矿石从筛料槽引出。然而,在实际的使用过程中,由于受沉重的矿石的冲击,特别是在锤头打击矿石的击震下,加上日积月累的磨损,筛料篦子的篦条会出现断裂情形(如果是篦块则同样会出现碎裂现象)。因此,一旦篦条断裂,需要及时除旧布新,即及时更换筛料篦子,否则需要由锤头打击的矿石会从断裂的篦条之间提前窜出。From the above description, it can be seen that the crushed limestone particles of the crusher in the prior art are obviously difficult to meet the requirements of the aforementioned process for the particles. Technological inspiration to learn from. For example, the dual-rotor single-stage hammer crusher housing provided by the authorized announcement number CN2678765Y is proposed around reducing the drop height of the ore entering the machine, reducing the failure rate and improving the service life of the machine; The type crusher is proposed to improve the uniform ratio of limestone and clay, so as to avoid clay sticking to the grate cracks, causing material accumulation to reduce (affect) the crushing efficiency, and to ensure uniform load of the crushing rotor. For this reason, the applicant has carried out beneficial exploration and attempt, and the technical scheme that will form to solve the above-mentioned technical problem has proposed the patent application (named as single-stage hammer type screening crusher) on the same day as the present application. As is well known in the industry, the principle of crushing ore by the crusher is to rely on the impact of multiple groups of hammerheads pivoted on the crushing rotor on the ore entering the crushing working chamber, that is, when the crushing rotor rotates, it drives The hammer on which the pivot is set hits the ore to break the ore, and the broken ore is screened out by the final screening mechanism. The position of the final screening mechanism in the crushing working chamber is below the crushing rotor, which consists of a pair of sieve grates that are hinged to each other and placed on the sieve grate support frame. , The gap between adjacent grate bars or adjacent grate blocks constitutes a sieve trough, and the ore crushed by the hammer head is drawn out from the sieve material trough. However, in the actual use process, due to the impact of heavy ore, especially under the shock of the hammer hitting the ore, and the accumulated wear and tear over time, the grate bar of the screen material will break (if it is a grate block Fragmentation will also occur). Therefore, once the grate bar is broken, it is necessary to remove the old one and replace it with a new one in time, that is, to replace the sieve material grate in time, otherwise the ore that needs to be hit by the hammer head will rush out from between the broken grate bars in advance.
已有技术中,视更换筛料篦子为烦琐的工程项目,因为若要将沉重(也称笨重)的筛料篦子连同供设置筛料篦子的筛料篦子支承架移出破碎机,除了投入牵引装置外,还需投入众多的人力,并且在将筛料篦子支承架携新启用的筛料篦子引入破碎机的破碎工作腔的底部时更为麻烦。然而,在已公开的包括但不限于上面所例举的专利技术方案中均未披露有如何有效地使更换筛料篦子简捷并且节约投入人力的技术启示,对此,本申请人进行了有益的设计,下面将要介绍的技术方案便是基于这种情形下产生的。In the prior art, the replacement of the sieve grate is regarded as a cumbersome engineering project, because if the heavy (also called bulky) sieve grate is to be moved out of the crusher together with the sieve grate support frame for setting the sieve grate, in addition to putting into the traction device In addition, a lot of manpower needs to be dropped into, and it is even more troublesome when the sieve grate supporting frame is brought into the bottom of the broken working chamber of the crusher with the newly enabled sieve grate. However, in the disclosed patent technical solutions including but not limited to the above examples, there is no technical revelation on how to effectively make the replacement of the sieve grate simple and save manpower. Design, the technical solution to be introduced below is based on this situation.
发明内容 Contents of the invention
本发明的任务在于提供一种既有助于减少投入人力又有利于体现对筛料篦子更换时的方便和快捷性的终筛机构可移式单段锤式筛分破碎机。The task of the present invention is to provide a single-stage hammer-type sieving crusher with movable final sieving mechanism, which not only helps to reduce the input of manpower, but also facilitates the convenience and quickness of replacing the sieve grate.
本发明的任务是这样来完成的,一种终筛机构可移式单段锤式筛分破碎机,包括由左、右、前、后箱体和上箱体构成的具有破碎工作腔的破碎机箱本体,其中,左箱体的上部构成为进料口;一以间隔状态枢轴设置有锤头的破碎转子,位于所述破碎机箱本体内,并且转动地设置在所述的前箱体和后箱体之间;一用于将所述破碎转子破碎后的矿石引出的终筛机构,设在所述的破碎工作腔内,并且对应于所述破碎转子的下方;一用于将待破碎的矿石自进料口引入所述破碎工作腔并且同时将夹杂于原矿中的已达到使用粒度而免予破碎的碎料在引入破碎工作腔之前预先筛出的预分筛机构,设在左箱体的外侧的顶部并且对应于所述的进料口的部位;一格栅体,位于破碎工作腔内,与左箱体的上方连接,并且对应于所述进料口的下方,所述的终筛机构包括第一筛料篦子、第二筛料篦子、一对第一筛料篦子支承架、一对第二筛料篦子支承架和一支承辊,第一筛料篦子设在一对第一筛料篦子支承架之间,第二筛料篦子设在一对第二筛料篦子支承架之间,第一筛料篦子支承架的一端与第二筛料篦子支承架的一端铰接,而第一筛料篦子支承架的另一端固设有一第一上挂脚,第一上挂脚挂置在前横梁上,前横梁的一端经开设在前箱体上的第一通孔伸展到所述前箱体外,并且支承在前箱体上,另一端经开设在后箱体上的第二通孔伸展到后箱体外,并且支承在后箱体上,第二筛料篦子支承架的另一端固定有一第二上挂脚,第二上挂脚挂置在后横梁上,后横梁的一端经开设在所述前箱体上的孔伸展到前箱体外,并且支承在前箱体上,另一端经开设在所述后箱体上的孔伸展到后箱体外,并且支承在后箱体上,支承辊的中部与一对第一筛料篦子支承架的底部相配合或者与一对第二筛料篦子支承架的底部相配合,而支承辊的一端伸展到前箱体外并且搁置在前箱体上,另一端伸展到后箱体外,并且搁置在后箱体上,特征在于:在所述的一对第一筛料篦子支承架中的其中一个筛料篦子支承架上并且朝向所述前箱体的一侧枢轴设置有至少一对第一滚轮,而在另一个第一筛料篦子支承架上并且朝向所述后箱体的一侧同样枢轴设置有至少一对第一滚轮;在所述的一对第二筛料篦子支承架中的其中一个筛料篦子支承架上并且朝向所述前箱体的一侧枢轴设置有至少一对第二滚轮,而在另一个第二筛料篦子支承架上并且朝向所述后箱体的一侧同样枢轴设置有至少一对第二滚轮。The task of the present invention is accomplished in this way. A single-stage hammer-type screening crusher with a movable final screening mechanism includes a crushing machine with a crushing working chamber composed of left, right, front, rear boxes and an upper box. The chassis body, wherein the upper part of the left box body is formed as a feed inlet; a crushing rotor with a hammer head pivotally arranged in a spaced state is located in the crusher box body and is rotatably arranged between the front box body and the front box body. Between the rear boxes; a final screen mechanism for leading out the crushed ore crushed by the crushing rotor, which is arranged in the crushing working chamber and corresponds to the bottom of the crushing rotor; The ore is introduced into the crushing working chamber from the feed port, and at the same time, the crushed materials mixed in the raw ore that have reached the used particle size and are not crushed are pre-screened before being introduced into the crushing working chamber. The pre-screening mechanism is located in the left box The top of the outer side of the body and corresponds to the position of the feed inlet; a grid body, located in the crushing working chamber, is connected to the top of the left box and corresponds to the bottom of the feed inlet, and the The final screening mechanism includes a first sieve grate, a second sieve grate, a pair of first sieve grate support frame, a pair of second sieve grate support frame and a support roller, the first sieve grate is arranged on a pair of second sieve Between one sieve material grate support frame, the second sieve material grate is arranged between a pair of second sieve material grate support frame, one end of the first sieve material grate support frame is hinged with one end of the second sieve material grate support frame, and The other end of the first sieve grate support frame is fixed with a first upper hanging leg, which is hung on the front beam, and one end of the front beam extends to the Outside the front box, and supported on the front box, the other end extends to the outside of the rear box through the second through hole opened on the back box, and is supported on the back box. The second sieve grate support frame The other end of the other end is fixed with a second upper hanging foot, the second upper hanging foot is hung on the rear beam, and one end of the rear beam extends out of the front box through the hole opened on the front box body, and is supported on the front box On the body, the other end extends to the outside of the rear box through the hole provided on the rear box, and is supported on the rear box. The middle part of the support roller is matched with the bottom of a pair of first sieve grate support frames or Cooperate with the bottom of a pair of second sieve grate support frames, and one end of the support roller extends out of the front box and rests on the front box, and the other end extends out of the rear box and rests on the rear box , characterized in that: at least one pair of first rollers is pivotally arranged on one of the pair of first sieve grate support frames and toward the side of the front box body, and At least one pair of first rollers is also pivotally arranged on the other first sieve grate support frame and towards the side of the rear box; one of the screens in the pair of second sieve grate support At least one pair of second rollers are pivotally arranged on the material grate support frame and towards one side of the front box body, and on the other second sieve material grate support frame and towards the side of the rear box body. The shaft is provided with at least one pair of second rollers.
在本发明的一个具体的实施例中,在所述的左箱体的外壁上并位于外壁的底部构成有一向外弯折的并且为水平的第一垫块支承檐,在所述的右箱体的外壁上并且位于外壁的底部构成有一向外弯折的并且为水平的第二垫块支承檐,在所述的第一垫块支承檐上间隔叠置有第一、第二垫块和第三垫块,而在所述的第二垫块支承檐上间隔叠设有第四、第五垫块和第六垫块,所述的前横梁的一端搁置在第一垫块上,另一端搁置在第四垫块上,所述的后横梁的一端搁置在第三垫块上,另一端搁置在第六垫块上,所述的支承辊的一端搁置在第二垫块上,另一端搁置在第五垫块上。In a specific embodiment of the present invention, on the outer wall of the left box and at the bottom of the outer wall, there is formed a horizontal first spacer support eaves bent outwards, and on the right box On the outer wall of the body and at the bottom of the outer wall, a second pad support eaves bent outwards and horizontal are formed. On the first pad support eaves, first and second pads and The third pad, and the fourth pad, the fifth pad and the sixth pad are stacked at intervals on the supporting eaves of the second pad, and one end of the front beam rests on the first pad, and the other One end rests on the fourth pad, one end of the rear beam rests on the third pad, the other end rests on the sixth pad, one end of the support roller rests on the second pad, and the other One end rests on the fifth spacer.
在本发明的另一个具体的实施例中,所述的预分筛机构、格栅体以及终筛机构三者之间依次构成高度自上而下逐次降低的梯度关系。In another specific embodiment of the present invention, the pre-screening mechanism, the grid body and the final screening mechanism sequentially form a gradient relationship in which the height decreases gradually from top to bottom.
在本发明的又一个具体的实施例中,所述的预分筛机构包括彼此对置的一对预分筛辊架、一组第一分筛输送辊和一组第二分筛输送辊,一对预分筛辊架与所述左箱体的顶部连接,并且对应于所述的进料口,一组第一、第二分筛输送辊均枢轴设置在所述的一对预分筛辊架之间,其中:一组第一分筛输送辊与一组第二分筛输送辊之间构成有高度差,并且一组第二分筛输送辊位于所述的进料口与一组第一分筛输送辊之间。In yet another specific embodiment of the present invention, the pre-screening mechanism includes a pair of pre-screening roller stands facing each other, a set of first screening conveyor rollers and a set of second screening conveyor rollers, A pair of pre-screening roller frames are connected to the top of the left box, and corresponding to the feed inlet, a group of first and second screening conveyor rollers are pivotally arranged on the pair of pre-screening rollers. Between the sieve roller frames, wherein: a group of first sieve conveying rollers and a group of second sieve conveying rollers form a height difference, and a group of second sieving conveying rollers is located between the feed inlet and a Between the set of first sieve conveying rollers.
在本发明的再一个具体的实施例中,所述的一组第一分筛输送辊之间保持有供原矿中已达粒度的碎料下落的辊隙,所述的一组第二分筛输送辊之间也具有用于供原矿中已达粒度的碎料下落的辊隙,并且在一组第一分筛输送辊的表面均沿轴向间隔分布有第一凸缘,而在一组第二分筛输送辊的表面均沿轴向间隔分布有第二凸缘。In yet another specific embodiment of the present invention, there is a gap between the first set of sieving conveying rollers for the falling of the crushed materials that have reached the particle size in the raw ore, and the set of second sieving rollers There is also a gap between the conveying rollers for the falling of the broken materials that have reached the particle size in the raw ore, and there are first flanges distributed along the axial interval on the surface of a group of first screening conveying rollers, while in a group of The surfaces of the second screening conveying rollers are all provided with second flanges distributed along the axial interval at intervals.
在本发明的还有一个具体的实施例中,所述的第一、第二凸缘的截面形状均为椭圆形或桃形。In yet another specific embodiment of the present invention, the cross-sectional shapes of the first and second flanges are both elliptical or peach-shaped.
在本发明的更而一个具体的实施例中,所述的格栅体包括一组格栅和一格栅下连梁,一组格栅的上端以间隔状态构成于格栅上连梁上,相邻格栅之间的空隙构成为落料槽,其中:在一组格栅中,首枚和末尾一枚格栅的外侧各延伸有一格栅枢轴,格栅枢轴枢轴设置在格栅枢轴座上,格栅枢轴座与所述破碎机箱本体固定,格栅下连梁的中部与一组格栅的下端连接,而格栅下连梁的一端支承于第一支撑座上,第一支撑座与所述的前箱体的内壁固定,格栅下连梁的另一端支承于第二支撑座上,而第二支撑座与所述的后箱体的内壁固定。In a further specific embodiment of the present invention, the grid body includes a group of grids and a grid lower connecting beam, and the upper ends of a group of grids are formed on the grid upper connecting beam in a spaced state, The gap between the adjacent grids constitutes a blanking trough, wherein: in a group of grids, a grid pivot extends from the outer sides of the first and last grids, and the grid pivots are arranged on the grids. On the grid pivot seat, the grid pivot seat is fixed with the crusher box body, the middle part of the grid lower connecting beam is connected with the lower end of a group of grids, and one end of the grid lower connecting beam is supported on the first supporting base , the first support seat is fixed to the inner wall of the front box body, the other end of the grid lower connecting beam is supported on the second support seat, and the second support seat is fixed to the inner wall of the rear box body.
在本发明的进而一个具体的实施例中,所述格栅的朝向上的表面构成有一组用于使格栅的上表面的高度由上而下逐次降低的格栅台阶,所述的落料槽的宽度为40-150mm。In a further specific embodiment of the present invention, the upward facing surface of the grid forms a set of grid steps for gradually reducing the height of the upper surface of the grid from top to bottom, and the blanking The width of the groove is 40-150mm.
在本发明的又更而一个具体的实施例中,所述的一对第一筛料篦子的两端并且位于底部各间隔构成有一组第一嵌合突缘,所述的一对第二筛料篦子的两端并且位于底部各间隔构成有一组第二嵌合突缘,所述的一对第一筛料篦子支承架上并且朝向所述第一筛料篦子的一侧各间隔凹设有一组第一嵌合凹槽,所述的一对第二筛料篦子支承架上并且朝向所述第二筛料篦子的一侧各间隔凹设有一组第二嵌合凹槽,所述的第一嵌合突缘的数量与所述第一嵌合凹槽的数量相等,并且彼此的位置相对应,所述的第二嵌合突缘的数量与所述第二嵌合凹槽的数量相等,并且彼此的位置相对应,其中:第一嵌合突缘嵌入于第一嵌合凹槽内,而第二嵌合突缘嵌入第二嵌合凹槽内。In yet another specific embodiment of the present invention, the two ends of the pair of first sieve grates and the intervals at the bottom form a set of first fitting flanges, and the pair of second sieves The two ends of the material grate and the bottom are each spaced to form a set of second fitting flanges, and the pair of first sieve material grate support frame and the side facing the first sieve material grate are recessed at intervals. A set of first fitting grooves, a set of second fitting grooves are recessed at intervals on the support frame of the pair of second sieve grate and facing the side of the second sieve grate, the first The number of a fitting protrusion is equal to the number of the first fitting grooves, and the positions correspond to each other, and the number of the second fitting protrusions is equal to the number of the second fitting grooves , and the positions correspond to each other, wherein: the first fitting protrusion is embedded in the first fitting groove, and the second fitting protrusion is embedded in the second fitting groove.
在本发明的又进而一个具体的实施例中,所述锤头的数量有三至九组,在所述的破碎转子上呈三至九等分分布,每组锤头的数量是相等的,并且各组锤头在破碎转子上的安装位置是相同的。In yet another specific embodiment of the present invention, there are three to nine groups of hammerheads, which are distributed in three to nine equal parts on the crushing rotor, and the number of hammerheads in each group is equal, and The installation positions of each group of hammerheads on the crushing rotor are the same.
本发明提供的技术方案由于在终筛机构的第一筛料篦子支承架上设置了第一滚轮,第二筛料篦子支承架上设置了第二滚轮,因此当第一筛料篦子和/或第二筛料篦子致损后,便可通过第一、第二滚轮循着人为置入到破碎工作腔底部的导轨由第一、第二筛料篦子支承架携第一、第二筛料篦子轻松移出,既可减少投入人力,又可体现更换的方便和快捷,并且能减轻更换时的工作强度。The technical scheme provided by the present invention is because the first roller is set on the first sieve grate support frame of the final screening mechanism, and the second roller is set on the second sieve grate support frame, so when the first sieve grate and/or After the second sieve grate is damaged, the first and second sieve grate can be carried by the first and second sieve grate supporting frames along the guide rail artificially placed at the bottom of the crushing working chamber through the first and second rollers. Easy removal can not only reduce the input of manpower, but also reflect the convenience and speed of replacement, and can reduce the work intensity during replacement.
附图说明 Description of drawings
图1为本发明的一个具体的实施例结构图。Fig. 1 is a structural diagram of a specific embodiment of the present invention.
图2为终筛机构与后箱体相配合的局部示意图。Fig. 2 is a partial schematic diagram of the cooperation between the final screening mechanism and the rear box.
图3为本发明终筛机构可移式单段锤式筛分破碎机的整体结构示意图。Fig. 3 is a schematic diagram of the overall structure of a single-stage hammer-type screening crusher with a movable final screening mechanism of the present invention.
具体实施方式 Detailed ways
为了使专利局的审查员尤其是公众能够更加清楚地理解本发明的技术实质和有益效果,申请人将在下面以实施例的方式结合附图作详细说明,但是对实施例的描述均不是对本发明方案的限制,任何依据本发明构思所作出的仅仅为形式上的而非实质性的等效变换都应视为本发明的技术方案范畴。In order to enable the examiners of the patent office, especially the public, to understand the technical essence and beneficial effects of the present invention more clearly, the applicant will describe in detail below in conjunction with the accompanying drawings in the form of embodiments, but none of the descriptions of the embodiments is a description of the present invention. Restriction of the inventive solution, any equivalent transformation made according to the concept of the present invention which is only in form but not in substance shall be regarded as the scope of the technical solution of the present invention.
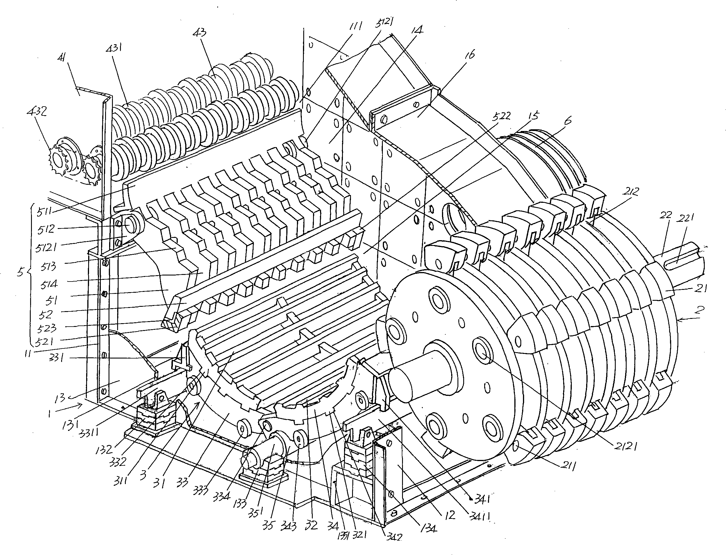
请见图1和图3,给出的破碎机箱本体1由左箱体11、右箱体12、前箱体13、后箱体14和上箱体16构成,并且由左、右、前、后箱体11、12、13、14和上箱体16共同围合而成具有破碎工作腔15的破碎机箱本体1。左箱体11的上方构成为进料口111,并且在该左箱体11的顶部即对应于进料口111的部位配设有预分筛机构4,预分筛机构4包括一对预分筛辊架41、一组第一分筛输送辊42和一组第二分筛输送辊43,一对预分筛辊架41彼此平行设置,并且与破碎机箱本体1的左箱体11的顶部连接,一组第一分筛输送辊42和一组第二分筛输送辊43转动地设置在一对预分筛辊架41之间,其中:一组第一分筛输送辊42的位置比一组第二分筛输送辊43的位置高,也就是说第一、第二分筛输送辊42、43之间形成有高度差,或者说形成有一个分筛送料台阶。一组第一、第二分筛输送辊42、43的数量均不因受到图2所示数量的限制,第二分筛输送辊43位于进料口111与第一分筛输送辊42之间,也就是说,一组第一分筛输送辊42位于一组第二分筛输送辊43的后方,由一组第一分筛输送辊42经分筛后的矿石送抵一组第二分筛输送辊43,由一组第二分筛输送辊43将经过再次分筛后的矿石从进料口111卸至下面还要详细说明的破碎工作腔15中,更确切地讲卸至格栅体5之上。Please see Fig. 1 and Fig. 3, the crusher box body 1 that provides is made up of left box body 11,
由上面的说明可知,第一、第二分筛输送辊42、43实质上是本发明的受料和预筛分机构,鉴于此理,第一、第二分筛输送辊42、43可以理解为预分筛辊,各辊均按相同的方向旋转,位于辊面上的矿石(也可称石料)被辊子推动,由受料端向破碎工作腔15的方向驱送(驱赶),直至从进料口111进入破碎工作腔15。As can be seen from the above description, the first and second
前述的一组第一分筛输送辊42之间以及一组第二分筛输送辊43之间均保持有空隙,并且不论是一组第一分筛输送辊42的各个辊体还是一组第二分筛输送辊43的各个辊体的表面均沿轴向间隔分布有凸缘。申请人将一组第一分筛输送辊42上的凸缘定义为第一凸缘421,同理将一组第二分筛输送辊43上的凸缘定义为第二凸缘431。由前述的凸缘形成与允许筛分粒度相当的下落通道,供碎料从中下落,而由于前述的凸缘具有推动料层前进的功能,因此可称凸缘为辊盘。辊盘的截面形状既可以是圆形,也可以是椭圆形或桃形,其中,椭圆形或桃形辊盘的运转可使料层在前进的同时产生上下颠簸的效果,增强碎料从料层中分离的功能。前述的一组第一分筛输送辊42和一组第二分筛输送辊43的数量的多寡取决于来料中合格料的占有率,若合格料比例高,那么辊的数量便相应多些,反之亦然。此外,辊数与矿石料的可分筛性有关,料湿且含泥多时,则辊的数量也相应增加。上面所提及的桃形的概念是指水果范畴的桃子的形状。There is a gap between the aforementioned first group of screening conveying
由图3所示,在一组第一分筛输送辊42中,居于喂料口44下方的两个辊即靠近喂料口44处的两个辊子因首当其冲地要承受给料机卸入的大块矿石的冲击,因此采用加强型结构的辊子并且带有减振装置45,优选的减振装置45为橡胶垫,以便确保重达数吨的大块矿石卸入时不致损坏辊子。As shown in Fig. 3, in one group of first
由上述说明可知,前述的预分筛机构4的功能是:在将矿石送达进料口111的同时将原矿石中已达到成品粒度要求的碎料提前筛除,避免它们进入破碎工作腔15参与大块矿石一同破碎而出现过粉碎情形。依据公知的常识,一组第一分筛输送辊42及一组第二分筛输送辊43各由相应的动力机构带动。以图1所示为例,由电机经减速机带动一组第二分筛输送辊43中的首个第二分筛输送辊43上的链轮432,而一组第二分筛输送辊43中的其余的第二分筛输送辊43均由链条逐次过渡连接(因为每个第二分筛输送辊43上均固设有链轮432),一组第一分筛输送辊42的工作原理同上所述。It can be seen from the above description that the function of the aforementioned pre-sieving mechanism 4 is to screen out the fragments in the raw ore that have reached the particle size requirements of the finished product in advance while delivering the ore to the feed port 111, so as to prevent them from entering the crushing working chamber 15 Participating in the crushing of large pieces of ore together, there has been a crushing situation. According to the known common sense, a group of first
一破碎转子2由其两端的转子轴头22可转动地设置在前述的破碎机箱本体1内,具体是:将一对转子轴头22中的其中一个即朝向前箱体13的一个转子轴头22通过配有轴承的轴承座支承在前箱体13上,而另一个转子轴头22即朝向后箱体14的一个转子轴头22同样通过配有轴承的轴承座支承在后箱体14上,并且还伸展到后箱体外,即伸展到破碎机箱本体1外(本实施例为破碎机箱本体1的后箱体14)通过其上设置的键槽221与动力传动机构的传动轮6固定连接。本实施例中,在破碎转子2上以五等分枢轴设置有五组锤头21,当然锤头21的组数并不受到实施例的制约,例如可以少至三组或多至九组,当三组时,则每组相隔120°,当九组时,则每组相距40°,这里所讲的120°和40°的概念均是按照破碎转子2的柱面的圆周方向为基准的。此外,在本实施例中尽管示意了各组锤头21的数量为七个,但同样不应受到限制,因为当锤式破碎机的规格大时,并且破碎转子2的长度长时,那么可以相应增加轴向的锤头21的列数,同例,当破碎转子2的直径大时,则相应增加转子2回转面上的锤头21的排数。各个锤头21通过锤头销轴211设在锤柄212上,锤柄212由锤柄轴2121设在破碎转子2上。由动力传动机构的传动轮6带动破碎转子2旋转时,则由破碎转子2上的锤头21将进入破碎工作腔15中的矿石先后顺序在格栅体5上打击和筛分,在终筛机构3上对剩余料继续打击和筛分。A crushing
请继续见图1和图3本发明的主要破碎工作在格栅体5上进行,它位于进料口111与终筛机构3之间。格栅体5的结构如下:包括一组格栅51和一格栅下连梁52,格栅51实质上犹如梳子的形状,一组格栅51一体地构成于格栅上连梁511上,并且在一组格栅51中的首枚和末尾一枚格栅的基部(图示的上端)的外侧各延伸有一格栅枢轴512,各格栅枢轴512枢轴设置在格栅枢轴座5121上,以图1所示的位置状态为例,首枚即前面的也即第一枚格栅51的格栅枢轴512的格栅枢轴座5121固定在前箱体13的一端的内壁上部,而末尾即最后的一枚格栅51的格栅枢轴512的格栅枢轴座5121固定在前箱体13的另一端的内壁上部。相邻格栅51之间构成为落料槽514,落料槽514的宽度即栅格缝隙宽度应能容得下最大供料粒度,也即应当满足与最大落料粒度相适应的要求,落料槽514的优选的宽度为40-150mm,本实施例选择70-120mm,具体由设备的使用单位(用户)根据实际要求在40-150mm范围内选择。格栅缝隙宽度由最大排料粒度而定。此外,在各格栅51的朝向上的表面形成有一组用于使格栅51的上表面的高度自上而下依次降低的一组格栅台阶513,为前述的锤头21提供对矿石击打的条件,并且先被击碎的矿石即达到成品粒度的矿石先从前述的落料槽514漏出,体现先碎先出,避免过粉碎。可见,格栅体5的区域可称其为格栅粗碎室(或者称格栅粗碎区域),由格栅体5与破碎转子2的相邻部分构成,在这个区域(或称区间),锤头21可以直接砸向料块(矿石),并使砸碎达到格栅缝宽的料块从落料槽514就地排出。前述的格栅下连梁52的中部与一组格栅51的下端即与一组格栅51朝向终筛机构3的一端连接,而格栅下连梁52的一端支承于第一支承座521上,另一端支承于第二支承座522上,其中,第一支承座521与前箱体13的内壁固定,而第二支承座522与后箱体14的内壁固定,优选的方案还可在格栅下连梁52与第一、第二支承座521、522之间各设置垫铁523,垫铁523的作用可以调节格栅体5的下端与破碎转子2的工作圆之间的空隙,从而控制进入终筛机构5的矿石粒度。Please continue to see FIGS. 1 and 3 . The main crushing work of the present invention is carried out on the grid body 5 , which is located between the feed port 111 and the
请见图2并且继续结合图1和图3,在前述的前箱体13的外壁并且位于底部以水平状态向外延伸有一第一垫块支承檐135(也可称第一垫块支承檐板或第一垫块摞置折边),在该第一垫块支承檐135上间隔叠置第一、第二、第三垫块132、133、134,第一垫块支承檐135的中部区域的宽度比两端的区域的宽度宽,并且为了节省或称减少第三垫块134的数量,在第一垫块支承檐135上并且在对应于第三垫块134的下方固设有一前箱体垫块支架1351,第三垫块134置于前箱体垫块支架1351上。由图2所示,在前述的后箱体14的外壁并且位于底部同样以水平状态向外延伸有一形状、构造以及作用与第一垫块支承檐135均相同的第二垫块支承檐141,在该第二垫块支承檐141上间隔叠置第四、第五、第六垫块143、144、145,第二垫块支承檐141的中部区域的宽度比两端区域的宽度大,并且,同样为了减少第六垫块145的数量,在第二垫块支承檐141上并且在对应于第六垫块145的下方优选以焊接的固定方式固设有一后箱体垫块支架1451,第六垫块145置于后箱体垫块支架1451上。其中:第一、第四垫块132、143彼此对应;第二、第五垫块133、144彼此对应;第三、第六垫块134、145彼此对应。See also Fig. 2 and continue in conjunction with Fig. 1 and Fig. 3, at the outer wall of aforementioned
提供的终筛机构3包括一第一、第二筛料篦子31、32、各一对第一、第二筛料篦子支承架33、34和一支承辊35,第一筛料篦子31的两端的下部(底面)即朝向第一筛料篦子支承架33的表面各以间隔状态构成一组第一嵌合突缘311,而一对第一筛料篦子支承架33的上表面即朝向第一筛料篦子31的表面各以间隔状态构成有一组第一嵌合凹槽332,第一筛料篦子31的一端的第一嵌合突缘311与一对第一筛料篦子支承架33中的其中的一个第一筛料篦子支承架33上的第一嵌合凹槽332嵌配;而第一筛料篦子31的另一端的第一嵌合突缘311与一对第一筛料篦子支承架33中的另一个第一筛料篦子支承架33上的第一嵌合凹槽332嵌配。一对第一筛料篦子支承架33的一端各通过铰接轴334与一对第二筛料篦子支承架34的一端铰接连接,而第一筛料篦子支承架33的另一端固设有一第一上挂脚331,该第一上挂脚331挂着在前横梁3311上,前横梁3311的一端穿过开设在前箱体13上的第一通孔131,并且搁置在前述的以摞置状态叠放于第一垫块支承檐135上的第一垫块132上(图1示),另一端伸展到开设在后箱体14上的第二通孔142外,并且搁置在前述的以摞置状态叠放于第二垫块支承檐141上的第四垫块143上(图2示)。第二筛料篦子32的两端的下部即朝向第二筛料篦子支承架34的表面各以间隔状态构成有一组第二嵌合突缘321,而一对第二筛料篦子支承架34的朝向第二筛料篦子32的表面各以间隔状态开设有一组第二嵌合凹槽342,第二筛料篦子32的一端的第二嵌合突缘321与一对第二筛料篦子支承架34中的其中一个第二筛料篦子支承架34上的第二嵌合凹槽342嵌配;而第二筛料篦子32的另一端的第二嵌合突缘321与一对第二筛料篦子支承架34中的另一个第二筛料篦子支承架34上的第二嵌合凹槽342嵌配。第二筛料篦子支承架34的另一端固设有一第二上挂脚341,该第二上挂脚341挂着在后横梁3411上,后横梁3411的一端伸展到前箱体13外(通过开设在前箱体13上的孔),并且搁置在前述的以摞置状态叠设于前箱体垫块支承架1351上的第三垫块134上(图1示),而后横梁3411的另一端伸展到后箱体14外,并且搁置在以摞置状态叠放于后箱体垫块支承架1451上的第六垫块145上(图2示)。由上述说明可知,第一筛料篦子31的两端与一对第一筛料篦子支承架33以嵌合方式相配合,同例第二筛料篦子32的两端与一对第二筛料篦子支承架34以嵌合方式相配合,当需要对第一、第二筛料篦子31、32检修或更换时,可将它们分别从第一、第二筛料篦子支承架33、34上卸离。申请人需要声明的是:如果将第一筛料篦子31上的第一嵌合突缘311的位置与第一筛料篦子支承架33上的第一嵌合凹槽332的位置对调,以及将第二筛料篦子32上的第二嵌合突缘321与第二筛料篦子支承架34上的第二嵌合凹槽342的位置对调,那么,毫无疑问属于等效性变换,应属本发明的保护范围。一支承辊35在本实施例中设置于一对第二筛料篦子支承架34的下部,对第二筛料篦子支承架34起承托作用,即由支承辊35的中部对一对第二筛料篦子支承架34支承。支承辊35的一端的辊轴轴头351在穿过前箱体13后(通过开设在前箱体13上的辊轴轴头孔)搁置在前述的以摞置状态设置于第一垫块支承檐135上的第二垫块133上(图1示);而支承辊35的另一端的辊轴轴头351在穿过后箱体14后(通过开设在后箱体14上的辊轴轴头孔)搁置在前述的以叠置状态放置于第二垫块支承檐141上的第五垫块144上(图2示)。可见,位于第一垫块支承檐135上的第一、第二、第三垫块132、133、134的位置是分别与前横梁3311的端部、支承辊35的辊轴轴头351及后横梁3411的端部相对应的,设置在第二垫块支承檐141上的第四、第五、第六垫块143、144、145同理。The
继续见图1和图2,为了使前横梁3311可靠地位于(支承于)第一、第四垫块132、143上,和,为了使后横梁3411可靠地即稳定地位于(支承于)第三、第六垫块134、145上,及,为了使支承辊35的一对辊轴轴头351稳妥地位于(支承于)第二、第五垫块133、144上,因此对第一、第二、第三、第四、第五和第六垫块132、133、134、143、144和145的各垫块之间以榫卯效应叠置。例如:在一组垫块中,相邻垫块之间以凹缘与突起相配合的方式叠设。在本实施例中,支承辊35位于第二筛料篦子支承架34的下方,然而如果将其挪至第一筛料篦子支承架33的下方,并且将第二、第五垫块133、144的位置作适应性挪移,那么应当视为等效性替换。此外,还可使前、后横梁3311、3411和支承辊35的中部区域也搁置于相应的垫块上。Continue to see Fig. 1 and Fig. 2, in order to make the
由上述说明可知,第一嵌合突缘311的数量与第一嵌合凹槽332的数量相等并且位置相对应;同样,第二嵌合突缘321的数量与第二嵌合凹槽342的数量相等并且位置相互对应。进而由上述对终筛机构3的说明可知,第一筛料篦子支承架33携第一筛料篦子31由其长边方向的第一上挂脚331挂置在前、后箱体13、14上,而第二筛料篦子支承架34携第二筛料篦子32由其第二上挂脚341同样挂置在前、后箱体13、14上,第一、第二筛料篦子支承架33、34的各自铰接端即第一、第二筛料篦子支承架33、34的彼此由铰接轴334相铰接的一端由支承辊35支承。As can be seen from the above description, the number of the first
在发明处于使用的过程中,纵使破碎转子2上的锤头21磨损变短,那么在暂时停机的状态下,只要借助于举升工具例如千斤顶或类似的工具将前、后横梁3311、3411及支承辊35的辊轴轴头351先后顶起,增加或更换所需厚度的垫块即可满足破碎转子2的工作圆与第一、第二筛料篦子31、32的内表面之间的间隙要求。并且调节速度快,停机时间短,工人劳动强度低,尤其能够使锤头21的利用率显著提高,降低用户的使用成本。In the process that the invention is in use, even if the
作为本发明的技术要点:在前述的一对第一筛料篦子支承架33的长边方向并且各自背对前述的破碎转子2的一侧各枢轴设置有一对第一滚轮333,也就是说,一对第一筛料篦子支承架33中的面对前箱体13的第一筛料篦子支承架33上并且朝向前箱体13的一侧设置一对第一滚轮333,而一对第一筛料篦子支承架33中的面对后箱体14的一个第一筛料篦子支承架33上并且朝向后箱体14的一侧同样设置一对第一滚轮333。同理,在一对第二筛料篦子支承架34的长边方向并且同样背对破碎转子2的一侧各枢轴设置有一对第二滚轮343(道理同对设置第一滚轮333的描述)。当要将第一、第二筛料篦子支承架33、34并且由第一筛料篦子支承架33携第一筛料篦子31以及由第二筛料篦子支承架34携第二筛料篦子32从破碎工作腔15中取出检修或更换时,便可由第一、第二滚轮333、343起到辅助作用,例如先将一对另行准备的导轨伸入到破碎工作腔15的底部并且与第一、第二滚轮333、343相对应,使第一、第二滚轮333、343与导轨接触,以利轻松而省力地移出第一、第二筛料篦子支承架33、34。在取出第一、第二筛料篦子31、32之时,先将支承辊35取离。As a technical gist of the present invention: a pair of
构成第一、第二筛料篦子31、32的篦条既可以是若干根篦条穿插在相应的第一、第二筛料篦子支承架33、34上,也可以是成块的篦子板套在第一、第二筛料篦子支承架33、34上,其篦缝既可以是横向的(本实施例),也可以是纵向的(与锤头21打击方向一致),均不致引起终筛机构3工作性质的变化。The grates constituting the first and second sieve grates 31, 32 can be a plurality of grate bars interspersed on the corresponding first and second sieve grate support frames 33, 34, or they can be block grate plate sets On the first and second sieve material grate support frames 33, 34, the grate slits can be either horizontal (this embodiment) or vertical (consistent with the striking direction of the hammer head 21), so as not to cause final sieving Changes in the nature of
本实施之例中,终筛机构3的包角可达125°,但是若矿石可破碎性能较好,或者允许排料粒度较大时,终筛机构3的包角可以减小。In the example of this embodiment, the wrapping angle of the
至此,完全可以知道本发明名称中的“筛分”的含义,由预分筛机构4预分筛,即不对原料(矿石)中本来已合格的合格品施加破碎,并且整个破碎过程始终遵循随破碎随出。So far, the meaning of "screening" in the name of the present invention can be fully known. Pre-screening by the pre-screening mechanism 4 means that no crushing is applied to the qualified products in the raw materials (ores), and the whole crushing process follows the follow-up process all the time. Broken and out.
申请人结合图1和图2简述本发明的工作原理,由重型给料机将原矿经喂料口44喂至本发明的预筛分机构4,矿石由预筛分机构4的一组第一分筛输送辊42过渡给一组第二分筛输送辊43,进而由第二分筛输送辊43在进料口111引入格栅体5之上,供破碎转子2的锤头21打击,格栅体5具有上宽下窄逐步收缩的形状,使大块状矿石逐步破碎变小,而且在整个过程中凡已达到格栅缝隙宽即前述的落料槽514的宽度的碎料都能立即从落料槽514排出。剩余的尚未达到排出粒度的矿石进入破碎转子2下方的终筛机构3的前篦子即第一筛料篦子31和后篦子即第二筛料篦子32之上,继续受到破碎转子2上的锤头21的打击。而且在这个过程中也是随碎随排,不致滞留。The applicant briefly describes the working principle of the present invention in conjunction with Fig. 1 and Fig. 2, the raw ore is fed to the pre-screening mechanism 4 of the present invention through the
总之,本发明提供的技术方案达到了发明目的,体现了申请人期取的技术效果。In a word, the technical solution provided by the present invention achieves the purpose of the invention and embodies the technical effect expected by the applicant.
Claims (10)
Priority Applications (1)
| Application Number | Priority Date | Filing Date | Title |
|---|---|---|---|
| CN2010102914428A CN101947478B (en) | 2010-09-26 | 2010-09-26 | Final screening mechanism movable single-stage hammer screening crusher |
Applications Claiming Priority (1)
| Application Number | Priority Date | Filing Date | Title |
|---|---|---|---|
| CN2010102914428A CN101947478B (en) | 2010-09-26 | 2010-09-26 | Final screening mechanism movable single-stage hammer screening crusher |
Publications (2)
| Publication Number | Publication Date |
|---|---|
| CN101947478A CN101947478A (en) | 2011-01-19 |
| CN101947478B true CN101947478B (en) | 2011-12-14 |
Family
ID=43451179
Family Applications (1)
| Application Number | Title | Priority Date | Filing Date |
|---|---|---|---|
| CN2010102914428A Expired - Fee Related CN101947478B (en) | 2010-09-26 | 2010-09-26 | Final screening mechanism movable single-stage hammer screening crusher |
Country Status (1)
| Country | Link |
|---|---|
| CN (1) | CN101947478B (en) |
Families Citing this family (9)
| Publication number | Priority date | Publication date | Assignee | Title |
|---|---|---|---|---|
| CN105032549A (en) * | 2015-09-01 | 2015-11-11 | 常熟中材装备重型机械有限公司 | Calcium carbide smashing machine |
| CN106179604A (en) * | 2016-08-31 | 2016-12-07 | 河南通利机器制造有限公司 | A kind of disintegrating machine that can quickly regulate quartering hammer quantity |
| CN106493063A (en) * | 2016-11-14 | 2017-03-15 | 马鞍山钢铁股份有限公司 | A kind of lag cooler high temperature sludge screening plant |
| CN106807516A (en) * | 2017-03-30 | 2017-06-09 | 碎得机械(北京)有限公司 | A kind of four axle disintegrating machines |
| CN209109274U (en) * | 2018-08-30 | 2019-07-16 | 北京百旺环境科技股份有限公司 | Grate plate and sand making machine under a kind of sand making machine |
| CN209205431U (en) * | 2018-08-30 | 2019-08-06 | 北京百旺环境科技股份有限公司 | A kind of grate plate regulating device and sand making machine |
| CN109395828B (en) * | 2018-08-30 | 2023-12-26 | 北京百旺环境科技股份有限公司 | Sand making machine |
| CN109604034A (en) * | 2019-01-28 | 2019-04-12 | 常熟市龙腾特种钢有限公司 | A fuel crushing internal circulation system |
| CN114602602B (en) * | 2022-02-09 | 2023-10-03 | 浙江金泰机械铸钢有限公司 | Brick hammer breaker with hammer head and sieve plate easy to replace |
Family Cites Families (5)
| Publication number | Priority date | Publication date | Assignee | Title |
|---|---|---|---|---|
| CN2055744U (en) * | 1988-09-07 | 1990-04-11 | 张仁贵 | Screening and pulverizing linkage machine |
| CN2395799Y (en) * | 1999-08-06 | 2000-09-13 | 四川锅炉机械厂 | High thin crusher |
| CN2678765Y (en) * | 2004-01-01 | 2005-02-16 | 常熟市冶金矿山机械厂 | Shell of duoble-rotator single segment hammer type crusher |
| CN100512968C (en) * | 2007-10-30 | 2009-07-15 | 常熟仕名重型机械有限公司 | Double-rotor hammer breaker |
| CN201791557U (en) * | 2010-09-26 | 2011-04-13 | 常熟仕名重型机械有限公司 | Single-stage hammer-type screening crusher with mobile end screening mechanism |
-
2010
- 2010-09-26 CN CN2010102914428A patent/CN101947478B/en not_active Expired - Fee Related
Also Published As
| Publication number | Publication date |
|---|---|
| CN101947478A (en) | 2011-01-19 |
Similar Documents
| Publication | Publication Date | Title |
|---|---|---|
| CN101947478B (en) | Final screening mechanism movable single-stage hammer screening crusher | |
| CN208213271U (en) | It is a kind of for handling triple disintegrating apparatus of shraff | |
| CN107497582A (en) | A kind of damping type building waste apparatus for crushing and treating | |
| CN201823744U (en) | Comprehensive treatment device for construction waste | |
| CN108097406A (en) | Vertical crushing plant | |
| CN211677965U (en) | Wet grinding ball mill for producing building garbage regeneration aerated building block brick | |
| CN201815331U (en) | Horizontal breaker | |
| CN205851324U (en) | The online broken crushing system of steel slag rotary drum screening bypass | |
| CN103341383A (en) | Dry-method sand manufacturing machine | |
| CN104888915B (en) | Biomass fuel forces broken apart mechanism | |
| CN109201274B (en) | A kind of crushing equipment for construction | |
| CN101972682B (en) | Single-section hammer type screening crusher | |
| CN107159375A (en) | A kind of efficient ore pulverizer with positive feed function | |
| CN203955276U (en) | A kind of toothed roller type screening crusher | |
| CN113210040B (en) | A construction waste treatment device | |
| CN201791557U (en) | Single-stage hammer-type screening crusher with mobile end screening mechanism | |
| CN101947479B (en) | Structurally improved single-section hammer type screening crusher | |
| CN201791556U (en) | Adjustable single-stage hammer screening crusher with end screening mechanism | |
| CN106861812A (en) | Highly effective energy-conserving multi-stage crushing and screening combined integral machine | |
| CN101972684A (en) | Prescreening mechanism of single-section hammer type screening crusher | |
| CN203044082U (en) | Energy-saving and environment-friendly double-rotor crusher | |
| CN202316082U (en) | Concentrate screening and decontaminating system before high-pressure rolling grinding | |
| CN112774833A (en) | Vertical roller press, sand making system and sand making method | |
| CN201791559U (en) | Single-section hammer type screening crusher with improved structure | |
| CN101972683A (en) | Adjustable single-section hammer screening crusher for final screening mechanism |
Legal Events
| Date | Code | Title | Description |
|---|---|---|---|
| C06 | Publication | ||
| PB01 | Publication | ||
| C10 | Entry into substantive examination | ||
| SE01 | Entry into force of request for substantive examination | ||
| C14 | Grant of patent or utility model | ||
| GR01 | Patent grant | ||
| CF01 | Termination of patent right due to non-payment of annual fee | ||
| CF01 | Termination of patent right due to non-payment of annual fee |
Granted publication date: 20111214 |
