CN101942659A - Laser cladding nozzle convenient for cooling and manufacturing method thereof - Google Patents
Laser cladding nozzle convenient for cooling and manufacturing method thereof Download PDFInfo
- Publication number
- CN101942659A CN101942659A CN 201010296020 CN201010296020A CN101942659A CN 101942659 A CN101942659 A CN 101942659A CN 201010296020 CN201010296020 CN 201010296020 CN 201010296020 A CN201010296020 A CN 201010296020A CN 101942659 A CN101942659 A CN 101942659A
- Authority
- CN
- China
- Prior art keywords
- nozzle
- powder
- cooling
- laser cladding
- powder feeding
- Prior art date
- Legal status (The legal status is an assumption and is not a legal conclusion. Google has not performed a legal analysis and makes no representation as to the accuracy of the status listed.)
- Pending
Links
Images
Landscapes
- Laser Beam Processing (AREA)
Abstract
本发明公开了一种便于冷却的激光熔覆喷嘴,包括喷嘴芯以及连接在其上方的用于外接激光系统的连接头,所述喷嘴芯内设有光束通道、冷却腔体和若干个送粉通道,所述冷却腔体为光束通道的外周与各送粉通道的外周之间形成的空腔;喷嘴芯的上端外侧壁上分别开有与送粉通道连通的进粉口以及与冷却腔体连通的出水口,喷嘴芯的下端开有与送粉通道连通的出粉口以及与冷却腔体连通的进水口,所述进水口和出水口都分别外接冷却系统。本发明还公开了上述喷嘴的制造方法,包括构绘模型、切片处理、快速成型、后处理等步骤。本发明结构简单、冷却效果高、送粉质量较好,且采用快速成型方法直接制造,使该喷嘴的设计不受传统加工方法限制,结构更加多样化。
The invention discloses a laser cladding nozzle which is convenient for cooling, comprising a nozzle core and a connection head connected above it for an external laser system, the nozzle core is provided with a beam channel, a cooling cavity and several powder feeding The cooling cavity is a cavity formed between the outer circumference of the beam channel and the outer circumference of each powder feeding channel; the outer wall of the upper end of the nozzle core is respectively opened with a powder inlet connected with the powder feeding channel and a cooling cavity. A connected water outlet, the lower end of the nozzle core is provided with a powder outlet connected to the powder feeding channel and a water inlet connected to the cooling cavity, and the water inlet and the water outlet are respectively externally connected to the cooling system. The invention also discloses the manufacturing method of the above-mentioned nozzle, which includes the steps of constructing a model, slicing processing, rapid prototyping, post-processing and the like. The invention has the advantages of simple structure, high cooling effect and good powder feeding quality, and is directly manufactured by a rapid prototyping method, so that the design of the nozzle is not restricted by the traditional processing method, and the structure is more diversified.
Description
技术领域technical field
本发明属于激光加工技术领域,具体涉及一种便于冷却的激光熔覆喷嘴及其制造方法。The invention belongs to the technical field of laser processing, and in particular relates to a laser cladding nozzle which is convenient for cooling and a manufacturing method thereof.
背景技术Background technique
激光熔覆技术的基本原理是:在基材表面添加熔覆材料,采用具有一定功率密度的激光束扫描使之完全熔化,并快速凝固,形成与基材呈冶金结合的表面涂层。激光熔覆技术由于具有节约战略金属、保护环境、能够提高材料表面性能、降低能耗等优势而受到越来越多的关注。The basic principle of laser cladding technology is: add cladding material on the surface of the substrate, use a laser beam with a certain power density to scan it to completely melt it, and quickly solidify it to form a surface coating that is metallurgically bonded to the substrate. Laser cladding technology has attracted more and more attention due to its advantages of saving strategic metals, protecting the environment, improving the surface properties of materials, and reducing energy consumption.
在激光熔覆系统中,激光熔覆送粉系统目前大多采用激光熔覆喷嘴来进行送粉,送粉的均匀性对熔覆质量影响很大,另外在激光熔覆过程中,喷嘴与加工部位的距离很近,受到熔池热辐射的影响比较大,所以也就要求喷嘴必须具有非常好的冷却效果。In the laser cladding system, most of the laser cladding powder feeding systems currently use laser cladding nozzles for powder feeding. The uniformity of powder feeding has a great influence on the cladding quality. The distance is very close, and it is greatly affected by the thermal radiation of the molten pool, so the nozzle must have a very good cooling effect.
公开号为CN 1570190A,公开日为2005年1月26日,申请号为200410013108.0的中国发明专利,发明创造的名称为一种内置式激光熔覆喷嘴,公开了一种内置式激光熔覆喷嘴,筒体由上下两个椎筒组成,筒壁内设有粉末通道、冷却水路和保护气通道,这些粉路、水路、气路的入口全部位于喷嘴的顶部,喷嘴无外露的水管、气管、粉管,结构紧凑。其不足之处是粉末通道为上下均匀的管道,送粉质量不高;冷却水环虽置于锥形筒体底部壁内,但其入口却设置于锥形筒体的上端,对于受到热辐射影响最大的喷嘴下缘的冷却效果不是很好;整个喷嘴是由多个零件装配而成,整体结构复杂,容易因装配不当影响送粉效果或发生漏水等问题。申请号为“200420046953.3”的中国实用新型专利公开了孔式同轴激光熔覆喷嘴,该喷嘴采用3个或6个小孔作为送粉通道,实现了同轴和粉末聚焦与激光聚焦重合,而且在大角度倾斜时(90-180度),不会出现粉末偏聚现象,仍然能保证送出粉末的各向均匀,但是这种结构是在内部嵌入水冷套来实现其冷却效果,由于受到加工方法的限制,需要先单独加工出水冷套,再通过焊接等方式与喷嘴装配在一起使用,具有加工繁琐、冷却面积有限等缺陷。The publication number is CN 1570190A, the publication date is January 26, 2005, and the application number is the Chinese invention patent of 200410013108.0. The name of the invention is a built-in laser cladding nozzle, which discloses a built-in laser cladding nozzle. The cylinder body is composed of upper and lower cones, and there are powder passages, cooling water passages and protective gas passages in the cylinder wall. The entrances of these powder passages, water passages and air passages are all located on the top of the nozzle. Tube, compact structure. Its disadvantage is that the powder channel is a uniform pipe up and down, and the quality of powder feeding is not high; although the cooling water ring is placed in the bottom wall of the conical cylinder, its inlet is set at the upper end of the conical cylinder, which is not suitable for heat radiation. The cooling effect of the lower edge of the nozzle that affects the most is not very good; the entire nozzle is assembled from multiple parts, the overall structure is complex, and it is easy to affect the powder feeding effect or cause water leakage due to improper assembly. The Chinese utility model patent with the application number "200420046953.3" discloses a hole-type coaxial laser cladding nozzle, which uses 3 or 6 small holes as powder feeding channels to achieve coaxial and powder focusing and laser focusing coincidence, and When inclined at a large angle (90-180 degrees), there will be no powder segregation phenomenon, and the uniformity of the sent powder can still be ensured. However, this structure is embedded with a water-cooled jacket to achieve its cooling effect. Due to the processing method Due to the limitations of the water cooling jacket, it is necessary to process the water cooling jacket separately, and then assemble it with the nozzle by welding, etc., which has defects such as cumbersome processing and limited cooling area.
综上所述,现有的技术中,一般都存在着以下不足:(1)受加工方法限制,需单独加工出水冷套,再通过焊接等方式与喷嘴组合,这种方法不但工艺繁琐,而且很容易因焊缝质量问题而导致漏水;(2)冷却面积有限,对受到热辐射影响最大的喷嘴下缘的冷却效果不是很好;(3)如前面所述,喷嘴是由多个零件组合而成,整体结构复杂,而且还容易因装配不当等问题影响送粉效果或发生漏水问题。In summary, the existing technologies generally have the following deficiencies: (1) Limited by the processing method, the water cooling jacket needs to be processed separately, and then combined with the nozzle by welding. This method is not only cumbersome, but also It is easy to cause water leakage due to weld quality problems; (2) The cooling area is limited, and the cooling effect on the lower edge of the nozzle that is most affected by heat radiation is not very good; (3) As mentioned earlier, the nozzle is composed of multiple parts The overall structure is complicated, and it is easy to affect the powder feeding effect or cause water leakage due to improper assembly and other problems.
因此,需要提供一种既可保证送粉均匀性又具有高效冷却效果,且不需进行装配的激光熔覆喷嘴及其制造方法。Therefore, it is necessary to provide a laser cladding nozzle which can ensure the uniformity of powder feeding and has a high-efficiency cooling effect, and does not require assembly, and a manufacturing method thereof.
发明内容Contents of the invention
本发明的首要目的在于克服现有技术的缺点与不足,提供一种既可保证送粉均匀又具有高效冷却效果,且不需进行装配的便于冷却的激光熔覆喷嘴。The primary purpose of the present invention is to overcome the disadvantages and deficiencies of the prior art, and to provide a laser cladding nozzle that can ensure uniform powder feeding and has high-efficiency cooling effect, and does not need to be assembled for easy cooling.
本发明的另一目的在于提供一种便于冷却的激光熔覆喷嘴的制造方法。Another object of the present invention is to provide a method for manufacturing a laser cladding nozzle that is convenient for cooling.
为达上述目的,本发明采用如下的技术方案:一种便于冷却的激光熔覆喷嘴,包括喷嘴芯以及连接在其上方的用于外接激光系统的连接头,所述喷嘴芯内设有光束通道、冷却腔体和若干个送粉通道,所述冷却腔体为光束通道的外周、各送粉通道的外周以及喷嘴芯内壁之间形成的空腔;喷嘴芯的上端外侧壁上分别开有与送粉通道连通的进粉口以及与冷却腔体连通的出水口,喷嘴芯的下端开有与送粉通道连通的出粉口以及与冷却腔体连通的进水口,所述进水口和出水口都分别外接冷却系统。工作时,外部的冷却系统将冷却水由位于喷嘴芯下端的进水口送入喷嘴芯的冷却腔体,冷却喷嘴后,冷却系统再将冷却水从位于喷嘴芯上端的出水口抽出,并通过外部的冷却系统回收。In order to achieve the above purpose, the present invention adopts the following technical solution: a laser cladding nozzle that is convenient for cooling, including a nozzle core and a connecting head for an external laser system connected above it, and a beam channel is provided in the nozzle core , a cooling cavity and several powder feeding channels, the cooling cavity is the cavity formed between the outer circumference of the beam channel, the outer circumference of each powder feeding channel and the inner wall of the nozzle core; the outer wall of the upper end of the nozzle core is respectively opened with A powder inlet connected to the powder feeding channel and a water outlet connected to the cooling cavity. The lower end of the nozzle core is provided with a powder outlet connected to the powder feeding channel and a water inlet connected to the cooling cavity. The water inlet and the water outlet Both are externally connected to the cooling system. When working, the external cooling system sends cooling water from the water inlet at the lower end of the nozzle core to the cooling cavity of the nozzle core. cooling system recovery.
所述光束通道为喷嘴芯中心位置开设的通孔,所述通孔优选为圆锥形孔或圆柱形孔等。The beam channel is a through hole opened at the center of the nozzle core, and the through hole is preferably a conical hole or a cylindrical hole.
所述连接头为设有外螺纹的圆柱体,且其中心位置开有与光束通道连通的通孔;The connecting head is a cylinder provided with external threads, and a through hole communicated with the beam channel is opened at the center thereof;
或者,所述连接头为与喷嘴芯一体成型的圆环形凸体,且在其侧壁上开有若干个用于外接激光系统的通孔,作为优选,各通孔围绕喷嘴芯的中心轴线均匀分布。Alternatively, the connecting head is an annular convex body integrally formed with the nozzle core, and several through holes for externally connecting the laser system are opened on its side wall. As a preference, each through hole surrounds the central axis of the nozzle core Evenly distributed.
所述送粉通道为内壁光滑的通道,通道的孔径从进粉口到出粉口逐渐变小;各送粉通道围绕喷嘴芯的中心轴线均匀分布,且各送粉通道沿着出粉方向的延长线汇聚于一点。The powder feeding channel is a channel with a smooth inner wall, and the aperture of the channel gradually becomes smaller from the powder inlet to the powder outlet; each powder feeding channel is evenly distributed around the central axis of the nozzle core, and each powder feeding channel is along the direction of the powder outlet. The extension cords converge at one point.
所述送粉通道为三至六个,进粉口和出粉口的数目与送粉通道的数目一致,作为优选,进粉口、出粉口和送粉通道一一对应;所述喷嘴芯的外壁厚为2~5mm;光束通道的壁厚为2~5mm;送粉通道的壁厚为2~5mm。The number of powder feeding channels is three to six, and the number of powder inlets and powder outlets is consistent with the number of powder feeding channels. As a preference, the powder inlets, powder outlets and powder feeding channels are in one-to-one correspondence; the nozzle core The thickness of the outer wall is 2-5mm; the wall thickness of the beam channel is 2-5mm; the wall thickness of the powder feeding channel is 2-5mm.
上述便于冷却的激光熔覆喷嘴的制造方法,包括如下步骤:The above-mentioned manufacturing method of the laser cladding nozzle convenient for cooling comprises the following steps:
(1)构绘模型:在上位机中根据所述激光熔覆喷嘴的结构,建立所述激光熔覆喷嘴的三维模型;(1) Constructing a model: establishing a three-dimensional model of the laser cladding nozzle in the host computer according to the structure of the laser cladding nozzle;
(2)切片处理:将得到的所述激光熔覆喷嘴的三维模型沿成型方向进行切片处理,获得其分层截面的切片数据,然后将切片数据导入激光快速成型装置中;(2) Slicing processing: Slicing the obtained three-dimensional model of the laser cladding nozzle along the forming direction to obtain slice data of its layered section, and then import the slice data into the laser rapid prototyping device;
(3)快速成型:设置快速成型参数,将制造的原材料粉末送入激光快速成型装置中,根据导入的切片数据对原材料粉末进行激光扫描并逐层堆积,直到堆积成型,获得成型的激光熔覆喷嘴;(3) Rapid prototyping: set the rapid prototyping parameters, send the manufactured raw material powder into the laser rapid prototyping device, scan the raw material powder according to the imported slice data and accumulate layer by layer until the accumulation is formed, and the formed laser cladding is obtained nozzle;
(4)后处理:对成型的激光熔覆喷嘴进行后处理。(4) Post-processing: Post-processing the formed laser cladding nozzle.
所述步骤(3)中,所述的快速成型为激光选区熔化/烧结成型;所述原材料粉末为不锈钢、铜或铜合金,其中以铜或铜合金作为原材料粉末加工的冷却效果最好。In the step (3), the rapid prototyping is laser selective melting/sintering; the raw material powder is stainless steel, copper or copper alloy, and copper or copper alloy is used as the raw material powder for the best cooling effect.
所述步骤(4)中,后处理具体为:将成型的所述激光熔覆喷嘴切离基板,对所述激光熔覆喷嘴的表面及内部进行打磨、喷砂、吹气,以去除粘结在所述激光熔覆喷嘴表面或滞留在其内部的送粉通道和冷却腔体里面的粉末。In the step (4), the post-processing specifically includes: cutting the formed laser cladding nozzle from the substrate, grinding, sandblasting, and blowing the surface and interior of the laser cladding nozzle to remove the bond Powder on the surface of the laser cladding nozzle or trapped in the powder feeding channel and cooling cavity inside it.
本发明的工作原理:加工时,外部的激光系统发射激光,激光沿光束通道发射至喷嘴芯的下端部,同时,原材料粉末进入各个进粉口,并沿送粉通道运动至出粉口,从出粉口到达喷嘴芯的下端部,并在激光的作用下,实现熔覆等操作,由于各送粉通道采用的是内壁光滑的通道,通道的孔径从进粉口到出粉口逐渐变小,且各送粉通道围绕喷嘴芯的中心轴线均匀分布,因此原材料粉末能够均匀的输送至喷嘴芯下端部。在加工的同时,外部的冷却系统将冷却水由位于喷嘴芯下端的进水口送入喷嘴芯的冷却腔体,冷却喷嘴后,冷却系统再将冷却水由位于喷嘴芯上端的出水口抽出,以充分实现高效冷却喷嘴芯的效果。The working principle of the present invention: during processing, the external laser system emits laser light, and the laser light is emitted to the lower end of the nozzle core along the beam channel. At the same time, the raw material powder enters each powder inlet and moves along the powder feeding channel to the powder outlet. The powder outlet reaches the lower end of the nozzle core, and under the action of the laser, operations such as cladding are realized. Since each powder feeding channel adopts a channel with a smooth inner wall, the aperture of the channel gradually becomes smaller from the powder inlet to the powder outlet. , and each powder feeding channel is evenly distributed around the central axis of the nozzle core, so the raw material powder can be uniformly delivered to the lower end of the nozzle core. While processing, the external cooling system sends cooling water from the water inlet at the lower end of the nozzle core to the cooling cavity of the nozzle core. After the nozzle is cooled, the cooling system pumps the cooling water out from the water outlet at the upper end of the nozzle core to Fully realize the effect of efficiently cooling the nozzle core.
本发明可应用于激光熔覆、激光三维制造、材料合成、激光修复等激光加工领域。The invention can be applied to laser processing fields such as laser cladding, laser three-dimensional manufacturing, material synthesis, and laser repair.
本发明与现有技术相比,具有如下优点和有益效果:Compared with the prior art, the present invention has the following advantages and beneficial effects:
1、本发明的喷嘴内的送粉通道为内壁光滑的通道,通道的孔径从进粉口到出粉口逐渐变小,能够达到较好的送粉效果,提高送粉质量。1. The powder feeding channel in the nozzle of the present invention is a channel with a smooth inner wall, and the aperture of the channel gradually becomes smaller from the powder inlet to the powder outlet, which can achieve a better powder feeding effect and improve the powder feeding quality.
2、本发明的喷嘴本身就具有冷却效果,不需要组合水冷套或开设水冷通道,因此不存在因密封不好而造成漏水的问题,而且也不会因装配不当而影响送粉质量。2. The nozzle itself of the present invention has a cooling effect, and does not need to be combined with a water cooling jacket or to open a water cooling channel, so there is no problem of water leakage caused by poor sealing, and the quality of powder delivery will not be affected by improper assembly.
3、本发明的喷嘴仅保留了送粉通道和光束通道,其余的腔体(即送粉通道和光束通道之间的腔体)部分作为冷却腔体,大大地减轻了整个的喷嘴的质量且整体结构简单;而且由于冷却腔体相对于现有技术,具有大的冷却面积,具有非常好的冷却效果,尤其冷却腔体的进水口位于喷嘴芯下端,能够较好冷却受热辐射影响最大的喷嘴芯下缘。3. The nozzle of the present invention only retains the powder feeding channel and the beam channel, and the rest of the cavity (that is, the cavity between the powder feeding channel and the beam channel) is used as a cooling cavity, which greatly reduces the quality of the entire nozzle and The overall structure is simple; moreover, compared with the prior art, the cooling chamber has a large cooling area and has a very good cooling effect, especially the water inlet of the cooling chamber is located at the lower end of the nozzle core, which can better cool the nozzle most affected by heat radiation Core lower edge.
4、本发明的喷嘴可以直接制造,不需组合其他零件或与其他零件装配使用,省去了装配的工序,不存在因装配问题而导致送粉效果差或漏水问题。4. The nozzle of the present invention can be manufactured directly without combining or assembling with other parts, eliminating the assembly process, and there is no problem of poor powder feeding effect or water leakage due to assembly problems.
5、本发明采用激光扫描以快速成型直接制造本喷嘴,所以不受传统加工方法限制,喷嘴的结构更加多样化。5. The present invention uses laser scanning to directly manufacture the nozzle by rapid prototyping, so it is not limited by traditional processing methods, and the structure of the nozzle is more diverse.
附图说明Description of drawings
图1是本发明喷嘴在实施例1的立体结构示意图;Fig. 1 is the schematic diagram of the three-dimensional structure of the nozzle of the present invention in
图2是图1所示喷嘴的A-A剖视图;Fig. 2 is A-A sectional view of the nozzle shown in Fig. 1;
图3是图1所示喷嘴的B-B剖视图;Fig. 3 is a B-B sectional view of the nozzle shown in Fig. 1;
图4是本发明喷嘴在实施例2的结构示意图;Fig. 4 is the structural representation of nozzle of the present invention in
图5是本发明喷嘴在实施例3的结构示意图;Fig. 5 is a schematic structural view of the nozzle of the present invention in
图6是图1所示喷嘴的制造方法流程示意图。Fig. 6 is a schematic flow chart of the manufacturing method of the nozzle shown in Fig. 1 .
具体实施方式Detailed ways
下面结合实施例及附图对本发明作进一步描述,但本发明的实施方式不限于此。The present invention will be further described below in conjunction with the embodiments and accompanying drawings, but the embodiments of the present invention are not limited thereto.
实施例1Example 1
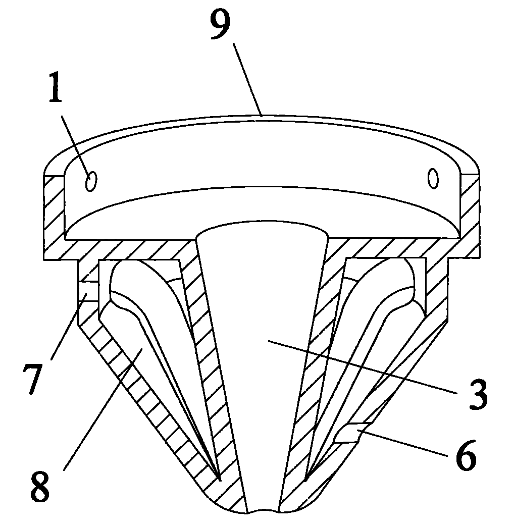
如图1所示,本便于冷却的激光熔覆喷嘴包括喷嘴芯10以及连接在其上方的用于外接激光系统的连接头9,所述喷嘴芯10内设有光束通道3、冷却腔体8和三个送粉通道4,所述冷却腔体8为光束通道3的外周、各送粉通道4的外周以及喷嘴芯10内壁之间形成的空腔(即喷嘴芯10中,去除光束通道3和送粉通道4后所剩余的腔体部分都构成冷却腔体8);如图2和图3所示,喷嘴芯10的上端外侧壁上分别开有与送粉通道4连通的进粉口2以及与冷却腔体8连通的出水口7,喷嘴芯10的下端开有与送粉通道4连通的出粉口5以及与冷却腔体8连通的进水口6,所述进水口6和出水口7都分别外接冷却系统,以使冷却腔体8与外部的冷却系统连接。在工作时,外部的冷却系统将冷却水由位于喷嘴芯10下端的进水口6送入喷嘴芯10的冷却腔体8,冷却喷嘴后,冷却系统再将冷却水由位于喷嘴芯10上端的出水口7抽出,并通过外部的冷却系统回收。As shown in Figure 1, the laser cladding nozzle that is convenient for cooling includes a
如图2所示,光束通道3为喷嘴芯10中心位置开设的通孔,通孔为圆锥形孔。As shown in FIG. 2 , the
如图1所示,所述连接头9为与喷嘴芯10一体成型的圆环形凸体,且在其侧壁上开有三个用于外接激光系统的通孔1,三个通孔1位于喷嘴芯10上端,并围绕喷嘴芯10中心轴线均匀分布。As shown in Figure 1, the
如图2所示,所述送粉通道4为内壁光滑的通道,通道的孔径从进粉口2到出粉口5逐渐变小;各送粉通道4围绕喷嘴芯10的中心轴线均匀分布,且各送粉通道4沿着出粉方向的延长线汇聚于一点。As shown in Figure 2, the
进粉口2和出粉口5的数目与送粉通道4的数目一致,都分别为三个,且三个进粉口2和三个出粉口5分别与三个送粉通道4连通,进粉口2、出粉口5和送粉通道4一一对应;所述喷嘴芯10的外壁厚为2mm;光束通道3的壁厚为2mm;送粉通道4的壁厚为2mm。The number of
如图6所示,上述便于冷却的激光熔覆喷嘴的制造方法,包括如下步骤:As shown in Figure 6, the above-mentioned method for manufacturing the laser cladding nozzle that is convenient for cooling includes the following steps:
(1)构绘模型:在上位机中根据所述激光熔覆喷嘴的结构,建立所述激光熔覆喷嘴的三维模型;(1) Constructing a model: establishing a three-dimensional model of the laser cladding nozzle in the host computer according to the structure of the laser cladding nozzle;
(2)切片处理:将得到的所述激光熔覆喷嘴的三维模型沿成型方向进行切片处理,获得其分层截面的切片数据,然后将切片数据导入激光快速成型装置中;(2) Slicing processing: Slicing the obtained three-dimensional model of the laser cladding nozzle along the forming direction to obtain slice data of its layered section, and then import the slice data into the laser rapid prototyping device;
(3)快速成型:设置快速成型参数,将制造的原材料粉末送入激光快速成型装置中,根据导入的切片数据对原材料粉末进行激光扫描并逐层堆积,直到堆积成型,获得成型的激光熔覆喷嘴;(3) Rapid prototyping: set the rapid prototyping parameters, send the manufactured raw material powder into the laser rapid prototyping device, scan the raw material powder according to the imported slice data and accumulate layer by layer until the accumulation is formed, and the formed laser cladding is obtained nozzle;
(4)后处理:对成型的激光熔覆喷嘴进行后处理。(4) Post-processing: Post-processing the formed laser cladding nozzle.
所述步骤(3)中,所述的快速成型为激光选区熔化/烧结成型;所述原材料粉末为铜合金。In the step (3), the rapid prototyping is laser selective melting/sintering; the raw material powder is copper alloy.
所述步骤(4)中,后处理具体为:将所述激光熔覆喷嘴切离基板,对所述激光熔覆喷嘴的表面及内部进行打磨、喷砂、吹气,以去除粘结在激光熔覆喷嘴表面或滞留在其内部的送粉通道4和冷却腔体8里面的粉末。In the step (4), the post-processing specifically includes: cutting the laser cladding nozzle away from the substrate, and performing grinding, sandblasting, and air blowing on the surface and interior of the laser cladding nozzle to remove the laser cladding nozzle. Cladding the surface of the nozzle or the powder remaining in the
本实施例的工作原理:加工时,外部的激光系统发射激光,激光沿光束通道3发射至喷嘴芯10的下端部,同时,原材料粉末进入各个进粉口2,并沿送粉通道4运动至出粉口5,从出粉口5到达喷嘴芯10的下端部,并在激光的作用下,实现熔覆等操作,由于各送粉通道4采用的是内壁光滑的通道,通道的孔径从进粉口2到出粉口5逐渐变小,且各送粉通道4围绕喷嘴芯10的中心轴线均匀分布,因此原材料粉末能够均匀的输送至喷嘴芯10下端部。在加工的同时,外部的冷却系统将冷却水从位于喷嘴芯10下端的进水口6送入喷嘴芯10的冷却腔体8,冷却本喷嘴后,冷却系统再将冷却水从位于喷嘴芯10上端的出水口7抽出,以充分实现高效冷却喷嘴芯10的效果。The working principle of this embodiment: during processing, the external laser system emits laser light, and the laser light is emitted to the lower end of the
本实施例可应用于激光熔覆、激光三维制造、材料合成、激光修复等激光加工领域。This embodiment can be applied to laser processing fields such as laser cladding, laser three-dimensional manufacturing, material synthesis, and laser repair.
实施例2Example 2
本实施例除下述特征外其他结构同实施例1:如图4所示,光束通道3为喷嘴芯中心位置开设的通孔,通孔为圆柱形孔。The structure of this embodiment is the same as that of
所述步骤(3)中,原材料粉末为铜。In the step (3), the raw material powder is copper.
实施例3Example 3
本实施例除下述特征外其他结构同实施例1:如图5所示,所述连接头为设有外螺纹11的圆柱体,且其中心位置开有与光束通道连通的通孔12。The structure of this embodiment is the same as that of
所述送粉通道4为六个;进粉口2和出粉口5的数目与送粉通道4的数目一致,都分别为六个,且六个进粉口2和六个出粉口5分别与六个送粉通道4连通,进粉口2、出粉口5和送粉通道4一一对应;所述喷嘴芯的外壁厚为5mm;光束通道的壁厚为5mm;送粉通道4的壁厚为5mm。The number of
实施例4Example 4
本实施例除下述特征外其他结构同实施例1:所述送粉通道为五个;进粉口和出粉口的数目与送粉通道的数目一致,都分别为五个,且五个进粉口2和五个出粉口5分别与五个送粉通道连通,进粉口2、出粉口5和送粉通道4一一对应;所述喷嘴芯的外壁厚为4mm;光束通道的壁厚为3mm;送粉通道的壁厚为3mm。The structure of this embodiment is the same as that of
所述步骤(3)中,原材料粉末为不锈钢。In the step (3), the raw material powder is stainless steel.
上述实施例为本发明较佳的实施方式,但本发明的实施方式并不受上述实施例的限制,其他的任何未背离本发明的精神实质与原理下所作的改变、修饰、替代、组合、简化,均应为等效的置换方式,都包含在本发明的保护范围之内。The above-mentioned embodiment is a preferred embodiment of the present invention, but the embodiment of the present invention is not limited by the above-mentioned embodiment, and any other changes, modifications, substitutions, combinations, Simplifications should be equivalent replacement methods, and all are included in the protection scope of the present invention.
Claims (10)
Priority Applications (1)
| Application Number | Priority Date | Filing Date | Title |
|---|---|---|---|
| CN 201010296020 CN101942659A (en) | 2010-09-28 | 2010-09-28 | Laser cladding nozzle convenient for cooling and manufacturing method thereof |
Applications Claiming Priority (1)
| Application Number | Priority Date | Filing Date | Title |
|---|---|---|---|
| CN 201010296020 CN101942659A (en) | 2010-09-28 | 2010-09-28 | Laser cladding nozzle convenient for cooling and manufacturing method thereof |
Publications (1)
| Publication Number | Publication Date |
|---|---|
| CN101942659A true CN101942659A (en) | 2011-01-12 |
Family
ID=43434854
Family Applications (1)
| Application Number | Title | Priority Date | Filing Date |
|---|---|---|---|
| CN 201010296020 Pending CN101942659A (en) | 2010-09-28 | 2010-09-28 | Laser cladding nozzle convenient for cooling and manufacturing method thereof |
Country Status (1)
| Country | Link |
|---|---|
| CN (1) | CN101942659A (en) |
Cited By (20)
| Publication number | Priority date | Publication date | Assignee | Title |
|---|---|---|---|---|
| CN103526151A (en) * | 2013-10-21 | 2014-01-22 | 芜湖鼎恒材料技术有限公司 | Long-life nozzle of supersonic treatment equipment |
| CN103521373A (en) * | 2013-10-21 | 2014-01-22 | 芜湖鼎恒材料技术有限公司 | Cooling device for nozzle of supersonic processing device |
| CN103537390A (en) * | 2013-10-21 | 2014-01-29 | 芜湖鼎恒材料技术有限公司 | Supersonic processing nozzle good in radiating performance |
| CN104475986A (en) * | 2014-10-31 | 2015-04-01 | 无锡阳工机械制造有限公司 | Cutting head nozzle for laser metal cutting machine |
| CN104718063A (en) * | 2012-10-15 | 2015-06-17 | 沃克斯艾捷特股份有限公司 | Method and device for producing three-dimensional models by means of a temperature-controllable print head |
| CN106319514A (en) * | 2016-10-20 | 2017-01-11 | 西北工业大学 | Turbulence-thread rotational flow water-cooling device used for laser cladding nozzle |
| CN106400005A (en) * | 2016-10-20 | 2017-02-15 | 西北工业大学 | Turbulence protruding channel water cooling device used for laser cladding spray nozzle |
| CN106400004A (en) * | 2016-10-20 | 2017-02-15 | 西北工业大学 | Spiral micro-fin water cooling device for laser cladding nozzle |
| CN106521484A (en) * | 2016-10-20 | 2017-03-22 | 西北工业大学 | Multi-level ribbed channel water-cooling device used for laser cladding sprayer |
| CN107877107A (en) * | 2017-12-01 | 2018-04-06 | 浙江晋巨化工有限公司 | A kind of manufacture method of high abrasion slurry nozzle |
| CN109386399A (en) * | 2018-10-30 | 2019-02-26 | 首都航天机械有限公司 | A kind of band detour inner flow passage structure and its manufacturing method |
| CN109536957A (en) * | 2019-01-29 | 2019-03-29 | 南京辉锐光电科技有限公司 | Laser melting-painting nozzle and laser cladding apparatus |
| CN109680274A (en) * | 2019-02-20 | 2019-04-26 | 江苏镭电嘉成激光科技有限公司 | A kind of integral type coaxial powder-feeding nozzle for laser fusion and coating |
| CN110923706A (en) * | 2019-12-31 | 2020-03-27 | 华南理工大学 | A 3D printing-based laser cladding device and its nozzle |
| CN112064013A (en) * | 2020-09-10 | 2020-12-11 | 西安交通大学 | Synchronous rectangular light spot powder feeding device |
| CN112481612A (en) * | 2020-11-05 | 2021-03-12 | 华南理工大学 | A cladding device for fast clamping |
| CN113802116A (en) * | 2021-08-24 | 2021-12-17 | 华南理工大学 | Heterogeneous multi-material laser cladding nozzle and manufacturing method thereof |
| CN113818019A (en) * | 2021-09-22 | 2021-12-21 | 北京机科国创轻量化科学研究院有限公司 | Ultrahigh-speed laser cladding nozzle suitable for large powder feeding amount and cladding process |
| CN116145131A (en) * | 2023-01-09 | 2023-05-23 | 东南大学 | A device and method capable of continuous operation of underwater high-power laser deposition |
| CN120619652A (en) * | 2025-08-14 | 2025-09-12 | 山东鑫沃德智能装备有限公司 | Cutting head protection mechanism for optical fiber laser cutting machine |
Citations (4)
| Publication number | Priority date | Publication date | Assignee | Title |
|---|---|---|---|---|
| JPH11333584A (en) * | 1998-05-26 | 1999-12-07 | Mitsubishi Heavy Ind Ltd | Laser beam machining head |
| CN2510502Y (en) * | 2001-10-18 | 2002-09-11 | 北京有色金属研究总院 | Laser coating coaxial powder-delivery nozzle |
| CN1603031A (en) * | 2004-11-05 | 2005-04-06 | 华南理工大学 | Selected zone laser melting and rapid forming method for metal parts and apparatus thereof |
| CN2707772Y (en) * | 2004-06-15 | 2005-07-06 | 华南理工大学 | Ring type coaxial laser cladding nozzle |
-
2010
- 2010-09-28 CN CN 201010296020 patent/CN101942659A/en active Pending
Patent Citations (4)
| Publication number | Priority date | Publication date | Assignee | Title |
|---|---|---|---|---|
| JPH11333584A (en) * | 1998-05-26 | 1999-12-07 | Mitsubishi Heavy Ind Ltd | Laser beam machining head |
| CN2510502Y (en) * | 2001-10-18 | 2002-09-11 | 北京有色金属研究总院 | Laser coating coaxial powder-delivery nozzle |
| CN2707772Y (en) * | 2004-06-15 | 2005-07-06 | 华南理工大学 | Ring type coaxial laser cladding nozzle |
| CN1603031A (en) * | 2004-11-05 | 2005-04-06 | 华南理工大学 | Selected zone laser melting and rapid forming method for metal parts and apparatus thereof |
Cited By (33)
| Publication number | Priority date | Publication date | Assignee | Title |
|---|---|---|---|---|
| CN104718063A (en) * | 2012-10-15 | 2015-06-17 | 沃克斯艾捷特股份有限公司 | Method and device for producing three-dimensional models by means of a temperature-controllable print head |
| US11097469B2 (en) | 2012-10-15 | 2021-08-24 | Voxeljet Ag | Method and device for producing three-dimensional models with a temperature-controllable print head |
| CN109732917A (en) * | 2012-10-15 | 2019-05-10 | 沃克斯艾捷特股份有限公司 | By the method and apparatus of the print head manufacture threedimensional model of temperature-controllable |
| CN103526151A (en) * | 2013-10-21 | 2014-01-22 | 芜湖鼎恒材料技术有限公司 | Long-life nozzle of supersonic treatment equipment |
| CN103521373A (en) * | 2013-10-21 | 2014-01-22 | 芜湖鼎恒材料技术有限公司 | Cooling device for nozzle of supersonic processing device |
| CN103537390A (en) * | 2013-10-21 | 2014-01-29 | 芜湖鼎恒材料技术有限公司 | Supersonic processing nozzle good in radiating performance |
| CN103526151B (en) * | 2013-10-21 | 2015-07-08 | 芜湖鼎恒材料技术有限公司 | Long-life nozzle of supersonic treatment equipment |
| CN103521373B (en) * | 2013-10-21 | 2015-08-19 | 芜湖鼎恒材料技术有限公司 | A kind of heat abstractor of supersonic speed treatment facility nozzle |
| CN103537390B (en) * | 2013-10-21 | 2015-10-28 | 芜湖鼎瀚再制造技术有限公司 | A kind of supersonic speed process nozzle of perfect heat-dissipating |
| CN104475986A (en) * | 2014-10-31 | 2015-04-01 | 无锡阳工机械制造有限公司 | Cutting head nozzle for laser metal cutting machine |
| CN106521484B (en) * | 2016-10-20 | 2018-11-20 | 西北工业大学 | A kind of multistage channel water-cooling device with ribbing for laser melting coating spray head |
| CN106319514A (en) * | 2016-10-20 | 2017-01-11 | 西北工业大学 | Turbulence-thread rotational flow water-cooling device used for laser cladding nozzle |
| CN106400004B (en) * | 2016-10-20 | 2018-11-09 | 西北工业大学 | A kind of micro- rib water cooling plant of spiral for laser melting coating nozzle |
| CN106319514B (en) * | 2016-10-20 | 2018-11-09 | 西北工业大学 | A kind of flow-disturbing screw thread eddy flow water cooling plant for laser melting coating nozzle |
| CN106400005B (en) * | 2016-10-20 | 2018-11-13 | 西北工业大学 | A kind of flow-disturbing embossed channel water cooling plant for laser melting coating nozzle |
| CN106400004A (en) * | 2016-10-20 | 2017-02-15 | 西北工业大学 | Spiral micro-fin water cooling device for laser cladding nozzle |
| CN106400005A (en) * | 2016-10-20 | 2017-02-15 | 西北工业大学 | Turbulence protruding channel water cooling device used for laser cladding spray nozzle |
| CN106521484A (en) * | 2016-10-20 | 2017-03-22 | 西北工业大学 | Multi-level ribbed channel water-cooling device used for laser cladding sprayer |
| CN107877107A (en) * | 2017-12-01 | 2018-04-06 | 浙江晋巨化工有限公司 | A kind of manufacture method of high abrasion slurry nozzle |
| CN109386399A (en) * | 2018-10-30 | 2019-02-26 | 首都航天机械有限公司 | A kind of band detour inner flow passage structure and its manufacturing method |
| CN109536957A (en) * | 2019-01-29 | 2019-03-29 | 南京辉锐光电科技有限公司 | Laser melting-painting nozzle and laser cladding apparatus |
| CN109536957B (en) * | 2019-01-29 | 2024-04-12 | 南京辉锐光电科技有限公司 | Laser cladding nozzle and laser cladding device |
| CN109680274A (en) * | 2019-02-20 | 2019-04-26 | 江苏镭电嘉成激光科技有限公司 | A kind of integral type coaxial powder-feeding nozzle for laser fusion and coating |
| CN110923706A (en) * | 2019-12-31 | 2020-03-27 | 华南理工大学 | A 3D printing-based laser cladding device and its nozzle |
| CN112064013B (en) * | 2020-09-10 | 2021-06-18 | 西安交通大学 | Synchronous rectangular light spot powder feeding device |
| CN112064013A (en) * | 2020-09-10 | 2020-12-11 | 西安交通大学 | Synchronous rectangular light spot powder feeding device |
| CN112481612A (en) * | 2020-11-05 | 2021-03-12 | 华南理工大学 | A cladding device for fast clamping |
| CN113802116A (en) * | 2021-08-24 | 2021-12-17 | 华南理工大学 | Heterogeneous multi-material laser cladding nozzle and manufacturing method thereof |
| CN113818019A (en) * | 2021-09-22 | 2021-12-21 | 北京机科国创轻量化科学研究院有限公司 | Ultrahigh-speed laser cladding nozzle suitable for large powder feeding amount and cladding process |
| CN113818019B (en) * | 2021-09-22 | 2024-03-26 | 北京机科国创轻量化科学研究院有限公司 | Ultra-high-speed laser cladding nozzle suitable for large powder feeding amount and cladding process |
| CN116145131A (en) * | 2023-01-09 | 2023-05-23 | 东南大学 | A device and method capable of continuous operation of underwater high-power laser deposition |
| CN116145131B (en) * | 2023-01-09 | 2025-06-27 | 东南大学 | Device and method capable of realizing underwater high-power laser deposition continuous operation |
| CN120619652A (en) * | 2025-08-14 | 2025-09-12 | 山东鑫沃德智能装备有限公司 | Cutting head protection mechanism for optical fiber laser cutting machine |
Similar Documents
| Publication | Publication Date | Title |
|---|---|---|
| CN101942659A (en) | Laser cladding nozzle convenient for cooling and manufacturing method thereof | |
| CN101264519B (en) | An adjustable laser coaxial powder feeding nozzle | |
| CN201793743U (en) | Laser cladding spray nozzle convenient for cooling | |
| CN104694922B (en) | A kind of annular ring type laser coaxial powder feeding nozzle | |
| WO2018228276A1 (en) | Built-in sieve-hole annular laser cladding nozzle | |
| CN201329320Y (en) | Coaxial powder-feeding nozzle with water cooling and guided air protection | |
| CN110055528B (en) | Annular coaxial powder feeding device for ultra-high-speed laser cladding | |
| CN1271236C (en) | Built-in type jet nozzle for laser melting and coating | |
| CN105983774B (en) | A kind of copper-clad tungsten electrode water cooling TIG welding guns based on cathode pinch effect | |
| CN101274390B (en) | A coaxial nozzle system for laser rapid prototyping | |
| CN203999815U (en) | Laser coating and powder feeding nozzle | |
| CN110302909B (en) | High-power hot cathode supersonic plasma spraying gun | |
| CN201511130U (en) | A coaxial powder feeding nozzle for laser rapid prototyping | |
| CN105441935B (en) | Coaxial powder-feeding laser melting-painting method and its special apparatus for working under a kind of vacuum condition | |
| CN105081337A (en) | Method and device for preparing fine spherical metal powder through high-frequency supersonic plasma gas | |
| CN101942656A (en) | A laser nozzle device and method for uniform powder distribution thereof | |
| CN203999818U (en) | A kind of laser wide-band cladding inner-light powder-supplying device | |
| CN115488356A (en) | A laser direct deposition titanium alloy additive protective drag cover | |
| CN106077920A (en) | A kind of tungsten electrode internal water cooling TIG welding gun based on negative electrode pinch effect | |
| CN112030160A (en) | Multi-axis laser cladding anti-gravity deflecting ring cone focusing powder feeding nozzle | |
| CN201195748Y (en) | Coaxial nozzle device for laser quick forming | |
| CN116618790A (en) | 3D printing welding torch device and welding method for double Laval effect cold droplet accumulation | |
| CN201565725U (en) | A powder feeding working head for laser material processing | |
| CN111850547B (en) | Multi-shaft ultra-high-speed laser cladding spray head | |
| CN202380090U (en) | Laser cladding fiber composite nozzle |
Legal Events
| Date | Code | Title | Description |
|---|---|---|---|
| C06 | Publication | ||
| PB01 | Publication | ||
| C10 | Entry into substantive examination | ||
| SE01 | Entry into force of request for substantive examination | ||
| C12 | Rejection of a patent application after its publication | ||
| RJ01 | Rejection of invention patent application after publication |
Application publication date: 20110112 |
