CN101934502B - Easily recovered electroplated diamond grinding wheel - Google Patents
Easily recovered electroplated diamond grinding wheel Download PDFInfo
- Publication number
- CN101934502B CN101934502B CN2010102744535A CN201010274453A CN101934502B CN 101934502 B CN101934502 B CN 101934502B CN 2010102744535 A CN2010102744535 A CN 2010102744535A CN 201010274453 A CN201010274453 A CN 201010274453A CN 101934502 B CN101934502 B CN 101934502B
- Authority
- CN
- China
- Prior art keywords
- auxiliary
- grinding wheel
- auxiliary base
- substrate
- abrasive layer
- Prior art date
- Legal status (The legal status is an assumption and is not a legal conclusion. Google has not performed a legal analysis and makes no representation as to the accuracy of the status listed.)
- Expired - Fee Related
Links
- 229910003460 diamond Inorganic materials 0.000 title claims abstract description 51
- 239000010432 diamond Substances 0.000 title claims abstract description 51
- 238000000227 grinding Methods 0.000 title claims abstract description 26
- 239000000758 substrate Substances 0.000 claims abstract description 27
- 239000000463 material Substances 0.000 claims description 7
- 229910000851 Alloy steel Inorganic materials 0.000 claims description 3
- 229910001209 Low-carbon steel Inorganic materials 0.000 claims description 3
- 229910000954 Medium-carbon steel Inorganic materials 0.000 claims description 3
- 238000011084 recovery Methods 0.000 abstract description 4
- 238000001125 extrusion Methods 0.000 abstract description 3
- 230000005489 elastic deformation Effects 0.000 abstract description 2
- 239000011159 matrix material Substances 0.000 description 6
- 239000006061 abrasive grain Substances 0.000 description 5
- 238000000034 method Methods 0.000 description 3
- 238000009434 installation Methods 0.000 description 2
- 238000004064 recycling Methods 0.000 description 2
- -1 cemented carbide Substances 0.000 description 1
- 239000000919 ceramic Substances 0.000 description 1
- 239000011248 coating agent Substances 0.000 description 1
- 238000000576 coating method Methods 0.000 description 1
- 238000010586 diagram Methods 0.000 description 1
- 230000008034 disappearance Effects 0.000 description 1
- 239000011521 glass Substances 0.000 description 1
- 238000004519 manufacturing process Methods 0.000 description 1
Images
Landscapes
- Polishing Bodies And Polishing Tools (AREA)
Abstract
本发明公开了一种易回收的电镀金刚石砂轮,包括基体和金刚石磨料层,特点是基体上设置有连接部,连接部上过盈连接有辅助基体,金刚石磨料层电镀在辅助基体的外表面上;优点是辅助基体在连接状态下受到连接部的挤压作用而处于弹性膨胀变形状态,而在砂轮的回收过程中,将辅助基体从连接部上拆下,辅助基体便不再处于弹性变形状态,从而在金刚石磨料层与辅助基体之间产生微小的间隙,使金刚石磨料层很容易从辅助基体的表面脱离,实现金刚石磨料层与基体的快速、高效拆解,使电镀金刚石砂轮的回收比较方便容易。
The invention discloses an easily recyclable electroplated diamond grinding wheel, which comprises a base body and a diamond abrasive layer, and is characterized in that the base body is provided with a connecting part, the connecting part is interference-connected with an auxiliary base body, and the diamond abrasive layer is electroplated on the outer surface of the auxiliary base body The advantage is that the auxiliary base is in a state of elastic expansion and deformation by the extrusion of the connecting part in the connected state, and in the recovery process of the grinding wheel, the auxiliary base is removed from the connecting part, and the auxiliary base is no longer in a state of elastic deformation , so that a small gap is generated between the diamond abrasive layer and the auxiliary substrate, so that the diamond abrasive layer is easily detached from the surface of the auxiliary substrate, realizing the rapid and efficient disassembly of the diamond abrasive layer and the substrate, and making the recovery of the electroplated diamond grinding wheel more convenient easy.
Description
技术领域 technical field
本发明涉及一种金刚石工具,尤其涉及一种易回收的电镀金刚石砂轮。 The invention relates to a diamond tool, in particular to an easily recyclable electroplated diamond grinding wheel.
背景技术 Background technique
金刚石砂轮主要用于对由硬质合金、玻璃、陶瓷等硬脆材料制成的产品内、外圆的磨削加工。目前的电镀金刚石砂轮主要由基体和磨料层两部分组成,磨料层是电镀金刚石砂轮的主要工作部分,它包含金刚石磨粒和结合剂镀层两部分。当电镀金刚石砂轮被多次使用后,磨料层内的金刚石磨粒被磨损且磨料层变薄,残留有金刚石磨粒的电镀金刚石砂轮便失去切削能力而报废,但是由于金刚石磨粒比较昂贵,且砂轮基体的制造也需要消耗材料和成本,因此通常需要对报废后的电镀金刚石砂轮加以回收利用。而将报废的电镀金刚石砂轮回收的主要问题便是将磨料层与基体的分离,但是针对目前的电镀金刚石砂轮,要将磨料层与基体分离,其过程比较复杂,而且效率也比较低,导致回收比较麻烦。 Diamond grinding wheels are mainly used for grinding the inner and outer circles of products made of hard and brittle materials such as cemented carbide, glass, and ceramics. The current electroplated diamond grinding wheel is mainly composed of two parts: the substrate and the abrasive layer. The abrasive layer is the main working part of the electroplated diamond grinding wheel, which includes two parts: diamond abrasive grains and bond coating. When the electroplated diamond grinding wheel is used many times, the diamond abrasive grains in the abrasive layer are worn away and the abrasive layer becomes thinner, and the electroplated diamond grinding wheel with remaining diamond abrasive grains loses its cutting ability and is scrapped. However, because diamond abrasive grains are relatively expensive, and The manufacture of the grinding wheel base also consumes materials and costs, so it is usually necessary to recycle the scrapped electroplated diamond grinding wheel. The main problem of recycling the scrapped electroplated diamond grinding wheel is to separate the abrasive layer from the substrate. However, for the current electroplated diamond grinding wheel, the process of separating the abrasive layer from the substrate is relatively complicated and the efficiency is relatively low. kind of hard.
发明内容 Contents of the invention
本发明所要解决的技术问题是提供一种可使磨料层与基体快速分离的易回收的电镀金刚石砂轮。 The technical problem to be solved by the present invention is to provide an easily recyclable electroplated diamond grinding wheel which can quickly separate the abrasive layer from the substrate.
本发明解决上述技术问题所采用的技术方案为:一种易回收的电镀金刚石砂轮,包括基体和金刚石磨料层,所述的基体上设置有连接部,所述的连接部上过盈连接有辅助基体,所述的金刚石磨料层电镀在所述的辅助基体的外表面上。 The technical solution adopted by the present invention to solve the above technical problems is: an easily recyclable electroplated diamond grinding wheel, including a base body and a diamond abrasive layer, the base body is provided with a connecting part, and the interference connection of the connecting part is provided with an auxiliary base body, the diamond abrasive layer is electroplated on the outer surface of the auxiliary base body.
所述的连接部的形状为圆柱型,所述的辅助基体上设置有内圆孔,所述的辅助基体过盈套接在所述的连接部上,所述的连接部的直径比所述的辅助基体的内圆孔直径大0.05%~1.8%。 The shape of the connecting part is cylindrical, the auxiliary base is provided with an inner circular hole, and the auxiliary base is interference-fitted on the connecting part, and the diameter of the connecting part is smaller than the The diameter of the inner hole of the auxiliary matrix is 0.05% to 1.8% larger.
所述的连接部的长度比所述的辅助基体的长度小0.5~1.5mm,以便于将辅助基体与连接部进行分离。 The length of the connection part is 0.5-1.5 mm shorter than the length of the auxiliary base body, so as to separate the auxiliary base body from the connection part.
所述的连接部与所述的基体的连接处设置有阶梯轴,所述的阶梯轴的外径小于所述的辅助基体的外径大于所述的连接部的直径,方便辅助基体的安装和拆解。 The connection between the connecting part and the base body is provided with a stepped shaft, and the outer diameter of the stepped shaft is smaller than the outer diameter of the auxiliary base body and larger than the diameter of the connecting part, which facilitates the installation and installation of the auxiliary base body. Disassemble.
所述的基体与所述的辅助基体的材料同时为低碳钢、中碳钢或合金钢。 The materials of the base body and the auxiliary base body are low carbon steel, medium carbon steel or alloy steel.
本金刚石砂轮的拆解所依据的原理为:当将辅助基体过盈连接到基体的连接部上时,辅助基体受到连接部的挤压作用而处于弹性膨胀变形状态,使辅助基体的外表面直径大于其原始尺寸,同时挤压作用保持了连接部与辅助基体的可靠连接,然后在处于弹性膨胀变形状态下的辅助基体的外表面上电镀金刚石磨粒层;而在回收过程中,先将辅助基体从连接部上分离,分离后的辅助基体由于其弹性膨胀变形状态消失而使其外表面直径变小或恢复到原始状态,而金刚石的磨料层直径不发生变化,因此,在金刚石磨料层与辅助基体之间产生了微小的间隙,金刚石磨料层便很容易从辅助基体上脱离,从而实现金刚石磨料层与基体的快速拆解。 The dismantling of the diamond grinding wheel is based on the following principle: when the auxiliary base body is interference-connected to the connection part of the base body, the auxiliary base body is in a state of elastic expansion and deformation due to the extrusion of the connection part, so that the outer surface diameter of the auxiliary base body It is larger than its original size, and at the same time, the extrusion effect maintains a reliable connection between the connecting part and the auxiliary substrate, and then the diamond abrasive grain layer is electroplated on the outer surface of the auxiliary substrate in a state of elastic expansion and deformation; while in the recycling process, the auxiliary substrate is first The matrix is separated from the connecting part, and the diameter of the outer surface of the separated auxiliary matrix becomes smaller or returns to the original state due to the disappearance of its elastic expansion and deformation state, while the diameter of the diamond abrasive layer does not change. Therefore, in the diamond abrasive layer and A small gap is formed between the auxiliary substrates, and the diamond abrasive layer is easily detached from the auxiliary substrate, thereby realizing rapid disassembly of the diamond abrasive layer and the substrate.
与现有技术相比,本发明的优点是由于辅助基体与连接部过盈连接,且将金刚石磨料层电镀在辅助基体的外表面上,使辅助基体在连接状态下受到连接部的挤压作用而处于弹性膨胀变形状态,而在砂轮的回收过程中,将辅助基体从连接部上拆下,辅助基体便不再处于弹性变形状态,从而在金刚石磨料层与辅助基体之间产生微小的间隙,使金刚石磨料层很容易从辅助基体的表面脱离,实现金刚石磨料层与基体的快速、高效拆解,使电镀金刚石砂轮的回收比较方便容易。 Compared with the prior art, the advantage of the present invention is that the auxiliary base is in the interference connection with the connecting part, and the diamond abrasive layer is electroplated on the outer surface of the auxiliary base, so that the auxiliary base is squeezed by the connecting part in the connected state However, it is in the state of elastic expansion and deformation, and in the recovery process of the grinding wheel, the auxiliary matrix is removed from the connecting part, and the auxiliary matrix is no longer in the state of elastic deformation, thereby creating a small gap between the diamond abrasive layer and the auxiliary matrix. The diamond abrasive layer can be easily detached from the surface of the auxiliary substrate, the rapid and efficient disassembly of the diamond abrasive layer and the substrate can be realized, and the recovery of the electroplated diamond grinding wheel is more convenient and easy.
附图说明 Description of drawings
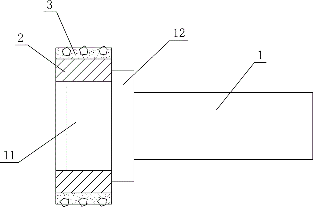
图1为本发明的结构示意图。 Fig. 1 is a structural schematic diagram of the present invention.
具体实施方式 Detailed ways
以下结合附图实施例对本发明作进一步详细描述。 The present invention will be further described in detail below in conjunction with the accompanying drawings and embodiments.
实施例一:如图所示,一种易回收的电镀金刚石砂轮,包括基体1、辅助基体2和金刚石磨料层3,基体1、辅助基体2的材料为低碳钢,基体1上一体设置有圆柱型的连接部11,连接部11的直径为15.02mm,连接部11与基体1的连接处一体设置有阶梯轴12,阶梯轴12的外径小于辅助基体2的外径大于连接部11的直径,辅助基体2的外径为20mm,辅助基体2上设置有内圆孔,内圆孔的直径为15mm,辅助基体2过盈套接在连接部11上,连接部11的长度比辅助基体2的长度小0.5mm,金刚石磨料层3电镀在辅助基体2的外圆表面上。
Embodiment 1: As shown in the figure, a kind of easily recyclable electroplated diamond grinding wheel comprises a
实施例二:一种易回收的电镀金刚石砂轮,包括基体1、辅助基体2和金刚石磨料层3,基体1、辅助基体2的材料为中碳钢,基体1上一体设置有圆柱型的连接部11,连接部11的直径为111.65mm,连接部11与基体1的连接处一体设置有阶梯轴12,阶梯轴12的外径小于辅助基体2的外径大于连接部11的直径,辅助基体2的外径为120mm,辅助基体2上设置有内圆孔,内圆孔的直径为110mm,辅助基体2过盈套接在连接部11上,连接部11的长度比辅助基体2的长度小1mm,金刚石磨料层3电镀在辅助基体2的外圆表面上。
Embodiment 2: An electroplated diamond grinding wheel that is easy to recycle includes a
实施例三:一种易回收的电镀金刚石砂轮,包括基体1、辅助基体2和金刚石磨料层3,基体1、辅助基体2的材料为合金钢,基体1上一体设置有圆柱型的连接部11,连接部11的直径为52.1mm,连接部11与基体1的连接处一体设置有阶梯轴12,阶梯轴12的外径小于辅助基体2的外径大于连接部11的直径,辅助基体2的外径为60mm,辅助基体2上设置有内圆孔,内圆孔的直径为52mm,辅助基体2过盈套接在连接部11上,连接部11的长度比辅助基体2的长度小1.5mm,金刚石磨料层3电镀在辅助基体2的外圆表面上。
Embodiment 3: An electroplated diamond grinding wheel that is easy to recycle includes a
Claims (3)
Priority Applications (1)
| Application Number | Priority Date | Filing Date | Title |
|---|---|---|---|
| CN2010102744535A CN101934502B (en) | 2010-09-07 | 2010-09-07 | Easily recovered electroplated diamond grinding wheel |
Applications Claiming Priority (1)
| Application Number | Priority Date | Filing Date | Title |
|---|---|---|---|
| CN2010102744535A CN101934502B (en) | 2010-09-07 | 2010-09-07 | Easily recovered electroplated diamond grinding wheel |
Publications (2)
| Publication Number | Publication Date |
|---|---|
| CN101934502A CN101934502A (en) | 2011-01-05 |
| CN101934502B true CN101934502B (en) | 2012-11-28 |
Family
ID=43388199
Family Applications (1)
| Application Number | Title | Priority Date | Filing Date |
|---|---|---|---|
| CN2010102744535A Expired - Fee Related CN101934502B (en) | 2010-09-07 | 2010-09-07 | Easily recovered electroplated diamond grinding wheel |
Country Status (1)
| Country | Link |
|---|---|
| CN (1) | CN101934502B (en) |
Families Citing this family (5)
| Publication number | Priority date | Publication date | Assignee | Title |
|---|---|---|---|---|
| CN102302961A (en) * | 2011-06-09 | 2012-01-04 | 国家粮食储备局成都粮食储藏科学研究所 | Novel grinding wheel of rice milling machine for testing |
| CN102581782B (en) * | 2012-03-08 | 2014-04-16 | 宁波大学 | Electroplated diamond grinding wheel capable of being recycled easily |
| CN102615599B (en) * | 2012-04-24 | 2014-12-10 | 奉化市环宇砂轮有限公司 | Grinding device with improved structure |
| CN105196196B (en) * | 2015-09-22 | 2017-12-22 | 郑州磨料磨具磨削研究所有限公司 | A kind of plated diamond grinding wheel of grinding material sequential arrangement |
| KR102339948B1 (en) * | 2019-07-02 | 2021-12-17 | (주)미래컴퍼니 | Polishing system and polishing method |
Citations (4)
| Publication number | Priority date | Publication date | Assignee | Title |
|---|---|---|---|---|
| GB1151323A (en) * | 1967-03-07 | 1969-05-07 | Wheel Trueing Tool Co | Improvements in or relating to Dressing Tools |
| US6669747B2 (en) * | 2002-02-15 | 2003-12-30 | Master Chemical Corporation | Grinding wheel with titanium aluminum nitride and hard lubricant coatings |
| CN2813206Y (en) * | 2005-08-08 | 2006-09-06 | 何青 | Rubber abrasive wheel |
| KR20090027958A (en) * | 2007-09-13 | 2009-03-18 | 아큐테크 주식회사 | Grinding wheel |
Family Cites Families (1)
| Publication number | Priority date | Publication date | Assignee | Title |
|---|---|---|---|---|
| JPS6165776A (en) * | 1984-09-06 | 1986-04-04 | Matsushita Electric Ind Co Ltd | Manufacturing method of lubricant cutting grindstone |
-
2010
- 2010-09-07 CN CN2010102744535A patent/CN101934502B/en not_active Expired - Fee Related
Patent Citations (4)
| Publication number | Priority date | Publication date | Assignee | Title |
|---|---|---|---|---|
| GB1151323A (en) * | 1967-03-07 | 1969-05-07 | Wheel Trueing Tool Co | Improvements in or relating to Dressing Tools |
| US6669747B2 (en) * | 2002-02-15 | 2003-12-30 | Master Chemical Corporation | Grinding wheel with titanium aluminum nitride and hard lubricant coatings |
| CN2813206Y (en) * | 2005-08-08 | 2006-09-06 | 何青 | Rubber abrasive wheel |
| KR20090027958A (en) * | 2007-09-13 | 2009-03-18 | 아큐테크 주식회사 | Grinding wheel |
Non-Patent Citations (1)
| Title |
|---|
| JP昭61-65776A 1986.04.04 |
Also Published As
| Publication number | Publication date |
|---|---|
| CN101934502A (en) | 2011-01-05 |
Similar Documents
| Publication | Publication Date | Title |
|---|---|---|
| CN101934502B (en) | Easily recovered electroplated diamond grinding wheel | |
| CN204686679U (en) | A kind of carbide alloy emery wheel | |
| CN204565932U (en) | A kind of Metal Substrate Split-type grinding wheel | |
| CN101934506A (en) | A kind of manufacturing method of easily recyclable electroplated diamond grinding wheel | |
| CN102581782B (en) | Electroplated diamond grinding wheel capable of being recycled easily | |
| CN102240986B (en) | Conveniently recovered electroplating diamond grinding wheel | |
| CN206578715U (en) | Abrasive disc | |
| CN206578716U (en) | A kind of abrasive disc | |
| CN201543469U (en) | Mill roller and mill ring of Raymond mill | |
| CN206578717U (en) | Single annular abrasive disc | |
| CN205271770U (en) | Dicyclo resin bond diamond grinding wheel | |
| CN201161439Y (en) | A kind of ultra-thin diamond saw blade | |
| CN104858799A (en) | Industrial grinding wheel easy to discharge scraps | |
| CN203842646U (en) | Wearable steel ball for ball mill inlaid with hard alloy insert | |
| CN102059359B (en) | Tip and tip processing method | |
| CN201998066U (en) | Dish wheel | |
| CN201405270Y (en) | Diamond grinding wheel cutter specialized for cutting magnetic material | |
| JP3139725U (en) | Recyclable PCB drill / router joint pattern reusable structure | |
| CN102049738A (en) | Reusable polishing belt | |
| CN102211320B (en) | Conveniently-recycled electroplated diamond grinding wheel | |
| CN205766900U (en) | A kind of low noise low stress diamond saw blade | |
| CN202752051U (en) | Wear-resisting crushing roller | |
| CN222570434U (en) | A heavy-load resistant rough grinding resin grinding wheel | |
| CN204604126U (en) | The wear-resisting diamond-impregnated wheel of a kind of high sharpness | |
| CN203495776U (en) | Diamond grinding wheel for ceramic bushing end face machining |
Legal Events
| Date | Code | Title | Description |
|---|---|---|---|
| C06 | Publication | ||
| PB01 | Publication | ||
| C10 | Entry into substantive examination | ||
| SE01 | Entry into force of request for substantive examination | ||
| C14 | Grant of patent or utility model | ||
| GR01 | Patent grant | ||
| CF01 | Termination of patent right due to non-payment of annual fee |
Granted publication date: 20121128 Termination date: 20150907 |
|
| EXPY | Termination of patent right or utility model |
