CN101915385B - 一种路灯 - Google Patents

一种路灯 Download PDF

Info

Publication number
CN101915385B
CN101915385B CN201010288938XA CN201010288938A CN101915385B CN 101915385 B CN101915385 B CN 101915385B CN 201010288938X A CN201010288938X A CN 201010288938XA CN 201010288938 A CN201010288938 A CN 201010288938A CN 101915385 B CN101915385 B CN 101915385B
Authority
CN
China
Prior art keywords
cavity
electric apparatus
light source
cover
chamber lid
Prior art date
Legal status (The legal status is an assumption and is not a legal conclusion. Google has not performed a legal analysis and makes no representation as to the accuracy of the status listed.)
Expired - Fee Related
Application number
CN201010288938XA
Other languages
English (en)
Other versions
CN101915385A (zh
Inventor
吴水城
Current Assignee (The listed assignees may be inaccurate. Google has not performed a legal analysis and makes no representation or warranty as to the accuracy of the list.)
Guangdong Rongwen Energy Technology Group Co ltd
Original Assignee
Dongguan Rongwen Lighting Electric Co ltd
Priority date (The priority date is an assumption and is not a legal conclusion. Google has not performed a legal analysis and makes no representation as to the accuracy of the date listed.)
Filing date
Publication date
Application filed by Dongguan Rongwen Lighting Electric Co ltd filed Critical Dongguan Rongwen Lighting Electric Co ltd
Priority to CN201010288938XA priority Critical patent/CN101915385B/zh
Publication of CN101915385A publication Critical patent/CN101915385A/zh
Application granted granted Critical
Publication of CN101915385B publication Critical patent/CN101915385B/zh
Expired - Fee Related legal-status Critical Current
Anticipated expiration legal-status Critical

Links

Images

Classifications

    • YGENERAL TAGGING OF NEW TECHNOLOGICAL DEVELOPMENTS; GENERAL TAGGING OF CROSS-SECTIONAL TECHNOLOGIES SPANNING OVER SEVERAL SECTIONS OF THE IPC; TECHNICAL SUBJECTS COVERED BY FORMER USPC CROSS-REFERENCE ART COLLECTIONS [XRACs] AND DIGESTS
    • Y02TECHNOLOGIES OR APPLICATIONS FOR MITIGATION OR ADAPTATION AGAINST CLIMATE CHANGE
    • Y02BCLIMATE CHANGE MITIGATION TECHNOLOGIES RELATED TO BUILDINGS, e.g. HOUSING, HOUSE APPLIANCES OR RELATED END-USER APPLICATIONS
    • Y02B20/00Energy efficient lighting technologies, e.g. halogen lamps or gas discharge lamps
    • Y02B20/72Energy efficient lighting technologies, e.g. halogen lamps or gas discharge lamps in street lighting

Landscapes

  • Arrangement Of Elements, Cooling, Sealing, Or The Like Of Lighting Devices (AREA)
  • Non-Portable Lighting Devices Or Systems Thereof (AREA)

Abstract

本发明涉及照明灯具技术领域,尤其涉及一种路灯,其包括有下盖和盖设在下盖上的上盖,上盖与下盖之间设有光源腔和电器腔,光源腔内安装有光源组件,电器腔内安装有镇流器,上盖包括位于左边的光源腔盖、位于右边的电器腔盖,光源腔盖与下盖之间构成光源腔,电器腔盖与下盖之间构成电器腔,光源腔和电器腔之间设置有上下贯穿的空气对流通道。由于空气会在光源腔和电器腔之间设置的空气对流通道内流动,形成无形的空气帘,从而使光源腔和电器腔之间隔温,改善光源腔与电器腔的温度隔离效果;同时,空气对流通道内流动的空气,可以将光源腔盖和电器腔盖的部分热量带走,加快路灯的散热速度。

Description

一种路灯
技术领域
本发明涉及照明灯具技术领域,尤其涉及一种路灯。
背景技术
目前,采用HID灯(High intensity Discharge,高压气体放电灯)管作为光源的路灯,其内腔大致分为用于安放光源、反光罩、灯头等零部件的光源腔及用于安放镇流器等电器组件的电器腔,如采用低压钠灯管或高压钠灯管作为光源的路灯。虽然这种路灯在发光时亮度很高,但是,这种路灯的光源在发光时的温度也很高,会产生大量的热量,所以,在路灯工作照明时,光源腔的温度要比电器腔的温度高很多。
由于上述路灯的电器腔内的镇流器等电器组件,在高温下容易受到干扰,甚至工作不正常,使用寿命也会缩短。于是,为了不让高温的光源腔影响电器腔,现在一些厂家的做法是,在路灯外壳内采用单层隔板将光源腔和电器腔相互隔离,但这种结构的路灯,其光源腔仍然会通过隔板将大量的热量传递到电器腔中,对电器腔内的镇流器等电器组件产生影响,即隔离效果并不好。
发明内容
本发明的目的在于针对现有技术的不足而提供一种电器腔与光源腔温度隔离效果好且散热速度快的路灯。
本发明的目的通过以下技术措施实现:一种路灯,它包括有下盖和盖设在下盖上的上盖,上盖与下盖之间设有光源腔和电器腔,光源腔内安装有光源组件,电器腔内安装有镇流器,所述上盖包括位于左边的光源腔盖、位于右边的电器腔盖,光源腔盖与下盖之间构成光源腔,电器腔盖与下盖之间构成电器腔,光源腔和电器腔之间设置有上下贯穿的空气对流通道。
所述光源腔盖的右端开设有对流孔,下盖开设有通孔,通孔位于对流孔的下方且与对流孔连通,电器腔盖开设有散热孔,散热孔位于对流孔的上方且与对流孔连通;散热孔、对流孔与通孔在垂直方向形成上下贯通的空气对流通道。
所述散热孔与电器腔连通。
所述镇流器安装固定在电器腔盖的内腔壁,电器腔盖的内腔壁对应成型有与镇流器的顶部表面紧密贴合的安装凸台。
所述电器腔盖的外侧壁与安装凸台对应的位置处成型有多条散热片。
所述电器腔盖的右端与下盖的右端铰接,电器腔盖的左端通过开关装置与光源腔盖的右端连接。
所述开关装置包括有设置在电器腔盖左端的旋钮和设置在光源腔盖右端的弹性卡片,旋钮的底部成型有锁柱,锁柱的底部两侧各开设有卡槽,弹性卡片成型有两片与卡槽匹配的互成倒“八”型的弹性夹臂。
所述旋钮的顶端固定连接有用于拧动旋钮的密封塞。
所述电器腔内安装有当电器腔盖打开时用于支撑电器腔盖的折叠机构,折叠机构的一端与下盖连接,折叠机构的另一端与电器腔盖连接。
所述下盖的右端安装有用于固定连接灯杆的尾座。
本发明有益效果在于:本发明包括有下盖和盖设在下盖上的上盖,上盖与下盖之间设有光源腔和电器腔,光源腔内安装有光源组件,电器腔内安装有镇流器,上盖包括位于左边的光源腔盖、位于右边的电器腔盖,光源腔盖与下盖之间构成光源腔,电器腔盖与下盖之间构成电器腔,光源腔和电器腔之间设置有上下贯穿的空气对流通道。由于空气会在光源腔和电器腔之间设置的空气对流通道内流动,形成无形的空气帘,从而使光源腔和电器腔之间隔温,改善光源腔与电器腔的温度隔离效果;同时,空气对流通道内流动的空气,可以将光源腔盖和电器腔盖的部分热量带走,加快路灯的散热速度。
附图说明
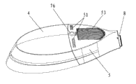
图1是本发明在电器腔盖关闭时的结构示意图。
图2是本发明在电器腔盖关闭时另一视角的结构示意图。
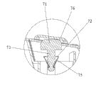
图3是图2的仰视图。
图4是图3的A-A剖视图。
图5是图3的B-B剖视图。
图6是图5中A处的放大示意图。
图7是本发明的分解示意图。
图8是图7中B处的放大示意图。
图9是本发明的电器腔盖的结构示意图。
图10是本发明在电器腔盖打开时的结构示意图。
在图1、图2、图3、图4、图5、图6、图7、图8、图9和
图10中包括:
1——下盖                          11——通孔
2——光源腔                      21——光源组件
3——电器腔                      31——镇流器
32——折叠机构                4——光源腔盖
41——对流孔                    5——电器腔盖
51——散热孔               52——安装凸台
53——散热片               6——空气对流通道
7——开关装置                  71——旋钮
72——弹性卡片                73——锁柱
74——卡槽                        75——弹性夹臂
76——密封塞                8——尾座。
具体实施方式
下面结合附图对本发明作进一步的说明,如图1~10所示,本发明提供的一种路灯,它包括有下盖1和盖设在下盖1上的上盖,上盖与下盖1之间设有光源腔2和电器腔3,光源腔2内安装有光源组件21,电器腔3内安装有镇流器31,其中,上盖包括位于左边的光源腔盖4、位于右边的电器腔盖5,光源腔盖4与下盖1之间构成光源腔2,电器腔盖5与下盖1之间构成电器腔3,光源腔2和电器腔3之间设置有上下贯穿的空气对流通道6,当然,光源腔2和电器腔3之间可以设置多个空气对流通道6,只要其具有较好的隔温和散热效果即可。
光源腔盖4的右端开设有对流孔41,下盖1开设有通孔11,通孔11位于对流孔41的下方且与对流孔41连通,其中,下盖1的通孔11为多个且均匀排列,使对流孔41通过通孔11向下连通外界,电器腔盖5开设有散热孔51,散热孔51位于对流孔41的上方且与对流孔41连通,当然,散热孔51也为多个且均匀排列,使对流孔41通过散热孔51向上连通外界;即散热孔51、对流孔41与通孔11在垂直方向形成上下贯通的空气对流通道6,该空气对流通道6可供空气上下对流,形成无形的空气帘(又称,空气风帘或空气风幕),从而将光源腔2和电器腔3之间隔温,避免高温的光源腔2对电器腔3内的镇流器31等电器组件产生影响;同时,空气对流通道6内流动的空气,可以将光源腔盖4和电器腔盖5的部分热量带走,加快路灯的散热速度;进一步,上述结构的对流孔41使光源腔2和电器腔3之间形成双层隔板的结构,进而具有更好的温度隔离效果。另外,本发明散热孔51、对流孔41与通孔11在垂直方向形成上下贯通的空气对流通道6,使得散热孔51落入的雨水可以直接穿过,并从通孔11流出,避免雨水进入电器腔3,达到防水的目的。
散热孔51与电器腔3连通,使电器腔3内的热量可以直接通过散热孔51散发到外界的空气中,改善电器腔3的散热效果;进一步,镇流器31安装固定在电器腔盖5的内腔壁,电器腔盖5的内腔壁对应成型有与镇流器31的顶部表面紧密贴合的安装凸台52,此结构可以使镇流器31散发的热量直接传递给电器腔盖5,再由电器腔盖5将热量散发出去,进而增加镇流器31的散热面积,加快镇流器31的散热速度;进一步,电器腔盖5的外侧壁与安装凸台52对应的位置处成型有多条散热片53,以改善电器腔盖5的散热效果。从上述结构可以看出,本发明可以大大加快电器腔3的散热速度,从而保证电器腔3内的温度不高,使电器腔3内的镇流器31等电器组件工作正常。
电器腔盖5的右端与下盖1的右端铰接,电器腔盖5的左端通过开关装置7与光源腔盖4的右端连接,开关装置7包括有设置在电器腔盖5左端的旋钮71和设置在光源腔盖4右端的弹性卡片72,旋钮71的底部成型有锁柱73,锁柱73的底部两侧各开设有卡槽74,弹性卡片72成型有两片与卡槽74匹配的互成倒“八”型的弹性夹臂75,旋钮71的顶端固定连接有用于拧动旋钮71的密封塞76;当电器腔盖5关闭时,旋钮71的锁柱73夹设在两弹性夹臂75之间,两弹性夹臂75分别卡在锁柱73的底部两侧的卡槽74中。当需要打开电器腔盖5时,只要通过拧动密封塞76,使旋钮71在水平面旋动90度,卡槽74即可因为锁柱73的转动而从两弹性夹臂75中脱离,同时旋钮71的旋动使卡槽74与弹性卡片72的弹性夹臂75相互错开,锁柱73的底部在弹性夹臂75的弹力作用下向上弹起而脱离弹性夹臂75,这时开关装置7处于打开状态,只要握住电器腔盖5的左端往上提,就可以打开电器腔盖5;要关闭电器腔盖5时,只要向下按压密封塞76,使锁柱73重新夹设在两弹性夹臂75之间,并且拧动密封塞76,使旋钮71在水平面往回旋动90度,两弹性夹臂75就可以卡在锁柱73的底部两侧的卡槽74中,从而将锁柱73卡紧,这时开关装置7处于锁紧状态,将电器腔盖5关闭。这种开关装置7结构简单,使用方便。密封塞76设置在旋钮71的顶端,将旋钮71遮盖住,还可以起到防水作用。
电器腔3内安装有当电器腔盖5打开时用于支撑电器腔盖5的折叠机构32,折叠机构32的一端与下盖1连接,折叠机构32的另一端与电器腔盖5连接,当电器腔盖5打开时,折叠机构32刚好可以伸直支撑住电器腔盖5,以便于维修或更换镇流器31;本发明下盖1的右端安装有用于固定连接灯杆的尾座8,使路灯可以安装在灯杆上。
其中,需要说明的是,上述左边、右边、左端、右端等方向均是以图1为准。
最后应当说明的是,以上实施例仅用以说明本发明的技术方案,而非对本发明保护范围的限制,尽管参照较佳实施例对本发明作了详细地说明,本领域的普通技术人员应当理解,可以对本发明的技术方案进行修改或者等同替换,而不脱离本发明技术方案的实质和范围。

Claims (8)

1.一种路灯,它包括有下盖和盖设在下盖上的上盖,上盖与下盖之间设有光源腔和电器腔,光源腔内安装有光源组件,电器腔内安装有镇流器,其特征在于:所述上盖包括位于左边的光源腔盖、位于右边的电器腔盖,光源腔盖与下盖之间构成光源腔,电器腔盖与下盖之间构成电器腔,光源腔和电器腔之间设置有上下贯穿的空气对流通道;
所述电器腔盖的右端与下盖的右端铰接,电器腔盖的左端通过开关装置与光源腔盖的右端连接;
所述开关装置包括有设置在电器腔盖左端的旋钮和设置在光源腔盖右端的弹性卡片,旋钮的底部成型有锁柱,锁柱的底部两侧各开设有卡槽,弹性卡片成型有两片与卡槽匹配的互成倒“八”型的弹性夹臂。
2.根据权利要求1所述的路灯,其特征在于:所述光源腔盖的右端开设有对流孔,下盖开设有通孔,通孔位于对流孔的下方且与对流孔连通,电器腔盖开设有散热孔,散热孔位于对流孔的上方且与对流孔连通;散热孔、对流孔与通孔在垂直方向形成上下贯通的空气对流通道。
3.根据权利要求2所述的路灯,其特征在于:所述散热孔与电器腔连通。
4.根据权利要求2所述的路灯,其特征在于:所述镇流器安装固定在电器腔盖的内腔壁,电器腔盖的内腔壁对应成型有与镇流器的顶部表面紧密贴合的安装凸台。
5.根据权利要求4所述的路灯,其特征在于:所述电器腔盖的外侧壁与安装凸台对应的位置处成型有多条散热片。
6.根据权利要求1所述的路灯,其特征在于:所述旋钮的顶端固定连接有用于拧动旋钮的密封塞。
7.根据权利要求1所述的路灯,其特征在于:所述电器腔内安装有当电器腔盖打开时用于支撑电器腔盖的折叠机构,折叠机构的一端与下盖连接,折叠机构的另一端与电器腔盖连接。
8.根据权利要求1至7任意一项所述的路灯,其特征在于:所述下盖的右端安装有用于固定连接灯杆的尾座。
CN201010288938XA 2010-09-21 2010-09-21 一种路灯 Expired - Fee Related CN101915385B (zh)

Priority Applications (1)

Application Number Priority Date Filing Date Title
CN201010288938XA CN101915385B (zh) 2010-09-21 2010-09-21 一种路灯

Applications Claiming Priority (1)

Application Number Priority Date Filing Date Title
CN201010288938XA CN101915385B (zh) 2010-09-21 2010-09-21 一种路灯

Publications (2)

Publication Number Publication Date
CN101915385A CN101915385A (zh) 2010-12-15
CN101915385B true CN101915385B (zh) 2012-01-11

Family

ID=43322961

Family Applications (1)

Application Number Title Priority Date Filing Date
CN201010288938XA Expired - Fee Related CN101915385B (zh) 2010-09-21 2010-09-21 一种路灯

Country Status (1)

Country Link
CN (1) CN101915385B (zh)

Families Citing this family (1)

* Cited by examiner, † Cited by third party
Publication number Priority date Publication date Assignee Title
CN116146956A (zh) * 2022-12-31 2023-05-23 安徽欧瑞特照明有限公司 一种可散热的led灯具

Citations (4)

* Cited by examiner, † Cited by third party
Publication number Priority date Publication date Assignee Title
CN201021767Y (zh) * 2007-02-16 2008-02-13 盐城吉人照明电器有限公司 大功率浅弧蜂腰型电子节能泛光灯
CN201066111Y (zh) * 2007-08-02 2008-05-28 黄凌山 一种新型电子节能灯
CN201149228Y (zh) * 2007-08-14 2008-11-12 福建源光亚明电器有限公司 一种路灯
CN201496843U (zh) * 2009-06-08 2010-06-02 中山市天能光电科技有限公司 Led路灯灯体

Patent Citations (4)

* Cited by examiner, † Cited by third party
Publication number Priority date Publication date Assignee Title
CN201021767Y (zh) * 2007-02-16 2008-02-13 盐城吉人照明电器有限公司 大功率浅弧蜂腰型电子节能泛光灯
CN201066111Y (zh) * 2007-08-02 2008-05-28 黄凌山 一种新型电子节能灯
CN201149228Y (zh) * 2007-08-14 2008-11-12 福建源光亚明电器有限公司 一种路灯
CN201496843U (zh) * 2009-06-08 2010-06-02 中山市天能光电科技有限公司 Led路灯灯体

Also Published As

Publication number Publication date
CN101915385A (zh) 2010-12-15

Similar Documents

Publication Publication Date Title
US10208945B1 (en) LED light
WO2012139358A1 (zh) 一种led灯泡
EP2942559B1 (en) Led projector lamp module
CN102798096A (zh) 连接件及应用该连接件的发光二极管灯具
CN202065800U (zh) 一种led路灯
CN101915385B (zh) 一种路灯
CN103032704A (zh) Led灯
CN102853295B (zh) 一种通过内外通道对流散热的筒灯
CN103148385B (zh) 具有棱形散热器的led灯
CN202195456U (zh) 一种带有分体式散热结构的半导体照明灯具
CN101532656A (zh) 一种大功率led路灯
CN210219360U (zh) 一种两腔结构的led灯具
CN202938057U (zh) 一种通过内外通道对流散热的筒灯
CN201803328U (zh) 一种便于维修镇流器的路灯外壳
CN204062683U (zh) 封闭式广告灯箱led背光灯
JP3157515U (ja) Led照明装置
CN203309654U (zh) 高效散热型户外led投光灯具
CN207729317U (zh) 一种便于拆装的led路灯
CN219713298U (zh) 一种阵列式led泛光灯
CN204437806U (zh) 一种装有绝缘堵头的led灯管
CN204437891U (zh) 天棚灯
CN204717421U (zh) 一种具有双散热腔体的灯具
CN217004097U (zh) 一种一体化led灯具
CN202532391U (zh) 发光二极管灯泡的电源容器和具有其的发光二极管灯泡
CN203176831U (zh) 一种led蜡烛灯

Legal Events

Date Code Title Description
C06 Publication
PB01 Publication
C10 Entry into substantive examination
SE01 Entry into force of request for substantive examination
C14 Grant of patent or utility model
GR01 Patent grant
C41 Transfer of patent application or patent right or utility model
TR01 Transfer of patent right

Effective date of registration: 20161124

Address after: 523000 Guangdong province Dongguan City Songshan Lake high tech Industrial Development Zone, the new bamboo building No. 1

Patentee after: GUANGDONG RONGWEN ENERGY TECHNOLOGY GROUP CO.,LTD.

Address before: Changan Jin Jin Ha Industrial Zone of Henan city of Dongguan province Guangdong 523852 liters Road No. 8 Dongguan City RONG Wen Lighting Electric Co.

Patentee before: DONGGUAN RONGWEN LIGHTING ELECTRIC Co.,Ltd.

C56 Change in the name or address of the patentee
CP02 Change in the address of a patent holder

Address after: 523000 Guangdong province Dongguan City Songshan Lake high tech Industrial Development Zone, the new bamboo building No. 1

Patentee after: GUANGDONG RONGWEN ENERGY TECHNOLOGY GROUP CO.,LTD.

Address before: Songshan Lake high tech Industrial Development Zone, the new bamboo building No. 1

Patentee before: GUANGDONG RONGWEN ENERGY TECHNOLOGY GROUP CO.,LTD.

CF01 Termination of patent right due to non-payment of annual fee
CF01 Termination of patent right due to non-payment of annual fee

Granted publication date: 20120111