CN101864835A - 铝合金顶板早拆支撑 - Google Patents

铝合金顶板早拆支撑 Download PDF

Info

Publication number
CN101864835A
CN101864835A CN201010197218A CN201010197218A CN101864835A CN 101864835 A CN101864835 A CN 101864835A CN 201010197218 A CN201010197218 A CN 201010197218A CN 201010197218 A CN201010197218 A CN 201010197218A CN 101864835 A CN101864835 A CN 101864835A
Authority
CN
China
Prior art keywords
steel pipe
support
vertical steel
welded
aluminum alloy
Prior art date
Legal status (The legal status is an assumption and is not a legal conclusion. Google has not performed a legal analysis and makes no representation as to the accuracy of the status listed.)
Granted
Application number
CN201010197218A
Other languages
English (en)
Other versions
CN101864835B (zh
Inventor
陈晓东
许宏雷
杨晓东
Current Assignee (The listed assignees may be inaccurate. Google has not performed a legal analysis and makes no representation or warranty as to the accuracy of the list.)
China State Construction Engineering Corp Ltd CSCEC
China Construction Baili Engineering Technology Development Co Ltd
Original Assignee
China State Construction Engineering Corp Ltd CSCEC
China Construction Baili Engineering Technology Development Co Ltd
Priority date (The priority date is an assumption and is not a legal conclusion. Google has not performed a legal analysis and makes no representation as to the accuracy of the date listed.)
Filing date
Publication date
Application filed by China State Construction Engineering Corp Ltd CSCEC, China Construction Baili Engineering Technology Development Co Ltd filed Critical China State Construction Engineering Corp Ltd CSCEC
Priority to CN2010101972182A priority Critical patent/CN101864835B/zh
Publication of CN101864835A publication Critical patent/CN101864835A/zh
Application granted granted Critical
Publication of CN101864835B publication Critical patent/CN101864835B/zh
Expired - Fee Related legal-status Critical Current
Anticipated expiration legal-status Critical

Links

Images

Classifications

    • EFIXED CONSTRUCTIONS
    • E04BUILDING
    • E04GSCAFFOLDING; FORMS; SHUTTERING; BUILDING IMPLEMENTS OR AIDS, OR THEIR USE; HANDLING BUILDING MATERIALS ON THE SITE; REPAIRING, BREAKING-UP OR OTHER WORK ON EXISTING BUILDINGS
    • E04G11/00Forms, shutterings, or falsework for making walls, floors, ceilings, or roofs
    • E04G11/36Forms, shutterings, or falsework for making walls, floors, ceilings, or roofs for floors, ceilings, or roofs of plane or curved surfaces end formpanels for floor shutterings
    • E04G11/48Supporting structures for shutterings or frames for floors or roofs
    • E04G11/486Dropheads supporting the concrete after removal of the shuttering; Connecting means on beams specially adapted for dropheads

Landscapes

  • Engineering & Computer Science (AREA)
  • Architecture (AREA)
  • Mechanical Engineering (AREA)
  • Civil Engineering (AREA)
  • Structural Engineering (AREA)
  • Conveying And Assembling Of Building Elements In Situ (AREA)

Abstract

一种铝合金顶板早拆支撑,包括有支撑主体和连接在支撑主体上的模板支撑,支撑主体由竖向钢管、焊接在竖向钢管下端的下连接板,焊接在竖向钢管上端的上支撑板和焊接在竖向钢管中部的限位片组成,竖向钢管上套有由铸钢铸造而成的顶托,顶托与上支撑板之间的竖向钢管上还套有由钢板焊接连接而成的滑动支撑。本早拆支撑支拆快捷,工作效率高,构造简单、受力强度高、操作方便灵活、施工工艺容易掌握,可加快施工进度,缩短施工工期。

Description

铝合金顶板早拆支撑
技术领域
本发明涉及一种与铝合金顶板模板配合使用的早拆支撑体系。
背景技术
近些年来,我国建筑模板工业得到了飞速发展,尤其是在高层建筑施工中,随着现浇混凝土结构的比重日益增大,模板已成为建筑工程施工当中面大而量广的工具。现有的模板包括有墙体模板、顶板模板等,其中有一种顶板模板使用铝合金制作而成,这种铝合金制成的顶板模板在建筑工程中使用后已得到了用户及市场的认可,但是,与铝合金顶板模板配合使用的早拆支撑头却由于结构复杂、操作繁琐等缺陷而使混凝土模板施工效率大大降低,施工成本大大增加。
发明内容
本发明的目的是提供一种铝合金顶板早拆支撑,要解决现有早拆支撑头结构复杂,使用不方便的技术问题;并解决现有早拆支撑头会降低模板施工效率的问题。
为实现上述目的,本发明采用如下技术方案:一种铝合金顶板早拆支撑,包括有支撑主体和连接在支撑主体上的模板支撑,其特征在于:支撑主体由竖向钢管、焊接在竖向钢管下端的下连接板,焊接在竖向钢管上端的上支撑板和焊接在竖向钢管中部的限位片组成,其中下连接板上开有连接孔,限位片至少有两片并对称焊接在竖向钢管的两侧。
所述竖向钢管上套有由铸钢铸造而成的顶托,该顶托由圆环、位于圆环两侧的扳手和位于圆环内壁上的两个斜托组成,两个斜托的下表面均为沿同一圆周方向倾斜的斜坡,两个斜托之间有供竖向钢管和限位片穿过的限位滑槽。
所述顶托与上支撑板之间的竖向钢管上还套有由钢板焊接连接而成的滑动支撑,该滑动支撑包括两块竖向的钢板,对称焊接在两块钢板之间的两块竖向的连接板,对称焊接在两块钢板底端、钢板外侧面的水平的支撑顶板,以及焊接连接在两块连接板的外侧、两块钢板内侧面上的沟槽装置。
所述模板支撑由工字形铝合金横梁和焊接在工字形铝合金横梁两端的铝合金钩头装置组成,其中铝合金钩头装置通过凸块与滑动支撑上的沟槽装置配合连接。
所述限位片可以有四片,对称焊接在竖向钢管的两侧。
所述两个斜托的下表面均可低于圆环的下表面。
本发明是在确保现浇钢筋混凝土结构施工安全度不受影响、符合施工规范要求、保证施工安全及工程质量的前题下,加快材料周转,减少投入,降低成本,提高工效,加快施工进度,缩短工期,使之具有显著的经济效益和良好的社会效益的一种先进的施工新技术。
与现有技术相比本发明具有以下特点和有益效果:1、施工安全可靠,工程质量易保证。本发明的构造尺寸及结点联结方式规范化,减少了搭设时的随意性,避免了出现不稳定结构和结点可变状态的可能性;结构受力明确,支架整齐,施工安全可靠,整个施工过程,结构楼板始终处于最佳受力状态,施工过程规范化,工程质量有保证。
2、材料周转快,投资少,见效快,经济效益和社会效益显著。使用了本发明的模板早拆支撑体系与传统支模方式比较,材料周转快,投入少,模板可由3层减少为1层(常温施工)、4层减少为1层(冬期施工);进出场运输费和丢失、损坏赔偿费、维修费亦相应减少,避免了人力、物力的浪费,经济效益和社会效益显著。
3、支拆快捷,工作效率高。本发明构造简单、受力强度高、操作方便灵活、施工工艺容易掌握,使用了本发明的模板早拆支撑体系与传统支模方式比较,工作效率可提高3倍左右,为此,可加快施工进度,缩短施工工期。
4、利于文明施工及现场管理,推动了现代化施工和机械化进程。使用了本发明的模板早拆支撑体系在施工过程中,避免了周转材料的中间堆放环节,模板支撑整齐、规范,不采用固定辅助支撑,现场施工人员通行方便,便于清扫,有利于文明施工及现场管理。对于狭窄的施工现场尤为适用。
5、功能多,适应能力强。本发明可与多种规格系列的模板配合使用,建筑物形状变化时(平面形状大小变化,层高变化)亦具有很强的适应性,适合中国国情。
6、操作简单,施工工艺易掌握。使用了本发明的模板早拆支撑体系操作简单,施工工艺规范,对施工工人的技术水平、技术素质要求不高,适合中国当前建筑业劳动力市场的基本状况。
7、有利于环境保护,社会效益良好。使用了本发明后,可大量节约模板材料的用量,同时使用铝合金材料,既减少了木材的投入,有利于绿色植被的保护,加之铝合金材料的回收利用率更高,降低材料成本的投入;同时,搬运量的减少,工人劳动强度的减轻及有利于施工现场的管理等,使之产生了良好的社会、经济效益。
附图说明
下面结合附图对本发明做进一步详细的说明。
图1本发明处于缩紧状态(使用状态)的结构示意图。
图2本发明处于松开状态(拆除状态)的结构示意图。
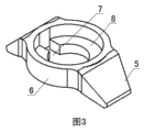
图3顶托的立体结构示意图。
图4是顶托的主视示意图。
图5顶托的俯视示意图。
图6滑动支撑的立体结构示意图。
图7滑动支撑的主视示意图。
图8滑动支撑的俯视示意图。
图9支撑主体的主视示意图。
图10支撑主体的左视示意图。
图11支撑主体的俯视示意图。
图12横梁的主视示意图。
图13横梁的左视示意图。
附图标记:1-顶托、2-滑动支撑、3-支撑主体、4-模板支撑梁、5-扳手、6-圆环、7-限位滑槽、8-斜托、9-钢板、10-连接板、11-沟槽装置、12-支撑顶板、13-竖向钢管、14-下连接板、15-限位片、16-上支撑板、17-连接孔、18-铝合金钩头装置、19-工字形铝合金横梁、20-凸块。
具体实施方式
实施例参见图1、图2所示,这种铝合金顶板早拆支撑,包括有支撑主体3和连接在支撑主体上的模板支撑4,参见图9-11,支撑主体3由竖向钢管13、焊接在竖向钢管下端的下连接板14,焊接在竖向钢管上端的上支撑板16和焊接在竖向钢管中部的限位片15组成,其中下连接板14上开有连接孔17,限位片15至少有两片并对称焊接在竖向钢管13的两侧,本实施例中有四片。限位片,分别限制顶托、滑动支撑的轴向、转动位置。下连接板设有连接孔,用于与钢支撑连接,上支撑板主要是加大受力面积与混凝土接触,采用铸钢工艺一次铸造成型。钢管主要是起到支撑作用,采用普通焊接钢管。
参见图1、图3-5,所述竖向钢管13上套有由铸钢铸造而成的顶托1,该顶托1由圆环6、位于圆环两侧的扳手5和位于圆环内壁上的两个斜托8组成,两个斜托的下表面均为沿同一圆周方向倾斜的斜坡,两个斜托8之间有供竖向钢管和限位片穿过的限位滑槽7。本实施例中,两个斜托8的下表面均低于圆环6的下表面。所述顶托采用铸钢工艺一次铸造成型,顶托上有两个相互对称用于旋转的扳手,中间有一个圆孔,穿过支撑主体,支撑主体受到限位滑槽的限制。在顶托下面有沿圆周方向递增的斜坡,顶托可左右旋转90度,沿支撑的限位块,向下滑动,从而带动包括滑动支撑和模板支撑梁实现向下位移,模板也就自然而然的落下,达到了把模板早拆下了,周转到上一层使用的目的。
参见图1、图6-8,所述顶托与上支撑板之间的竖向钢管上还套有由钢板焊接连接而成的滑动支撑2,该滑动支撑2包括两块竖向的钢板9,对称焊接在两块钢板之间的两块竖向的连接板10,对称焊接在两块钢板底端、钢板外侧面的水平的支撑顶板12,以及焊接连接在两块连接板的外侧、两块钢板内侧面上的沟槽装置11。滑动支撑采用钢板焊接成型,主要是起支撑模板支撑梁的作用,内部设有与模板支撑梁配合的沟槽装置,使模板支撑梁有效的安装在沟槽内,支撑模板。所述支撑顶板主要是起支撑作用。
参见图12、图13,所述模板支撑4由工字形铝合金横梁19和焊接在工字形铝合金横梁两端的铝合金钩头装置18组成,其中铝合金钩头装置18通过凸块20与滑动支撑上的沟槽装置配合连接。所述工字形铝合金横梁的材料是铝合金,截面为工字型,模板放在工字形铝合金横梁上。工字形铝合金横梁的两端有与滑动支撑连接的铝合金钩头装置,与滑动支撑的沟槽装置紧密配合。
本发明由顶托、滑动支撑、支撑主体和模板支撑梁组成,顶托铸造而成,滑动支撑由钢板组焊成型,支撑主体也同样是组焊成型,模板支撑梁是由挤压成型的铝型材和机加工成型的铝合金钩头装置组焊在一起。本发明的外型几何尺寸为362mm×165mm×156mm。将支撑主体安装在独立钢支撑或其他与其配套的支撑上,依次在施工现场按照模板的尺寸摆放,然后将模板支撑梁安装在支撑主体上,最后将模板依次放在模板支撑梁上。顶板混凝土施工结束达到拆模的强度,可以拆除模板,运到上一层周转使用。支撑主体不拆,起到顶板支撑的作用,提高施工效率。拆除时用锤子敲击顶托的两个外露的扳手,旋转90度时,顶托会自动落下,滑动支撑、模板支撑梁、顶板同时也落下。其他模板重复此拆除动作,就能实现模板的拆除。
在浇注顶板施工中,当达到规定的许用应力后顶板模板即可拆卸,支撑主体保留加强顶板的支撑作用,提高了铝合金顶板的应用性能。
本发明实现早拆原理如下:当顶板混凝土浇筑完成达到一定强度后,开始拆除模板,用锤子敲击顶托,旋转90度后,顶托上面的限位滑槽自动对准限位片,顶托及滑动支撑连带模板支撑梁沿支撑主体竖向上下滑动,带动模板一起落下,滑动行程160mm。模板可拆下来后,支撑主体不动,保持对顶板的支撑作用。

Claims (3)

1.一种铝合金顶板早拆支撑,包括有支撑主体(3)和连接在支撑主体上的模板支撑(4),其特征在于:支撑主体(3)由竖向钢管(13)、焊接在竖向钢管下端的下连接板(14),焊接在竖向钢管上端的上支撑板(16)和焊接在竖向钢管中部的限位片(15)组成,其中下连接板(14)开有连接孔(17),限位片(15)至少有两片并对称焊接在竖向钢管(13)的两侧;
所述竖向钢管(13)上套有由铸钢铸造而成的顶托(1),该顶托(1)由圆环(6)、位于圆环两侧的扳手(5)和位于圆环内壁上的两个斜托(8)组成,两个斜托的下表面均为沿同一圆周方向倾斜的斜坡,两个斜托(8)之间有供竖向钢管和限位片穿过的限位滑槽(7);
所述顶托与上支撑板之间的竖向钢管上还套有由钢板焊接连接而成的滑动支撑(2),该滑动支撑(2)包括两块竖向的钢板(9),对称焊接在两块钢板之间的两块竖向的连接板(10),对称焊接在两块钢板底端、钢板外侧面的水平的支撑顶板(12),以及焊接连接在两块连接板的外侧、两块钢板内侧面上的沟槽装置(11);
所述模板支撑(4)由工字形铝合金横梁(19)和焊接在工字形铝合金横梁两端的铝合金钩头装置(18)组成,其中铝合金钩头装置(18)通过凸块(20)与滑动支撑上的沟槽装置(11)配合连接。
2.根据权利要求1所述的铝合金顶板早拆支撑,其特征在于:所述限位片(15)有四片,对称焊接在竖向钢管(13)的两侧。
3.根据权利要求1所述的铝合金顶板早拆支撑,其特征在于:所述两个斜托(8)的下表面均低于圆环(6)的下表面。
CN2010101972182A 2010-06-11 2010-06-11 铝合金顶板早拆支撑 Expired - Fee Related CN101864835B (zh)

Priority Applications (1)

Application Number Priority Date Filing Date Title
CN2010101972182A CN101864835B (zh) 2010-06-11 2010-06-11 铝合金顶板早拆支撑

Applications Claiming Priority (1)

Application Number Priority Date Filing Date Title
CN2010101972182A CN101864835B (zh) 2010-06-11 2010-06-11 铝合金顶板早拆支撑

Publications (2)

Publication Number Publication Date
CN101864835A true CN101864835A (zh) 2010-10-20
CN101864835B CN101864835B (zh) 2011-06-01

Family

ID=42956743

Family Applications (1)

Application Number Title Priority Date Filing Date
CN2010101972182A Expired - Fee Related CN101864835B (zh) 2010-06-11 2010-06-11 铝合金顶板早拆支撑

Country Status (1)

Country Link
CN (1) CN101864835B (zh)

Cited By (3)

* Cited by examiner, † Cited by third party
Publication number Priority date Publication date Assignee Title
CN108661311A (zh) * 2018-07-23 2018-10-16 广东快建模架科技有限公司 一种楼面早拆系统及其使用方法
CN110439259A (zh) * 2018-05-02 2019-11-12 深圳市前海胜德建筑科技有限公司 铝模板与木模板之间的配合结构及施工方法
US11268289B2 (en) * 2020-07-31 2022-03-08 Bond Formwork Systems, LLC Drophead nut for formwork grid systems

Citations (6)

* Cited by examiner, † Cited by third party
Publication number Priority date Publication date Assignee Title
GB2102870A (en) * 1981-07-27 1983-02-09 Palmers Scaffolding Limited Drop head unit
EP0250630A1 (de) * 1986-07-01 1988-01-07 Emil Steidle GmbH. & Co. Fallkopf für Deckenschalungssysteme
CN2072114U (zh) * 1990-07-24 1991-02-27 北京施工应用科学研究所 早拆柱头
JP2005155280A (ja) * 2003-11-28 2005-06-16 Takehisa Yoshida フォームタイの緩み止め具
CN201184056Y (zh) * 2008-04-21 2009-01-21 黑龙江省建工集团有限责任公司 小径木快拆支撑
CN101525942A (zh) * 2008-12-29 2009-09-09 青建集团股份公司 专用于梁的模板早拆托架

Patent Citations (6)

* Cited by examiner, † Cited by third party
Publication number Priority date Publication date Assignee Title
GB2102870A (en) * 1981-07-27 1983-02-09 Palmers Scaffolding Limited Drop head unit
EP0250630A1 (de) * 1986-07-01 1988-01-07 Emil Steidle GmbH. & Co. Fallkopf für Deckenschalungssysteme
CN2072114U (zh) * 1990-07-24 1991-02-27 北京施工应用科学研究所 早拆柱头
JP2005155280A (ja) * 2003-11-28 2005-06-16 Takehisa Yoshida フォームタイの緩み止め具
CN201184056Y (zh) * 2008-04-21 2009-01-21 黑龙江省建工集团有限责任公司 小径木快拆支撑
CN101525942A (zh) * 2008-12-29 2009-09-09 青建集团股份公司 专用于梁的模板早拆托架

Cited By (4)

* Cited by examiner, † Cited by third party
Publication number Priority date Publication date Assignee Title
CN110439259A (zh) * 2018-05-02 2019-11-12 深圳市前海胜德建筑科技有限公司 铝模板与木模板之间的配合结构及施工方法
CN108661311A (zh) * 2018-07-23 2018-10-16 广东快建模架科技有限公司 一种楼面早拆系统及其使用方法
CN108661311B (zh) * 2018-07-23 2023-11-24 广东传世建设工程有限公司 一种楼面早拆系统及其使用方法
US11268289B2 (en) * 2020-07-31 2022-03-08 Bond Formwork Systems, LLC Drophead nut for formwork grid systems

Also Published As

Publication number Publication date
CN101864835B (zh) 2011-06-01

Similar Documents

Publication Publication Date Title
CN103452126B (zh) 一种底板钢材可回收的轻型组合吊箱及其施工工艺
CN110593485A (zh) 一种主材免损伤的可拆卸钢-混凝土组合梁
CN102661019A (zh) 建筑物外墙保温装饰一体化施工方法
CN207863507U (zh) 一种用于高层建筑楼层的竖向构件置换装置
CN110552502A (zh) 一种c型料场中间挡墙悬挑平台的施工方法
CN203947752U (zh) 用于焦炉烟道拱顶砌筑的辅助装置
CN101864835B (zh) 铝合金顶板早拆支撑
CN218668474U (zh) 一种花篮式悬挑承力架
CN217151150U (zh) 一种用于铝模-全混凝土外墙的悬挑钢桁架模板支撑平台
CN207686280U (zh) 一种可搭配满堂脚手架使用的铝合金模板早拆头装置
CN201132941Y (zh) 移动模架自浮式下扁担梁
CN113846746A (zh) 一种利于高效施工的地下室结构及施工方法
CN104878775B (zh) 一种可周转的逆作法钢管柱调垂导向装置及其施工方法
CN209469000U (zh) 用于铝合金模板的桁架以及桁架铝合金隧道模板
CN210025768U (zh) 一种用于沉箱模板安装的作业平台系统
CN217299956U (zh) 空心楼板承托机构
CN218668695U (zh) 一种木模早拆独立支撑加固体系
CN209723569U (zh) 一种电梯井操作平台
CN211949540U (zh) 一种建筑脚手架拉结件
CN203924652U (zh) 一种预制楼梯间周边剪力墙的施工平台
CN209723516U (zh) 一种高层建筑电梯井施工结构
CN208965999U (zh) 一种可移动式采光顶操作平台
CN214302842U (zh) 一种土木工程施工浇筑模板
CN206289532U (zh) 一种贝雷梁铰支座
CN202830779U (zh) 一种安全防护吊篮

Legal Events

Date Code Title Description
C06 Publication
PB01 Publication
C10 Entry into substantive examination
SE01 Entry into force of request for substantive examination
C14 Grant of patent or utility model
GR01 Patent grant
CF01 Termination of patent right due to non-payment of annual fee

Granted publication date: 20110601

Termination date: 20200611

CF01 Termination of patent right due to non-payment of annual fee