CN101806165B - Combined type fencing - Google Patents

Combined type fencing Download PDF

Info

Publication number
CN101806165B
CN101806165B CN2010101372658A CN201010137265A CN101806165B CN 101806165 B CN101806165 B CN 101806165B CN 2010101372658 A CN2010101372658 A CN 2010101372658A CN 201010137265 A CN201010137265 A CN 201010137265A CN 101806165 B CN101806165 B CN 101806165B
Authority
CN
China
Prior art keywords
column
baffle
plate
baffle plate
junction plate
Prior art date
Legal status (The legal status is an assumption and is not a legal conclusion. Google has not performed a legal analysis and makes no representation as to the accuracy of the status listed.)
Expired - Fee Related
Application number
CN2010101372658A
Other languages
Chinese (zh)
Other versions
CN101806165A (en
Inventor
马玉春
熊水金
孙慧星
李智能
杨元秀
姜国祥
郑强
Current Assignee (The listed assignees may be inaccurate. Google has not performed a legal analysis and makes no representation or warranty as to the accuracy of the list.)
China Metallurgical Construction Engineering Group Co Ltd
Original Assignee
China Metallurgical Construction Engineering Group Co Ltd
Priority date (The priority date is an assumption and is not a legal conclusion. Google has not performed a legal analysis and makes no representation as to the accuracy of the date listed.)
Filing date
Publication date
Application filed by China Metallurgical Construction Engineering Group Co Ltd filed Critical China Metallurgical Construction Engineering Group Co Ltd
Priority to CN2010101372658A priority Critical patent/CN101806165B/en
Publication of CN101806165A publication Critical patent/CN101806165A/en
Application granted granted Critical
Publication of CN101806165B publication Critical patent/CN101806165B/en
Expired - Fee Related legal-status Critical Current
Anticipated expiration legal-status Critical

Links

Images

Landscapes

  • Devices Affording Protection Of Roads Or Walls For Sound Insulation (AREA)

Abstract

一种组合式围挡,包括立柱和挡板,所述挡板有若干块且并排设置在两根立柱之间,在两根立柱之间还设有若干条横梁,所述横梁的两端分别可拆卸式连接在两根立柱上;在立柱的两侧设有立柱连接板,在挡板的两侧还设有挡板连接板,在立柱连接板和挡板连接板上分别设有若干个安装孔,相邻的两块挡板以及立柱与相邻的挡板均通过设置在对应安装孔内的螺栓固定。本发明的组合式围挡解决了目前建筑施工中搭建的彩板围挡质量较差,抗冲击力弱,安装、拆卸难度大以及重复利用率低的问题,用一种组合的方式来搭建围挡,适应性很强,而且稳固性好,抗冲击力强,可反复使用,避免了浪费,节约了施工成本;还能美化环境,减少了施工场地对周围的环境的影响。

Figure 201010137265

A combined enclosure, including a column and a baffle, the baffle has several pieces and is arranged side by side between two columns, and several beams are arranged between the two columns, and the two ends of the beam are respectively It is detachably connected to two columns; there are column connecting plates on both sides of the column, and baffle connecting plates on both sides of the baffle. The mounting holes, the two adjacent baffles and the column and the adjacent baffles are all fixed by bolts arranged in the corresponding mounting holes. The combined fence of the present invention solves the problems of poor quality, weak impact resistance, high difficulty in installation and disassembly and low reuse rate of the color board fence built in the current building construction, and uses a combined method to build the fence It has strong adaptability, good stability, strong impact resistance, and can be used repeatedly, avoiding waste and saving construction costs; it can also beautify the environment and reduce the impact of the construction site on the surrounding environment.

Figure 201010137265

Description

A kind of combined type fencing
Technical field
The enclosing that is used to isolate construction area when the present invention relates to a kind of building operations.
Background technology
When building operations, usually all need build enclosing the road or the zone of action of construction area and outside kept apart, protect pedestrains safety and beautify surrounding environment with this.
The enclosing that uses under construction at present mainly contains two types of brick enclosure wall and colored steel enclosings.Brick enclosure wall belongs to the rigidity enclosing, adopts common clay brick to build by laying bricks or stones, and its whole rigidity is relatively poor, is easy to cause the part to collapse under external force, protective action very a little less than, and used fragment of brick also is inconvenient to reuse usually, wastes bigger.The colored steel enclosing is some iron plates to be fixed on series connection such as iron wires form enclosing on the steel pipe frame, though it can use repeatedly, its stability is very poor; Colored steel is easy to collapse; And the bonding strength of iron wire is also lower, runs into external force and does the time spent and rupture easily, and cause integral body to collapse; Colored steel was used once back distortion greatly simultaneously, influenced very much attractive in appearance in this utilization.
Summary of the invention
Above-mentioned deficiency to prior art exists the object of the present invention is to provide good, the repeatedly used combined type fencing of a kind of steadiness.
Technical scheme of the present invention: a kind of combined type fencing; It is characterized in that, comprise column and baffle plate, said some baffle plates are arranged side by side between two root posts; Between two root posts, also be provided with some crossbeams, the two ends of said crossbeam are detachable respectively to be connected on two root posts; Be provided with the column junction plate in the both sides of column; Both sides at baffle plate also are provided with the baffle plate junction plate; On column junction plate and baffle plate junction plate, be respectively equipped with several installing holes; Between two adjacent baffle plates and between column and the adjacent baffle plate, all through being arranged on the bolt in the corresponding installing hole.
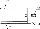
Further, between the connecting portion and crossbeam of two adjacent baffle plates, be connected with hook, said hook is made up of last cleek, following cleek, positioning bolt and location-plate; The last cleek that is parallel to each other penetrates respectively in the installing hole of two adjacent baffle plates with following cleek, and the medial surface of location-plate is pressed on the crossbeam through positioning bolt.
Further, said column junction plate is L shaped structure with the baffle plate junction plate and is connected with column and baffle plate are vertical respectively, and installing hole all is arranged on the vertical plane of column junction plate and baffle plate junction plate.
Be fixed with the contiguous block of vertical direction at the two ends of crossbeam respectively, on contiguous block, also be provided with the installing hole that several are used for connecting bolt.
Upper end at baffle plate also is provided with back timber, and the upper end of said back timber is a plane, and its and arranged on left and right sides is fixedly mounted on respectively on the column at two ends.
It is second-rate that combined type fencing of the present invention has solved the enclosing of building in the present building operations, a little less than the anti-impact force, installs, dismantles the problem that difficulty is big and recycling rate of waterused is low; Mode with a kind of combination is built enclosing; All parts are steel work, and making, installation and dismounting are all very convenient, and external image is better; Particularly during belt construction, greatly reduce the influence of construction site to external environment condition on down town ground.
With respect to prior art, the present invention has the following advantages:
1, steadiness is good, and anti-impact force is strong, adopts the fixing respectively each other mode of column, baffle plate and crossbeam; Strengthened the bulk strength of enclosing greatly; And between baffle plate and crossbeam, also be connected with a plurality of hooks, and further strengthened the bonding strength of baffle plate, adopt the reinforcing mode that is connected; Make the stressed of part bear, can effectively prevent local collapsing by whole enclosing;
2, can use repeatedly, avoid waste, because each several part is detachable connection, install, dismounting is all very convenient, practiced thrift construction cost;
3, good integrity can also be beautified the environment, and can draw a design at the lateral surface of enclosing, on its top, also can place ornament, reduced the construction plant to around the influence of environment.
Description of drawings
Fig. 1 makes up the overall structure sketch map of enclosing for the present invention;
Fig. 2 is the vertical view of baffle plate of the present invention;
Fig. 3 is the vertical view of column of the present invention;
Fig. 4 is the lateral view of the present invention's hook;
Fig. 5 is the upward view of Fig. 4.
Among the figure, 1-column, 11-column junction plate, 2-baffle plate, 21-baffle plate junction plate, 3-crossbeam, 4-installing hole, 5-contiguous block, 6-hook, the last cleek of 61-, cleek under the 62-, 63-positioning bolt, 64-location-plate, 7-back timber, 8-ornament, 9-reinforcing rib.
The specific embodiment
Below in conjunction with the accompanying drawing and the specific embodiment the present invention is described further.
Like Fig. 1, Fig. 2 and shown in Figure 3, a kind of combined type fencing comprises column 1 and baffle plate 2; Said baffle plate 2 has some and be arranged side by side between two root posts 1; Between two root posts 1, also be provided with some crossbeams 3, crossbeam 3 is a rectangular steel tube, is fixed with the contiguous block 5 of vertical direction respectively at the two ends of crossbeam 3; On contiguous block 5, also be provided with several installing holes that are used for connecting bolt 4, the two ends of said crossbeam 3 are installed on two root posts 1 through contiguous block 5 respectively; Be provided with column junction plate 11 in the both sides of column 1; Both sides at baffle plate 2 also are provided with baffle plate junction plate 21; On column junction plate 11 and baffle plate junction plate 21, be respectively equipped with several installing holes 4, adjacent two baffle plates 2 and column 1 and adjacent baffle plate 2 are all through being arranged on the bolt in the corresponding installing hole.
Referring to Fig. 1, Fig. 4 and Fig. 5, between adjacent two baffle plates 2, also be connected with hook 6, said hook 6 is by last cleek 61, cleek 62, positioning bolt 63 and location-plate 64 constitute down; Last cleek 61 is L shaped with following cleek 62 and is parallel to each other; Leave the gap that is used to pass crossbeam 3 between the upper and lower cleek; And all be fixed on the medial surface of location-plate 64 and form the framework that the side is the U-shaped structure, positioning bolt 63 is movably connected on the location-plate 64; The front end of upper and lower cleek connects the baffle plate junction plate during location, thereby two baffle plates are connected; Crossbeam 3 passes the gap between the upper and lower cleek, and the medial surface of location-plate 64 is pressed on the crossbeam 3 through positioning bolt 63.Like this, hook 6 fastens as one adjacent two baffle plates and crossbeam, has strengthened the structural strength of each parts link position, can effectively prevent to come off, and can keep out bigger impulse force.
Referring to Fig. 1, for beautifying the overall appearance of enclosing, also be provided with back timber 7 in the upper end of baffle plate 2, the upper end of said back timber 7 is the plane, its and arranged on left and right sides is fixedly mounted on respectively on the column 1 at two ends.On transverse plane on the back timber 7, can place ornament 8; The ornament of being placed 8 can be various green plantss, small-sized potted plant; Also can be artificial decoration flowers and plants; And be engaged in the metope pattern that draw in the enclosing outside, and form metope with better appearance, reach the effect of beautifying the environment.
Referring to Fig. 1, enclosing of the present invention normally is provided with four baffle plates when mounted between two root posts, and fixes with upper and lower two crossbeams respectively, is connected a hook at crossbeam respectively with the adjacent position of baffle plate, can reach effect preferably like this.The rest may be inferred, repeats to be provided with the enclosing of same structure again at the opposite side of column, until desired zone is gone along with sb. to guard him fully.For preventing that earth flows into outside the works area in the construction area, when building column, can be fixed on the good concrete pedestal of cast in advance through 4 expansion bolts, the baffle plate below can adopt common brick to build step high about 20cm by laying bricks or stones.
Referring to Fig. 2 and Fig. 3, column junction plate 11 and baffle plate junction plate 21 be L shaped structure and respectively with column 1 and 2 vertical connections of baffle plate, installing hole 4 all is arranged on the vertical plane of column junction plate 11 and baffle plate junction plate 21.Through L shaped structure, can form a plane at the opening part of column 1 and baffle plate 2, its role is to protect the staff not scratched by the sharp steel arm of angle, can also block, protect simultaneously the bolt of installing on column and the baffle plate.
Referring to Fig. 1, in column 1, also be connected with many reinforcing ribs 9, the effect that this can play the support post side strengthens it and receives force intensity; Referring to Fig. 3, the installing hole on column 1 side can also be arranged side by side many groups, thus installation site that can upper and lower adjusting crossbeam 3, or the permanent position of forward and backward adjusting back timber 7, more convenient like this installation, also simpler during dismounting.
Combined type fencing of the present invention has changed the tactic pattern of traditional enclosing, adopts knockdown structure to realize whole effect, promptly firmly can beautify the environment again, can extensive use and various construction site, have good practical value.
Need to prove at last; Above embodiment is only in order to explain technical scheme of the present invention but not the restriction technologies scheme; Although the applicant specifies the present invention with reference to preferred embodiment, those of ordinary skill in the art should be appreciated that those and technical scheme of the present invention is made amendment or is equal to replacement; And do not break away from the aim and the scope of present technique scheme, all should be encompassed in the middle of the claim scope of the present invention.

Claims (5)

1. combined type fencing; It is characterized in that comprise column (1) and baffle plate (2), said some baffle plates (2) are arranged side by side between two root posts (1); Between two root posts (1), also be provided with some crossbeams (3), the two ends of said crossbeam (3) are detachable respectively to be connected on two root posts (1); Be provided with column junction plate (11) in the both sides of column (1); Also be provided with baffle plate junction plate (21) in the both sides of baffle plate (2); On column junction plate (11) and baffle plate junction plate (21), be respectively equipped with several installing holes (4); Between adjacent two baffle plates (2) and between column (1) and the adjacent baffle plate (2), all through being arranged on the bolt in the corresponding installing hole (4).
2. combined type fencing according to claim 1; It is characterized in that; Between the connecting portion and crossbeam (3) of adjacent two baffle plates (2), be connected with hook (6), said hook (6) is made up of last cleek (61), following cleek (62), positioning bolt (63) and location-plate (64); Last cleek (61) that is parallel to each other and following cleek (62) penetrate respectively in the installing hole (4) of adjacent two baffle plates (2), and the medial surface of location-plate (64) is pressed on the crossbeam (3) through positioning bolt (63).
3. combined type fencing according to claim 1; It is characterized in that; Said column junction plate (11) and baffle plate junction plate (21) be L shaped structure and respectively with column (1) and vertical connection of baffle plate (2), installing hole (4) all is arranged on the vertical plane of column junction plate (11) and baffle plate junction plate (21).
4. combined type fencing according to claim 1 and 2 is characterized in that, is fixed with the contiguous block (5) of vertical direction respectively at the two ends of crossbeam (3), on contiguous block (5), also is provided with several installing holes that is used for connecting bolt (4).
5. combined type fencing according to claim 1 and 2 is characterized in that, also is provided with back timber (7) in the upper end of baffle plate (2), and the upper end of said back timber (7) is a plane, and its and arranged on left and right sides is fixedly mounted on respectively on the column (1) at two ends.
CN2010101372658A 2010-03-31 2010-03-31 Combined type fencing Expired - Fee Related CN101806165B (en)

Priority Applications (1)

Application Number Priority Date Filing Date Title
CN2010101372658A CN101806165B (en) 2010-03-31 2010-03-31 Combined type fencing

Applications Claiming Priority (1)

Application Number Priority Date Filing Date Title
CN2010101372658A CN101806165B (en) 2010-03-31 2010-03-31 Combined type fencing

Publications (2)

Publication Number Publication Date
CN101806165A CN101806165A (en) 2010-08-18
CN101806165B true CN101806165B (en) 2012-01-04

Family

ID=42608102

Family Applications (1)

Application Number Title Priority Date Filing Date
CN2010101372658A Expired - Fee Related CN101806165B (en) 2010-03-31 2010-03-31 Combined type fencing

Country Status (1)

Country Link
CN (1) CN101806165B (en)

Families Citing this family (2)

* Cited by examiner, † Cited by third party
Publication number Priority date Publication date Assignee Title
CN107152190A (en) * 2017-06-21 2017-09-12 湖北美力防护设施科技有限公司 The method and apparatus for combining protection
CN112554645B (en) * 2020-12-25 2024-11-12 江苏核电有限公司 A protective fence for maintenance of low-pressure cylinder of steam turbine

Family Cites Families (7)

* Cited by examiner, † Cited by third party
Publication number Priority date Publication date Assignee Title
US5730426A (en) * 1996-10-09 1998-03-24 Tu; Yu-Pin Wire mesh fence structure
CN2378471Y (en) * 1999-05-12 2000-05-17 麦家声 Assembling construction protection wall
CN2818676Y (en) * 2005-06-24 2006-09-20 蒋伍林 Constructon site fence
CN2828227Y (en) * 2005-09-01 2006-10-18 李安海 Assembling enclosure
CN2871734Y (en) * 2006-01-12 2007-02-21 鼎富力建设实业股份有限公司 Modular quick-dismantling construction site fencing
CN200964720Y (en) * 2006-11-06 2007-10-24 山东鸿泰建设集团有限公司 Separation wall for urban construction
CN201610656U (en) * 2010-03-31 2010-10-20 中冶建工有限公司 Combined retaining structure

Also Published As

Publication number Publication date
CN101806165A (en) 2010-08-18

Similar Documents

Publication Publication Date Title
CN105586867B (en) Installation method of super-long and super-heavy reinforcement cage
CN204627016U (en) A kind of crown protective device of the car sedan-chair top without scaffold construction elevator
CN104372967B (en) A kind of cooling stack inclined strut structure and construction method thereof
CN106320704A (en) Steel reinforced concrete structure formwork sleeve threaded rod pulling construction method
CN107859435A (en) A kind of full assembling lightweight steel construction bounding wall system and assemble method
CN202117074U (en) Foundation bed steel structure for positioning and mounting base of tower crane
CN105201204B (en) A kind of method and structure of rotten when preventing pouring reinforcement concrete column suspension column
CN101806165B (en) Combined type fencing
CN204001746U (en) A kind of wall, column template supporting adn fixing device
CN106284989B (en) The sliding form bracing system of double track and complete construction method
CN201610656U (en) Combined retaining structure
CN203783170U (en) Detachable protective shed
CN214616576U (en) Full-hydraulic inner and outer die combined lining trolley
CN103321438B (en) A kind of modular protection marguise of large cantilever being applicable to high-building construction
CN106522094B (en) A kind of Sarasota crosses segment structure and construction method
CN206070404U (en) Oblique formwork support structure at the section haunch of box culvert top
KR101091600B1 (en) Sidewall PC formwork and construction method using the same
JP2005351047A (en) Reinforcing structure of guard fence
CN208251112U (en) A kind of detachable structural steel combination crown beam
CN105133770A (en) Roof structure of underpass inlet
CN203755130U (en) Front beam and rear arch stacking device for steel arch bridge
CN203640313U (en) Floor beam installing support
CN104871865B (en) It is capable of the greening wall system of fast assembling-disassembling
CN203066043U (en) Diversion tunnel top arch concrete lining steel formwork support
CN211851204U (en) Building purse seine convenient to dismantle

Legal Events

Date Code Title Description
C06 Publication
PB01 Publication
C10 Entry into substantive examination
SE01 Entry into force of request for substantive examination
C14 Grant of patent or utility model
GR01 Patent grant
CF01 Termination of patent right due to non-payment of annual fee

Granted publication date: 20120104

Termination date: 20180331

CF01 Termination of patent right due to non-payment of annual fee