CN101793126A - 钻头半成品、钻头及其制造方法 - Google Patents
钻头半成品、钻头及其制造方法 Download PDFInfo
- Publication number
- CN101793126A CN101793126A CN201010111527A CN201010111527A CN101793126A CN 101793126 A CN101793126 A CN 101793126A CN 201010111527 A CN201010111527 A CN 201010111527A CN 201010111527 A CN201010111527 A CN 201010111527A CN 101793126 A CN101793126 A CN 101793126A
- Authority
- CN
- China
- Prior art keywords
- drill
- blank
- drill bit
- aforementioned
- head
- Prior art date
- Legal status (The legal status is an assumption and is not a legal conclusion. Google has not performed a legal analysis and makes no representation as to the accuracy of the status listed.)
- Pending
Links
Images
Classifications
-
- B—PERFORMING OPERATIONS; TRANSPORTING
- B21—MECHANICAL METAL-WORKING WITHOUT ESSENTIALLY REMOVING MATERIAL; PUNCHING METAL
- B21K—MAKING FORGED OR PRESSED METAL PRODUCTS, e.g. HORSE-SHOES, RIVETS, BOLTS OR WHEELS
- B21K5/00—Making tools or tool parts, e.g. pliers
- B21K5/02—Making tools or tool parts, e.g. pliers drilling-tools or other for making or working on holes
-
- B—PERFORMING OPERATIONS; TRANSPORTING
- B23—MACHINE TOOLS; METAL-WORKING NOT OTHERWISE PROVIDED FOR
- B23B—TURNING; BORING
- B23B31/00—Chucks; Expansion mandrels; Adaptations thereof for remote control
- B23B31/005—Cylindrical shanks of tools
-
- B—PERFORMING OPERATIONS; TRANSPORTING
- B23—MACHINE TOOLS; METAL-WORKING NOT OTHERWISE PROVIDED FOR
- B23P—METAL-WORKING NOT OTHERWISE PROVIDED FOR; COMBINED OPERATIONS; UNIVERSAL MACHINE TOOLS
- B23P15/00—Making specific metal objects by operations not covered by a single other subclass or a group in this subclass
- B23P15/28—Making specific metal objects by operations not covered by a single other subclass or a group in this subclass cutting tools
- B23P15/32—Making specific metal objects by operations not covered by a single other subclass or a group in this subclass cutting tools twist-drills
-
- B—PERFORMING OPERATIONS; TRANSPORTING
- B25—HAND TOOLS; PORTABLE POWER-DRIVEN TOOLS; MANIPULATORS
- B25D—PERCUSSIVE TOOLS
- B25D17/00—Details of, or accessories for, portable power-driven percussive tools
- B25D17/06—Hammer pistons; Anvils ; Guide-sleeves for pistons
-
- B—PERFORMING OPERATIONS; TRANSPORTING
- B23—MACHINE TOOLS; METAL-WORKING NOT OTHERWISE PROVIDED FOR
- B23B—TURNING; BORING
- B23B2231/00—Details of chucks, toolholder shanks or tool shanks
- B23B2231/02—Features of shanks of tools not relating to the operation performed by the tool
- B23B2231/0216—Overall cross sectional shape of the shank
- B23B2231/0232—Hexagonal
-
- B—PERFORMING OPERATIONS; TRANSPORTING
- B23—MACHINE TOOLS; METAL-WORKING NOT OTHERWISE PROVIDED FOR
- B23B—TURNING; BORING
- B23B2231/00—Details of chucks, toolholder shanks or tool shanks
- B23B2231/02—Features of shanks of tools not relating to the operation performed by the tool
- B23B2231/0284—Notches
Landscapes
- Engineering & Computer Science (AREA)
- Mechanical Engineering (AREA)
- Drilling Tools (AREA)
- Processing Of Stones Or Stones Resemblance Materials (AREA)
Abstract
本发明涉及一种钻头半成品(1、100),尤其是用于制造用于蓄电池螺丝刀、凿岩机、电动螺丝刀、冲击式钻机、旋转式钻机及其组合的钻头的钻头半成品(1、100),其具有用于夹紧所述钻头半成品(1、100)的柄区域(2),并且具有基本上为圆柱形的头部(14、114、214、314),以便通过加工钻头螺旋(222、322)和/或切削刃(223、323)来构成钻头头部(214、314)。本发明的突出之处在于,所述柄区域(2)仅在第一部分(4)至少一部分构成为六边形,然而在第二部分(6)基本上构成为圆柱形,其中所述第一部分(4)的外径(8)基本上相当于或者略小于所述第二部分(6)的外径(10)。
Description
技术领域
本发明涉及一种钻头半成品,所述钻头半成品尤其是适合于制造用于蓄电池螺丝刀、凿岩机、电动螺丝刀、冲击式钻机、旋转式钻机及其组合的钻头,其具有用于夹紧所述钻头半成品的柄区域,并且具有基本上为圆柱形的头部,以便于通过进行钻头螺旋和/或切削构成钻头头部。
本发明此外涉及由开头所述的钻头半成品制成的钻头。
此外,本发明涉及具有由开头所述的钻头半成品制成的钻头的蓄电池螺丝刀、凿岩机、电动螺丝刀、冲击式钻机和/或旋转式钻机和/或其组合。 此外,本发明涉及将开头所述的钻头半成品应用于制造钻头,尤其是用于制造用于蓄电池螺丝刀、凿岩机、电动螺丝刀、冲击式钻机、旋转式钻机及其组合的钻头。
最后,本发明涉及用于制造钻头半成品的方法。
背景技术
根据现有技术,钻头半成品、钻头、蓄电池螺丝刀、凿岩机、电动螺丝刀、冲击式钻机、旋转式钻机及其组合、应用和开头所述的方法是已知的。
发明内容
本发明的目的是改进开头所述的装置和方法。
所述目的是通过本发明提供的钻头半成品、钻头以及相关方法来实现。
本发明尤其包括以下理解,现有技术中的钻头的柄区域越来越多地构成为六边形。此外这种六边形柄大多数按照DIN 3126-E6.3构成,以适合于所谓的1/4英寸-位驱动(Bitantreib)。目前在蓄电池螺丝刀、凿岩机、电动螺丝刀、冲击式钻机、旋转式钻机及其组合的市场上,越来越多地由仅能够在其钻卡头中容纳前述的DIN标准的柄的机器占主导地位。这种钻卡头目前大量地代替了传统的夹具或者三爪卡盘以夹紧钻头,因为该钻卡头允许快速的且方便的工具更换并且同时防止了如可能出现在三爪卡盘中的钻头的打滑。相应地,带构成为六边形的柄的钻头或者说是钻头半成品以同样的方式代替传统的圆柄钻头,也就是说带完全为圆柱形的柄的钻头,并且与此相应也代替设计用于所述钻头的钻头半成品。
本发明的实施形式此外的突出之处在于,相应的钻头半成品和钻头在六边形和前面的圆柱形的头部的工作杆之间具有圆柱形部分,该圆柱形部分的直径基本上等于或者说是仅稍大于(约大于0.1-0.3mm)六边形柄的最大直径。其有利之处在于,柄区域在第一部分至少一部分构成为六边形,然而在第二部分基本上构成为圆柱形,其中第一部分的外径基本上相当于或者略小于第二部分的外径。
根据本发明的钻头半成品的优点尤其在于,通过基本上与第一部分的直径相同的且与第一部分邻接的柄区域的第二部分,也就是说,柄区域具有带六边形的部分和基本上为圆柱形的部分,使得与已知的根据现有技术的制造相比能够大大地简化这种钻头半成品的制造并且因此非常有利地制造。
在现有技术中对于钻头直径小于六边形的对角直径的构造已知的是,钻头半成品的柄区域由两个分离的部分组成。在此背景是,为了制造钻头,也就是说,为了在螺旋和切削的机床上加工相应的钻头半成品的头部,在夹具基座上的钻头半成品必须被保持在圆柱形部分中。因为六边形不能被保持在夹具基座上或者所是不能夹紧在夹具中,所以目前在现有技术中带切削和螺旋的钻头由圆柱形杆制成,所述杆被焊接在独立制造的六边形的孔中,因此完整的钻头必须由两部分制成。附图中的图7示意性地示出了根据现有技术的这种钻头。图7示出钻头A,该钻头A具有六边形B和最前面的圆柱形的、焊接在六边形B中的且作为工作杆的头部C,该钻头不具有所述的钻头螺旋和钻头切削刃。
本发明以极其简单的方式避免了前述的根据现有技术的这种钻头半成品的极其复杂的制造。因为通过在一开始就与伸出六边形的第一部分一体化构成且在柄区域中设有基本上构成为圆柱形的具有相同直径的第二部分,所以夹具可以在与第一部分构成一体的第二部分的区域内夹紧钻头半成品,以使得然后以间接的方式在钻头半成品的头部中执行不同的加工步骤以加工钻头,该头部连接于柄区域的圆柱形部分。
本发明然而还提供了一系列其它的且同样显著的优点。首先,总的来说尤其是在用于冲击式钻机的钻头中然而还极大地提高了由根据本发明的钻头半成品制成的钻头或者说是由根据本发明的方法制成的钻头的耐用性。因为通过避免两部分的构造和避免因此根据现有技术的必须的焊接点,根据本发明的钻头或者说是根据本发明的钻头半成品与根据现有技术的相应的钻头半成品或者说是相应的钻头相比不仅成本非常低而且非常耐用。
另外的优点产生于当凿岩机应当由钻头半成品制造时。目前具有更小直径的凿岩机钻头,即小于8mm,不可能用1/4英寸-六边形柄以耐用的方式构成,因为对于期望的冲击能量传递,凿岩机的浮动阀芯的质量与六边形柄的质量和尺寸具有不利的比例。由此,该钻头总是很快折断。该问题能够以极其简单的方式通过连接在六边形上的具有相同直径的圆柱形区域的合适的长度来解决。
其余的优点尤其然后出现在,当钻头半成品或者说是钻头的头部的直径小于钻头半成品或者说是钻头的柄区域中的六边形的对角直径时。因为在这种情况中,基于上面详述的原因在现有技术中钻头的规定的标签或者说是印章仅可能安装在圆柱形区域中,该圆柱形区域此后焊接在六边形中。因为通过上面详述的现有技术的制造方法该圆柱形区域必须强制性地具有与头部或者说是钻头头部相同的直径,所以在现有技术中当这种钻头半成品或者说是钻头的直径小于六边形的对角直径时,几乎不可能用裸眼看清楚标签和印章。
在现有技术中由于这种钻头、钻头半成品的较小半径,相应的圆柱形区域的周长极其小,因此标签或者说是印章仅当仔细观察且特别是还要通过完全旋转钻头时才能弄清楚。因此在所述的相应于现有技术的钻头的另一个替代方案中,在六边形的一面上打印标签。在这种情况下不再能读取固定在电动工具中的钻头的直径,这更加能导致误差,因为操作者不能确定其刚才使用了多大的钻头直径。
钻头的这种印章或者说是标签的可见性按照本发明的理解具有非常重要的意义,因为例如在发电厂用销连接安装外观元件、顶棚悬吊体系或者还有管道,该销连接通过因钻头标签的较差的可读性而弄错的太大的钻头且相应的太大的孔而固定在墙上并且接着会松动,在现有技术中可能造成部分致死的较严重或最严重的事故,因为部分极其重的和高密度的东西在一段时间以后突然从其固定处松开并且冲向人群。
根据本发明的钻头半成品或者说是钻头的柄区域的圆柱形区域因此有助于在建立所述链接时大大地提高安全性,根据本发明该圆柱形区域的直径相当于柄区域的六边形的对角直径。
此外通过根据本发明的钻头在圆柱形部分上夹紧也可以应用在机床中。由此得到另外的应用领域。
优选的实施形式在下文中给出。
附图说明
接下来根据附图描述本发明的优选的实施形式。在此,相同的、相似的或者功能相同的部件用相同的附图标记标明。附图示出:
图1示出根据本发明的钻头半成品的第一实施形式的侧视图;
图2示出图1的部分放大视图;
图3示出根据本发明的钻头半成品的第二实施形式;
图4示出相应于图1和2的第一实施形式的钻头;
图5示出图4的部分放大视图;
图6示出相应于根据图4和5的第二实施形式的钻头;以及
图7示出现有技术的钻头的示意图。
具体实施方式
图1示出根据本发明的钻头半成品的第一实施形式1的侧示意图。图1的钻头半成品尤其适合于制造蓄电池螺丝刀、凿岩机、电动螺丝刀、冲击式钻机、旋转式钻机及其组合。图1的钻头半成品1能够应用于制造用于这些机器的钻头。
图1的钻头半成品具有用于夹紧钻头半成品1的柄区域2,例如在用于制造钻头的夹具中夹紧,尤其是夹紧根据图4-6的钻头200、300,特别是夹紧钻头200、300的钻头螺旋222、322和切削223、323。柄区域2具有一部分构造为六边形的部分4和彼此紧连的、基本上构造为圆柱形的第二部分6。第一部分4的最大外径8基本上相当于柄区域2的基本上构造为圆柱形的第二部分6的外径10。
附图中的尺寸不能按照比例推出,第一部分4的最大外径8小于第二部分6的最大外径10且小于0.1mm至0.3mm。柄区域的第一部分4和第二部分6一体化构成或者说是由单一部件制成。六边形4具有环形槽5,该环形槽5用于在例如凿岩机的相应的常见的机器卡盘中的卡紧。
在示出的实施例中,第一部分4的长度约为第二部分6的沿着钻头半成品1的纵轴12测得的长度的1.8倍。第二部分6的长度在实施例中相当于商业通用的夹具的夹持长度。
第一部分4的六边形构成为根据DIN 3126-E6.3的1/4英寸-位驱动(Bitantrieb)。
图1的钻头半成品1此外具有头部14。头部14具有过渡区域16和圆柱形区域18。过渡区域16为在柄区域2的第二部分6的直径10与约为其一半的圆柱体18的直径20之间的过渡。
头部14通过根据本发明的方法借助于金属线材的挤压或者说是体积成型,优选由具有直径10的金属线材制成。
头部14适合于通过进行切削构成钻头头部。为此,用夹具将根据图1的第一实施形式的钻头半成品1的柄区域2的第二部分6夹紧,或者说是夹紧在第二部分6中的夹具。
图2示出图1的部分放大视图。
图3示出根据本发明的钻头半成品的第二实施形式。与图1和2示出的第一实施形式相比,图3的实施形式100示出具有直径120的头部114,该直径120明显大于第二部分6的直径10或者柄区域2的第一部分4的直径8。然而除此之外,图3的钻头半成品相当于图1和2的第一实施形式。
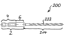
图4示出相应于图1和2的第一实施形式的钻头。图4的钻头200由图1和2的根据第一实施形式的钻头半成品1制成。钻头200在其头部214具有钻头螺旋222和钻头切削刃223。除此之外,在其柄区域2中的钻头200相应于图1和2的钻头半成品1。
图5示出图4的部分放大视图。
图6示出相应于根据图4和5的第二实施形式的钻头。在图6中示出的根据本发明的钻头的第二实施形式的钻头300由图3的钻头半成品100制成,在其中,图3的钻头半成品100的柄区域2的第二部分6被夹紧在夹具中,并且接着头部114设置有钻头螺旋322和钻头切削刃323。
Claims (14)
1.钻头半成品(1、100),尤其是用于制造用于蓄电池螺丝刀、凿岩机、电动螺丝刀、冲击式钻机、旋转式钻机及其组合的钻头的钻头半成品(1、100),其具有用于夹紧所述钻头半成品(1、100)的柄区域(2),并且具有基本上为圆柱形的头部(14、114、214、314),以便通过加工钻头螺旋(222、322)和/或切削刃(223、323)构成钻头头部(214、314),
其特征在于,所述柄区域(2)在第一部分(4)至少一部分构成为六边形,然而在第二部分(6)基本上构成为圆柱形,其中所述第一部分(4)的外径(8)基本上相当于或者略小于所述第二部分(6)的外径(10)。
2.根据权利要求1所述的钻头半成品(1、100),其中所述第一部分(4)的最大外径(8)略小于第二部分(6)的最大外径(10),优选小于约0.1至0.3mm。
3.根据前述权利要求中任一项所述的钻头半成品(1、100),其中所述第一部分(4)和所述第二部分(6),优选整个钻头半成品(1、100),一体化制成和/或由一个部件制成。
4.根据前述权利要求中任一项所述的钻头半成品(1、100),其中所述第一部分(4)的长度基本上相当于所述第二部分(6)的长度。
5.根据前述权利要求中任一项所述的钻头半成品(1、100),其中所述第一部分(4)的长度大于或者最大程度上等于所述第二部分(6)的长度。
6.根据前述权利要求中任一项所述的钻头半成品(1、100),其中所述第一部分(4)构成为1/4英寸-位驱动。
7.根据前述权利要求中任一项所述的钻头半成品(1、100),其中所述第一部分(4)对应于DIN 3126-E.6.3。
8.根据前述权利要求中任一项所述的钻头半成品(1、100),其中所述头部(14、114、214、314)的外径(20、120)大于,优选至少大于10%,或者小于,优选至少小于10%,所述第二部分(6)的外径(10)。
9.根据前述权利要求中任一项所述的钻头半成品(1、100),其中所述钻头半成品(1、100)通过金属线材的体积成型和/或通过金属线材的挤压制成。
10.钻头(200、300),尤其是用于蓄电池螺丝刀、凿岩机、电动螺丝刀、冲击式钻机、旋转式钻机及其组合的钻头,其由根据前述权利要求1至9中任一项所述的钻头半成品(1、100)制成。
11.根据权利要求10所述的钻头(200、300),其具有钻头头部(214、314),其中所述钻头头部(214、314)的外径大于,优选大于10%,或者小于,优选至少小于10%,所述第二部分(6)的外径(10)。
12.具有根据前述权利要求10或者11中任一项所述的钻头(200、300)的蓄电池螺丝刀、凿岩机、电动螺丝刀、冲击式钻机、旋转式钻机及其组合。
13.根据前述权利要求1至9中任一项所述的钻头半成品(1、100)用于制造钻头(200、300)的应用,尤其是制造用于蓄电池螺丝刀、凿岩机、电动螺丝刀、冲击式钻机、旋转式钻机和/或其组合的钻头(200、300)。
14.用于制造钻头半成品(1、100)和/或钻头(200、300)的方法,其特征在于,所述钻头半成品(1、100)和/或所述钻头(200、300)通过金属线材的体积成型和/或挤压形成。
Applications Claiming Priority (2)
| Application Number | Priority Date | Filing Date | Title |
|---|---|---|---|
| DE102009007143.1 | 2009-02-02 | ||
| DE200910007143 DE102009007143A1 (de) | 2009-02-02 | 2009-02-02 | Bohrerhalbzeug, Bohrer und Verfahren zur Herstellung derselben |
Publications (1)
| Publication Number | Publication Date |
|---|---|
| CN101793126A true CN101793126A (zh) | 2010-08-04 |
Family
ID=42106037
Family Applications (1)
| Application Number | Title | Priority Date | Filing Date |
|---|---|---|---|
| CN201010111527A Pending CN101793126A (zh) | 2009-02-02 | 2010-02-02 | 钻头半成品、钻头及其制造方法 |
Country Status (3)
| Country | Link |
|---|---|
| EP (1) | EP2213392A1 (zh) |
| CN (1) | CN101793126A (zh) |
| DE (1) | DE102009007143A1 (zh) |
Cited By (4)
| Publication number | Priority date | Publication date | Assignee | Title |
|---|---|---|---|---|
| CN102500798A (zh) * | 2011-12-27 | 2012-06-20 | 苏州八美机电有限公司 | 钻头半成品及其制造方法 |
| CN102950443A (zh) * | 2012-11-07 | 2013-03-06 | 方大控股有限公司 | 一种c型柄(四槽方柄)钻头的生产方法 |
| CN103619515A (zh) * | 2011-04-21 | 2014-03-05 | 依诺维克私人有限公司 | 卡盘工具及钻头装置 |
| CN105705721A (zh) * | 2013-03-13 | 2016-06-22 | 贝克休斯公司 | 形成用于井下应用的改性热塑性结构的方法,以及相关井下工具 |
Families Citing this family (3)
| Publication number | Priority date | Publication date | Assignee | Title |
|---|---|---|---|---|
| DE102010018791A1 (de) * | 2010-04-29 | 2011-11-03 | Illinois Tool Works Inc. | Verfahren zur Herstellung eines länglichen Werkzeugs mit einem Arbeitsabschnitt und einem Einsteckabschnitt |
| DE102010041164B4 (de) * | 2010-09-22 | 2022-01-27 | Adolf Würth Gmbh & Co Kg | Verfahren zum Herstellen eines Bohrers |
| CN103009344A (zh) * | 2012-11-14 | 2013-04-03 | 涂志强 | 六角钢凿 |
Family Cites Families (7)
| Publication number | Priority date | Publication date | Assignee | Title |
|---|---|---|---|---|
| GB160701A (en) * | 1920-06-11 | 1921-03-31 | Samuel Petts | Improved means for forming the collars and shanks of drills and the like |
| DE1217262B (de) * | 1959-12-14 | 1966-05-18 | Bauer Carl Fa | Werkzeughalterung fuer eine wahlweise als Bohr- oder Vibrationsbohrmaschine zu benutzende Maschine |
| AU1471783A (en) * | 1983-03-04 | 1984-09-28 | L. Scott | Drill bit |
| US6290439B1 (en) * | 1994-12-30 | 2001-09-18 | Black & Decker, Inc. | Method and apparatus for forming parts from a continuous stock material and associated forge |
| JP3530825B2 (ja) * | 2001-01-24 | 2004-05-24 | 株式会社小林ギムネ製作所 | 木工用ドリル |
| DE20312887U1 (de) * | 2003-08-21 | 2003-10-09 | Festool GmbH, 73240 Wendlingen | Beim Betrieb rotierendes Werkzeug mit einem Werkzeugschaft |
| US7473056B2 (en) * | 2005-10-20 | 2009-01-06 | Irwin Industrial Tool Company | Spade bit |
-
2009
- 2009-02-02 DE DE200910007143 patent/DE102009007143A1/de not_active Ceased
-
2010
- 2010-01-26 EP EP10151684A patent/EP2213392A1/de not_active Withdrawn
- 2010-02-02 CN CN201010111527A patent/CN101793126A/zh active Pending
Cited By (5)
| Publication number | Priority date | Publication date | Assignee | Title |
|---|---|---|---|---|
| CN103619515A (zh) * | 2011-04-21 | 2014-03-05 | 依诺维克私人有限公司 | 卡盘工具及钻头装置 |
| CN102500798A (zh) * | 2011-12-27 | 2012-06-20 | 苏州八美机电有限公司 | 钻头半成品及其制造方法 |
| CN102950443A (zh) * | 2012-11-07 | 2013-03-06 | 方大控股有限公司 | 一种c型柄(四槽方柄)钻头的生产方法 |
| CN105705721A (zh) * | 2013-03-13 | 2016-06-22 | 贝克休斯公司 | 形成用于井下应用的改性热塑性结构的方法,以及相关井下工具 |
| US10351686B2 (en) | 2013-03-13 | 2019-07-16 | Baker Hughes, A Ge Company, Llc | Methods of forming modified thermoplastic structures for down-hole applications |
Also Published As
| Publication number | Publication date |
|---|---|
| EP2213392A1 (de) | 2010-08-04 |
| DE102009007143A1 (de) | 2010-08-05 |
Similar Documents
| Publication | Publication Date | Title |
|---|---|---|
| CN101793126A (zh) | 钻头半成品、钻头及其制造方法 | |
| JP2002086245A (ja) | 鍛造方法および鍛造装置 | |
| CN110076573A (zh) | 钻铣一体式加工机床 | |
| CN104827076A (zh) | 一种用于对安全阀阀芯进行钻孔的装置 | |
| CN201128015Y (zh) | 高效钻孔倒角夹头 | |
| CN200995296Y (zh) | 碳化钨钻头 | |
| KR101305422B1 (ko) | Cnc 선반용 스핀들 유니트 및 스핀들 유니트를 이용한 밸브용 금속패킹 가공방법 | |
| CN217070871U (zh) | 可实现高精度、高扭矩的可换头刀具的连接机构 | |
| US20150061236A1 (en) | Soldered machining tool and soldered bar stock for forming the soldered machining tool | |
| CN216541959U (zh) | 一种摇臂钻床工作台上工件的夹紧装置 | |
| CN102865045A (zh) | 锥度螺纹凿岩快换钻杆 | |
| CN217749493U (zh) | 一种装有机夹刀片的长悬深套料加工刀具 | |
| CN202606940U (zh) | 具有嵌槽式卡簧连接的加工工装 | |
| CN215092078U (zh) | 一种气门切削工装 | |
| CN218964137U (zh) | 一种新型钻扩孔钻 | |
| CN203992210U (zh) | 半扁圆头、平锥头铆钉用硬质合金阴模 | |
| CN201168812Y (zh) | 一种麻花钻头 | |
| CN220030481U (zh) | 石墨硬毡钻孔刀 | |
| CN211101745U (zh) | 一种加工钢件齿轮轴定位孔的双头中心钻 | |
| CN214661393U (zh) | 同心轴焊接定位螺栓 | |
| CN219336763U (zh) | 一种同时加工气瓶瓶头内孔和车削外圆的装置 | |
| CN103706905B (zh) | 加工车床用扳手的主体和套筒的组合夹具及方法 | |
| CN104589155B (zh) | 凿岩钎头铣削夹具 | |
| CN202479566U (zh) | 一种防滑钻头 | |
| CN101254547A (zh) | 一种将锥柄钻加工成直柄钻的方法 |
Legal Events
| Date | Code | Title | Description |
|---|---|---|---|
| C06 | Publication | ||
| PB01 | Publication | ||
| C10 | Entry into substantive examination | ||
| SE01 | Entry into force of request for substantive examination | ||
| ASS | Succession or assignment of patent right |
Owner name: SHENLI CORP. Free format text: FORMER OWNER: SUEDSTA AG Effective date: 20130710 |
|
| C41 | Transfer of patent application or patent right or utility model | ||
| TA01 | Transfer of patent application right |
Effective date of registration: 20130710 Address after: Bremen, Germany Applicant after: Mac Panther Gmbh Address before: Swiss Swiss Applicant before: Suedsta AG |
|
| RJ01 | Rejection of invention patent application after publication | ||
| RJ01 | Rejection of invention patent application after publication |
Application publication date: 20100804 |