CN101788163A - 一种带储水箱的热水器及其供水系统 - Google Patents
一种带储水箱的热水器及其供水系统 Download PDFInfo
- Publication number
- CN101788163A CN101788163A CN201010132881.4A CN201010132881A CN101788163A CN 101788163 A CN101788163 A CN 101788163A CN 201010132881 A CN201010132881 A CN 201010132881A CN 101788163 A CN101788163 A CN 101788163A
- Authority
- CN
- China
- Prior art keywords
- water
- hot
- cold
- storage tank
- flow valve
- Prior art date
- Legal status (The legal status is an assumption and is not a legal conclusion. Google has not performed a legal analysis and makes no representation as to the accuracy of the status listed.)
- Pending
Links
- XLYOFNOQVPJJNP-UHFFFAOYSA-N water Substances O XLYOFNOQVPJJNP-UHFFFAOYSA-N 0.000 title claims abstract description 240
- 230000002457 bidirectional effect Effects 0.000 claims description 10
- 230000001105 regulatory effect Effects 0.000 claims description 8
- 230000002528 anti-freeze Effects 0.000 description 2
- 238000004134 energy conservation Methods 0.000 description 2
- 238000010438 heat treatment Methods 0.000 description 2
- 238000009413 insulation Methods 0.000 description 2
- 238000000034 method Methods 0.000 description 2
- 239000000567 combustion gas Substances 0.000 description 1
- 230000007812 deficiency Effects 0.000 description 1
- 230000002950 deficient Effects 0.000 description 1
- 230000003111 delayed effect Effects 0.000 description 1
- 238000010586 diagram Methods 0.000 description 1
- 230000003292 diminished effect Effects 0.000 description 1
- 230000000694 effects Effects 0.000 description 1
- 238000005485 electric heating Methods 0.000 description 1
- 238000005516 engineering process Methods 0.000 description 1
- 230000007613 environmental effect Effects 0.000 description 1
- 230000008014 freezing Effects 0.000 description 1
- 238000007710 freezing Methods 0.000 description 1
- 239000002699 waste material Substances 0.000 description 1
Images
Landscapes
- Heat-Pump Type And Storage Water Heaters (AREA)
Abstract
一种带储水箱的热水器及其供水系统,该热水器及其供水系统的热水管管路上安装有水泵及水流传感器,所述供水系统的管路上有两个或两个以上用水支路,所述用水支路的冷水口和热水口之间连接有节流部件,所述节流部件的导通方式为单向或双向导通。采用本发明能够实现热水管里的冷水通过节流部件循环至冷水管,节流部件调整设定的流量使热水管里的热水延时保温并快速、恒温出热水,而且有效地控制冷水管的冷水不变热。
Description
技术领域
本发明涉及一种热水器及其供水系统,特别是一种带储水箱的热水器及其快速出热水的供水系统。
背景技术
目前,带储水箱的热水器产品类型有热泵类型、电热类型、太阳能类型及燃气类型等,储水的温度设定在45-85℃区间,随着人们生活日益提高,一般家庭都采用一台热水器实现多路供水的方式,房子大了,供水管道自然长,短则几米,长则十几米,每次用热水都要浪费不少冷水,而且用完热水,留存在热水管里的热水不久就变冷,不能充分利用留存在热水管里的热水,并且热水器安装在户外,冬天水管容易冻堵也是一大缺陷。
发明内容
针对多路供水的结构和已有技术的不足,本发明提供一种能够多路快速出热水,热水管管路延时保温,集节水、节能、恒温、防冻于一体的一种带储水箱的热水器及其供水系统。
本发明的技术方案是:一种带储水箱的热水器及其供水系统,包括控制器、内胆、分别与内胆的进水口及出水口连接的冷水管及热水管,所述热水管的管路上安装有水泵和水流传感器,所述供水系统的管路上有两个或两个以上用水支路,所述用水支路的冷水口和热水口之间连接有节流部件,所述节流部件的导通方式为单向或双向导通。
所述节流部件为单向温控流量阀、双向温控流量阀、单向手动调节流量阀或集成式水龙头。
所述节流部件为单向温控流量阀,所述用水支路的冷水口和热水口之间连接单向温控流量阀,再分别与水龙头的冷、热接口连接。
所述节流部件为双向温控流量阀,所述用水支路的冷水口和热水口之间连接双向温控流量阀,再分别与水龙头的冷、热接口连接。
所述节流部件为单向手动调节流量阀,所述用水支路的冷水口和热水口之间连接单向手动调节流量阀,再分别与水龙头的冷、热接口连接。
所述节流部件为集成式水龙头,所述集成式水龙头由阀体、冷水腔、热水腔、调节用水的阀芯、节流阀芯以及与冷热水腔连通的通道构成,调节用水的阀芯分别与冷水腔和热水腔相通,所述节流阀芯设置在冷热水腔连通的通道上,所述集成式水龙头的冷水腔和热水腔分别与用水支路的冷水口和热水口连接,集成式水龙头的冷热水腔连通的通道导通方式为单向或双向导通。
所述节流阀芯为热敏调节阀芯或手动调节阀芯。
所述水泵为调速水泵或定速水泵。
本发明的优点在于:
1、能够将热水管里的冷水通过节流部件循环至冷水管,节流部件调整设定的流量使热水管里的热水延时保温并快速、恒温出热水,而且有效地控制冷水管的冷水不变热。
2、本发明是集节水、节能、恒温、防冻于一体的热水器及其快速出热水的供水系统,将本发明应用到热泵热水器或太阳能热水器,有利于节能、环保产品的普及。
3、结构简单,易安装。
附图说明
图1是本发明所述带储水箱的热水器及其供水系统的结构示意图。
图2是本发明的节流部件为双向温控流量阀的结构示意图。
图3是本发明的节流部件为单向手动调节流量阀的结构示意图。
图4是本发明的节流部件为集成式水龙头结构示意图。
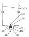
附图标记说明:控制器1、内胆2、水泵3、水流传感器4、热水管5、冷水管6、止回安全阀7、水龙头101、单向温控流量阀111、用水支路13、冷水口L、热水口R、双向温控流量阀112、单向手动调节流量阀113、集成式水龙头102、节流阀芯114、冷水腔20、热水腔30、调节用水的阀芯40、冷热水腔连通的通道50、阀体60。
具体实施方式
以下通过附图和实施例对本发明的技术方案作进一步说明。
实施例1
对照图1,本发明所述一种带储水箱的热水器及其供水系统,包括控制器1、内胆2、分别与内胆2的进水口及出水口连接的冷水管6及热水管5,冷水管6与自来水连接,冷水管6的管路上安装有止回安全阀7,所述热水管5的管路上安装有水泵3及水流传感器4,所述供水系统的管路上有两个或两个以上用水支路13,用水支路13的冷水口L和热水口R之间连接有止回冷水的单向温控流量阀111,再分别与水龙头101的冷、热接口连接。使用者瞬间开关水龙头101的热水端,水流传感器4检测到一定流量,把此流量信号传输给控制器1再触发水泵3高速运行,由内胆2、热水管5、单向温控流量阀111以及冷水管6形成一个如图1中箭头所示的闭合循环系统,单向温控流量阀111检测到水温升高并利用本身元件的热能效应来控制阀芯开度变小,此刻由于水流传感器4检测到低流量值,再把此低流量值信号传输给控制器1停止水泵3高速运行,并同时触发水泵3低速运行,使热水管5里的热水通过单向温控流量阀111节流循环,这个节流循环过程中由于节流部件单向温控流量阀111调整设定的流量比较小,调整设定的流量一般小于2升/分钟,可以对热水管管路实行保温和有效控制冷水管管路的冷水不变热及水龙头101恒温出水,与此同时若使用者开启任意一个水龙头101时,热水很快来到,水流传感器4再触发水泵3高速运行,这样同时还可以通过其它单向温控流量阀111将热水管5的热水分流到各用水支路13,若无人用水,水泵3延时停止运行。
在上述供水循环系统中控制器1还可以通过时控、温控等若干方法来控制水泵3启停时间和转速。当热水管5和冷水管6水温低至结冰时,利用控制器1的温度控制器检测其水温的温差来控制水泵3,以使热水管5和冷水管6的水循环流动防止冻堵。
实施例2
对照图2,本发明的另一实施方式,节流部件采用双向温控流量阀112,用水支路13的冷水口L和热水口R之间连接双向温控流量阀112,再分别与水龙头101的冷、热接口连接。其余零部件和连接方式同实施例1。
实施例3
对照图3,本发明的又一实施方式,节流部件采用单向手动调节流量阀113,用水支路13的冷水口L和热水口R之间连接单向手动调节流量阀113,再分别与水龙头101的冷、热接口连接。其余零部件和连接方式同实施例1。
实施例4
对照图4,本发明的再一实施方式,节流部件为集成式水龙头102,所述集成式水龙头102由阀体60、冷水腔20、热水腔30、调节用水的阀芯40、节流阀芯114、及冷热水腔连通的通道50构成,调节用水的阀芯40分别与冷水腔20和热水腔30相通,所述节流阀芯114设置在冷热水腔连通的通道50上,节流阀芯114为热敏调节阀芯或手动调节阀芯。所述集成式水龙头102的冷水腔20和热水腔30分别与用水支路13的冷水口L和热水口R连接。集成式水龙头102的冷热水腔连通的通道50导通方式为单向或双向导通。其余零部件和连接方式同实施例1。以上所述仅是本发明的优选实施方式,当然还可以采用其它节流部件,例如双向手动调节流量阀、毛细管等,节流部件可以根据用水支路的长度灵活装配,可以搭配使用不同的节流部件。对于本技术领域的普通技术人员来说,在不脱离本发明精神的前提下,还可以作出若干改进,这些改进也应视为本发明的保护范围。
Claims (8)
1.一种带储水箱的热水器及其供水系统,包括控制器、内胆、分别与内胆的进水口及出水口连接的冷水管及热水管,所述热水管的管路上安装有水泵和水流传感器,所述供水系统的管路上有两个或两个以上用水支路,其特征在于,所述用水支路的冷水口和热水口之间连接有节流部件,所述节流部件的导通方式为单向或双向导通。
2.根据权利要求1所述一种带储水箱的热水器及其供水系统,其特征在于,所述节流部件为单向温控流量阀、双向温控流量阀、单向手动调节流量阀或集成式水龙头。
3.根据权利要求2所述一种带储水箱的热水器及其供水系统,其特征在于,所述节流部件为单向温控流量阀,所述用水支路的冷水口和热水口之间连接单向温控流量阀,再分别与水龙头的冷、热接口连接。
4.根据权利要求2所述一种带储水箱的热水器及其供水系统,其特征在于,所述节流部件为双向温控流量阀,所述用水支路的冷水口和热水口之间连接双向温控流量阀,再分别与水龙头的冷、热接口连接。
5.根据权利要求2所述一种带储水箱的热水器及其供水系统,其特征在于,所述节流部件为单向手动调节流量阀,所述用水支路的冷水口和热水口之间连接单向手动调节流量阀,再分别与水龙头的冷、热接口连接。
6.根据权利要求2所述一种带储水箱的热水器及其供水系统,其特征在于,所述节流部件为集成式水龙头,所述集成式水龙头由阀体、冷水腔、热水腔、调节用水的阀芯、节流阀芯以及与冷热水腔连通的通道构成,调节用水的阀芯分别与冷水腔和热水腔相通,所述节流阀芯设置在冷热水腔连通的通道上,所述集成式水龙头的冷水腔和热水腔分别与用水支路的冷水口和热水口连接,集成式水龙头的冷热水腔连通的通道导通方式为单向或双向导通。
7.根据权利要求6所述一种带储水箱的热水器及其供水系统,其特征在于,所述节流阀芯为热敏调节阀芯或为手动调节阀芯。
8.根据权利要求1所述一种带储水箱的热水器及其供水系统,其特征在于,所述水泵为调速水泵或定速水泵。
Priority Applications (1)
| Application Number | Priority Date | Filing Date | Title |
|---|---|---|---|
| CN201010132881.4A CN101788163A (zh) | 2010-03-26 | 2010-03-26 | 一种带储水箱的热水器及其供水系统 |
Applications Claiming Priority (1)
| Application Number | Priority Date | Filing Date | Title |
|---|---|---|---|
| CN201010132881.4A CN101788163A (zh) | 2010-03-26 | 2010-03-26 | 一种带储水箱的热水器及其供水系统 |
Publications (1)
| Publication Number | Publication Date |
|---|---|
| CN101788163A true CN101788163A (zh) | 2010-07-28 |
Family
ID=42531478
Family Applications (1)
| Application Number | Title | Priority Date | Filing Date |
|---|---|---|---|
| CN201010132881.4A Pending CN101788163A (zh) | 2010-03-26 | 2010-03-26 | 一种带储水箱的热水器及其供水系统 |
Country Status (1)
| Country | Link |
|---|---|
| CN (1) | CN101788163A (zh) |
Cited By (3)
| Publication number | Priority date | Publication date | Assignee | Title |
|---|---|---|---|---|
| CN103335354A (zh) * | 2013-07-16 | 2013-10-02 | 慈溪市天行电器有限公司 | 一种循环加热节水系统 |
| CN108361809A (zh) * | 2018-03-31 | 2018-08-03 | 柳州市展虹科技有限公司 | 一种小型家用管网热水调节装置 |
| CN108662786A (zh) * | 2017-03-31 | 2018-10-16 | 芜湖美的厨卫电器制造有限公司 | 热水器系统及其控制方法 |
Citations (8)
| Publication number | Priority date | Publication date | Assignee | Title |
|---|---|---|---|---|
| EP0751355A1 (de) * | 1995-06-26 | 1997-01-02 | Karsten Dipl.-Ing. Laing | Fördervorrichtung zur zyklischen Förderung des in einer Warmwasser- Verteilerleitung abgekühlten Rohrinhaltes |
| CN2391133Y (zh) * | 1999-10-15 | 2000-08-09 | 李让君 | 贮水式热水器停水时用水装置 |
| CN2884024Y (zh) * | 2006-03-17 | 2007-03-28 | 朱子义 | 热水器的循环节水型回水装置 |
| CN101050888A (zh) * | 2007-05-18 | 2007-10-10 | 任勇 | 一种带有循环节水装置的太阳能热水器 |
| CN201059777Y (zh) * | 2007-07-03 | 2008-05-14 | 郑领 | 热水循环节能装置 |
| CN201225772Y (zh) * | 2008-01-16 | 2009-04-22 | 赵延斌 | 新型不用电自动排空高效抗冻太阳能热水器 |
| JP2009085564A (ja) * | 2007-10-03 | 2009-04-23 | Panasonic Corp | 貯湯式温水器 |
| CN201697228U (zh) * | 2010-03-26 | 2011-01-05 | 罗小波 | 一种带储水箱的热水器的供水系统 |
-
2010
- 2010-03-26 CN CN201010132881.4A patent/CN101788163A/zh active Pending
Patent Citations (8)
| Publication number | Priority date | Publication date | Assignee | Title |
|---|---|---|---|---|
| EP0751355A1 (de) * | 1995-06-26 | 1997-01-02 | Karsten Dipl.-Ing. Laing | Fördervorrichtung zur zyklischen Förderung des in einer Warmwasser- Verteilerleitung abgekühlten Rohrinhaltes |
| CN2391133Y (zh) * | 1999-10-15 | 2000-08-09 | 李让君 | 贮水式热水器停水时用水装置 |
| CN2884024Y (zh) * | 2006-03-17 | 2007-03-28 | 朱子义 | 热水器的循环节水型回水装置 |
| CN101050888A (zh) * | 2007-05-18 | 2007-10-10 | 任勇 | 一种带有循环节水装置的太阳能热水器 |
| CN201059777Y (zh) * | 2007-07-03 | 2008-05-14 | 郑领 | 热水循环节能装置 |
| JP2009085564A (ja) * | 2007-10-03 | 2009-04-23 | Panasonic Corp | 貯湯式温水器 |
| CN201225772Y (zh) * | 2008-01-16 | 2009-04-22 | 赵延斌 | 新型不用电自动排空高效抗冻太阳能热水器 |
| CN201697228U (zh) * | 2010-03-26 | 2011-01-05 | 罗小波 | 一种带储水箱的热水器的供水系统 |
Cited By (4)
| Publication number | Priority date | Publication date | Assignee | Title |
|---|---|---|---|---|
| CN103335354A (zh) * | 2013-07-16 | 2013-10-02 | 慈溪市天行电器有限公司 | 一种循环加热节水系统 |
| CN108662786A (zh) * | 2017-03-31 | 2018-10-16 | 芜湖美的厨卫电器制造有限公司 | 热水器系统及其控制方法 |
| CN108361809A (zh) * | 2018-03-31 | 2018-08-03 | 柳州市展虹科技有限公司 | 一种小型家用管网热水调节装置 |
| CN108361809B (zh) * | 2018-03-31 | 2024-02-06 | 广西科技大学 | 一种小型家用管网热水调节装置 |
Similar Documents
| Publication | Publication Date | Title |
|---|---|---|
| CN106989435B (zh) | 主加热器与末端加热器联合热水供应系统及其控制方法 | |
| CN201050864Y (zh) | 一种二次加热的电热水器 | |
| CN101788163A (zh) | 一种带储水箱的热水器及其供水系统 | |
| CN202040959U (zh) | 太阳能互补专用恒温燃气热水器 | |
| CN201697228U (zh) | 一种带储水箱的热水器的供水系统 | |
| CN205860506U (zh) | 一种承压式热水器的热水管道里凉水预热智能控制系统 | |
| CN206234896U (zh) | 一种太阳能、燃气壁挂炉与地暖集合供热系统 | |
| KR101376059B1 (ko) | 국소 난방이 가능한 자연 순환형 태양열 온수시스템 | |
| CN209341560U (zh) | 燃气-空气源热泵及燃气-太阳能双热源家用热水系统 | |
| CN209027098U (zh) | 一种零冷水结构及两用炉 | |
| CN103363667A (zh) | 一种恒温燃气热水器的使用方法 | |
| CN201517815U (zh) | 自动切换热水器的增压式热水循环装置 | |
| CN204100557U (zh) | 一种燃气热水器及应用该热水器的热供水系统 | |
| CN2929565Y (zh) | 燃气热水器出水管内冷水回收加热装置 | |
| CN215765809U (zh) | 一种太阳能串联家用燃气热水器调节装置 | |
| CN204438544U (zh) | 一种组合式热水器 | |
| CN211854488U (zh) | 一种智能热水供应系统 | |
| CN210135696U (zh) | 一种用引流管防冻的太阳能热水器 | |
| CN202835828U (zh) | 一种燃气辅助太阳能加热系统 | |
| CN207716637U (zh) | 燃气壁挂炉辅助的家用空气源热泵热水系统 | |
| CN221301626U (zh) | 二合一热水系统 | |
| CN207674741U (zh) | 一种具有烘干功能的热水循环装置 | |
| CN107560147B (zh) | 燃气壁挂炉辅助的家用空气源热泵热水系统及其控制方法 | |
| CN207991002U (zh) | 太阳能热水系统 | |
| KR101432041B1 (ko) | 태양열 온수시스템의 국소난방 제어방법 |
Legal Events
| Date | Code | Title | Description |
|---|---|---|---|
| C06 | Publication | ||
| PB01 | Publication | ||
| C10 | Entry into substantive examination | ||
| SE01 | Entry into force of request for substantive examination | ||
| C02 | Deemed withdrawal of patent application after publication (patent law 2001) | ||
| WD01 | Invention patent application deemed withdrawn after publication |
Open date: 20100728 |