CN101769838A - Dynamic impact loading test bed and test system thereof - Google Patents

Dynamic impact loading test bed and test system thereof Download PDF

Info

Publication number
CN101769838A
CN101769838A CN201010109465A CN201010109465A CN101769838A CN 101769838 A CN101769838 A CN 101769838A CN 201010109465 A CN201010109465 A CN 201010109465A CN 201010109465 A CN201010109465 A CN 201010109465A CN 101769838 A CN101769838 A CN 101769838A
Authority
CN
China
Prior art keywords
unit
extension spring
impact
impact loading
loading test
Prior art date
Legal status (The legal status is an assumption and is not a legal conclusion. Google has not performed a legal analysis and makes no representation as to the accuracy of the status listed.)
Granted
Application number
CN201010109465A
Other languages
Chinese (zh)
Other versions
CN101769838B (en
Inventor
郭文婧
马少鹏
马沁巍
罗纪
刘力强
Current Assignee (The listed assignees may be inaccurate. Google has not performed a legal analysis and makes no representation or warranty as to the accuracy of the list.)
Beijing Institute of Technology BIT
Original Assignee
Beijing Institute of Technology BIT
Priority date (The priority date is an assumption and is not a legal conclusion. Google has not performed a legal analysis and makes no representation as to the accuracy of the date listed.)
Filing date
Publication date
Application filed by Beijing Institute of Technology BIT filed Critical Beijing Institute of Technology BIT
Priority to CN201010109465A priority Critical patent/CN101769838B/en
Publication of CN101769838A publication Critical patent/CN101769838A/en
Application granted granted Critical
Publication of CN101769838B publication Critical patent/CN101769838B/en
Expired - Fee Related legal-status Critical Current
Anticipated expiration legal-status Critical

Links

Images

Landscapes

  • Investigating Strength Of Materials By Application Of Mechanical Stress (AREA)

Abstract

本发明公开了一种动态冲击加载试验台及其试验系统。动态冲击加载试验台包括承载于固定架上的冲击单元、提升单元和试件承载台,所述冲击单元与拉簧单元连接,所述拉簧单元能够施加弹性回复力于所述冲击单元。动态冲击加载试验系统包括该动态冲击加载试验台,其通过连接计算机来测试待测试件的力学性能。本发明的动态冲击加载试验台和试验系统利用拉簧单元对冲击单元施加额外的向下弹性回复力,在实现装置小型化的前提下,其仍获得较高冲击加载速度,同时具有能量转化率高、噪音污染小、发射稳定、易调速、便于重复试验等功能和特点。

Figure 201010109465

The invention discloses a dynamic impact loading test bench and a test system thereof. The dynamic impact loading test bench includes an impact unit carried on a fixed frame, a lifting unit and a test piece carrying platform, the impact unit is connected with a tension spring unit, and the tension spring unit can exert elastic recovery force on the impact unit. The dynamic impact loading test system includes the dynamic impact loading test bench, which is connected to a computer to test the mechanical properties of the test piece. The dynamic impact loading test bench and test system of the present invention use the extension spring unit to apply an additional downward elastic recovery force to the impact unit, and on the premise of realizing the miniaturization of the device, it still obtains a high impact loading speed and has an energy conversion rate High performance, low noise pollution, stable emission, easy speed adjustment, easy to repeat the test and other functions and characteristics.

Figure 201010109465

Description

Dynamic impact loading test bed and pilot system
Technical field
The present invention relates to the testing equipment of structural deformation and Experiments of Machanics technical field, relate in particular to a kind of dynamic impact loading test bed and pilot system.
Background technology
In the engineering practical application, many construction materials and structure all are faced with the effect of shock load, and the material that bears these load can be with high rate of strain distortion.A large amount of experimental results show that under different rate of strain, the mechanical property of material is often different.Therefore, the dynamic characteristics of material has great significance to engineering structure security, reliability design.
At present, the testing equipment that often adopts when the mechanical property of research material under high rate of strain is the drop hammer type testing machine.Its ultimate principle is: discharge a weight from eminence, test specimen to be tested is hit in the weight free-falling.This type of device structure is simple, and is easy and simple to handle.But for bigger impact speed is provided, testing equipment need satisfy certain altitude, and common drop hammer type testing machine height is 3 to 5 meters, and equipment volume is huge, is limited by the working environment of testing machine to a certain extent.In addition, when measuring the mechanical property of material for test under high rate of strain, split hopkinson press bar (being called for short SHPB) also is one of more widely used technology.But SHPB equipment is many based on Pneumatic catapult or light-gas gun emitter, and this appliance arrangement is comparatively expensive, and energy transformation ratio is low in the experimentation, the emission noise pollution is big, experimental cost is high.
At present, the existing both at home and abroad equipment that test specimen is impacted loading mostly is the drop hammer type test unit.As number of patent application: disclosed among the CN01205945.5 at the guiding problem of dropping hammer and designed petroleum casing pipe protection ring drop hammer impact testing machine; Number of patent application: disclosed among the CN200720084399.1 at the problem of existing drop hammer impact testing machine poor safety performance and improved.Yet in the above design, executing the weight that carries all is to fall with the form near freely falling body, fails to solve the huge problem of equipment volume.Therefore the impact testing machine that how to provide the less while of a kind of volume not sacrifice impact speed again is a problem demanding prompt solution.
Summary of the invention
Purpose of the present invention is exactly to be to provide a kind of volume less and the dynamic impact loading test bed of bigger impact speed still can be provided, and it has following technical scheme:
A kind of dynamic impact loading test bed, comprise the impact unit, lift unit and the test specimen plummer that are carried on the fixed mount, wherein, described impact unit is connected with the extension spring unit, and described extension spring unit can apply elastic-restoring force in described impact unit.
Preferably, described extension spring unit comprises stay cord, first pulley and extension spring assembly; Wherein, described extension spring assembly is fixed in the top of described fixed mount; Described first pulley be positioned described extension spring assembly under, be installed between the described upper and lower of described fixed mount; Described stay cord is walked around described first pulley, and an end links to each other with described impact unit, and the other end links to each other with the stretching end of described extension spring assembly.
Preferably, described stay cord is two, is connected with a described extension spring assembly respectively, and is symmetricly set on the both sides of described impact unit by each self-corresponding described first pulley.
Described extension spring assembly can comprise a plurality of extension springs and web joint, and described web joint is provided with the extension spring connecting hole, and described extension spring be arranged in parallel.
Preferably, described every group of extension spring assembly full and down is configured to 5 extension springs, and the range of extension spring is 1.2 meters, can select extension spring quantity and stroke by demand, thereby is convenient to regulate impact speed.
Described impact unit can be T set hammer shape thing, and it comprises hammer body and perpendicular to the tup of described hammer body, the end of described hammer body both sides is connected with the stay cord of described extension spring unit.
Can be coated with nylon jacket on the described hammer body, described nylon jacket is used to reduce friction and play position-limiting action when described weight falls.
Preferably, described lift unit can comprise locking part, rope and lift assembly that described locking part is connected with described impact unit in the mode that can unclamp, lock; The two ends of described rope are connected with the described assembly that lifts with described locking part respectively, and described locking part is provided with and can makes described impact unit break away from the release-push of described locking part.
Preferably, described release-push cooperates with the latch on described hammer body top and has formed engagement connection releasably.
The described assembly that lifts can comprise the ratchet and second pulley that is fixed on the described fixed mount; One end of described rope twines and is arranged on the described ratchet, and the other end changes direction by described second pulley and is connected to described locking part; Can also be provided with driving pawl on the described ratchet twining the rocking arm of described rope, thereby be convenient to revision test.
Preferably, the described assembly that lifts also includes safety plug, and this safety plug is provided in and can keeps described ratchet forward operation when described impact unit promotes, and when pressing described safety plug, described ratchet can oppositely be refunded.
Preferably, but the upper plate of described fixed mount the portion thereon on the throne and transverse slat of up-down adjustment is installed between the test specimen plummer of its underpart, described transverse slat is provided with spacing montant, and described upper plate is passed in the upper end of described spacing montant, and the lower end is fixed on the described transverse slat; The body of described impact unit is set on the described spacing montant, can vertically move between described upper plate and described transverse slat, also is provided with the opening that passes for the strike portion of described impact unit on the described transverse slat; Described first pulley is arranged on the described transverse slat, described extension spring assembly is fixed in the lower surface of described upper plate, described stay cord twines described first pulley, and an end of described stay cord links to each other with the lower surface of the body of described impact unit, and the other end links to each other with the stretching end of described extension spring assembly; Described second pulley is two, is separately positioned on the middle part of described upper plate and the end of close described ratchet; One end of described rope twines and is arranged on the described ratchet, and the other end changes direction by described second pulley and is connected to described locking part.
Described transverse slat is located to be provided with bolster under the body of described impact unit.
Described stay cord and described rope can be nylon rope.
The invention allows for a kind of dynamic impulsion load test system, it is by connecting the mechanical property that computing machine is tested test specimen to be measured, comprise dynamic impact loading test bed, the shock load signal pickup assembly that adopts aforesaid technical scheme and be arranged in the described test specimen plummer, be positioned at whole impact unit under force transducer, this force transducer links to each other with described computing machine via described shock load signal pickup assembly.
Dynamic impact loading test bed and pilot system of the present invention applies extra downward elastic-restoring force by utilizing impact unit, extension spring unit, under the prerequisite of implement device miniaturization, still obtain than the HI high impact loading velocity, have the energy transformation ratio height simultaneously, noise pollution is little, emission is stable, easily speed governing, be convenient to function and characteristics such as revision test.
Description of drawings
Fig. 1 is the dynamic impact loading test bed one-piece construction synoptic diagram of one specific embodiment according to the present invention.
Fig. 2 A is the synoptic diagram of transverse slat in dynamic impact loading test bed shown in Figure 1.
Fig. 2 B is the synoptic diagram of locking part in dynamic impact loading test bed shown in Figure 1.
Fig. 3 is the synoptic diagram of test specimen plummer in dynamic impact loading test bed shown in Figure 1.
Embodiment
Below in conjunction with accompanying drawing, the specific embodiment of the present invention is described in further detail.For the person of ordinary skill in the field, from detailed description of the invention, above-mentioned purpose of the present invention, feature and advantage will be apparent.
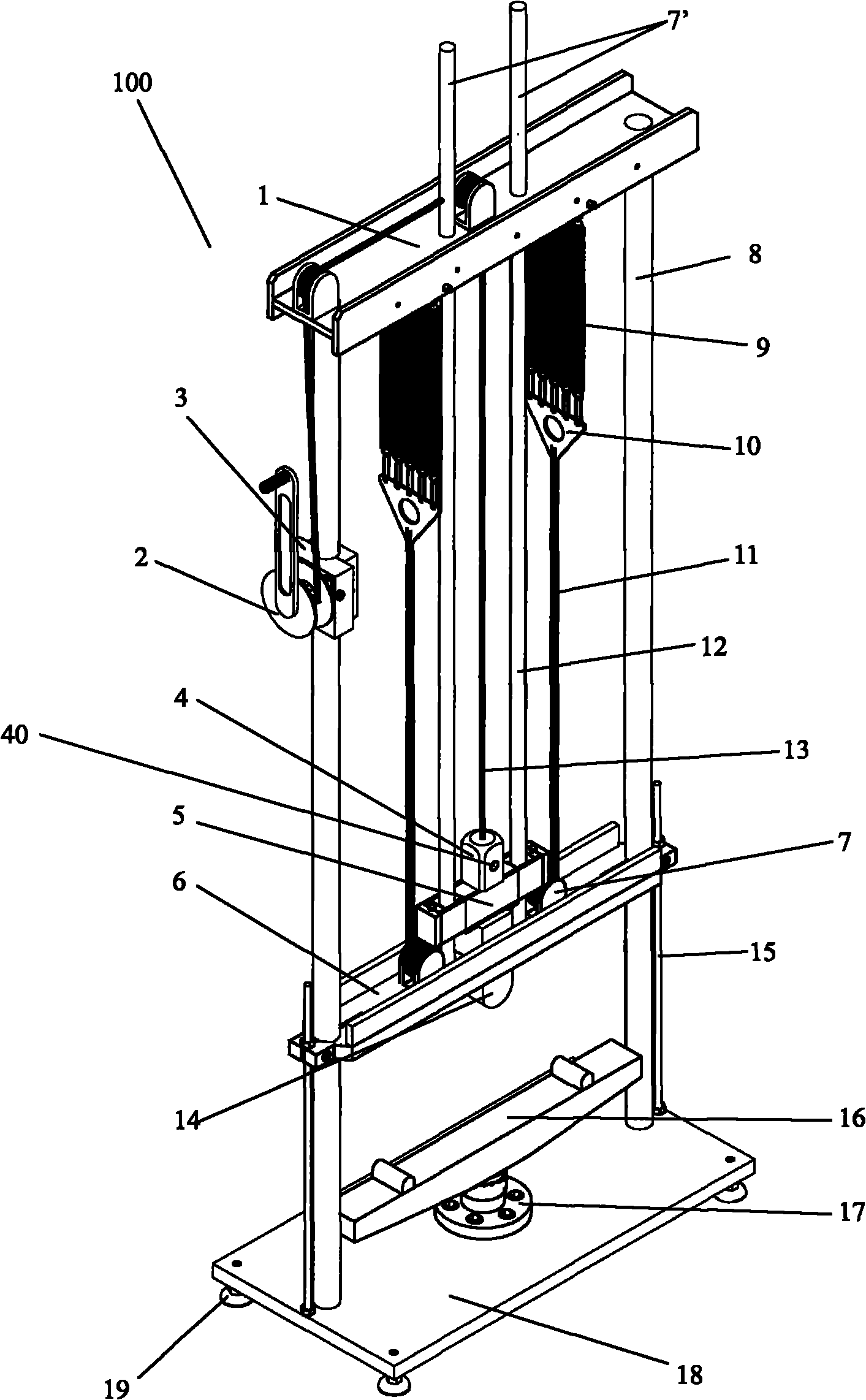
With reference to Fig. 1, be the dynamic impact loading test bed one-piece construction synoptic diagram of one specific embodiment according to the present invention.As shown in the figure, dynamic impact loading test bed 100 comprise impact unit, extension spring unit, lift unit and the test specimen plummer that is carried on the fixed mount.
In Fig. 1, described impact unit is a T type weight, comprises hammer body 5 that forms body and the tup 14 that forms strike portion.Be coated with nylon jacket on the hammer body 5, when described weight falls, be used to reduce regulate the friction of transverse slat 6 and play position-limiting action with following said " worker " font.
Fixed mount provides support to whole dynamic impact loading test bed 100 and supports, and is the assurance of testing table 100 securities, and it comprises upper plate 1, transverse slat 6, two outer columns 8, bases 18 and is positioned at leveling bolt 19 on 18 4 jiaos of the bases.Upper plate 1 herein, transverse slat 6 are respectively " worker " font upper plate, " worker " font transverse slat.But will be appreciated that upper plate 1 and transverse slat 6 are not limited to " worker " font plate, so long as the plate that can provide support and support all can.Base 18 plays stable whole test platform 100, and it is connected with " worker " font upper plate 1 by two outer columns 8; Leveling bolt 19 herein plays the leveling effect, but the hydrous water leveling ruler carries out leveling.
Fixed mount " worker " but font upper plate 1 and " worker " font that up-down adjustment is installed between the test specimen plummer of its underpart are regulated transverse slat 6, the two ends that " worker " font is regulated transverse slat 6 are removably mounted on respectively on two outer columns 8; Also be provided with vertical parallel spacing montant 12 on " worker " font adjusting transverse slat 6, " worker " font upper plate 1 is passed in the upper end of spacing montant 12, and the lower end is fixed on " worker " font and regulates on the transverse slat 6; Described " worker " font is regulated transverse slat 6 can drive spacing montant 12 up-down adjustment to adapt to the test specimen of differing heights; The end of hammer body 5 both sides is set on the spacing montant 12, can regulate between the transverse slat 6 vertically mobile between " worker " font upper plate 1 and " worker " font along spacing montant 12, described " worker " font is regulated on the transverse slat 6 and also is provided with an opening, clashes into test specimen by this opening when tup 14 moves.Reinforce screw rod 15 and be positioned at outer column 8 outsides, " worker " is somebody's turn to do in connection font is regulated transverse slat 6 and thereby base 18 plays reinforcement effects.
Continuation is with reference to Fig. 1, and the extension spring unit comprises two nylon withdrawal lines 11, two first pulleys 7, two extension spring web joints 10 and two groups of extension spring groups 9, has formed the symmetrical extension spring unit of two covers in the both sides of impact unit.
Described first pulley 7 is arranged on " worker " font and regulates on the transverse slat 6, extension spring group 9 is fixed in the lower surface of " worker " font upper plate 1, extension spring group 9 links to each other with extension spring web joint 10, every group of extension spring group 9 comprises 5 extension springs, described 5 extension springs be arranged in parallel, avoid contact or winding between extension spring, extension spring web joint 10 is provided with and the corresponding extension spring connecting hole of extension spring quantity, can be according to the actual requirements, the stretching end of extension spring is taken off from the extension spring connecting hole and reduce the extension spring quantity that acts on weight, or the stretching end hook of the extension spring that will take off hangs in the extension spring connecting hole and increases the extension spring quantity that acts on weight; Stay cord 11 twines first pulley 7, and an end of stay cord 11 links to each other with the lower surface of the end of hammer body 5 both sides, and the other end links to each other with extension spring web joint 10.
Described lift unit comprises locking part 4, nylon rope 13 and constitutes ratchet 3, two second pulleys 7 ' that lift assembly and be arranged on that driving pawl 3 is to twine the rocking arm 2 of rope 13 on the ratchet 3 that rocking arm 2 provides power for ratchet 3 operations.Locking part 4 is connected with hammer body 5 in the mode that can unclamp, lock; The two ends of rope 13 are connected with ratchet 3 with locking part 4 respectively, locking part 4 is provided with the release-push 40 that can make hammer body 5 release lock firmwares 4, wherein, locking part 4 can be any connected mode that the person of ordinary skill in the field adopts with the connected mode of hammer body 5, as long as it can realize that locking part 4 can be connected with hammer body 5 in the mode of locking, when operation release-push 40, hammer body 5 release lock firmwares 4 are got final product; For ratchet 3, as an alternative, all can be used to constitute lift unit among the present invention with the arbitrary element that twines rope 13 so long as can play driving.
Ratchet 3 is fixed on one of them of outer column 8, and two second pulleys 7 ' are separately positioned on the middle part of " worker " font upper plate 1 and the end of close ratchet 3; One end of rope 13 twines and is arranged on the ratchet 3, and the other end changes direction by two second pulleys 7 ' and is connected to locking part 4.
Also can be provided with safety plug (not shown) on the ratchet 3, any element and structure that safety plug herein can be expected for the person of ordinary skill in the field, guarantee that ratchet 3 keeps the forward operation in the process that weight promotes as long as can realize described safety plug, press behind the safety plug ratchet 3 and can oppositely refund and get final product.
With reference to Fig. 2 A, be the synoptic diagram of transverse slat in dynamic impact loading test bed shown in Figure 1.Should " worker " font regulate on transverse slat 6, between two first pulleys 7, be positioned at described hammer body 5 under locate to be equipped with four rubber columns 60 that play buffer actions, when falling " worker " font is regulated the impact of transverse slat 6, improve the stability of testing table 100 with the buffering weight.In Fig. 2 A, because breaking away from weight 5, locking part 4 comes, the place, centre position that can see the upper surface that is positioned at hammer body 5 is provided with connection latch 51, the jack 41 that is provided with in conjunction with locking part 4 bottoms shown in Fig. 2 B, connection latch 51 and socket 41 cooperations have formed engagement connection releasably, thereby be used for locking and discharge weight, when the release-push of pressing on the locking part 4 40, weight promptly is released.
With reference to Fig. 3, be the synoptic diagram of test specimen plummer in dynamic impact loading test bed shown in Figure 1.Described test specimen plummer comprises three-point bending lower clamp 16 and fixture support dish 17.Described three-point bending lower clamp 16 contains scale, can adjust the distance of two support ends according to demand; Fixture support dish 17 is used to support three-point bending lower clamp 16, and it is for containing circular concentric through hole round platform.Certainly, the dynamic impact loading test bed test specimen plummer that is not limited to adopt above-mentioned three-point bending lower clamp 16 and fixture support dish 17 formations of the present invention, as an alternative, can select for use any can carry with the device of clamping test pieces or element as the test specimen plummer.
Below in conjunction with Fig. 1-3 this dynamic impact loading test bed using method of impact is described:
1. at first, place test specimen on three-point bending lower clamp 16;
2. adjust the height that " worker " font is regulated transverse slat 6 up and down according to the height of test specimen;
3. select tup 14 (hammer body and tup are dismountable) according to the size and the kind of test specimen with appropriate mass, select extension spring group 9 with suitable stroke, and be adjusted into suitable extension spring quantity (dismounting or increase), carry out the assembling of testing table according to the annexation of above-mentioned each parts in dynamic impact loading test bed;
4. shake rocking arm 2, hammer body 5 and tup 14 are twined by ratchet 3 by nylon rope 13 mentions, the extension spring group 9 that be fixed on " worker " font upper plate 1 this moment is stretched downwards by nylon withdrawal line 11, when hammer body 5 and tup 14 reach needed height, press the release-push 40 on the locking part 4, hammer body 5 and tup 14 give in self gravitation and extension spring under its effect of elastic-restoring force, hurtle down along spacing montant 12 simultaneously, tup 14 is positioned over test specimen on the three-point bending lower clamp 16 by the open impact on " worker " font adjusting transverse slat 6; 5 of hammer bodies are also spacing by four rubber columns, 60 bufferings.
5. if needed, repeating step 4.
This is dynamic impact loading test bed owing to adopted extension spring unit pulling impact unit that test specimen is applied the technology that loads of impacting, compact conformation, characteristics with miniaturization, whole device highly is about 1.5 meters, and width is about 60 centimetres, processes simple and convenient, with low cost, be convenient to move, thereby expanded the interior impact speed of the finite space significantly, avoided the bigger present situation of existing drop-weight test device volume.This device stability height, the falling speed maximum of weight can reach 10m/s, realizes and satisfy the requirement of different impact loading velocities adjusting easily; This device requires low to the experiment place, reduced experimental cost; Weight in this device is backward down can not to be dropped or depart from, safe.
Simultaneously, in the shock load of the test material of reality, can also include the above-mentioned dynamic impact loading test bed impulse test system that makes up based on above-mentioned, only need pass through: be provided with force transducer in the fixture support dish that contains circular concentric through hole round platform, above-mentioned force transducer links to each other with computing machine by the shock load signal pickup assembly.Above-mentioned force transducer can be commercially available S type cylinder force transducer, above-mentioned shock load signal pickup assembly comprises dynamic strain indicator and the foil gauge that sticks on above-mentioned S type cylinder force transducer, and above-mentioned foil gauge is converted into electric signal with the strain that shock load produces; The collection terminal of above-mentioned dynamic strain indicator links to each other with the electric bridge of described foil gauge, and its output terminal links to each other in computer.The dynamometric system that formation is set more than the process can carry out mass memory, based on the dynamic strain measurement technology, can be used for the real-time testing load data, thereby complete real-time shock load signal measurement and analysis platform are provided.This system can measure shock load fast, accurately and real-time, can carry out the test of dynamic mechanical to the fragility test specimen.
It should be noted that; the above only is preferred embodiment of the present invention; be not so limit scope of patent protection of the present invention; the present invention can also carry out the improvement of material and structure to the structure of above-mentioned various parts; or adopt the technical equivalents thing to replace; for example: change extension spring cell configuration and structure, quantity of change lift unit shape and structure, change extension spring and pulley or the like.So the equivalent structure that all utilizations instructions of the present invention and diagramatic content are done changes, or directly or indirectly apply to other correlative technology fields and all in like manner all be contained in the scope that the present invention contains.

Claims (10)

  1. One kind dynamic impact loading test bed, comprise the impact unit, lift unit and the test specimen plummer that are carried on the fixed mount, it is characterized in that described impact unit is connected with the extension spring unit, described extension spring unit can apply elastic-restoring force in described impact unit.
  2. 2. according to claim 1 dynamic impact loading test bed, it is characterized in that described extension spring unit comprises stay cord, first pulley and extension spring assembly;
    Described extension spring assembly is fixed in the top of described fixed mount;
    Described first pulley be positioned described extension spring assembly under;
    Described stay cord is walked around described first pulley, and an end links to each other with described impact unit, and the other end links to each other with the stretching end of described extension spring assembly.
  3. 3. according to claim 2 dynamic impact loading test bed, it is characterized in that described stay cord is two, be connected with a described extension spring assembly respectively, and be symmetricly set on the both sides of described impact unit by each self-corresponding described first pulley.
  4. 4. according to claim 3 dynamic impact loading test bed, it is characterized in that described extension spring assembly comprises a plurality of extension springs and web joint, described web joint is provided with the extension spring connecting hole, and described extension spring be arranged in parallel.
  5. 5. according to each is described dynamic impact loading test bed among the claim 2-4, it is characterized in that, described impact unit is a T set hammer shape thing, and it comprises hammer body and perpendicular to the tup of described hammer body, the end of described hammer body both sides is connected with the stay cord of described extension spring unit.
  6. 6. according to each is described dynamic impact loading test bed among the claim 2-4, it is characterized in that described lift unit comprises locking part, rope and lift assembly that described locking part is connected with described impact unit in the mode that can unclamp, lock; The two ends of described rope are connected with the described assembly that lifts with described locking part respectively, and described locking part is provided with and can makes described impact unit break away from the release-push of described locking part.
  7. 7. according to claim 6 dynamic impact loading test bed, it is characterized in that the described assembly that lifts comprises the ratchet and second pulley that is fixed on the described fixed mount; One end of described rope twines and is arranged on the described ratchet, and the other end changes direction by described second pulley and is connected to described locking part; Also be provided with driving pawl on the described ratchet to twine the rocking arm of described rope.
  8. 8. according to claim 7 dynamic impact loading test bed, it is characterized in that,
    But the upper plate of described fixed mount the portion thereon on the throne and transverse slat of up-down adjustment is installed between the test specimen plummer of its underpart,
    Described transverse slat is provided with spacing montant, and described upper plate is passed in the upper end of described spacing montant, and the lower end is fixed on the described transverse slat;
    The body of described impact unit is set on the described spacing montant, can vertically move between described upper plate and described transverse slat, also is provided with the opening that passes for the strike portion of described impact unit on the described transverse slat;
    Described first pulley is arranged on the described transverse slat, and described extension spring assembly is fixed in the lower surface of described upper plate;
    Described second pulley is two, is separately positioned on the middle part of described upper plate and the end of close described ratchet.
  9. 9. according to claim 8 dynamic impact loading test bed, it is characterized in that described transverse slat locates to be provided with bolster under described impact unit.
  10. 10. dynamic impulsion load test system, it is by connecting the mechanical property that computing machine is tested test specimen to be measured, it is characterized in that, this pilot system comprise among the claim 1-9 each described dynamic impact loading test bed, shock load signal pickup assembly and be arranged in the described test specimen plummer, be positioned at whole impact unit under force transducer, this force transducer links to each other with described computing machine via described shock load signal pickup assembly.
CN201010109465A 2010-02-08 2010-02-08 Dynamic impact loading test bed and test system thereof Expired - Fee Related CN101769838B (en)

Priority Applications (1)

Application Number Priority Date Filing Date Title
CN201010109465A CN101769838B (en) 2010-02-08 2010-02-08 Dynamic impact loading test bed and test system thereof

Applications Claiming Priority (1)

Application Number Priority Date Filing Date Title
CN201010109465A CN101769838B (en) 2010-02-08 2010-02-08 Dynamic impact loading test bed and test system thereof

Publications (2)

Publication Number Publication Date
CN101769838A true CN101769838A (en) 2010-07-07
CN101769838B CN101769838B (en) 2012-10-10

Family

ID=42502834

Family Applications (1)

Application Number Title Priority Date Filing Date
CN201010109465A Expired - Fee Related CN101769838B (en) 2010-02-08 2010-02-08 Dynamic impact loading test bed and test system thereof

Country Status (1)

Country Link
CN (1) CN101769838B (en)

Cited By (19)

* Cited by examiner, † Cited by third party
Publication number Priority date Publication date Assignee Title
CN102156081A (en) * 2011-03-24 2011-08-17 北京航空航天大学 Impact loading mechanism
CN102175136A (en) * 2010-12-22 2011-09-07 天津大学 Straight tube multi-axis ratchet wheel strain testing system and method
CN103076147A (en) * 2012-12-28 2013-05-01 三一重工股份有限公司 Impact test device
WO2013143145A1 (en) * 2012-03-31 2013-10-03 中国矿业大学(北京) Dynamics performance testing system
CN103983307A (en) * 2014-05-26 2014-08-13 上海交通大学 Small mass impulse test testing system with impulse parameters adjustable
CN104677586A (en) * 2013-12-02 2015-06-03 承德市金建检测仪器有限公司 Impact test device
CN105759076A (en) * 2016-03-09 2016-07-13 西北工业大学 Strain type accelerometer of forging hammer hitting force detection integrated structure
CN105865709A (en) * 2016-06-22 2016-08-17 南京卓砾智测控技术有限公司 In-field calibration device of pendulum type impact wave pressure sensor
CN106124155A (en) * 2016-08-31 2016-11-16 兹韦克测试技术(太仓)有限公司 A kind of drop hammer impact testing machine
CN106950089A (en) * 2017-03-30 2017-07-14 中国电力工程顾问集团中南电力设计院有限公司 A kind of automatic simultaneous manual hammering device of large-scale compaction test instrument and method
CN108133645A (en) * 2017-12-18 2018-06-08 安徽工程大学 A kind of impact experiment apparatus and experimental method
CN108226028A (en) * 2018-01-09 2018-06-29 中国工程物理研究院化工材料研究所 Drop hammer type high-energy insensitive explosive friction sensitivity tester
CN109991069A (en) * 2019-04-22 2019-07-09 河南工业大学 Method for manufacturing reaction force pedestal and device for adjusting loading hole unit
CN110031290A (en) * 2019-03-21 2019-07-19 东南大学 It is a kind of based on 3 points of curved reciprocal loading specimen fixtures and test method
CN110514541A (en) * 2019-09-27 2019-11-29 广东正粤检测科技有限公司 A kind of concrete strength inspection device and its detection method
CN110530626A (en) * 2019-09-25 2019-12-03 中国兵器工业第五九研究所 A kind of recoil spring stress loading testing device and method
CN113188927A (en) * 2021-03-25 2021-07-30 河海大学 Impact power model test device and test method for buried pressure pipeline
CN113252476A (en) * 2021-07-08 2021-08-13 山东科技职业学院 non-Newtonian fluid impact resistance effect research device
CN114674684A (en) * 2022-02-24 2022-06-28 江苏大学 A multifunctional drop weight impact test device

Citations (7)

* Cited by examiner, † Cited by third party
Publication number Priority date Publication date Assignee Title
EP0023167A1 (en) * 1979-07-09 1981-01-28 Société Anonyme FRANCE-ATLAS Method and apparatus for the dynamic testing of piles
DD243626A3 (en) * 1987-03-11 Device for investigating the elastic properties of ceilings
CN2480829Y (en) * 2001-09-07 2002-03-06 天津钢管公司 Hammer drop impact tester for petroleum sleeve protective ring
US7370510B2 (en) * 2006-03-17 2008-05-13 Lucent Technologies Inc. Shock apparatus
CN101354328A (en) * 2007-07-27 2009-01-28 贝恩德·索恩 Free fall weight detector for determining ground deformation coefficient under specific load impact
CN101443646A (en) * 2006-05-16 2009-05-27 卢森特技术有限公司 Shock and launch equipment
CN201589740U (en) * 2010-02-08 2010-09-22 北京理工大学 Dynamic impact loading test bench and its test system

Patent Citations (7)

* Cited by examiner, † Cited by third party
Publication number Priority date Publication date Assignee Title
DD243626A3 (en) * 1987-03-11 Device for investigating the elastic properties of ceilings
EP0023167A1 (en) * 1979-07-09 1981-01-28 Société Anonyme FRANCE-ATLAS Method and apparatus for the dynamic testing of piles
CN2480829Y (en) * 2001-09-07 2002-03-06 天津钢管公司 Hammer drop impact tester for petroleum sleeve protective ring
US7370510B2 (en) * 2006-03-17 2008-05-13 Lucent Technologies Inc. Shock apparatus
CN101443646A (en) * 2006-05-16 2009-05-27 卢森特技术有限公司 Shock and launch equipment
CN101354328A (en) * 2007-07-27 2009-01-28 贝恩德·索恩 Free fall weight detector for determining ground deformation coefficient under specific load impact
CN201589740U (en) * 2010-02-08 2010-09-22 北京理工大学 Dynamic impact loading test bench and its test system

Cited By (29)

* Cited by examiner, † Cited by third party
Publication number Priority date Publication date Assignee Title
CN102175136A (en) * 2010-12-22 2011-09-07 天津大学 Straight tube multi-axis ratchet wheel strain testing system and method
CN102175136B (en) * 2010-12-22 2014-06-11 天津大学 Straight tube multi-axis ratchet wheel strain testing system and method
CN102156081A (en) * 2011-03-24 2011-08-17 北京航空航天大学 Impact loading mechanism
US9588029B2 (en) 2012-03-31 2017-03-07 China University Of Mining & Technology (Beijing) Dynamics performance testing system
WO2013143145A1 (en) * 2012-03-31 2013-10-03 中国矿业大学(北京) Dynamics performance testing system
JP2015511709A (en) * 2012-03-31 2015-04-20 中国▲鉱▼▲業▼大学(北京) Dynamic performance test system
CN103076147A (en) * 2012-12-28 2013-05-01 三一重工股份有限公司 Impact test device
CN103076147B (en) * 2012-12-28 2015-06-10 三一重工股份有限公司 Impact test device
CN104677586A (en) * 2013-12-02 2015-06-03 承德市金建检测仪器有限公司 Impact test device
CN103983307A (en) * 2014-05-26 2014-08-13 上海交通大学 Small mass impulse test testing system with impulse parameters adjustable
CN105759076A (en) * 2016-03-09 2016-07-13 西北工业大学 Strain type accelerometer of forging hammer hitting force detection integrated structure
CN105759076B (en) * 2016-03-09 2019-12-24 西北工业大学 A strain-type acceleration sensor with an integrated structure capable of detecting the striking force of a forging hammer
CN105865709B (en) * 2016-06-22 2018-06-08 南京卓砾智测控技术有限公司 A kind of Charpy wave pressure force snesor field calibration device
CN105865709A (en) * 2016-06-22 2016-08-17 南京卓砾智测控技术有限公司 In-field calibration device of pendulum type impact wave pressure sensor
CN106124155A (en) * 2016-08-31 2016-11-16 兹韦克测试技术(太仓)有限公司 A kind of drop hammer impact testing machine
CN106124155B (en) * 2016-08-31 2019-09-03 兹韦克测试技术(太仓)有限公司 A kind of drop hammer impact testing machine
CN106950089B (en) * 2017-03-30 2023-08-18 中国电力工程顾问集团中南电力设计院有限公司 Automatic and manual hammering device and method for large compaction instrument
CN106950089A (en) * 2017-03-30 2017-07-14 中国电力工程顾问集团中南电力设计院有限公司 A kind of automatic simultaneous manual hammering device of large-scale compaction test instrument and method
CN108133645A (en) * 2017-12-18 2018-06-08 安徽工程大学 A kind of impact experiment apparatus and experimental method
CN108226028A (en) * 2018-01-09 2018-06-29 中国工程物理研究院化工材料研究所 Drop hammer type high-energy insensitive explosive friction sensitivity tester
CN110031290A (en) * 2019-03-21 2019-07-19 东南大学 It is a kind of based on 3 points of curved reciprocal loading specimen fixtures and test method
CN109991069A (en) * 2019-04-22 2019-07-09 河南工业大学 Method for manufacturing reaction force pedestal and device for adjusting loading hole unit
CN110530626A (en) * 2019-09-25 2019-12-03 中国兵器工业第五九研究所 A kind of recoil spring stress loading testing device and method
CN110514541A (en) * 2019-09-27 2019-11-29 广东正粤检测科技有限公司 A kind of concrete strength inspection device and its detection method
CN113188927A (en) * 2021-03-25 2021-07-30 河海大学 Impact power model test device and test method for buried pressure pipeline
CN113188927B (en) * 2021-03-25 2022-07-29 河海大学 A kind of buried pressure pipeline impact dynamic model test device and test method
CN113252476A (en) * 2021-07-08 2021-08-13 山东科技职业学院 non-Newtonian fluid impact resistance effect research device
CN113252476B (en) * 2021-07-08 2021-09-17 山东科技职业学院 non-Newtonian fluid impact resistance effect research device
CN114674684A (en) * 2022-02-24 2022-06-28 江苏大学 A multifunctional drop weight impact test device

Also Published As

Publication number Publication date
CN101769838B (en) 2012-10-10

Similar Documents

Publication Publication Date Title
CN101769838A (en) Dynamic impact loading test bed and test system thereof
CN201145658Y (en) Portable Field and Indoor Direct Shear Tester
CN103323202B (en) An adjustable angle lander drop weight impact test device
CN201589740U (en) Dynamic impact loading test bench and its test system
CN102621013A (en) Dynamic performance testing system
CN106841577B (en) Concrete loading device and method applicable to load-environment coupling effect
CN102879163A (en) Shock testing machine and shock testing method
CN108627400B (en) Device and method for testing stable bearing capacity of angle steel crossed inclined material
CN102507983B (en) Simple high-g (gravity) acceleration shock testing machine
CN107219053B (en) A test device for simulating ship-bridge collision
CN107505191A (en) A kind of packaging for foodstuff compression test device based on mechanics feedback
CN203148797U (en) Test bed for vehicle falling object overturning protection structure
CN110530740B (en) Impact test device and anchor rod impact test system
RU2315969C1 (en) Stand for testing concrete and reinforced concrete members short - time period central and out-of-center dynamic compression
CN207081532U (en) A drop test machine
CN203275215U (en) Angle adjustable type lander falling weight impact test device
CN215801847U (en) Strain type pile foundation detection device
CN204575459U (en) A kind of flexural member Mechanics Performance Testing device
CN208060280U (en) The multidirectional detection experimental rig of multiple spot of single annulus in a kind of slope protection structure
CN207779660U (en) A kind of impact amplifier
CN210742025U (en) Impact test device and anchor rod impact test system
CN202814966U (en) Load transmission capacity measurement device for concrete pavement joint
CN206960085U (en) A kind of experimental rig for simulating bridge collision
CN113567099B (en) Dynamic simulation test system and test method for anti-falling device of lifting protection platform
CN222070369U (en) A drop hammer type constant speed impact force value test tool

Legal Events

Date Code Title Description
C06 Publication
PB01 Publication
C10 Entry into substantive examination
SE01 Entry into force of request for substantive examination
C14 Grant of patent or utility model
GR01 Patent grant
C17 Cessation of patent right
CF01 Termination of patent right due to non-payment of annual fee

Granted publication date: 20121010

Termination date: 20140208