CN101722186B - Self-potential roller-type cross wedge rolling mill - Google Patents

Self-potential roller-type cross wedge rolling mill Download PDF

Info

Publication number
CN101722186B
CN101722186B CN2009101549462A CN200910154946A CN101722186B CN 101722186 B CN101722186 B CN 101722186B CN 2009101549462 A CN2009101549462 A CN 2009101549462A CN 200910154946 A CN200910154946 A CN 200910154946A CN 101722186 B CN101722186 B CN 101722186B
Authority
CN
China
Prior art keywords
block
self
positioning
bearing seat
convex
Prior art date
Legal status (The legal status is an assumption and is not a legal conclusion. Google has not performed a legal analysis and makes no representation as to the accuracy of the status listed.)
Expired - Fee Related
Application number
CN2009101549462A
Other languages
Chinese (zh)
Other versions
CN101722186A (en
Inventor
束学道
李传斌
Current Assignee (The listed assignees may be inaccurate. Google has not performed a legal analysis and makes no representation or warranty as to the accuracy of the list.)
Ningbo University
Original Assignee
Ningbo University
Priority date (The priority date is an assumption and is not a legal conclusion. Google has not performed a legal analysis and makes no representation as to the accuracy of the date listed.)
Filing date
Publication date
Application filed by Ningbo University filed Critical Ningbo University
Priority to CN2009101549462A priority Critical patent/CN101722186B/en
Publication of CN101722186A publication Critical patent/CN101722186A/en
Application granted granted Critical
Publication of CN101722186B publication Critical patent/CN101722186B/en
Expired - Fee Related legal-status Critical Current
Anticipated expiration legal-status Critical

Links

Images

Landscapes

  • Transmission Devices (AREA)

Abstract

本发明公开了一种自位型辊式楔横轧机,包括机架、上轧辊、下轧辊和用于带动上轧辊上下移动的驱动装置,上轧辊的两端设置有上轴承座,下轧辊的两端设置有下轴承座,下轴承座的上端固定设置有预应力支座,预应力支座上螺接有调节杆,特点是下轴承座的下端与机架之间设置有第一自位调节装置,调节杆与上轴承座的下端面之间设置有第二自位调节装置,上轴承座的上端面与驱动装置之间设置有第三自位调节装置,其中位于操作侧的上轴承座的侧面、下轴承座的侧面均与机架之间设置有结构相同的轴向自位调节装置;优点是使轧机工作时轴承载荷均匀,保证了轴承的设计寿命,而且轧制出的轧件内部组织均匀,提高了轧制的精度和产品质量,实现轴类零件的楔横轧轧制的规模化生产。

Figure 200910154946

The invention discloses a self-positioning roller type cross wedge rolling mill, which comprises a machine frame, an upper roller, a lower roller and a driving device for driving the upper roller to move up and down. There are lower bearing seats at both ends, and the upper end of the lower bearing seat is fixed with a prestressed support, and an adjusting rod is screwed on the prestressed support. Adjustment device, a second self-positioning adjustment device is provided between the adjustment rod and the lower end surface of the upper bearing seat, and a third self-positioning adjustment device is provided between the upper end surface of the upper bearing seat and the driving device, in which the upper bearing on the operating side The side of the seat, the side of the lower bearing seat and the machine frame are equipped with an axial self-positioning adjustment device with the same structure; the advantage is that the bearing load is uniform when the rolling mill is working, ensuring the design life of the bearing, and the rolled rolling The internal structure of the parts is uniform, the rolling precision and product quality are improved, and the large-scale production of cross wedge rolling of shaft parts is realized.

Figure 200910154946

Description

A kind of self-potential roller-type cross wedge rolling mill
Technical field
The present invention relates to a kind of plastic forming equipment of axial workpiece, relate in particular to a kind of self-potential roller-type cross wedge rolling mill.
Background technology
Cross wedge rolling is a kind of New Forming Process of axial workpiece, has advantages such as efficient, material-saving, has at home and abroad obtained using more widely.And along with the continuous development of cross wedge rolling technology, but the scope of its rolled products is also more and more big, and can rolling automobile axle shaft and railway vehicle axle etc. as adopting the Multi-wedge Cross Wedge Rolling simultaneous techniques.But because the roll barrel that longaxones parts such as rolling automobile axle shaft need is longer; The roll system strain of cross wedge rolling machine is bigger in the operation of rolling; The bearing load unbalance loading that causes milling train, bearing life be far below projected life, but also can cause rolled piece discontinuity in the operation of rolling; Make the rolled piece interior tissue inhomogeneous, thereby produce defectives such as rolled piece is loose with distortion.Therefore, present cross wedge rolling machine both domestic and external is difficult to satisfy the axial workpiece that longaxones parts or rolls many and carries out the rolling large-scale production of cross wedge rolling.
Summary of the invention
Technical problem to be solved by this invention provides a kind of when rolling axial workpiece; Can guarantee bearing load evenly, the rolled piece interior tissue is even, realizes that longaxones parts or rolls the self-potential roller-type cross wedge rolling mill that many axial workpiece carries out the rolling large-scale production of cross wedge rolling.
The present invention solves the problems of the technologies described above the technical scheme that is adopted: a kind of self-potential roller-type cross wedge rolling mill; Comprise frame, topping roll, bottom roll and be used to drive the drive unit that described topping roll moves up and down; The two ends of described topping roll are provided with top chock; The two ends of described bottom roll are provided with step; The upper end of described step is set with the prestressing force bearing; Be bolted with adjusting rod on the described prestressing force bearing, be provided with the first self-alignment adjusting device between the lower end of described step and the described frame, be provided with the second self-alignment adjusting device between the lower surface of described adjusting rod and described top chock; Be provided with the 3rd self-alignment adjusting device between the upper surface of described top chock and the described drive unit, wherein all with between the described frame be provided with the identical axial self-alignment adjusting device of structure in the side of the top chock of fore side, the side of step.
The described first self-alignment adjusting device comprises first attachment screw and the last convex globoidal piece, concave-concave cambered surface piece and the following convex globoidal piece that superpose and place successively from bottom to up; Described upward convex globoidal piece and the described cambered surface of convex globoidal piece down match with the cambered surface of described concave-concave cambered surface piece respectively; Described convex globoidal piece down is supported on the lower surface of described step; The described convex globoidal piece of going up is placed on the described frame; Described first attachment screw passes described convex globoidal piece, concave-concave cambered surface piece and last convex globoidal piece down successively with the fit system of matched in clearance, and the described center of circle of convex globoidal piece down and the axle center of described bottom roll coincide.
Described axial self-alignment adjusting device comprises the axial self-alignment piece of type and is fixedly installed on the baffle plate on the described frame; The both sides of described step are wholely set the straight pin concentric with the axle center of described bottom roll; The plane of structure of described axial self-alignment piece is provided with circular hole; Described straight pin and described circular hole matched in clearance, the vertical face of described axial self-alignment piece is plugged between described baffle plate and the described frame.
Be provided with copper shoe between the plane of structure of described axial self-alignment piece and the described frame, described copper shoe is fixedly connected on the described axial self-alignment piece, makes axial self-alignment piece rub resistance, does not need frequent replacing.
The described second self-alignment adjusting device comprises the locating piece of second attachment screw, first time protruding sphere piece, the first concave-concave sphere piece and band convex edge; The upper end of described adjusting rod has been wholely set the first epirelief sphere piece; The described first concave-concave sphere piece is arranged between the described first epirelief sphere piece and the described first time protruding sphere piece; The sphere of the described first epirelief sphere piece and described first time protruding sphere piece matches with the sphere of the described first concave-concave sphere piece respectively; The convex edge of described locating piece is connected on the axle journal between described first epirelief sphere piece and the described adjusting rod; Described locating piece is fixedly connected through described second attachment screw with described first time protruding sphere piece; Be provided with the gap between the described first epirelief sphere piece, the described first concave-concave sphere piece and the described locating piece, described first time protruding sphere piece is supported on the lower surface of described top chock.
Described drive unit is arranged on the top of described top chock; Described drive unit comprises worm gear, worm screw, screw mandrel and is fixedly installed on the drive motors on the described housiung separator; Described worm screw is fixedly connected with the output shaft of described drive motors, and described worm gear is meshed with described worm screw, and described screw mandrel is fixedly connected with described worm gear is coaxial; Be set with transmission nut in the described frame, described screw mandrel and described transmission nut are spirally connected.
Described the 3rd self-alignment adjusting device comprises gland, snap ring and is arranged on the second epirelief sphere piece, the second concave-concave sphere piece in the described gland; Described gland is fixedly connected on the upper surface of described top chock; The described second epirelief sphere piece is pressed on the upper surface of described top chock; The lower end of described screw mandrel has been wholely set protruding sphere piece second time; The described second concave-concave sphere piece is arranged between the described second epirelief sphere piece and the described second time protruding sphere piece; The sphere of the described second epirelief sphere piece and described second time protruding sphere piece matches with the sphere of the described second concave-concave sphere piece respectively; Described snap ring is connected on the axle journal between described second time protruding sphere piece and the described screw mandrel; Described snap ring is fixedly connected on the upper surface of described gland, is provided with the gap between the described second epirelief sphere piece, the described second concave-concave sphere piece, described second time protruding sphere piece and the described gland, and the centre of sphere of the described second epirelief sphere piece and the axle center of described topping roll coincide.
Be connected easy disassembly through dovetail groove between the upper end of described prestressing force bearing and described step.
The self-alignment principle of milling train is when upper and lower roll receives the roll-force effect and produces the elastic bending deflection deformation among the present invention, and upper and lower bearing block is followed inclination and the wallowing motion of roller curve; And when upper and lower roll unloads, leaning on the elastic return of roll to make roller curve revert to horizontal line, upper and lower bearing block is followed and is set back.
Compared with prior art; Advantage of the present invention is to make milling train possess the self-alignment regulatory function through the self-alignment adjusting device is set on milling train; Thereby bearing load is even when having guaranteed milling train work, guaranteed the projected life of bearing, and the rolled piece interior tissue that rolls out is even; Improve rolling precision and product quality, realized the rolling large-scale production of cross wedge rolling that longaxones parts or rolls many axial workpieces.
Description of drawings
Fig. 1 is the leverage sketch of the present invention under Light Condition;
Fig. 2 is the leverage sketch of the present invention under as-rolled condition;
Fig. 3 is a front view of the present invention;
Fig. 4 is a side view of the present invention;
Fig. 5 is the structural representation of drive unit of the present invention;
Fig. 6 is the front view of the upper and lower roll system of the present invention;
Fig. 7 is the side view of the upper and lower roll system of the present invention;
Fig. 8 is the vertical view of bottom roll of the present invention system;
Fig. 9 is the enlarged diagram at A place among Fig. 7;
Figure 10 is the B-B cutaway view among Fig. 8.
The specific embodiment
Embodiment describes in further detail the present invention below in conjunction with accompanying drawing.
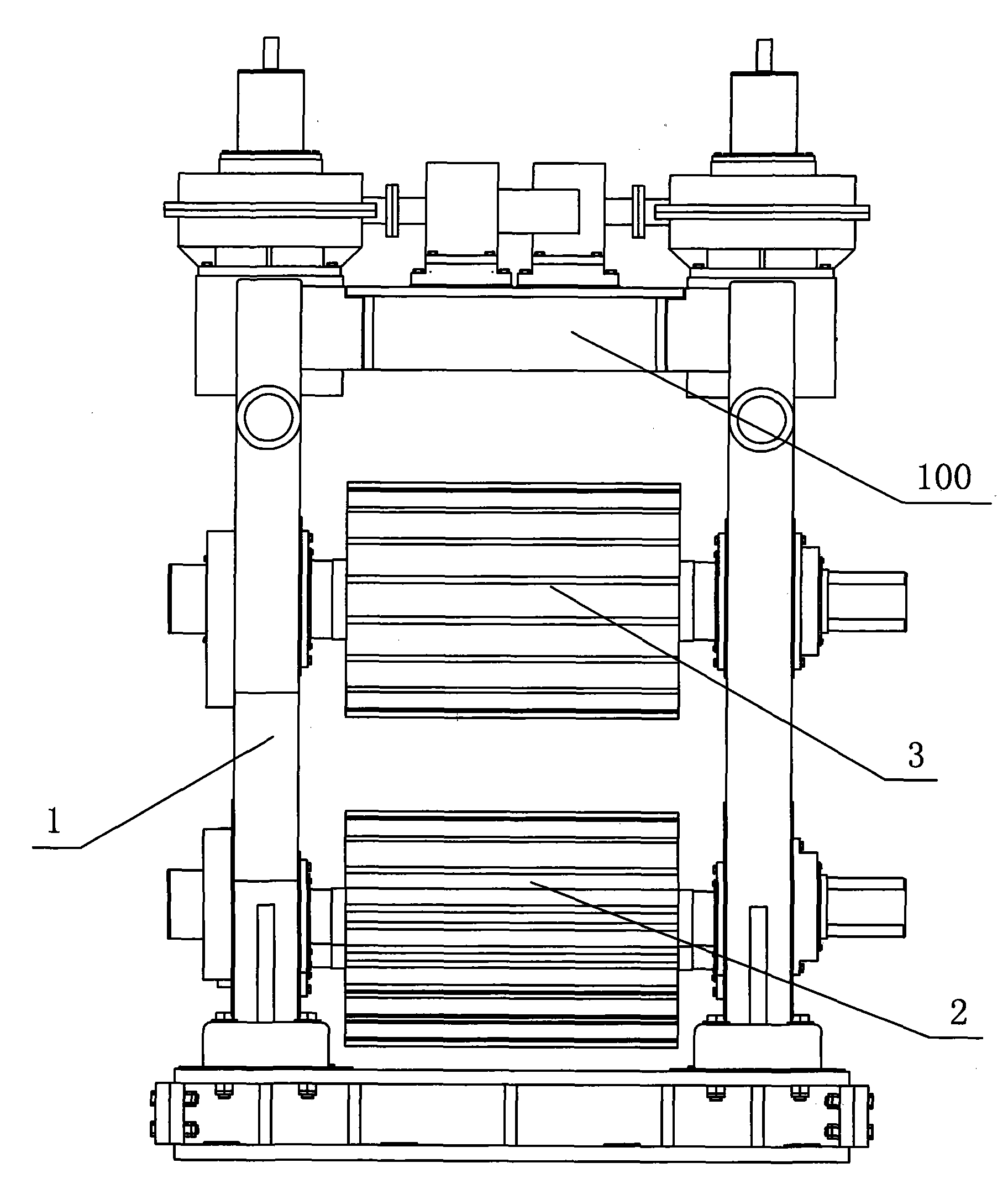
As shown in the figure, a kind of self-potential roller-type cross wedge rolling mill comprises frame 1, topping roll 3, bottom roll 2 and is used to drive the drive unit that topping roll 3 moves up and down; The two ends of topping roll 3 are provided with top chock 31, and the two ends of bottom roll 2 are provided with step 5, are provided with the first self-alignment adjusting device between the lower end of step 5 and the frame 1; The first self-alignment adjusting device comprises first attachment screw 11 and the last convex globoidal piece 12, concave-concave cambered surface piece 13 and the following convex globoidal piece 14 that superpose and place successively from bottom to up, and the cambered surface of last convex globoidal piece 12 and following convex globoidal piece 14 matches with the cambered surface of concave-concave cambered surface piece 13 respectively, and following convex globoidal piece 14 is supported on the lower surface of step 5; Last convex globoidal piece 12 is placed on the frame 1, and first attachment screw 11 passes down convex globoidal piece 14, concave-concave cambered surface piece 13 and last convex globoidal piece 12 successively with the fit system of matched in clearance, and the axle center of the center of circle of following convex globoidal piece 14 and bottom roll 2 coincides; The upper end of step 5 is fixedly connected with prestressing force bearing 6 through dovetail groove, is bolted with adjusting rod 7 on the prestressing force bearing 6, is provided with the second self-alignment adjusting device between adjusting rod 7 and the top chock 31; The second self-alignment adjusting device comprises the locating piece 18 of the protruding sphere piece of second attachment screw 15, first time 16, the first concave-concave sphere piece 17 and band convex edge, and the upper end of adjusting rod 7 has been wholely set the first epirelief sphere piece, 71, the first concave-concave sphere pieces 17 and has been arranged between the first epirelief sphere piece 71 and the first time protruding sphere piece 16; The sphere of the first epirelief sphere piece 71 and first time protruding sphere piece 16 matches with the sphere of the first concave-concave sphere piece 17 respectively, and the convex edge of locating piece 18 is connected on the axle journal between the first epirelief sphere piece 71 and the adjusting rod 7, and locating piece 18 is fixedly connected through second attachment screw 15 with first time protruding sphere piece 16; Be provided with the gap between the first epirelief sphere piece 71, the first concave-concave sphere piece 17 and the locating piece 18, first time protruding sphere piece 16 is supported on the lower surface of top chock 3, wherein all with between the frame 1 is provided with the identical axial self-alignment adjusting device of structure in the side of the top chock 31 of fore side, the side of step 5; Axially the self-alignment adjusting device comprises the axial self-alignment piece 8 of copper shoe 10,
Figure G2009101549462D00041
type and is fixedly installed on the baffle plate 9 on the frame 1, and the both sides of step 5 are wholely set the straight pin 51 concentric with the axle center of bottom roll 2, and axially the plane of structure of self-alignment piece 8 is provided with circular hole 81; Straight pin 51 and circular hole 81 matched in clearance, copper shoe 10 is fixedly connected on the axial self-alignment piece 8 and is arranged between the plane of structure and frame 1 of axial self-alignment piece 8, and axially the vertical face of self-alignment piece 8 is plugged between baffle plate 9 and the frame 1; Drive unit is arranged on the top of top chock 31, and drive unit comprises worm gear 23, worm screw 22, screw mandrel 24 and be fixedly installed on the drive motors 21 on the housiung separator 100 that worm screw 22 is fixedly connected with the output shaft of drive motors 21; Worm gear 23 is meshed with worm screw 22, and screw mandrel 24 and worm gear 23 coaxial fixed connections are set with transmission nut 25 in the frame 1; Screw mandrel 24 is spirally connected with transmission nut 25; Be provided with the 3rd self-alignment adjusting device between the upper surface of top chock 31 and the screw mandrel 24, the 3rd self-alignment adjusting device comprises gland 26, snap ring 27 and is arranged on the second epirelief sphere piece 28, the second concave-concave sphere piece 29 in the gland 26 that gland 26 is fixedly connected on the upper surface of top chock 31 through screw; The second epirelief sphere piece 28 is pressed on the upper surface of top chock 31; The lower end of screw mandrel 24 has been wholely set second time protruding sphere piece 241, the second concave-concave sphere piece 29 and has been arranged between the second epirelief sphere piece 28 and the second time protruding sphere piece 241, and the sphere of the second epirelief sphere piece 28 and second time protruding sphere piece 241 matches with the sphere of the second concave-concave sphere piece 29 respectively; Snap ring 27 is connected on the axle journal between second time protruding sphere piece 241 and the screw mandrel 24; Snap ring 27 is fixedly connected on through screw on the upper surface of gland 26, is provided with the gap between the second epirelief sphere piece 28, the second concave-concave sphere piece 29, second time protruding sphere piece 241 and the gland 26, and the centre of sphere of the second epirelief sphere piece 28 and the axle center of topping roll 3 coincide.
Design considerations of the present invention is: upper and lower roll system of the present invention is reduced to leverage mechanism shown in Figure 1; The leverage mechanism of upper and lower roll system constitutes by last self-alignment rod member I, following self-alignment rod member II and axial restraint self-alignment rod member III three parts; It is six bars, eight hinges, one sliding secondary mechanisms, and under no-load condition, its free degree is: F=3 * 6-2 * 9=0; Therefore, this leverage mechanism is that static determinacy is stable.And under as-rolled condition,, obtain roll system leverage mechanism shown in Figure 2 according to heavy mechanism leverage characteristic and elastic theory; It is seven bars, nine hinges, one sliding secondary mechanisms; Its free degree is: F=3 * 7-2 * 10=1, have one degree of freedom, and can realize from bit motion.
In the foregoing description; The self-alignment rod member II that last convex globoidal piece 12, concave-concave cambered surface piece 13 and following convex globoidal piece 14 constitute in the leverage mechanisms of bottom roll system; Realize from bit function through cambered surface; The self-alignment rod member I that the first epirelief sphere piece 71 on first time protruding sphere piece 16, the first concave-concave sphere piece 17 and the adjusting rod 7 constitutes in the leverage mechanisms of bottom roll system; Realize from bit function through sphere, and the self-alignment rod member III that axial self-alignment piece 8 and step 5 constitute in the leverage mechanisms of bottom roll system, through realizing cooperating of the circular hole 81 in straight pin on the step 5 51 and the axial self-alignment piece 8 axially from bit function; The self-alignment rod member II that the second epirelief sphere piece 28, the second concave-concave sphere piece 29 and second time protruding sphere piece 241 constitute in the leverage mechanisms of topping roll system; Realize from bit function through sphere; The self-alignment rod member I that the first epirelief sphere piece 71 on first time protruding sphere piece 16, the first concave-concave sphere piece 17 and the adjusting rod 7 constitutes in the leverage mechanisms of topping roll system; Realize from bit function through sphere; The structure of self-alignment rod member III in the structure of self-alignment rod member III in the leverage mechanism of topping roll system and the leverage mechanism of bottom roll system is identical, and therefore, milling train of the present invention has the self-alignment regulatory function.

Claims (3)

1.一种自位型辊式楔横轧机,包括机架、上轧辊、下轧辊和用于带动所述的上轧辊上下移动的驱动装置,所述的上轧辊的两端设置有上轴承座,所述的下轧辊的两端设置有下轴承座,所述的下轴承座的上端固定设置有预应力支座,所述的预应力支座上螺接有调节杆,其特征在于所述的驱动装置设置在所述的上轴承座的上方,所述的驱动装置包括蜗轮、蜗杆、丝杆和固定设置在所述的机架横梁上的驱动电机,所述的蜗杆与所述的驱动电机的输出轴固定连接,所述的蜗轮与所述的蜗杆相啮合,所述的丝杆与所述的蜗轮同轴固定连接,所述的机架内固定设置有传动螺母,所述的丝杆与所述的传动螺母螺接,所述的下轴承座的下端与所述的机架之间设置有第一自位调节装置,所述的第一自位调节装置包括第一连接螺钉和从下至上依次叠加放置的上凸弧面块、双凹弧面块和下凸弧面块,所述的上凸弧面块和所述的下凸弧面块的弧面分别与所述的双凹弧面块的弧面相配合,所述的下凸弧面块支撑在所述的下轴承座的下端面上,所述的上凸弧面块放置在所述的机架上,所述的第一连接螺钉以间隙配合的配合方式依次穿过所述的下凸弧面块、双凹弧面块和上凸弧面块,所述的下凸弧面块的圆心与所述的下轧辊的轴心相重合,所述的调节杆与所述的上轴承座的下端面之间设置有第二自位调节装置,所述的第二自位调节装置包括第二连接螺钉、第一下凸球面块、第一双凹球面块和带凸沿的定位块,所述的调节杆的上端一体设置有第一上凸球面块,所述的第一双凹球面块设置在所述的第一上凸球面块与所述的第一下凸球面块之间,所述的第一上凸球面块和所述的第一下凸球面块的球面分别与所述的第一双凹球面块的球面相配合,所述的定位块的凸沿卡接在所述的第一上凸球面块与所述的调节杆之间的轴颈上,所述的定位块与所述的第一下凸球面块通过所述的第二连接螺钉固定连接,所述的第一上凸球面块、所述的第一双凹球面块与所述的定位块之间设置有间隙,所述的第一下凸球面块支撑在所述的上轴承座的下端面上,所述的上轴承座的上端面与所述的驱动装置之间设置有第三自位调节装置,所述的第三自位调节装置包括压盖、卡环和设置在所述的压盖中的第二上凸球面块、第二双凹球面块,所述的压盖固定连接在所述的上轴承座的上端面上,所述的第二上凸球面块压在所述的上轴承座的上端面上,所述的丝杆的下端一体设置有第二下凸球面块,所述的第二双凹球面块设置在所述的第二上凸球面块与所述的第二下凸球面块之间,所述的第二上凸球面块和所述的第二下凸球面块的球面分别与所述的第二双凹球面块的球面相配合,所述的卡环卡接在所述的第二下凸球面块与所述的丝杆之间的轴颈上,所述的卡环固定连接在所述的压盖的上端面上,所述的第二上凸球面块、所述的第二双凹球面块、所述的第二下凸球面块与所述的压盖之间设置有间隙,所述的第二上凸球面块的球心与所述的上轧辊的轴心相重合,其中位于操作侧的上轴承座的侧面、下轴承座的侧面均与所述的机架之间设置有结构相同的轴向自位调节装置,所述的轴向自位调节装置包括
Figure FSB00000560516300021
型的轴向自位块和固定设置在所述的机架上的挡板,所述的下轴承座的两侧一体设置有与所述的下轧辊的轴心同心的圆柱销,所述的轴向自位块的横面上设置有圆孔,所述的圆柱销与所述的圆孔间隙配合,所述的轴向自位块的纵面插接在所述的挡板与所述的机架之间。
1. A self-positioning type cross wedge rolling mill, comprising a frame, an upper roll, a lower roll and a driving device for driving the upper roll to move up and down, the two ends of the upper roll are provided with upper bearing seats , the two ends of the lower roller are provided with a lower bearing seat, the upper end of the lower bearing seat is fixedly provided with a prestressed support, and an adjusting rod is screwed on the described prestressed support, which is characterized in that The drive device is arranged above the upper bearing seat, and the drive device includes a worm wheel, a worm, a screw and a drive motor fixed on the frame beam, and the worm and the drive The output shaft of the motor is fixedly connected, the worm gear is meshed with the worm screw, the screw rod is fixedly connected coaxially with the worm gear, a drive nut is fixedly arranged in the frame, and the wire The rod is screwed to the drive nut, and a first self-positioning adjustment device is provided between the lower end of the lower bearing seat and the frame, and the first self-positioning adjustment device includes a first connecting screw and The upper convex arc surface block, the double concave arc surface block and the lower convex arc surface block are stacked sequentially from bottom to top, the arc surfaces of the upper convex arc surface block and the lower convex arc surface block are respectively connected with the The arc surfaces of the double-concave arc blocks are matched, the lower convex arc block is supported on the lower end face of the lower bearing seat, the upper convex arc block is placed on the frame, and the The first connecting screw passes through the lower convex arc surface block, the double concave arc surface block and the upper convex arc surface block sequentially in a clearance fit manner, the center of the lower convex arc surface block and the lower convex arc surface block The axes of the rolls are coincident, and a second self-positioning adjustment device is provided between the adjustment rod and the lower end surface of the upper bearing seat, and the second self-positioning adjustment device includes a second connecting screw, a first The lower convex spherical block, the first double concave spherical block and the positioning block with convex edges, the upper end of the adjustment rod is integrally provided with the first upper convex spherical block, and the first double concave spherical block is arranged on the said Between the first upward convex spherical block and the first downward convex spherical block, the spherical surfaces of the first upward convex spherical block and the first downward convex spherical block are respectively connected to the first double concave spherical surface The spherical surface of the block is matched, and the convex edge of the positioning block is clamped on the journal between the first convex spherical block and the adjusting rod, and the positioning block and the first The lower convex spherical block is fixedly connected by the second connecting screw, and there is a gap between the first upper convex spherical block, the first double concave spherical block and the positioning block. The lower convex spherical block is supported on the lower end surface of the upper bearing seat, and a third self-positioning adjustment device is arranged between the upper end surface of the upper bearing seat and the driving device. The position adjustment device includes a gland, a snap ring, and a second upper convex spherical block and a second double concave spherical block arranged in the gland, and the gland is fixedly connected to the upper end surface of the upper bearing seat Above, the second upward convex spherical block is pressed against the upper end surface of the upper bearing seat, the lower end of the screw rod is integrally provided with a second downward convex spherical block, and the second double concave spherical block Set between the second upper convex spherical block and the second lower convex spherical block, the second upper convex spherical block The spherical surface of the second convex spherical block is respectively matched with the spherical surface of the second double concave spherical block, and the snap ring is snapped between the second convex spherical block and the wire On the journal between the rods, the snap ring is fixedly connected to the upper end surface of the gland, the second convex spherical block, the second double concave spherical block, the first There is a gap between the two lower convex spherical blocks and the gland, the center of the second convex spherical block coincides with the axis center of the upper roll, and the upper bearing seat on the operating side An axial self-positioning adjustment device with the same structure is arranged between the side surface and the side surface of the lower bearing seat and the frame, and the axial self-positioning adjustment device includes
Figure FSB00000560516300021
type axial self-positioning block and the baffle plate fixedly arranged on the frame, the two sides of the lower bearing seat are integrally provided with cylindrical pins concentric with the shaft center of the lower roll, and the A circular hole is provided on the transverse surface of the axial self-positioning block, and the cylindrical pin is in clearance fit with the circular hole, and the longitudinal surface of the axial self-positioning block is plugged between the baffle plate and the between the racks.
2.如权利要求1所述的一种自位型辊式楔横轧机,其特征在于所述的轴向自位块的横面与所述的机架之间设置有铜滑板,所述的铜滑板固定连接在所述的轴向自位块上。2. A self-positioning cross wedge rolling mill as claimed in claim 1, characterized in that a copper sliding plate is arranged between the transverse surface of the axial self-positioning block and the frame, and the The copper sliding plate is fixedly connected to the axial self-positioning block. 3.如权利要求1所述的一种自位型辊式楔横轧机,其特征在于所述的预应力支座与所述的下轴承座的上端之间通过燕尾槽连接。3. A self-positioning type cross wedge rolling mill according to claim 1, characterized in that said prestressed support and the upper end of said lower bearing seat are connected by a dovetail groove.
CN2009101549462A 2009-11-25 2009-11-25 Self-potential roller-type cross wedge rolling mill Expired - Fee Related CN101722186B (en)

Priority Applications (1)

Application Number Priority Date Filing Date Title
CN2009101549462A CN101722186B (en) 2009-11-25 2009-11-25 Self-potential roller-type cross wedge rolling mill

Applications Claiming Priority (1)

Application Number Priority Date Filing Date Title
CN2009101549462A CN101722186B (en) 2009-11-25 2009-11-25 Self-potential roller-type cross wedge rolling mill

Publications (2)

Publication Number Publication Date
CN101722186A CN101722186A (en) 2010-06-09
CN101722186B true CN101722186B (en) 2012-01-25

Family

ID=42444075

Family Applications (1)

Application Number Title Priority Date Filing Date
CN2009101549462A Expired - Fee Related CN101722186B (en) 2009-11-25 2009-11-25 Self-potential roller-type cross wedge rolling mill

Country Status (1)

Country Link
CN (1) CN101722186B (en)

Families Citing this family (8)

* Cited by examiner, † Cited by third party
Publication number Priority date Publication date Assignee Title
CN102494227A (en) * 2011-12-14 2012-06-13 重庆大学 Large-tonnage combined type adjustable prestress framework
CN102553927B (en) * 2012-01-09 2014-11-05 宁波大学 Roll-type cross wedge rolling mill with replaceable roll systems for railway axles
CN102601122B (en) * 2012-03-13 2014-10-15 西安交通大学 Alternating-current direct-drive servo device for main transmission and two-roller radial spacing adjustment
CN105014159B (en) * 2015-07-15 2017-04-26 宁波大学 Planetary gear train-plane screw type bar end hot molding mechanism
CN107089091A (en) * 2017-04-24 2017-08-25 天津创新晶彩科技有限公司 One kind can freely change stamp roller arrangement
CN107138659B (en) * 2017-04-28 2019-03-22 燕山大学 It is a kind of for shaping the cross wedge rolling machine of small shaft forgings
CN110744078A (en) * 2019-09-29 2020-02-04 山西晋城无烟煤矿业集团有限责任公司 Top thread reciprocating motion mechanism
CN112974541B (en) * 2021-02-08 2022-07-12 太原科技大学 Axial movement device for large axle cross wedge rolling mill for rail transit

Also Published As

Publication number Publication date
CN101722186A (en) 2010-06-09

Similar Documents

Publication Publication Date Title
CN101722186B (en) Self-potential roller-type cross wedge rolling mill
CN101081505A (en) Mechanical flexibility space buttjunction platform
CN100471597C (en) Ball forming mechanism of bar rolling machine
CN107321824A (en) A kind of position can be with freely regulated four-roller roll bending flexibility compensating device
CN105710132A (en) Sub-transmission direct-drive three-roller Y-shaped rolling mill
CN103084444A (en) Roll changing device of cold roll forming quick-changing rack
CN107626781A (en) A kind of adjustable four-roll plate bending machine
CN101716603B (en) Self-alignment roll system of cross wedge rolling mill
CN102189432A (en) Transverse transmission mechanism of numerically controlled drilling and milling machine
CN102581180A (en) Axial rolling device of large-scale ring rolling machine
CN212733645U (en) Pull rod pressing type leveler
CN104690089A (en) Rolling mill
CN202461124U (en) Roll-separating mechanism
CN104889156A (en) Bars reducing and sizing mill
CN112222192B (en) High-rigidity four-roller rolling mill for metal seamless pipes
CN208575126U (en) A forming device for rolling curved surface parts with combined rollers
CN112275801B (en) Pipe oblique rolling type ring roller spinning machine
CN101293261B (en) Support roll for flattener
CN212703676U (en) Three-roller reducing and sizing mill
JP2004074197A (en) Pressing machine with multiple point
CN209006409U (en) A C-type stand that can assemble multiple Y-type rolling mills
CN209502633U (en) The adjustable gradual four-roll plate bending machine of radius of curvature
EP1082183B1 (en) Bearing for rolling stands with crossing rolls
CN1073477C (en) Space self-alignment type high-rigidity rolling mill
CN112024641A (en) Pull rod pressing type leveler

Legal Events

Date Code Title Description
C06 Publication
PB01 Publication
C10 Entry into substantive examination
SE01 Entry into force of request for substantive examination
C14 Grant of patent or utility model
GR01 Patent grant
CF01 Termination of patent right due to non-payment of annual fee

Granted publication date: 20120125

Termination date: 20141125

EXPY Termination of patent right or utility model