CN101718322B - Flexible hanging device of engine - Google Patents
Flexible hanging device of engine Download PDFInfo
- Publication number
- CN101718322B CN101718322B CN 201010103390 CN201010103390A CN101718322B CN 101718322 B CN101718322 B CN 101718322B CN 201010103390 CN201010103390 CN 201010103390 CN 201010103390 A CN201010103390 A CN 201010103390A CN 101718322 B CN101718322 B CN 101718322B
- Authority
- CN
- China
- Prior art keywords
- engine
- damping
- damping spring
- rubber sleeve
- bolt
- Prior art date
- Legal status (The legal status is an assumption and is not a legal conclusion. Google has not performed a legal analysis and makes no representation as to the accuracy of the status listed.)
- Expired - Fee Related
Links
Images
Landscapes
- Vibration Prevention Devices (AREA)
- Arrangement Or Mounting Of Propulsion Units For Vehicles (AREA)
Abstract
本发明提供了一种发动机柔性悬挂装置,包括发动机托架横梁(1)和车架上的发动机安装座(2),发动机托架横梁(1)与发动机安装座(2)之间用螺栓(3)相连,在发动机托架横梁(1)与发动机安装座(2)之间有第一减振弹簧(4),在发动机托架横梁(1)上方有第二减振弹簧(5),第一减振弹簧(4)里装设有第一阻尼胶套(6),第二减振弹簧(5)里装设有第二阻尼胶套(7)。本发明在工艺上简单易行,成本低廉,实践证明可有效解决因发动机高频振动引起的整车驾乘时感觉麻木问题,安装此装置的非平衡轴发动机整车,其振动改善效果相当或优于带平衡轴发动机的整车,该装置同时也保证了悬挂装置的可靠性及耐久性。
The invention provides an engine flexible suspension device, comprising an engine bracket beam (1) and an engine mount (2) on a vehicle frame, and bolts ( 3) connected, there is a first damping spring (4) between the engine bracket beam (1) and the engine mount (2), and a second damping spring (5) above the engine bracket beam (1), A first damping rubber sleeve (6) is installed in the first damping spring (4), and a second damping rubber sleeve (7) is installed in the second damping spring (5). The present invention is simple in technology and low in cost. Practice has proved that it can effectively solve the numbness problem caused by the high-frequency vibration of the engine when driving the vehicle. The vibration improvement effect of the unbalanced shaft engine vehicle installed with this device is equivalent to or It is better than the complete vehicle with a balance shaft engine, and the device also ensures the reliability and durability of the suspension device.
Description
技术领域 technical field
本发明涉及发动机悬挂装置,尤其是发动机柔性悬挂装置。The invention relates to an engine suspension device, especially an engine flexible suspension device.
背景技术 Background technique
现有摩托车发动机悬挂装置的结构形式主要有三种:第一种是发动机通过悬挂螺栓与车架进行刚性联结悬挂;第二种是发动机通过悬挂螺栓与发动机托架联结后再通过带骨架的橡胶套与车架进行软联结悬挂;第三种是发动机通过悬挂螺栓与发动机托架联结后再通过单侧弹簧与车架联结悬挂。第一种方式发动机高频振动未经衰减直接传递给车体,造成整车骑乘感觉麻木,舒适性差;第二种虽然发动机高频振动经过橡胶阻尼衰减一部分后,整车骑乘麻木感有所减轻,但由于橡胶套中的骨架几乎无弹性,振动衰减效果有限,且橡胶由于长期振动牵拉,易与骨架分离导致悬挂功能失效;第三种悬挂方式通过弹簧连接,虽然对振动有缓冲作用,但由于只是发动机托架与车架之间有弹簧,仅对发动机相对于车架向下的振动有缓冲作用,且弹簧伸压过程中无阻尼介质参与衰减传递给车架的振动能量,因此减振效果依然不够理想,同时,由于弹簧内孔无定位实体,导致发动机悬挂侧向刚度不足,当发动机输出较大扭矩时,会出现发动机安装姿态明显失常,发动机侧向晃动过大的现象。There are three main structural forms of the existing motorcycle engine suspension device: the first is that the engine is rigidly connected and suspended by the suspension bolt and the vehicle frame; The sleeve and the frame are softly connected and suspended; the third is that the engine is connected to the engine bracket through a suspension bolt and then connected to the frame through a unilateral spring. The first way is that the high-frequency vibration of the engine is directly transmitted to the car body without attenuation, resulting in numb riding feeling and poor comfort; the second way is that the high-frequency vibration of the engine is partially attenuated by rubber damping, and the whole car feels numb when riding. However, because the skeleton in the rubber sleeve is almost inelastic, the vibration attenuation effect is limited, and the rubber is easily separated from the skeleton due to long-term vibration and traction, resulting in suspension failure; the third suspension method is connected by a spring, although it can buffer the vibration However, since there is only a spring between the engine bracket and the frame, it only has a buffering effect on the downward vibration of the engine relative to the frame, and there is no damping medium involved in attenuating the vibration energy transmitted to the frame during the stretching process of the spring. Therefore, the damping effect is still not ideal. At the same time, because there is no positioning entity in the inner hole of the spring, the lateral rigidity of the engine suspension is insufficient. When the engine outputs a large torque, the installation posture of the engine will be obviously abnormal, and the engine will shake too much laterally. .
发明内容 Contents of the invention
本发明要解决的问题是提供一种具有上下两个方向缓冲减振作用的发动机柔性悬挂装置。The problem to be solved by the present invention is to provide an engine flexible suspension device with buffering and damping functions in both up and down directions.
为解决上述技术问题,本发明提供的发动机柔性悬挂装置,包含有发动机托架横梁和车架上的发动机安装座,发动机托架横梁与发动机安装座之间用螺栓相连,在发动机托架横梁与发动机安装座之间的螺栓上套有第一减振弹簧,在发动机托架横梁上方的螺栓上套有第二减振弹簧。In order to solve the above-mentioned technical problems, the engine flexible suspension device provided by the present invention includes an engine bracket crossbeam and an engine mounting seat on the vehicle frame. The engine bracket beam and the engine mounting seat are connected by bolts, and A first damping spring is sleeved on the bolts between the engine mounts, and a second damping spring is sleeved on the bolts above the engine bracket beam.
车辆行进过程中,由于颠簸和发动机自身的高频振动,使发动机托架横梁相对于车架上的发动机安装座既有向下的振动,也有向上的振动。本发明通过在发动机托架横梁上下方的螺栓上分别套装第二、第一减振弹簧,第一减振弹簧用以缓冲发动机相对于车架向下的振动,第二减振弹簧用以缓冲发动机相对于车架向上的振动,因此可以明显地减小整车振动,提高车辆的驾乘舒适度。During the running of the vehicle, due to the bumps and the high-frequency vibration of the engine itself, the engine bracket beam has both downward vibration and upward vibration relative to the engine mounting seat on the frame. In the present invention, the bolts on the upper and lower sides of the engine bracket crossbeam are respectively fitted with the second and first damping springs, the first damping spring is used to buffer the downward vibration of the engine relative to the vehicle frame, and the second damping spring is used to buffer The upward vibration of the engine relative to the frame can significantly reduce the vibration of the whole vehicle and improve the driving comfort of the vehicle.
进一步地,第一减振弹簧里装设有第一阻尼胶套,第二减振弹簧里装设有第二阻尼胶套。第一阻尼胶套和第二阻尼胶套不仅在弹簧伸压过程中作为阻尼介质参与衰减振动能量,使弹簧的压缩量易于控制,而且在弹簧里起到定位实体的作用,增加弹簧的侧向刚度,当发动机输出较大扭矩时,防止发动机侧向晃动过大,确保发动机保持正常的安装姿态。Further, the first damping spring is installed with a first damping rubber sleeve, and the second damping spring is equipped with a second damping rubber sleeve. The first damping rubber sleeve and the second damping rubber sleeve not only participate in attenuating vibration energy as a damping medium during the stretching process of the spring, so that the compression amount of the spring is easy to control, but also play the role of positioning the entity in the spring, increasing the lateral direction of the spring Stiffness, when the engine outputs a large torque, it prevents the engine from shaking too much sideways and ensures that the engine maintains a normal installation posture.
进一步地,第一减振弹簧的下端位于第一定位座圈里,第一减振弹簧的上端位于第二定位座圈中,第二减振弹簧的下端位于第三定位座圈里,第一定位座圈固定在发动机安装座上,第三定位座圈固定在发动机托架横梁上。有了定位座圈的限位作用,使减振弹簧和阻尼胶套在伸压过程中姿态稳定,工作可靠,确保发动机各悬挂点的弹性阻尼特性一致。Further, the lower end of the first damping spring is located in the first positioning race, the upper end of the first damping spring is located in the second positioning race, the lower end of the second damping spring is located in the third positioning race, and the first The positioning seat ring is fixed on the engine mount, and the third positioning seat ring is fixed on the engine bracket beam. With the position limiting function of the positioning seat ring, the vibration damping spring and the damping rubber sleeve are stable in posture during stretching and compression, and work reliably, ensuring that the elastic damping characteristics of each suspension point of the engine are consistent.
进一步地,第一减振弹簧的上端与尼龙套抵接,尼龙套套装在螺栓上;发动机安装座下方的螺栓上套装有第三阻尼胶套;第三阻尼胶套的上端位于第四定位座圈里。尼龙套和第三阻尼胶套分布在螺栓的两端,也起缓冲减振的作用,第四定位座圈对第三阻尼胶套进行限位。Further, the upper end of the first damping spring is in contact with the nylon sleeve, and the nylon sleeve is set on the bolt; the third damping rubber sleeve is set on the bolt below the engine mounting seat; the upper end of the third damping rubber sleeve is located at the fourth positioning seat circle. The nylon sleeve and the third damping rubber sleeve are distributed at the two ends of the bolt, which also play the role of buffering and vibration reduction, and the fourth positioning ring limits the position of the third damping rubber sleeve.
进一步地,第二阻尼胶套的下端设有轴颈部伸入发动机托架横梁的螺栓孔中,第三阻尼胶套的上端设有轴颈部伸入发动机安装座的螺栓孔中。阻尼胶套的轴颈使螺栓与螺栓孔壁完全隔离,对侧向晃动起缓冲减振的作用,当发动机输出较大扭矩时,可防止发动机侧向晃动过大,确保发动机保持正常的安装姿态。Further, the lower end of the second damping rubber sleeve is provided with a journal extending into the bolt hole of the engine bracket beam, and the upper end of the third damping rubber sleeve is provided with a journal extending into the bolt hole of the engine mount. The journal of the damping rubber sleeve completely isolates the bolt from the wall of the bolt hole, and plays a role of buffering and damping the lateral vibration. When the engine outputs a large torque, it can prevent the engine from excessive lateral vibration and ensure that the engine maintains a normal installation posture. .
进一步地,螺栓为台阶螺栓,装配时螺母套于小直径段并止于台阶处,采用台阶螺栓并通过尺寸限定,使螺母拧紧到位后阻尼胶套胀满弹簧内孔,并使装置各向刚度适宜,使装置能处于最佳工作状态。Furthermore, the bolts are stepped bolts. When assembling, the nuts are placed on the small-diameter section and stop at the step. The stepped bolts are used and the size is limited, so that the damping rubber sleeve will fill the inner hole of the spring after the nut is tightened in place, and the rigidity of the device in all directions will be increased. Appropriate, so that the device can be in the best working condition.
本发明在工艺上简单易行,成本低廉,实践证明可有效解决因发动机高频振动引起的整车驾乘时感觉麻木问题,安装此装置的非平衡轴发动机整车,其振动改善效果相当或优于带平衡轴发动机的整车,该装置同时也保证了悬挂装置的可靠性及耐久性。The present invention is simple in technology and low in cost. Practice has proved that it can effectively solve the numbness problem caused by the high-frequency vibration of the engine when driving the vehicle. The vibration improvement effect of the unbalanced shaft engine vehicle installed with this device is equivalent to or It is better than the complete vehicle with a balance shaft engine, and the device also ensures the reliability and durability of the suspension device.
附图说明 Description of drawings
图1是本发明的结构示意图;Fig. 1 is a structural representation of the present invention;
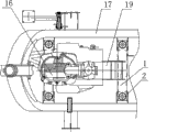
图2是本发明应用在三轮摩托车上的局部示意图;Fig. 2 is the local schematic diagram that the present invention is applied on the three-wheel motorcycle;
图3是图2的俯视图;Fig. 3 is the top view of Fig. 2;
图中:1.发动机托架横梁;2.发动机安装座;3.螺栓;4.第一减振弹簧;5.第二减振弹簧;6.第一阻尼胶套;7.第二阻尼胶套;8.第一定位座圈;9.第二定位座圈;10.第三定位座圈;11.尼龙套;12.第三阻尼胶套;13.第四定位座圈;14.螺母;15.平垫圈;16.发动机;17.车架龙骨;18.发动机前托架;19.发动机后托架。In the figure: 1. Engine bracket beam; 2. Engine mount; 3. Bolt; 4. First damping spring; 5. Second damping spring; 6. First damping rubber sleeve; 7. Second damping rubber 8. The first positioning ring; 9. The second positioning ring; 10. The third positioning ring; 11. Nylon sleeve; 12. The third damping rubber sleeve; 13. The fourth positioning ring; 14. Nut ; 15. Flat washer; 16. Engine; 17. Frame keel; 18. Engine front bracket; 19. Engine rear bracket.
具体实施方式 Detailed ways
下面结合附图和实施例对本发明作进一步说明。The present invention will be further described below in conjunction with drawings and embodiments.
如图1所示,本发明所述的发动机柔性悬挂装置,具有发动机托架横梁1和车架上的发动机安装座2,发动机托架横梁1与发动机安装座2之间用螺栓3相连,在发动机托架横梁1与发动机安装座2之间的螺栓3上套有第一减振弹簧4,在发动机托架横梁1上方的螺栓3上套有第二减振弹簧5。As shown in Figure 1, the engine flexible suspension device of the present invention has an
车辆行进过程中,由于颠簸和发动机自身的高频振动,使发动机托架横梁1相对于车架上的发动机安装座2既有向下的振动,也有向上的振动。本发明通过在发动机托架横梁1上下方的螺栓3上分别套装第二、第一减振弹簧5和4,第一减振弹簧4用以缓冲发动机相对于车架向下的振动,第二减振弹簧5用以缓冲发动机相对于车架向上的振动,因此可以明显地减小整车振动,提高车辆的驾乘舒适度。During the running of the vehicle, due to the bumps and the high-frequency vibration of the engine itself, the
参见图1,在第一减振弹簧4里装设有第一阻尼胶套6,第二减振弹簧5里装设有第二阻尼胶套7,螺栓3穿过第一阻尼胶套6和第二阻尼胶套7的中心孔。第一阻尼胶套6和第二阻尼胶套7不仅在弹簧伸压过程中作为阻尼介质参与衰减振动能量,使弹簧的压缩量易于控制,而且在弹簧里起到定位实体的作用,增加弹簧的侧向刚度,当发动机输出较大扭矩时,防止发动机侧向晃动过大,确保发动机保持正常的安装姿态。Referring to Fig. 1, the first
如图1所示,第一减振弹簧4的下端位于第一定位座圈8里,第一减振弹簧4的上端位于第二定位座圈9中,第二减振弹簧5的下端位于第三定位座圈10里,第一定位座圈8固定在发动机安装座2上,第三定位座圈10固定在发动机托架横梁1上。有了定位座圈的限位作用,使减振弹簧和阻尼胶套在伸压过程中姿态稳定,工作可靠,确保发动机各悬挂点的弹性阻尼特性一致。As shown in Figure 1, the lower end of the first damping
如图1所示,第一减振弹簧4的上端与尼龙套11抵接,尼龙套11套装在螺栓3上,尼龙套11上侧面与螺栓头之间设有加厚平垫圈15,尼龙套11的下端设有轴颈部伸进第二减振弹簧5的内孔中,尼龙套11的下端与第二阻尼胶套7上端面抵接。发动机安装座2下方的螺栓3上套装有第三阻尼胶套12。第三阻尼胶套12的上端位于第四定位座圈13里。As shown in Figure 1, the upper end of the first damping
尼龙套11和第三阻尼胶套12分布在螺栓3的两端,也起缓冲减振的作用,第四定位座圈13对第三阻尼胶套12进行限位。The
从图1还可看出:第二阻尼胶套7的下端设有轴颈部伸入发动机托架横梁1的螺栓孔中,第三阻尼胶套12的上端设有轴颈部伸入发动机安装座2的螺栓孔中。阻尼胶套的轴颈使螺栓与螺栓孔壁完全隔离,对侧向晃动起缓冲减振的作用,当发动机输出较大扭矩时,防止发动机侧向晃动过大,确保发动机保持正常的安装姿态。It can also be seen from Figure 1 that the lower end of the second damping
螺栓3为台阶螺栓,装配时螺母14套于小直径段并止于台阶处。采用台阶螺栓并通过尺寸限定,使螺母14拧紧到位后阻尼胶套胀满弹簧内孔,并使装置各向刚度适宜,使装置能处于最佳工作状态。The bolt 3 is a step bolt, and the
图2、图3是本发明应用在三轮摩托车上的示意图,发动机16与车架龙骨17之间共有四个悬挂点,发动机16用螺栓连接并支撑在发动机前托架18和发动机后托架19上,发动机前托架18、发动机后托架19分别固定支撑在前后发动机托架横梁1上,发动机托架横梁1的两端分别通过本发明的发动机柔性悬挂装置支撑于车架龙骨17上的发动机安装座2。在本发明中,发动机托架横梁1代表与发动机连接的一个支撑件,发动机安装座2代表车架上用来安装发动机的支撑件,名称非唯一限定,在不同类型的车辆上它们还可以是其它结构形式。Fig. 2, Fig. 3 are the schematic diagrams that the present invention is applied on the three-wheel motorcycle, there are four suspension points between
实践证明,本发明在工艺上简单易行,成本低廉,可有效解决因发动机高频振动引起的整车驾乘时感觉麻木问题,安装此装置的非平衡轴发动机整车,其振动改善效果相当或优于带平衡轴发动机的整车,该装置同时也保证了悬挂装置的可靠性及耐久性。Practice has proved that the present invention is simple in technology and low in cost, and can effectively solve the numbness problem caused by the high-frequency vibration of the engine when driving the vehicle. The vibration improvement effect of the unbalanced shaft engine vehicle installed with this device is comparable Or it is better than a complete vehicle with a balance shaft engine, and the device also ensures the reliability and durability of the suspension device.
Claims (6)
Priority Applications (1)
| Application Number | Priority Date | Filing Date | Title |
|---|---|---|---|
| CN 201010103390 CN101718322B (en) | 2010-01-29 | 2010-01-29 | Flexible hanging device of engine |
Applications Claiming Priority (1)
| Application Number | Priority Date | Filing Date | Title |
|---|---|---|---|
| CN 201010103390 CN101718322B (en) | 2010-01-29 | 2010-01-29 | Flexible hanging device of engine |
Publications (2)
| Publication Number | Publication Date |
|---|---|
| CN101718322A CN101718322A (en) | 2010-06-02 |
| CN101718322B true CN101718322B (en) | 2013-04-10 |
Family
ID=42432936
Family Applications (1)
| Application Number | Title | Priority Date | Filing Date |
|---|---|---|---|
| CN 201010103390 Expired - Fee Related CN101718322B (en) | 2010-01-29 | 2010-01-29 | Flexible hanging device of engine |
Country Status (1)
| Country | Link |
|---|---|
| CN (1) | CN101718322B (en) |
Families Citing this family (9)
| Publication number | Priority date | Publication date | Assignee | Title |
|---|---|---|---|---|
| CN102416856B (en) * | 2011-11-10 | 2014-10-08 | 姜言义 | Buffering and damping device for automobile engine |
| CN103693058B (en) * | 2013-12-17 | 2016-09-07 | 中车青岛四方机车车辆股份有限公司 | Equipment suspension mounting structure and installation method under motor train unit |
| CN104527394B (en) * | 2014-12-19 | 2017-12-01 | 陆福萍 | Flexible support for diesel engine |
| CN105667289A (en) * | 2016-03-04 | 2016-06-15 | 重庆隆鑫机车有限公司 | Rubber damping rubber gasket combined structure of engine suspension |
| CN107379954A (en) * | 2017-07-26 | 2017-11-24 | 日照职业技术学院 | Automotive suspension pillar holder structure |
| CN110712512A (en) * | 2019-09-25 | 2020-01-21 | 浙江天潮汽车零部件股份有限公司 | Hydraulic suspension support with sensor for automobile engine |
| CN110712511A (en) * | 2019-09-25 | 2020-01-21 | 浙江天潮汽车零部件股份有限公司 | A stable vibration and noise reduction engine mount bracket |
| CN112283292B (en) * | 2020-11-05 | 2024-12-13 | 珠海格力电器股份有限公司 | Vibration reduction device, motor suspension system and electric vehicle |
| CN114135757B (en) * | 2021-11-30 | 2023-08-04 | 中车大连机车车辆有限公司 | Adjustable lifting structure with vibration reduction function |
-
2010
- 2010-01-29 CN CN 201010103390 patent/CN101718322B/en not_active Expired - Fee Related
Also Published As
| Publication number | Publication date |
|---|---|
| CN101718322A (en) | 2010-06-02 |
Similar Documents
| Publication | Publication Date | Title |
|---|---|---|
| CN101718322B (en) | Flexible hanging device of engine | |
| CN207861669U (en) | Vibration damping guide shoe and vibration damping elevator | |
| CN201932246U (en) | Buffered truck body connecting device | |
| CN201357745Y (en) | Motor tricycle engine suspension device | |
| CN201660095U (en) | Flexible suspension structure of engine | |
| CN201739407U (en) | Suspension system | |
| JP5455553B2 (en) | Engine support device | |
| CN209566818U (en) | A low frequency vibration isolation seat | |
| CN111688863A (en) | Multi-connecting-rod suspension structure of motorcycle | |
| JP2006518296A (en) | Vibration absorption mechanism for wheels running on tires filled with air | |
| CN204956726U (en) | Electric tricycle seat shock -absorbing structure | |
| CN205220828U (en) | It floats preceding suspension of driver's cabin to become rigidity half | |
| CN206374485U (en) | A kind of semi-independent suspended structure of monoblock type trailing arm | |
| CN104943507A (en) | Novel installing support for air condition compressor | |
| CN205112980U (en) | Two -way compound buffering formula linkage | |
| CN202896282U (en) | Double cushion damping device | |
| CN202923334U (en) | Suspension system | |
| CN207178552U (en) | Vibration-proof structure and the vehicle with the vibration-proof structure | |
| CN201161539Y (en) | Twisted bar type suspension device of automobile | |
| CN206327098U (en) | Automobile Independent Suspension | |
| CN207697492U (en) | transmission suspension device | |
| CN201201652Y (en) | Driver's cab with full suspending shock-absorbing device | |
| CN106274335A (en) | A kind of car shock mitigation system | |
| CN218288021U (en) | Passenger tricycle engine mounting structure | |
| CN210284398U (en) | A cab rear suspension spring shock absorber limit protection device |
Legal Events
| Date | Code | Title | Description |
|---|---|---|---|
| C06 | Publication | ||
| PB01 | Publication | ||
| C10 | Entry into substantive examination | ||
| SE01 | Entry into force of request for substantive examination | ||
| C14 | Grant of patent or utility model | ||
| GR01 | Patent grant | ||
| CF01 | Termination of patent right due to non-payment of annual fee | ||
| CF01 | Termination of patent right due to non-payment of annual fee |
Granted publication date: 20130410 |
