CN101664993A - Method for cooling and sizing plastic profiles and device for realizing same - Google Patents

Method for cooling and sizing plastic profiles and device for realizing same Download PDF

Info

Publication number
CN101664993A
CN101664993A CN200910167630A CN200910167630A CN101664993A CN 101664993 A CN101664993 A CN 101664993A CN 200910167630 A CN200910167630 A CN 200910167630A CN 200910167630 A CN200910167630 A CN 200910167630A CN 101664993 A CN101664993 A CN 101664993A
Authority
CN
China
Prior art keywords
stock mould
cooling
dry type
section
type stock
Prior art date
Legal status (The legal status is an assumption and is not a legal conclusion. Google has not performed a legal analysis and makes no representation as to the accuracy of the status listed.)
Pending
Application number
CN200910167630A
Other languages
Chinese (zh)
Inventor
冯跃福
Current Assignee (The listed assignees may be inaccurate. Google has not performed a legal analysis and makes no representation or warranty as to the accuracy of the list.)
CHENGDU XINHU DECORATION MATERIALS Co Ltd
Original Assignee
CHENGDU XINHU DECORATION MATERIALS Co Ltd
Priority date (The priority date is an assumption and is not a legal conclusion. Google has not performed a legal analysis and makes no representation as to the accuracy of the date listed.)
Filing date
Publication date
Application filed by CHENGDU XINHU DECORATION MATERIALS Co Ltd filed Critical CHENGDU XINHU DECORATION MATERIALS Co Ltd
Priority to CN200910167630A priority Critical patent/CN101664993A/en
Publication of CN101664993A publication Critical patent/CN101664993A/en
Pending legal-status Critical Current

Links

Images

Classifications

    • BPERFORMING OPERATIONS; TRANSPORTING
    • B29WORKING OF PLASTICS; WORKING OF SUBSTANCES IN A PLASTIC STATE IN GENERAL
    • B29CSHAPING OR JOINING OF PLASTICS; SHAPING OF MATERIAL IN A PLASTIC STATE, NOT OTHERWISE PROVIDED FOR; AFTER-TREATMENT OF THE SHAPED PRODUCTS, e.g. REPAIRING
    • B29C48/00Extrusion moulding, i.e. expressing the moulding material through a die or nozzle which imparts the desired form; Apparatus therefor
    • B29C48/03Extrusion moulding, i.e. expressing the moulding material through a die or nozzle which imparts the desired form; Apparatus therefor characterised by the shape of the extruded material at extrusion
    • B29C48/09Articles with cross-sections having partially or fully enclosed cavities, e.g. pipes or channels
    • BPERFORMING OPERATIONS; TRANSPORTING
    • B29WORKING OF PLASTICS; WORKING OF SUBSTANCES IN A PLASTIC STATE IN GENERAL
    • B29CSHAPING OR JOINING OF PLASTICS; SHAPING OF MATERIAL IN A PLASTIC STATE, NOT OTHERWISE PROVIDED FOR; AFTER-TREATMENT OF THE SHAPED PRODUCTS, e.g. REPAIRING
    • B29C48/00Extrusion moulding, i.e. expressing the moulding material through a die or nozzle which imparts the desired form; Apparatus therefor
    • B29C48/25Component parts, details or accessories; Auxiliary operations
    • B29C48/88Thermal treatment of the stream of extruded material, e.g. cooling
    • B29C48/885External treatment, e.g. by using air rings for cooling tubular films
    • BPERFORMING OPERATIONS; TRANSPORTING
    • B29WORKING OF PLASTICS; WORKING OF SUBSTANCES IN A PLASTIC STATE IN GENERAL
    • B29CSHAPING OR JOINING OF PLASTICS; SHAPING OF MATERIAL IN A PLASTIC STATE, NOT OTHERWISE PROVIDED FOR; AFTER-TREATMENT OF THE SHAPED PRODUCTS, e.g. REPAIRING
    • B29C48/00Extrusion moulding, i.e. expressing the moulding material through a die or nozzle which imparts the desired form; Apparatus therefor
    • B29C48/25Component parts, details or accessories; Auxiliary operations
    • B29C48/88Thermal treatment of the stream of extruded material, e.g. cooling
    • B29C48/90Thermal treatment of the stream of extruded material, e.g. cooling with calibration or sizing, i.e. combined with fixing or setting of the final dimensions of the extruded article
    • B29C48/904Thermal treatment of the stream of extruded material, e.g. cooling with calibration or sizing, i.e. combined with fixing or setting of the final dimensions of the extruded article using dry calibration, i.e. no quenching tank, e.g. with water spray for cooling or lubrication
    • BPERFORMING OPERATIONS; TRANSPORTING
    • B29WORKING OF PLASTICS; WORKING OF SUBSTANCES IN A PLASTIC STATE IN GENERAL
    • B29CSHAPING OR JOINING OF PLASTICS; SHAPING OF MATERIAL IN A PLASTIC STATE, NOT OTHERWISE PROVIDED FOR; AFTER-TREATMENT OF THE SHAPED PRODUCTS, e.g. REPAIRING
    • B29C48/00Extrusion moulding, i.e. expressing the moulding material through a die or nozzle which imparts the desired form; Apparatus therefor
    • B29C48/25Component parts, details or accessories; Auxiliary operations
    • B29C48/88Thermal treatment of the stream of extruded material, e.g. cooling
    • B29C48/90Thermal treatment of the stream of extruded material, e.g. cooling with calibration or sizing, i.e. combined with fixing or setting of the final dimensions of the extruded article
    • B29C48/905Thermal treatment of the stream of extruded material, e.g. cooling with calibration or sizing, i.e. combined with fixing or setting of the final dimensions of the extruded article using wet calibration, i.e. in a quenching tank
    • BPERFORMING OPERATIONS; TRANSPORTING
    • B29WORKING OF PLASTICS; WORKING OF SUBSTANCES IN A PLASTIC STATE IN GENERAL
    • B29CSHAPING OR JOINING OF PLASTICS; SHAPING OF MATERIAL IN A PLASTIC STATE, NOT OTHERWISE PROVIDED FOR; AFTER-TREATMENT OF THE SHAPED PRODUCTS, e.g. REPAIRING
    • B29C48/00Extrusion moulding, i.e. expressing the moulding material through a die or nozzle which imparts the desired form; Apparatus therefor
    • B29C48/25Component parts, details or accessories; Auxiliary operations
    • B29C48/88Thermal treatment of the stream of extruded material, e.g. cooling
    • B29C48/911Cooling
    • B29C48/9115Cooling of hollow articles
    • B29C48/912Cooling of hollow articles of tubular films
    • BPERFORMING OPERATIONS; TRANSPORTING
    • B29WORKING OF PLASTICS; WORKING OF SUBSTANCES IN A PLASTIC STATE IN GENERAL
    • B29CSHAPING OR JOINING OF PLASTICS; SHAPING OF MATERIAL IN A PLASTIC STATE, NOT OTHERWISE PROVIDED FOR; AFTER-TREATMENT OF THE SHAPED PRODUCTS, e.g. REPAIRING
    • B29C48/00Extrusion moulding, i.e. expressing the moulding material through a die or nozzle which imparts the desired form; Apparatus therefor
    • B29C48/25Component parts, details or accessories; Auxiliary operations
    • B29C48/88Thermal treatment of the stream of extruded material, e.g. cooling
    • B29C48/911Cooling
    • B29C48/9135Cooling of flat articles, e.g. using specially adapted supporting means
    • B29C48/915Cooling of flat articles, e.g. using specially adapted supporting means with means for improving the adhesion to the supporting means
    • B29C48/916Cooling of flat articles, e.g. using specially adapted supporting means with means for improving the adhesion to the supporting means using vacuum
    • BPERFORMING OPERATIONS; TRANSPORTING
    • B29WORKING OF PLASTICS; WORKING OF SUBSTANCES IN A PLASTIC STATE IN GENERAL
    • B29CSHAPING OR JOINING OF PLASTICS; SHAPING OF MATERIAL IN A PLASTIC STATE, NOT OTHERWISE PROVIDED FOR; AFTER-TREATMENT OF THE SHAPED PRODUCTS, e.g. REPAIRING
    • B29C48/00Extrusion moulding, i.e. expressing the moulding material through a die or nozzle which imparts the desired form; Apparatus therefor
    • B29C48/25Component parts, details or accessories; Auxiliary operations
    • B29C48/88Thermal treatment of the stream of extruded material, e.g. cooling
    • B29C48/919Thermal treatment of the stream of extruded material, e.g. cooling using a bath, e.g. extruding into an open bath to coagulate or cool the material

Landscapes

  • Engineering & Computer Science (AREA)
  • Mechanical Engineering (AREA)
  • Moulds For Moulding Plastics Or The Like (AREA)

Abstract

本发明公开了一种塑料型材冷却和定型的方法及实现该方法的装置,塑料型材经挤出机挤出后,在第一段干式定型模经真空造型、冷却孔通冷却水进行第一次冷却定型,第二步,在第一段干式定型模后增加一开放式冷却槽,该冷却槽内部装有冷媒,对塑料型材进行散热冷却;第三步,在开放式冷却槽后增加第二段干式定型模,塑料型材在开放式冷却槽进行散热冷却后,进入第二段干式定型模,进行第二次真空定型和冷却。本发明将现有的干式定型模具分成两部分使用,同时与开放式水槽作了合理的搭配,改变了现在认为的干式定型模必须与其他专门的冷却装置相连才能大幅度改善冷却定型的效果的看法。本发明特别适合加工类似PVC扣板等中空的塑料型材。

Figure 200910167630

The invention discloses a method for cooling and shaping a plastic profile and a device for realizing the method. After the plastic profile is extruded by an extruder, the first section of the dry-type shaping die is vacuum molded, and cooling water is passed through the cooling hole for the first step. Secondary cooling and shaping, the second step is to add an open cooling tank after the first section of dry shaping mold, the cooling tank is filled with refrigerant to dissipate heat and cool the plastic profiles; the third step is to add an open cooling tank after the open cooling tank In the second section of dry-type shaping mold, after the plastic profiles are cooled in the open cooling tank, they enter the second section of dry-type shaping mold for the second vacuum shaping and cooling. The present invention divides the existing dry-type shaping mold into two parts for use, and at the same time makes a reasonable match with the open water tank, changing the current thinking that the dry-type shaping mold must be connected with other special cooling devices to greatly improve cooling and shaping view of the effect. The invention is particularly suitable for processing hollow plastic profiles such as PVC gussets.

Figure 200910167630

Description

Plastic material cools off and method of finalizing the design and the device of realizing this method
Technical field
The present invention relates to a kind of plastic material is carried out method for processing and realizes the device of this method, be specifically related to a kind of the plastic material of extruding continuously be cooled off and method of finalizing the design and the device of realizing this method.
Background technology
Plastic material generally is raw material obtain certain beginning through die head behind the fusion plastification in extruder barrel a molten base, enters into shaper again.Existing shaper has only a part, the length of stock mould has vacuum hole and cooling hole often between 54-55CM above the stock mould, plastic material in mould through vacuo-forming, the logical cold water in cooling hole comes cooling and shaping, and the finished product of plastic material is extruded from the mould other end.Existing mould is because the interior environment of mould comparatively seals, and radiating effect is not good, and the cooling and shaping effect is bad, therefore a lot of producers are in order to improve cooling effect, need special outfit cooling device, and the expense of special cooling device is generally all very high, has increased production cost.And, must keep the slower speed of passing through aborning owing to above reason, production efficiency is lower.The plastic material of Rong Huaing is by mould the time, to produce 485kg/M in process of production 2The PVC buckle of specification is an example, and when using this mould, in order to ensure the quality of products, the extruded velocity of per minute only is about 1.8 meters.
Notification number is CN1278841C, the day for announcing is that the Chinese invention patent on October 11st, 2006 discloses a kind of name and is called " the plastic double-walled corrugated pipe forming module is strengthened cooling means and device ", this method is that at least one group of supply channel is installed above the forming module of the left and right sides, pipeline draws water, vacuum-pumping pipeline and blast-cold air pipe, supply channel ceaselessly injects cooling medium to the cooling line of inside modules continuously, the pipeline that draws water is ceaselessly extracted cooling medium out continuously from cooling line, make the import of cooling line become positive and negative pressure with the outlet two ends, allow cooling medium forming module be strengthened cooling in the smooth and easy circulation of inside modules, simultaneously, utilize the vacuum passage in the vacuum-pumping tube road direction module to vacuumize to the forming module that just enters the shaping work position, the double-wall corrugated pipe outer layer plastic is adsorbed onto moulding and cooling on the module inwall, after the shaping mould piece continues to move ahead the basic cooling and shaping of tubing, vacuum passage blast-cold gas in module, cooling is simultaneously strengthened to make in tubing and the module forming cavity surface.This invention also provides the supporting plastic double-walled corrugated pipe forming module of realizing said method to strengthen cooling device.The thinking of this invention mainly is the structure that changes existing dry type stock mould, increased this process to the inner blast-cold gas of stock mould, reach the effect that realizes strengthening cooling, but because this process is still finished in one-part form dry type stock mould all the time, still can't avoid finalizing the design and cooling effect can not fundamentally bring the problem of huge change, and need carry out certain transformation to conventional device, can increase production cost.
Notification number is CN2594001Y, the day for announcing is that the Chinese utility model patent on December 24th, 2003 discloses a kind of " a kind of plastic irregular profile stock mould device " by name, this utility model is to be provided with the shaped die cover outside die cavity, die sleeve places water tank, be provided with through hole at water tank, be provided with hole or the seam that is connected with die cavity at the die sleeve wall.This utility model is designed to the die sleeve form similar to cavity shape with the dry type calibrator, be distributed with the seam or the hole that are connected with die cavity on the die sleeve, and die sleeve placed vacuum water tank fully, make it obtain cooling, while makes plastic parison and goods press close to the die sleeve die cavity by the negative pressure in the vacuum water tank and obtains typing, though such design has improved cooling effectiveness and cooling uniformity to a certain extent, but the heat exchange of this design is in fact still carried out indirectly, and the effect of this cooling is effective not as what directly half-formed product is contacted with cooling water.
Publication number is CN101306577A, the Chinese invention patent that open day is on November 19th, 2008 discloses one and has been called " to the method and the intercooler unit of continuous extrusion plastic products cooling and shaping ", and this patent is between dry type stock mould and wet type typing water tank one section intercooler unit to be set; This intercooler unit is the casing of a sealing, casing on the section bar moving direction, be provided with several by shaped block every the cooling chamber that feeds and derive cooling water that separates, each cooling chamber top communicates and communicates with the outer negative pressure source of casing; Each cooling chamber equates or increases progressively first cooling chamber that section bar imports at the width of section bar moving direction.The inventive point of this invention is: because each cooling chamber width is very little, can not make product deformation; Goods integral body is immersed in the cooling water, cools off and typing efficient height, can improve the hauling speed of section bar, reduces the total length of stock mould.Invention is necessary to increase by a special intercooler unit but be somebody's turn to do, and necessary supporting use negative pressure source, has increased the input of integral device, has caused complexity of integral device, is difficult for the problem of batch process.
Summary of the invention
The technical problem to be solved in the present invention provides that a kind of plastic material cools off and method of finalizing the design and the device of realizing this method, and it has solved the problem bad to the cooling and shaping plastic profile effect in the prior art, that equipment is complicated, cost of investment is too high, production effect is low excessively.
For solving above-mentioned technical problem, the present invention by the following technical solutions:
The method of cooling of a kind of plastic material and typing, at first, plastic material enters from an end of first section dry type stock mould after extruder is extruded, and carries out the cooling and shaping first time at first section dry type stock mould through vacuo-forming, the logical cooling water in cooling hole; Second step increased by an open cooling bath behind first section dry type stock mould, cold coal is equipped with in this cooling bath inside, and plastic material enters this open cooling bath after first section stock mould typing cooling, to the plastic material cooling of dispelling the heat; The 3rd step increased by second section dry type stock mould behind open cooling bath, plastic material dispels the heat in open cooling bath after the cooling, enters second section dry type stock mould, carried out Vacuum shaping and the cooling second time.
The present invention also comprises the device of realizing said method, the first of this device is first section dry type stock mould, this first section dry type stock mould one end is the section bar inlet, the other end is the section bar outlet, first section dry type stock mould inside comprises typing die cavity, cooling line and vacuum-pumping pipeline, and the shape of the shape of this typing die cavity and plastic material to be processed is suitable; First section dry type stock mould outside is provided with vacuum hole and cooling hole, wherein cools off Kong Yiduan and outside cold water pipe and connects, and the other end communicates with the cooling line of first section stock mould inside, and vacuum hole links to each other with inner vacuum-pumping pipeline; The second portion of this device is an open cooling bath, and third part is second section dry type stock mould; Cold coal is equipped with in described open cooling bath inside, the section bar outlet of one end and first section dry type stock mould is adjacent, and being provided with section bar inlet at this end, the other end of open cooling bath is adjacent with second section dry type stock mould, and is provided with section bar at this end and exports; Second section adjacent end with open tank of dry type stock mould has the section bar inlet, and the other end has the section bar outlet.
Further technical scheme is:
The length of described second section dry type stock mould is shorter than the length of first section dry type stock mould.
The length of described first section dry type stock mould is between 44cm to 45cm; Described second section dry type stock mould length is between 27cm to 29cm.
Described second section dry type stock mould inside comprises typing die cavity, cooling line and vacuum-pumping pipeline, the shape of the shape of this typing die cavity and plastic material to be processed is suitable, this second section stock mould outside is provided with vacuum hole and cooling hole, wherein cool off Kong Yiduan and communicate with the cooling line of stock mould inside with the cold water pipe connection other end, vacuum hole links to each other with inner vacuum-pumping pipeline.
The typing die cavity of described first section dry type stock mould, second section dry type stock mould is all surrounded by last stereotype plate, following stereotype plate, preceding stereotype plate and back stereotype plate at least; Wherein preceding stereotype plate and back stereotype plate are installed between stereotype plate and the following stereotype plate, and both are separated by a distance; The inlet opening of stereotype plate and back stereotype plate before stereotype plate and stereotype plate both sides, back all are equipped with and are used to cool off simultaneously, this inlet opening communicates with the cooling line of stock mould inside.
Device of the present invention can also be:
First section dry type stock mould, second section dry type stock mould are close to above separately the last stereotype plate respectively and are provided with loam cake and base below the following stereotype plate, on cover and also have fastening bolt and alignment pin.
Outer cooling hole, the second section outer cooling hole of dry type stock mould of described first section dry type stock mould all is arranged on the last stereotype plate and following stereotype plate one side of stock mould separately; The outer vacuum hole of described first section dry type stock mould, second section outer vacuum hole of dry type stock mould all are arranged on the upper surface of the base both sides of stock mould separately and loam cake; Two sections dry type stock mould bases and loam cake all link together by jockey.
Described open cooling bath is open tank, and described cold coal is a water; This open tank is shaped as cuboid.
Described open tank both sides all are provided with baffle device for water respectively; On the loam cake of described first section stock mould, second section stock mould and the base baffle device for water has been installed all.
Compared with prior art, the invention has the beneficial effects as follows:
1, in process of production, after the PVC that melts is extruded by screw extruder, fast through first section dry type stock mould, in stock mould through vacuo-forming, cooling and shaping is laggard goes into tank, because specific heat of water is 9 times of steel, the heat that absorbs when the rising uniform temp is more much bigger than steel, thus the simple cooling effectiveness height that uses the dry type stock mould of bosh ratio in the middle of using, simultaneously because tank is an Open architecture, so radiating effect is better, what this moment, the plastic material surface temperature can be fallen is lower, and equipment is very simple, easy to process, compared with custom-designed cooling devices such as use vacuum water tanks, cost and process time have been saved greatly.
2, behind open tank, set up second section dry type stock mould, this be since some plastic material (for example: interior hollow buckle), still there is hot-air behind the open tank of its inner process, so through second section dry type stock mould, secondary vacuum pumping moulding and cooling and shaping in second section dry type stock mould.This finalizes the design very crucial for the second time, need not improve existing dry type stock mould, only need utilize existing dry type stock mould, but be divided into the front and back that two parts are arranged in open tank respectively, but brought beyond thought effect, than only process is much better with the effect of one section dry type stock mould (length of this kind one-part form stock mould is more than or equal to two part dry type stock mould sums).Just because of need not change existing dry type stock mould, also just mean the production line of production dry type stock mould, also need not improve, can farthest save processing cost.
3, the stock mould of plastic material cooling and typing is divided into three sections, and it is longer to mean that just plastic material cools off distance aborning, so can increase substantially the extruded velocity of screw extruder; And because cooling velocity is fast, in conjunction with tightr, the mechanical strength of finished product increases between products molecule; Through the secondary typing, the appearance yield of product also significantly improves in addition.Contrast former single mold, production efficiency significantly improves.And the cooling water that flows out from the two sections stock moulds in front and back can recycle once more through flowing into tank after the heat exchange, so the water of unit interval consumption keeps and original mould water consumes identical basic in process of production.
The present invention uses existing dry type shaper separated into two parts, has done rational collocation with open tank simultaneously, has obtained beyond thought effect.Having changed in the past a lot of people thinks that present dry type stock mould must link to each other with other special cooling devices and could improve the view of the effect of cooling and shaping significantly.The present invention is particularly suitable for processing the plastic material of hollows such as similar PVC buckle.
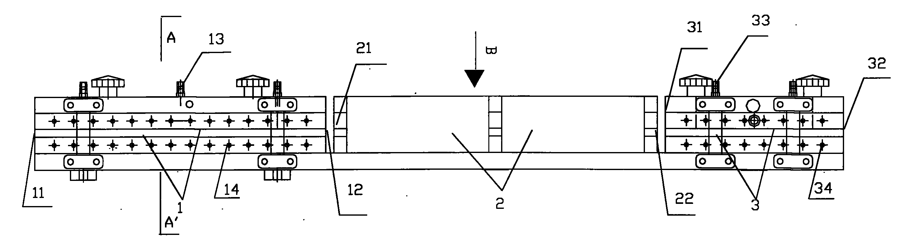
Accompanying drawing is said;
Fig. 1 is an embodiment of the invention overall structure schematic diagram;
Fig. 2 is the cutaway view Amplified image of the embodiment of the invention 1 along Figure 1A-A ';
Fig. 3 is the cutaway view Amplified image of the embodiment of the invention 2 along Figure 1A-A ';
Fig. 4 be in the embodiment of the invention 2 open tank part along the B of Fig. 1 to view.
The specific embodiment
Below the present invention is further elaborated.
The invention provides the method for a kind of plastic material cooling and typing:
At first, plastic material enters from an end of first section dry type stock mould 1 after extruder is extruded, and carries out the cooling and shaping first time at first section dry type stock mould through vacuo-forming, the logical cooling water in cooling hole;
Second step increased by an open tank 2 behind first section dry type stock mould, cold water is equipped with in this cooling bath inside, and plastic material enters this open tank 2 after first section stock mould typing cooling, to the plastic material cooling of dispelling the heat;
The 3rd step increased by second section dry type stock mould 3 behind open cooling bath, plastic material enters second section dry type stock mould 3 after open tank 2 dispels the heat cooling, carried out Vacuum shaping and the cooling second time.
Described as the front background technology, a lot of shapers or only adopt as the structure as described in first section dry type stock mould of the present invention, be equipped with the vacuum cooled tank of other more complicated or other cooling device, but the present invention is with the dry type stock mould simple open tank of arranging in pairs or groups, add short dry type stock mould more in the back, but reached extraordinary effect.
Below in conjunction with accompanying drawing, the device of realizing said method of the present invention is further elaborated.
Embodiment 1:
As shown in Figure 1 and Figure 2, this device comprises three parts, first is first section dry type stock mould 1, these first section dry type stock mould 1 one end is section bar inlet 11, the other end is section bar outlet 12, first section dry type stock mould 1 inside comprises typing die cavity, cooling line and vacuum-pumping pipeline, and the shape of the shape of this typing die cavity and plastic material to be processed is suitable; The second portion of described device is one to be shaped as the open tank 2 of cuboid, cold water is equipped with in inside, third part is second section dry type stock mould 3, it is 12 adjacent that one end of open tank 2 and the section bar of first section dry type stock mould 1 export, and be provided with section bar inlet 21 at this end, the other end of open cooling bath 2 is adjacent with second section dry type stock mould 3, and is provided with section bar outlet 22 at this end; Second section dry type stock mould 3 has section bar inlet 31 with open tank 2 adjacent ends, and the other end has section bar outlet 32.Second section dry type stock mould 3 inside also comprises typing die cavity, cooling line and vacuum-pumping pipeline, and the shape of the shape of this typing die cavity and plastic material to be processed is suitable.The typing die cavity of first section dry type stock mould 1, second section dry type stock mould 3 is by last stereotype plate 104, stereotype plate 100, preceding stereotype plate 101 and back stereotype plate 102 surround down; The area of wherein going up stereotype plate 104 and following stereotype plate 100 equates that preceding stereotype plate 101 and back stereotype plate 102 are installed between stereotype plate 104 and the following stereotype plate 100, and both are separated by a distance; Four middle spaces of stereotype plate promptly are the typing die cavitys, and section bar is cooled and finalizes the design in the typing die cavity.First section dry type stock mould 1, second section dry type stock mould 3 stereotype plate 104 and following stereotype plate 100 1 sides on stock mould separately are equipped with cooling hole 14 and cooling hole 34, and cooling hole 14 and cooling hole 34 all and the separately cooling line of stock mould inside communicate.First section dry type stock mould 1, second section dry type stock mould 3 be close to respectively above the stereotype plate 104 and following stereotype plate 100 below be provided with loam cake 103 and 9, two sections dry type stock moulds of base base 9 and loam cake 103 and all link together by jockey 71,72.Fastening bolt 111 and alignment pin 112 are arranged on the loam cake 103.Fastening bolt 111 and alignment pin 112 effects are two parts about the stock mould can be screwed.First section dry type stock mould 1, second section dry type stock mould 3 base 9 both sides of stock mould and the upper surface of loam cake 103 separately are provided with a plurality of vacuum holes 13 and vacuum hole 33, and the vacuum line of vacuum hole 13 and vacuum hole 33 and each stock mould inside communicates.
Embodiment 2:
As Fig. 1, shown in Figure 3, this device comprises three parts, first is that length is first section dry type stock mould 1 of 44cm to 45cm, these first section dry type stock mould 1 one end is section bar inlet 11, the other end is section bar outlet 12, first section dry type stock mould 1 inside comprises typing die cavity, cooling line and vacuum-pumping pipeline, and the shape of the shape of this typing die cavity and plastic material to be processed is suitable; The second portion of described device is one to be shaped as the open tank 2 of cuboid, cold water is equipped with in inside, third part be length at 27cm to second section dry type stock mould 3 between the 29cm, it is 12 adjacent that one end of open tank 2 and the section bar of first section dry type stock mould 1 export, and be provided with section bar inlet 21 at this end, the other end of open cooling bath 2 is adjacent with second section dry type stock mould 3, and is provided with section bar outlet 22 at this end; Second section dry type stock mould 3 has section bar inlet 31 with open tank 2 adjacent ends, and the other end has section bar outlet 32.Second section dry type stock mould 3 inside also comprises typing die cavity, cooling line and vacuum-pumping pipeline, and the shape of the shape of this typing die cavity and plastic material to be processed is suitable.The typing die cavity of first section dry type stock mould 1, second section dry type stock mould 3 is by last stereotype plate 104, stereotype plate 100, preceding stereotype plate 101 and back stereotype plate 102 surround down; The area of wherein going up stereotype plate 104 and following stereotype plate 100 equates that preceding stereotype plate 101 and back stereotype plate 102 are installed between stereotype plate 104 and the following stereotype plate 100, and both are separated by a distance; Four middle spaces of stereotype plate promptly are the typing die cavitys, and section bar is cooled therein and finalizes the design.First section dry type stock mould 1, second section dry type stock mould 3 stereotype plate 104 and following stereotype plate 100 1 sides on stock mould separately are equipped with cooling hole 14 and cooling hole 34, and cooling hole 14 and cooling hole 34 all and the separately cooling line of stock mould inside communicate.Stereotype plate 101 and stereotype plate 102 both sides, back all are installed into water hole 15 simultaneously, and this inlet opening 15 communicates with the cooling line of stock mould inside, and its effect is stereotype plate 101 and a back stereotype plate 102 before can cooling off after the water flowing.Add this inlet opening, can better play cooling effect.First section dry type stock mould 1, second section dry type stock mould 3 be close to respectively above the stereotype plate 104 and following stereotype plate 100 below be provided with loam cake 103 and 9, two sections dry type stock moulds of base base 9 and loam cake 103 and all link together by jockey 71,72.Fastening bolt 111 and alignment pin 112 are arranged on the loam cake 103.Fastening bolt 111 and alignment pin 112 effects are two parts about the stock mould can be screwed.First section dry type stock mould 1, second section dry type stock mould 3 base 9 both sides of stock mould and the upper surface of loam cake 103 separately are provided with a plurality of vacuum holes 13 and vacuum hole 33, and the vacuum line of vacuum hole 13 and vacuum hole 33 and each stock mould inside communicates.
It is water fender 107 that the both sides of open tank 2 are provided with baffle device for water; The last stereotype plate 104 of described first section stock mould 1, second section stock mould 3 and the side that following stereotype plate 100 is not installed cooling hole 14 have been installed water fender 105, at last stereotype plate 104 and following stereotype plate 100 side of cooling off hole 14 is installed, with last stereotype plate 104 and following stereotype plate 100 contact positions a grade water plate 106 is installed in cooling hole 14.Increased above-mentioned several water fender 107 and can control current better with a shelves water plate 105,106.

Claims (10)

1, the method of a kind of plastic material cooling and typing, at first, plastic material is after extruder is extruded, enter from an end of first section dry type stock mould (1), at first section dry type stock mould (1) through vacuo-forming, the logical cooling water in cooling hole carries out the cooling and shaping first time, it is characterized in that also will passing through following steps: second step, increase by an open cooling bath (2) in first section dry type stock mould (1) back, cold coal is equipped with in this cooling bath inside, plastic material enters this open cooling bath (2) after first section stock mould typing cooling, to the plastic material cooling of dispelling the heat;
The 3rd step increased by second section dry type stock mould (3) behind open cooling bath, plastic material dispels the heat in open cooling bath (2) after the cooling, enters second section dry type stock mould (3), carried out Vacuum shaping and the cooling second time.
2, realize the device of the method for plastic material cooling as claimed in claim 1 and typing, the first of this device is first section dry type stock mould (1), this first section dry type stock mould (1) one end is a section bar inlet (11), the other end is section bar outlet (12), first section dry type stock mould (1) inside comprises typing die cavity, cooling line and vacuum-pumping pipeline, and the shape of the shape of this typing die cavity and plastic material to be processed is suitable; First section dry type stock mould (1) outside is provided with vacuum hole (13) and cooling hole (14), wherein cooling off hole (14) one ends and outside cold water pipe connects, the other end communicates with the cooling line of first section stock mould (1) inside, and vacuum hole (13) links to each other with inner vacuum-pumping pipeline; It is characterized in that: the second portion of described this device is an open cooling bath (2), and third part is second section dry type stock mould (3); Cold coal is equipped with in described open cooling bath (2) inside, the section bar outlet (12) of one end and first section dry type stock mould (1) is adjacent, and be provided with section bar inlet (21) at this end, the other end of open cooling bath (2) is adjacent with second section dry type stock mould (3), and is provided with section bar outlet (22) at this end; The adjacent end with open tank (2) of second section dry type stock mould (3) has section bar inlet (31), and the other end has section bar outlet (32).
3, device according to claim 2 is characterized in that: the length of described second section dry type stock mould (3) is shorter than the length of first section dry type stock mould (1).
4, device according to claim 3 is characterized in that: the length of described first section dry type stock mould (1) is between 44cm to 45cm; Described second section dry type stock mould (3) length is between 27cm to 29cm.
5, device according to claim 2, it is characterized in that: described second section dry type stock mould (3) inside comprises typing die cavity, cooling line and vacuum-pumping pipeline, the shape of the shape of this typing die cavity and plastic material to be processed is suitable, this second section stock mould (3) outside is provided with vacuum hole (33) and cooling hole (34), wherein cool off hole (34) one ends and communicate with the cooling line of stock mould inside with the cold water pipe connection other end, vacuum hole (33) links to each other with inner vacuum-pumping pipeline.
6, device according to claim 4 is characterized in that: the typing die cavity of described first section dry type stock mould (1), second section dry type stock mould (3) is all surrounded by last stereotype plate, following stereotype plate, preceding stereotype plate and back stereotype plate at least; Wherein preceding stereotype plate and back stereotype plate are installed between stereotype plate and the following stereotype plate, and both are separated by a distance; The inlet opening (15) of stereotype plate and back stereotype plate before stereotype plate and stereotype plate both sides, back all are equipped with and are used to cool off simultaneously, this inlet opening (15) communicate with the cooling line of stock mould inside.
7, device according to claim 5, it is characterized in that: first section dry type stock mould (1), second section dry type stock mould (3) are close to respectively above separately the last stereotype plate and below the following stereotype plate and are provided with loam cake and base (9), on cover fastening bolt and alignment pin in addition.
8, device according to claim 5 is characterized in that: outer cooling hole (14), the outer cooling hole (34) of second section dry type stock mould (3) of described first section dry type stock mould (1) all is arranged on the last stereotype plate and following stereotype plate one side of stock mould separately; Outer vacuum hole (13), the outer vacuum hole (33) of second section dry type stock mould (3) of described first section dry type stock mould (1) all is arranged on the upper surface of the base of stock mould (9) both sides and loam cake separately; Two sections dry type stock mould bases (9) and loam cake all pass through jockey (71,72) and link together.
9, according to described any device of claim 2-8, it is characterized in that: described open cooling bath (2) is open tank (2), and described cold coal is a water; This open tank (2) is shaped as cuboid.
10, device according to claim 9 is characterized in that: described open tank (2) both sides all are provided with baffle device for water respectively; On the loam cake of described first section stock mould (1), second section stock mould (3) and the base (9) baffle device for water has been installed all.
CN200910167630A 2009-09-14 2009-09-14 Method for cooling and sizing plastic profiles and device for realizing same Pending CN101664993A (en)

Priority Applications (1)

Application Number Priority Date Filing Date Title
CN200910167630A CN101664993A (en) 2009-09-14 2009-09-14 Method for cooling and sizing plastic profiles and device for realizing same

Applications Claiming Priority (1)

Application Number Priority Date Filing Date Title
CN200910167630A CN101664993A (en) 2009-09-14 2009-09-14 Method for cooling and sizing plastic profiles and device for realizing same

Publications (1)

Publication Number Publication Date
CN101664993A true CN101664993A (en) 2010-03-10

Family

ID=41801847

Family Applications (1)

Application Number Title Priority Date Filing Date
CN200910167630A Pending CN101664993A (en) 2009-09-14 2009-09-14 Method for cooling and sizing plastic profiles and device for realizing same

Country Status (1)

Country Link
CN (1) CN101664993A (en)

Cited By (4)

* Cited by examiner, † Cited by third party
Publication number Priority date Publication date Assignee Title
CN102975359A (en) * 2012-07-17 2013-03-20 江西华东管业制造有限公司 Plastic corrugated pipe molding machine
CN103057094A (en) * 2013-01-06 2013-04-24 四川江瀚工业股份有限公司 Dry sizing device
CN103507239A (en) * 2013-09-05 2014-01-15 广州中国科学院先进技术研究所 Conformal cooling apparatus based on laser selective molding technology
CN113414905A (en) * 2021-07-07 2021-09-21 北京华卓精科科技股份有限公司 Special-shaped pipeline shaping device and shaping method

Cited By (5)

* Cited by examiner, † Cited by third party
Publication number Priority date Publication date Assignee Title
CN102975359A (en) * 2012-07-17 2013-03-20 江西华东管业制造有限公司 Plastic corrugated pipe molding machine
CN103057094A (en) * 2013-01-06 2013-04-24 四川江瀚工业股份有限公司 Dry sizing device
CN103507239A (en) * 2013-09-05 2014-01-15 广州中国科学院先进技术研究所 Conformal cooling apparatus based on laser selective molding technology
CN103507239B (en) * 2013-09-05 2015-10-14 广州中国科学院先进技术研究所 A kind of conformal cooling device based on laser selective forming technique
CN113414905A (en) * 2021-07-07 2021-09-21 北京华卓精科科技股份有限公司 Special-shaped pipeline shaping device and shaping method

Similar Documents

Publication Publication Date Title
CN101856868B (en) Method for cooling and shaping plastic profile and device for implementing same
CN201471717U (en) Wet-dry combination shaped mold
CN101664993A (en) Method for cooling and sizing plastic profiles and device for realizing same
CN105252727A (en) Injection mold with mold temperature control system
CN201626102U (en) Plastic open profile extrusion direct cooling setting device
CN2594001Y (en) Plastic irregular sectional shaping mould devices
CN209699814U (en) The a plurality of biologic packing material section bar extruding mould of single mode head
CN202011141U (en) High-efficiency cooling device for core of pipe extrusion mold
CN205364497U (en) PVC tubular product cooling shaping device
CN2749665Y (en) Core internal cooling extrusion dies
CN201244893Y (en) Precooling apparatus for plastic pipe production line
CN201516685U (en) Dry and wet combination shaping mould
CN206351540U (en) A kind of blow moulding machine
CN206357608U (en) Double-wall corrugated pipe shaping mould
CN201776902U (en) Plastic profile stock mold device
CN203937172U (en) A kind of cooling device of plastic molding press forming module
CN213798034U (en) Vacuum setting device of PE feed pipe production usefulness
CN207535279U (en) A kind of extrusion molding luggage mold
CN208428613U (en) A kind of rapid cooling shape sealing rubber die
CN219114673U (en) Direct injection nozzle type hot runner mold
CN201501059U (en) Resin mould cooling mechanism
CN207310473U (en) A kind of forming extrusion of plastic pipe mould
CN204701111U (en) A kind of mould of plastic extruder
CN104708794B (en) A kind of shaping platform of vacuum fast shaping
CN218876130U (en) Plastic bluetooth miaow forming die

Legal Events

Date Code Title Description
C06 Publication
PB01 Publication
C10 Entry into substantive examination
SE01 Entry into force of request for substantive examination
C12 Rejection of a patent application after its publication
RJ01 Rejection of invention patent application after publication

Application publication date: 20100310