CN101581462B - Ecological bath system - Google Patents
Ecological bath system Download PDFInfo
- Publication number
- CN101581462B CN101581462B CN2008101063708A CN200810106370A CN101581462B CN 101581462 B CN101581462 B CN 101581462B CN 2008101063708 A CN2008101063708 A CN 2008101063708A CN 200810106370 A CN200810106370 A CN 200810106370A CN 101581462 B CN101581462 B CN 101581462B
- Authority
- CN
- China
- Prior art keywords
- water
- heat recovery
- coil
- solar
- water tank
- Prior art date
- Legal status (The legal status is an assumption and is not a legal conclusion. Google has not performed a legal analysis and makes no representation as to the accuracy of the status listed.)
- Expired - Fee Related
Links
- XLYOFNOQVPJJNP-UHFFFAOYSA-N water Substances O XLYOFNOQVPJJNP-UHFFFAOYSA-N 0.000 claims abstract description 319
- 238000011084 recovery Methods 0.000 claims abstract description 92
- 238000003287 bathing Methods 0.000 claims abstract description 68
- 238000010438 heat treatment Methods 0.000 claims abstract description 41
- 238000007654 immersion Methods 0.000 claims abstract description 36
- 238000003860 storage Methods 0.000 claims abstract description 28
- 239000002918 waste heat Substances 0.000 claims abstract description 20
- 239000007788 liquid Substances 0.000 claims abstract description 17
- 239000008399 tap water Substances 0.000 claims abstract description 9
- 235000020679 tap water Nutrition 0.000 claims abstract description 9
- 238000001704 evaporation Methods 0.000 claims description 33
- 230000008020 evaporation Effects 0.000 claims description 20
- 238000005276 aerator Methods 0.000 claims description 7
- 238000005188 flotation Methods 0.000 claims description 6
- 238000009833 condensation Methods 0.000 claims description 2
- 230000005494 condensation Effects 0.000 claims description 2
- 238000001035 drying Methods 0.000 claims description 2
- 238000000034 method Methods 0.000 description 18
- 239000003570 air Substances 0.000 description 12
- 230000008569 process Effects 0.000 description 12
- 238000002156 mixing Methods 0.000 description 9
- 239000010865 sewage Substances 0.000 description 9
- 238000005516 engineering process Methods 0.000 description 8
- 238000010586 diagram Methods 0.000 description 5
- 239000007789 gas Substances 0.000 description 5
- 239000003673 groundwater Substances 0.000 description 5
- 238000009529 body temperature measurement Methods 0.000 description 4
- 230000008859 change Effects 0.000 description 4
- 238000005265 energy consumption Methods 0.000 description 4
- 239000002184 metal Substances 0.000 description 4
- 238000001514 detection method Methods 0.000 description 3
- 238000005189 flocculation Methods 0.000 description 3
- 230000016615 flocculation Effects 0.000 description 3
- 238000004659 sterilization and disinfection Methods 0.000 description 3
- 239000002699 waste material Substances 0.000 description 3
- 230000009471 action Effects 0.000 description 2
- 238000004364 calculation method Methods 0.000 description 2
- 238000007667 floating Methods 0.000 description 2
- 238000005259 measurement Methods 0.000 description 2
- 239000012528 membrane Substances 0.000 description 2
- 230000003647 oxidation Effects 0.000 description 2
- 238000007254 oxidation reaction Methods 0.000 description 2
- 239000002245 particle Substances 0.000 description 2
- 238000004064 recycling Methods 0.000 description 2
- 229920006395 saturated elastomer Polymers 0.000 description 2
- 238000000108 ultra-filtration Methods 0.000 description 2
- 238000009423 ventilation Methods 0.000 description 2
- CBENFWSGALASAD-UHFFFAOYSA-N Ozone Chemical compound [O-][O+]=O CBENFWSGALASAD-UHFFFAOYSA-N 0.000 description 1
- 238000010521 absorption reaction Methods 0.000 description 1
- 239000012080 ambient air Substances 0.000 description 1
- 238000006243 chemical reaction Methods 0.000 description 1
- 230000002354 daily effect Effects 0.000 description 1
- 230000003111 delayed effect Effects 0.000 description 1
- 230000000694 effects Effects 0.000 description 1
- 238000004146 energy storage Methods 0.000 description 1
- 230000003203 everyday effect Effects 0.000 description 1
- 238000001914 filtration Methods 0.000 description 1
- 239000006260 foam Substances 0.000 description 1
- 230000005484 gravity Effects 0.000 description 1
- 230000036541 health Effects 0.000 description 1
- 239000008236 heating water Substances 0.000 description 1
- 150000002500 ions Chemical class 0.000 description 1
- 238000004519 manufacturing process Methods 0.000 description 1
- 239000002244 precipitate Substances 0.000 description 1
- 238000000746 purification Methods 0.000 description 1
- 230000005855 radiation Effects 0.000 description 1
- 230000009467 reduction Effects 0.000 description 1
- 230000001105 regulatory effect Effects 0.000 description 1
- 238000002791 soaking Methods 0.000 description 1
- 239000000344 soap Substances 0.000 description 1
- 238000001179 sorption measurement Methods 0.000 description 1
- 230000001954 sterilising effect Effects 0.000 description 1
- 238000013014 water-saving technology Methods 0.000 description 1
Images
Classifications
-
- Y—GENERAL TAGGING OF NEW TECHNOLOGICAL DEVELOPMENTS; GENERAL TAGGING OF CROSS-SECTIONAL TECHNOLOGIES SPANNING OVER SEVERAL SECTIONS OF THE IPC; TECHNICAL SUBJECTS COVERED BY FORMER USPC CROSS-REFERENCE ART COLLECTIONS [XRACs] AND DIGESTS
- Y02—TECHNOLOGIES OR APPLICATIONS FOR MITIGATION OR ADAPTATION AGAINST CLIMATE CHANGE
- Y02B—CLIMATE CHANGE MITIGATION TECHNOLOGIES RELATED TO BUILDINGS, e.g. HOUSING, HOUSE APPLIANCES OR RELATED END-USER APPLICATIONS
- Y02B30/00—Energy efficient heating, ventilation or air conditioning [HVAC]
- Y02B30/18—Domestic hot-water supply systems using recuperated or waste heat
-
- Y—GENERAL TAGGING OF NEW TECHNOLOGICAL DEVELOPMENTS; GENERAL TAGGING OF CROSS-SECTIONAL TECHNOLOGIES SPANNING OVER SEVERAL SECTIONS OF THE IPC; TECHNICAL SUBJECTS COVERED BY FORMER USPC CROSS-REFERENCE ART COLLECTIONS [XRACs] AND DIGESTS
- Y02—TECHNOLOGIES OR APPLICATIONS FOR MITIGATION OR ADAPTATION AGAINST CLIMATE CHANGE
- Y02E—REDUCTION OF GREENHOUSE GAS [GHG] EMISSIONS, RELATED TO ENERGY GENERATION, TRANSMISSION OR DISTRIBUTION
- Y02E10/00—Energy generation through renewable energy sources
- Y02E10/40—Solar thermal energy, e.g. solar towers
- Y02E10/44—Heat exchange systems
Landscapes
- Heat Treatment Of Water, Waste Water Or Sewage (AREA)
Abstract
本发明公开一种生态洗浴系统,该系统包括:加热设备通过管路与热水箱连通构成加热系统;温水箱分别通过管路与热水箱和预热水箱连通,预热水箱上的凉水进水管连接自来水供水管,热水箱上的热水供水口、温水箱上的温水供水口分别通过管路、节水器、控制阀与混水器连接构成洗浴供水子系统;踏板式热回收器的回收腔体通过管路依次与储液罐、压缩机、设置在所述热水箱中的第一浸泡式冷凝盘管、设置在所述温水箱中的第二浸泡式冷凝盘管、设置在所述预热水箱中的第三浸泡式冷凝盘管、干燥过滤器和电子膨胀阀与踏板式热回收器的回收腔体连接成余热回收子系统;所述踏板式热回收器的回收腔体的排水口通过管路与中水处理子系统连接。
The invention discloses an ecological bathing system, which comprises: a heating device communicated with a hot water tank through pipelines to form a heating system; The water pipe is connected to the tap water supply pipe, and the hot water supply port on the hot water tank and the warm water supply port on the warm water tank are respectively connected with the pipeline, water saver, control valve and water mixer to form a bathing water supply subsystem; pedal type heat recovery device The recovery cavity is connected with the liquid storage tank, the compressor, the first immersion condensing coil arranged in the hot water tank, the second immersion condensing coil arranged in the warm water tank, and the set The third immersion condensing coil, dry filter and electronic expansion valve in the preheating tank are connected with the recovery cavity of the pedal heat recovery to form a waste heat recovery subsystem; the recovery cavity of the pedal heat recovery The outlet of the body is connected with the reclaimed water treatment subsystem through pipelines.
Description
技术领域 technical field
本发明涉及一种采用资源循环利用技术的洗浴装备系统,特别是涉及一种适用于多种洗浴场所,节约洗浴资源及方便调控的生态洗浴系统。 The invention relates to a bathing equipment system adopting resource recycling technology, in particular to an ecological bathing system applicable to various bathing places, saving bathing resources and convenient for regulation. the
背景技术 Background technique
目前人们在生活中采用的洗浴方式,对资源的利用是一种粗放型的使用方式,具体如图1所示,人们的洗浴流程为:加热后得到热水,洗浴过程中人们不节制热水的使用,并且热水落地后即作为污水从排水道流走。这种洗浴方式在洗浴过程中当水温下降时,常常需要对洗浴用水采用20~45℃左右的大温差方式加热,在能源方面加热每吨洗浴水需要消耗28~55kwh左右的热能。而在淋浴过程中“混水”洗头、打肥皂、沐浴液时发生的无效放水约30%左右,这时洗浴后的落地水污染程度较低,处理再利用较容易,但却直接通过排水道与厕所等排出的污水混合后排走,这种现有的洗浴方式不但导致水、热能资源的大量浪费,且排放的污水对环境也造成一定的污染。 The current way of bathing that people use in their daily lives is an extensive use of resources. As shown in Figure 1, people’s bathing process is as follows: hot water is obtained after heating, and people do not control hot water during the bathing process. The use of hot water, and the hot water flows away from the drain as sewage. In this bathing method, when the water temperature drops during the bathing process, it is often necessary to heat the bathing water with a large temperature difference of about 20-45°C. In terms of energy, heating each ton of bathing water needs to consume about 28-55kwh of heat energy. In the process of showering, about 30% of the invalid water discharge occurs when the "mixed water" washes hair, soaps, and body washes. At this time, the pollution level of the ground water after bathing is relatively low, and it is easier to treat and reuse, but it is directly drained. The sewage discharged from the road and the toilet is mixed and then discharged. This existing bathing method not only leads to a large waste of water and heat energy resources, but also causes certain pollution to the environment due to the discharged sewage. the
目前在现有的洗浴系统中,也常使用一种利用太阳能的洗浴加热设备,这种加热设备能够很好的利用太阳能这种天然能源,很大程度上减少了对现有能源的浪费,但由于这种太阳能要靠太阳能的照射来实现对其内的水加热,按目前的洗浴能量需求,10平方米太阳能可得到的热量是24kwh,可以加热0.58吨的水,而放置0.58吨水的水箱体积较大,要占用很大的空间,由于现在城市空间资源十分有限,这种体积较大的太阳能加热设备在城市中大面积应用还存在一定的困难,且制造太阳能加热设备过程也大量消耗能量。 At present, in the existing bathing system, a kind of bathing heating equipment using solar energy is often used. This heating equipment can make good use of the natural energy of solar energy, which greatly reduces the waste of existing energy. Since this kind of solar energy depends on the irradiation of solar energy to heat the water in it, according to the current energy demand for bathing, the heat available from 10 square meters of solar energy is 24kwh, which can heat 0.58 tons of water, and a water tank with 0.58 tons of water can be placed The volume is large, and it takes up a lot of space. Due to the limited space resources in the city, it is still difficult to apply this large-scale solar heating equipment in a large area in the city, and the process of manufacturing solar heating equipment also consumes a lot of energy. .
发明内容 Contents of the invention
本发明实施方式提供一种生态洗浴系统及太阳能加热设备,该系统通过各子系统配合,对洗浴中水的余热进行回收利用,精细化的利用水、热资源,解决现有的洗浴系统浪费能源、污染环境的问题。 The embodiment of the present invention provides an ecological bathing system and solar heating equipment. Through the cooperation of various subsystems, the system recycles the waste heat of bathing water, uses water and heat resources in a refined manner, and solves the waste of energy in the existing bathing system. , The problem of polluting the environment. the
本发明的目的是通过以下技术方案实现的: The purpose of the present invention is achieved by the following technical solutions:
本发明实施方式一种生态洗浴系统,该系统包括: An embodiment of the present invention is an ecological bathing system, which includes:
加热设备、热水箱、温水箱、预热水箱、水泵、混水器、踏板式热回收器、压缩机、储液罐、第一浸泡式冷凝盘管、第二浸泡式冷凝盘管、第三浸泡式冷凝盘管、干燥过滤器和电子膨胀阀; Heating equipment, hot water tank, warm water tank, preheating water tank, water pump, water mixer, pedal heat recovery, compressor, liquid storage tank, first immersion condensing coil, second immersion condensing coil, second Triple soaker condensing coil, filter drier and electronic expansion valve;
其中,所述加热设备通过管路与热水箱连通构成加热系统; Wherein, the heating equipment is connected with the hot water tank through pipelines to form a heating system;
所述温水箱分别通过管路与热水箱和预热水箱连通,预热水箱上设有连接自来水供水管的凉水进水管,热水箱上设有热水供水口、温水箱上设有温水供水口、所述热水供水口与温水供水口分别通过热水供水管路、温水供水管路和节水器、控制阀与混水器连接构成节水供水系统; The warm water tanks are respectively communicated with the hot water tank and the preheating water tank through pipelines, the preheating water tank is provided with a cold water inlet pipe connected to the tap water supply pipe, the hot water tank is provided with a hot water supply port, and the warm water tank is provided with warm water The water supply port, the hot water supply port and the warm water supply port are respectively connected through the hot water supply pipeline, the warm water supply pipeline, the water saver, the control valve and the water mixer to form a water saving water supply system;
所述踏板式热回收器与所述混水器对应设置,踏板式热回收器的回收腔体通过管路依次与储液罐、压缩机、所述热水箱中设置的第一浸泡式冷凝盘管、所述温水箱中设置的第二浸泡式冷凝盘管、所述预热水箱中设置的第三浸泡式冷凝盘管、干燥过滤器和电子膨胀阀及踏板式热回收器的蒸发盘管连接成余热回收系统; The pedal heat recovery device is arranged correspondingly to the water mixer, and the recovery cavity of the pedal heat recovery device is sequentially connected with the liquid storage tank, the compressor, and the first immersion condenser provided in the hot water tank through pipelines. Coil, the second immersion condensing coil set in the warm water tank, the third immersion condensing coil set in the preheating water tank, dry filter and electronic expansion valve, and the evaporator of the pedal heat recovery The pipes are connected into a waste heat recovery system;
所述踏板式热回收器的回收腔体的中水排水口通过管路与中水处理系统连接。 The reclaimed water outlet of the recovery chamber of the pedal heat recovery device is connected with the reclaimed water treatment system through a pipeline. the
所述加热设备包括:太阳能热泵加热器、太阳能集热器、电加热器或锅炉加热器中的任一种。 The heating equipment includes: any one of solar heat pump heaters, solar heat collectors, electric heaters or boiler heaters. the
所述加热设备采用太阳能集热器、电加热器或锅炉加热器中的任一种时,该电加热器或锅炉加热器的热水出口通过管路及水泵与热水箱的进水口连通,热水箱的排水口通过管路经水泵与该电加热器或锅炉加热器的回水口连通。 When the heating equipment adopts any one of solar collectors, electric heaters or boiler heaters, the hot water outlet of the electric heater or boiler heater communicates with the water inlet of the hot water tank through pipelines and water pumps, The drain of the hot water tank communicates with the water return port of the electric heater or the boiler heater through a pipeline through a water pump. the
所述加热设备采用太阳能热泵加热器时,太阳能热泵加热器的蒸发式太阳能集热器的蒸发盘管出口通过管路依次与三通阀、储液罐、压缩机、第一浸泡式冷凝盘管、第二浸泡式冷凝盘管、第三浸泡式冷凝盘管、干燥过滤器、电子膨胀阀和蒸发式太阳能集热器的蒸发盘管进口连接。 When the heating equipment adopts a solar heat pump heater, the outlet of the evaporating coil of the evaporative solar heat collector of the solar heat pump heater is connected with the three-way valve, the liquid storage tank, the compressor, and the first immersion condensing coil successively through the pipeline. , second immersion condensing coil, third immersion condensing coil, filter drier, electronic expansion valve, and evaporative coil inlet connections for evaporative solar collectors. the
所述太阳能热泵加热器还包括:在所述蒸发式太阳能集热器内设有温度传感器,该温度传感器与智能控制器连接,由温度传感器、智能控制器和与智能控制器连接的三通阀构成蒸发式太阳能集热器的工作状态启动控制电路。 The solar heat pump heater also includes: a temperature sensor is arranged in the evaporative solar collector, and the temperature sensor is connected with an intelligent controller, and the temperature sensor, the intelligent controller and a three-way valve connected with the intelligent controller It constitutes the working state start control circuit of the evaporative solar heat collector. the
所述蒸发式太阳能集热器为平板式太阳能集热器,平板上开有通气孔,平板正面设置翅片,平板背面设置一腔体,所述腔体内设有蒸发盘管,蒸发盘管一端作为太阳能集热器的蒸发盘管出口,蒸发盘管另一端作为太阳能集热器的热管进口,蒸发盘管所在腔体的一端设有排风机。 The evaporative solar heat collector is a flat plate solar heat collector, the plate is provided with ventilation holes, the front of the plate is provided with fins, and the back of the plate is provided with a cavity, the cavity is provided with an evaporation coil, and one end of the evaporation coil is As the outlet of the evaporating coil of the solar collector, the other end of the evaporating coil is used as the inlet of the heat pipe of the solar collector, and one end of the cavity where the evaporating coil is located is provided with an exhaust fan. the
所述中水处理系统包括:由截止阀、毛发过滤器、气浮曝气机、多介质过滤器、反冲洗阀、消毒器和中水储水箱通过管路依次连接而成;其中,所述中水储水箱设有多个用于测定水位的水位电极、中水储水箱中连接有溢流管。 The reclaimed water treatment system includes: a cut-off valve, a hair filter, an air flotation aerator, a multimedia filter, a backwash valve, a sterilizer, and a reclaimed water storage tank are sequentially connected through pipelines; wherein, the The reclaimed water storage tank is provided with a plurality of water level electrodes for measuring the water level, and the reclaimed water storage tank is connected with an overflow pipe. the
所述踏板式热回收器具体包括:粗滤层、回收腔体、蒸发盘管和漏水底座;粗滤层设置在回收腔体上,蒸发盘管设置在回收腔体内,回收腔体底部为漏水底座。 The pedal type heat recovery device specifically includes: a coarse filter layer, a recovery cavity, an evaporation coil and a water leakage base; the coarse filter layer is arranged on the recovery cavity, the evaporation coil is arranged in the recovery cavity, and the bottom of the recovery cavity is a water leakage base. the
所述踏板式热回收器还包括:在踏板式热回收器内设置的洗浴水温度传感器,它与智能控制器连接,智能控制器连接三通阀的通路控制电路,由温度传感器、智能控制器和三通阀构成余热回收系统的工作状态启动控制电 路。 The pedal-type heat recovery device also includes: a bath water temperature sensor arranged in the pedal-type heat recovery device, which is connected to an intelligent controller, and the intelligent controller is connected to the access control circuit of the three-way valve, and the temperature sensor, the intelligent controller And the three-way valve constitutes the working state start control circuit of the waste heat recovery system. the
所述在踏板式热回收器与储液罐之间的管线上设置一用于检测回收洗浴水温度的温度传感器,该温度传感器与智能控制器连接,智能控制器与电子膨胀阀连接,共同构成调整电子膨胀阀开度的控制电路。 The pipeline between the pedal type heat recovery device and the liquid storage tank is provided with a temperature sensor for detecting and recovering the temperature of the bath water, the temperature sensor is connected with the intelligent controller, and the intelligent controller is connected with the electronic expansion valve to jointly form a The control circuit for adjusting the opening degree of the electronic expansion valve. the
由上述本发明实施方式提供的技术方案可以看出,本发明实施方式通过将加热系统与节水供水系统、余热回收系统、中水处理系统有机连接形成一套生态循环洗浴系统,其中余热回收系统与中水处理系统配合采用热交换与热泵热回收的全热热回收方式,完成对洗浴中的温度较高的落地水集中进行完全余热回收,很好的实现节能,且由于各子系统有机连接可以有效节省空间。且当本发明洗浴系统采用太阳能作为热源时,能够充分利用太阳能,当采用太阳能集热器时,热水水温大于环境温度到达每天的最大值后,太阳能集热装置的太阳能得热量至热损失,这时的太阳能无法利用。而本发明采用蒸发吸热原理的太阳能集热器,使集热板温度始终低于太阳能辐射温度,甚至低于环境温度,使太阳能热利用,不仅包括太阳能直接辐射热,还包括太阳能辐射热造成的环境空气热。太阳能集热器不再是只有在阳光下才能使用,利用率是现有的太阳能集热装置的两倍以上,为太阳能集热器瘦身创造条件;该洗浴系统大幅降低洗浴消费能量,由于无论是太阳能集热,还是洗浴能量回收制热都是利用热泵技术与计算机控制技术相结合,所以可以保证系统制热的cop值在4以上,这意味系统能耗是电热水器的1/4、燃气热水起的1/5、太阳能热水器的1/2;该系统很好的形成了水、能、空间、自然资源在洗浴过程中的高效、和谐和方便调控的生态循环链。 It can be seen from the technical solutions provided by the above-mentioned embodiments of the present invention that the embodiments of the present invention form an ecological cycle bathing system by organically connecting the heating system with the water-saving water supply system, waste heat recovery system, and reclaimed water treatment system, wherein the waste heat recovery system Cooperating with the reclaimed water treatment system, it adopts the heat exchange and heat pump heat recovery method of total heat recovery, and completes the complete waste heat recovery of the high-temperature ground water in the bath, which can achieve energy saving very well, and because the subsystems are organically connected Can effectively save space. And when the bathing system of the present invention uses solar energy as a heat source, it can make full use of solar energy. When a solar heat collector is used, the temperature of the hot water is greater than the ambient temperature and reaches the maximum value every day. At this time, solar energy cannot be used. And the present invention adopts the solar heat collector of the principle of evaporative heat absorption, so that the temperature of the heat collecting plate is always lower than the solar radiation temperature, even lower than the ambient temperature, so that the utilization of solar heat includes not only direct solar radiant heat, but also solar radiant heat. The ambient air is hot. Solar collectors are no longer only available in the sun, and the utilization rate is more than twice that of existing solar collectors, creating conditions for solar collectors to slim down; the bathing system greatly reduces bathing energy consumption, because both Both solar energy collection and bathing energy recovery heating use the combination of heat pump technology and computer control technology, so the COP value of the system heating can be guaranteed to be above 4, which means that the energy consumption of the system is 1/4 of that of electric water heaters, and that of gas heating. 1/5 of the water, 1/2 of the solar water heater; this system has formed an efficient, harmonious and conveniently regulated ecological cycle chain of water, energy, space, and natural resources in the bathing process. the
附图说明 Description of drawings
图1为现有技术提供的洗浴过程流程示意图; Fig. 1 is the bath process flow diagram that prior art provides;
图2为本发明实施例的洗浴系统的结构示意图; Fig. 2 is the structural representation of the bathing system of the embodiment of the present invention;
图3为本发明实施例的洗浴系统的洗浴过程流程示意图; Fig. 3 is the schematic flow chart of the bathing process of the bathing system of the embodiment of the present invention;
图4为本发明实施例一的洗浴系统的各部件连接的结构示意图; Fig. 4 is the structural representation of the connection of each part of the shower system of embodiment one of the present invention;
图5为本发明实施例一的蒸发式太阳能集热器的正面结构示意图; Fig. 5 is the front structural representation of the evaporative solar heat collector of embodiment one of the present invention;
图6为本发明实施例一的蒸发式太阳能集热器的侧面结构示意图; Fig. 6 is the side structure schematic diagram of the evaporative solar heat collector of embodiment one of the present invention;
图7为本发明实施例一的踏板式热回收器的结构示意图; Figure 7 is a schematic structural view of a pedal heat recovery device according to Embodiment 1 of the present invention;
图8为本发明实施例二的洗浴系统的结构示意图; Fig. 8 is the structural representation of the bathing system of embodiment two of the present invention;
图9为现有技术提供的混水处理的示意图; Fig. 9 is the schematic diagram of the mixed water treatment that prior art provides;
图10为本发明实施例提供的混水处理的示意图; Fig. 10 is the schematic diagram of the mixed water treatment that the embodiment of the present invention provides;
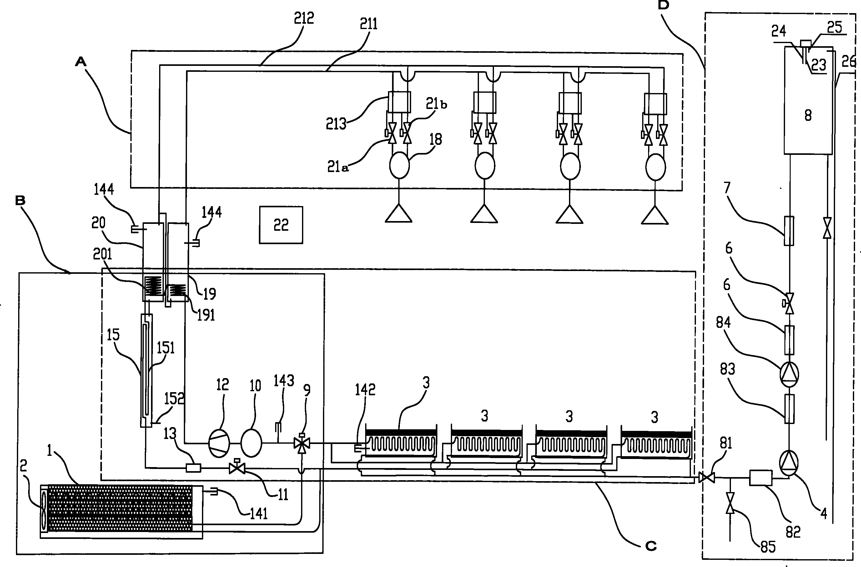
图中各标号为:1-蒸发式太阳能集热器、1-1-翅片、1-2-通气孔、1-3-蒸发盘管、1-4-腔体、1-5-平板、2-风机、3-踏板式热回收器、3-1-粗滤层、3-2-蒸发盘管、3-3-漏水底座、3-4-回收腔体、4-水泵、41-中水水泵、6-反冲洗阀、7-消毒器、8-中水储水箱、81-截止阀、82-毛发过滤器、83-气浮曝气机、84-多介质过滤器、9-三通阀、10-储液罐、11-电子膨胀阀、12-压缩机、13-干燥过滤器、14-温度传感器、141-温度传感器、142-温度传感器、143-温度传感器、144-水温检测温度传感器、15-预热水箱、151-第三浸泡式冷凝盘管、18-混水器、19-热水箱、191-第一浸泡式冷凝盘管、20-温水箱、201-第二浸泡式冷凝盘管、21a、21b-控制阀、211-热水供水管路、212-温水供水管路、213-节水器、22-智能控制器、23-水位电极、24-水位电极、25-水位电极、26-溢流管。 The labels in the figure are: 1-evaporative solar collector, 1-1-fin, 1-2-air vent, 1-3-evaporation coil, 1-4-cavity, 1-5-plate, 2-fan, 3-pedal heat recovery device, 3-1-coarse filter layer, 3-2-evaporation coil, 3-3-leakage base, 3-4-recovery cavity, 4-water pump, 41-middle Water pump, 6-backwash valve, 7-sterilizer, 8-reclaimed water storage tank, 81-stop valve, 82-hair filter, 83-air flotation aerator, 84-multimedia filter, 9-three Through valve, 10-liquid storage tank, 11-electronic expansion valve, 12-compressor, 13-dry filter, 14-temperature sensor, 141-temperature sensor, 142-temperature sensor, 143-temperature sensor, 144-water temperature detection Temperature sensor, 15-preheating water tank, 151-third immersion condensing coil, 18-water mixer, 19-hot water tank, 191-first immersion condensing coil, 20-warm water tank, 201-second Immersion condensing coil, 21a, 21b-control valve, 211-hot water supply pipeline, 212-warm water supply pipeline, 213-water saver, 22-intelligent controller, 23-water level electrode, 24-water level electrode, 25-water level electrode, 26-overflow pipe. the
具体实施方式 Detailed ways
本发明实施方式提供一种生态洗浴系统,是将加热设备与热水箱构成的加热系统、踏板式热回收器、第一浸泡式冷凝盘管、第二浸泡式冷凝盘管、第三浸泡式冷凝盘管、干燥过滤器和电子膨胀阀构成的余热回收子系统、及 热水箱、温水箱、温水供水管路、热水供水管路、节水器、控制阀和混水器构成的节水供水系统与毛发过滤器、气浮曝气机、多介质过滤器、反冲洗阀、消毒器和中水储水箱构成的中水处理系统有机连接构成的生态洗浴系统,达到对洗浴过程中的水、热能、洗浴中水实现合理化利用,达到高效、节能利用资源的目的。 The embodiment of the present invention provides an ecological bathing system, which is a heating system composed of heating equipment and a hot water tank, a pedal type heat recovery device, a first immersion type condensing coil, a second immersion type condensing coil, a third immersion type The waste heat recovery subsystem composed of condensing coil, dry filter and electronic expansion valve, and the economizer composed of hot water tank, warm water tank, warm water supply pipeline, hot water supply pipeline, water saver, control valve and water mixer The water supply system is organically connected with the reclaimed water treatment system composed of hair filter, air flotation aerator, multi-media filter, backwash valve, sterilizer and reclaimed water storage tank. Water, heat energy, and bathing water are rationally used to achieve the purpose of efficient and energy-saving utilization of resources. the
为便于理解,下面结合附图和具体实施例作进一步说明。 For ease of understanding, further description will be given below in conjunction with the accompanying drawings and specific embodiments. the
实施例一 Embodiment one
如图2所示,本发明实施例提供一种生态洗浴系统,该系统包括四部分:加热系统、节水供水系统、余热回收系统和中水处理系统,其中,余热回收系统分别与加热系统、节水供水系统和中水处理系统连接,形成洗浴系统。通过该系统可实现对水从加热、到洗浴水的余热回收等更精细化的利用,具体应用流程如图3所示, As shown in Figure 2, an embodiment of the present invention provides an ecological bathing system, which includes four parts: a heating system, a water-saving water supply system, a waste heat recovery system and a reclaimed water treatment system, wherein the waste heat recovery system is connected with the heating system, The water-saving water supply system is connected with the reclaimed water treatment system to form a bathing system. Through this system, more refined utilization of water from heating to waste heat recovery of bathing water can be realized. The specific application process is shown in Figure 3.
在上述生态洗浴系统中,所述加热系统中的作为热源的加热设备可以采用太阳能加热器、太阳能集热器、热泵加热器、电加热器或锅炉加热器中的任一种,当加热设备采用太阳能热泵加热器时,该生态洗浴系统的各部件连接关系如图4所示,具体包括:太阳能热泵加热器的蒸发式太阳能集热器1的蒸发盘管出口通过管路依次与三通阀9、储液罐10、压缩机12、第一浸泡式冷凝盘管19、第二浸泡式冷凝盘管19、第三浸泡式冷凝盘管19、干燥过滤器13、电子膨胀阀11和蒸发式太阳能集热器1的蒸发盘管进口连接。其中,所述加热器通过管路与热水箱20连通构成加热系统B;
In the above-mentioned ecological bathing system, the heating equipment as a heat source in the heating system can use any one of solar heaters, solar collectors, heat pump heaters, electric heaters or boiler heaters, when the heating equipment adopts When the solar heat pump heater is used, the connection relationship of the various components of the ecological bathing system is shown in Figure 4, which specifically includes: the outlet of the evaporation coil of the evaporative solar heat collector 1 of the solar heat pump heater is connected with the three-way valve 9 in turn through the pipeline. ,
所述温水箱20分别通过管路与热水箱19和预热水箱15连通,预热水箱15上设有连接自来水供水管的凉水进水管151,热水箱19上设有热水供水口、温水箱20上设有温水供水口、所述热水供水口与温水供水口分别通过热水供水管路211、温水供水管路212和节水器213、控制阀21a、21b与混水器18连接构成节水供水系统A;其中,混水器及与其配套的节水器、控制阀可以根据需要设置多个,并联连接在热水供水管路211和温水供水管路212上;
The
所述踏板式热回收器3与所述混水器18对应设置,踏板式热回收器3的回收腔体通过管路依次与储液罐10、压缩机12、所述热水箱19中设置的第一浸泡式冷凝盘管191、所述温水箱20中设置的第二浸泡式冷凝盘管201、所述预热水箱15中设置的第三浸泡式冷凝盘管151、干燥过滤器13和电子膨胀阀11及踏板式热回收器3的蒸发盘管连接成余热回收系统C;
The pedal
所述踏板式热回收器3的回收腔体的中水排水口通过管路81与由截止阀81、毛发过滤器82、气浮曝气机83、多介质过滤器84、反冲洗阀6、消毒器7和中水储水箱8通过管路依次连接而成的中水处理系统D连接。
The reclaimed water outlet of the recovery cavity of the pedal type
其中,蒸发式太阳能集热器1的具体结构参见图5、6,该蒸发式太阳能集热器1为平板式太阳能集热器,平板1-5上开有通气孔1-2,平板1-5正面设置翅片1-1,平板1-5背面设置一腔体1-4,所述腔体1-4内设有蒸发盘管1-3,蒸发盘管1-3一端作为太阳能集热器的热管出口,蒸发盘管1-3另一端作为太阳能集热器的热管进口,蒸发盘管1-3所在腔体1-4的一端设有排风机2。蒸发式太阳能集热器1在有阳光时温度迅速提高,设置在蒸发式太阳能集热器1内的温度传感器141检测到变化,传送给智能控制器22,智能控制器22根据其它信号经运算处理,可确定系统是否进入太阳能集热工作方式。在太阳能集热工作方式时,三通阀9关闭余热回收回路,接通蒸发式太阳能集热器1,压缩机12将高温高压气体压入第一浸泡式冷凝盘管191、第二浸泡式冷凝盘管201、第三浸泡式冷凝盘管151,热水箱19中的水温,高温高压气体遇水冷却后,经干燥过滤器13,通过电子膨胀阀11的调节变成低温低压的液体,进入蒸发式太阳能集热器1。由于工质液体蒸发温度很低,能够将太阳能全部吸收,通过低温低压饱和蒸汽送往储液罐10,再回到压缩机12。温度传感器143设置在踏板式热回收器3与储液罐10之间的管线上,用于饱 和蒸汽检测,智能控制器22与该温度传感器143连接,通过该温度传感器143的信号调整电子膨胀阀11的开度,使系统无论阳光是否充足都能高效运行。在无阳光时可打开风机2使蒸发式太阳能集热器1上的翅片吸收空气之中的能量。在图4中,144为承压水箱水温检测温度传感器,用于控制太阳能集热和热回收时对承压水箱水温的加热启动和停止。
Wherein, the specific structure of evaporative solar heat collector 1 is referring to Fig. 5, 6, and this evaporative solar heat collector 1 is flat-plate solar heat collector, has ventilation hole 1-2 on the plate 1-5, and plate 1- 5 Fins 1-1 are arranged on the front, and a cavity 1-4 is arranged on the back of the plate 1-5. The cavity 1-4 is provided with an evaporation coil 1-3, and one end of the evaporation coil 1-3 is used as a solar heat collector The heat pipe outlet of the device, the other end of the evaporation coil 1-3 is used as the heat pipe inlet of the solar collector, and the exhaust fan 2 is provided at one end of the cavity 1-4 where the evaporation coil 1-3 is located. The temperature of the evaporative solar collector 1 increases rapidly when there is sunshine, and the
其中,余热回收系统中的踏板式热回收器3由粗滤层3-1、回收腔体3-4、蒸发盘管3-2和漏水底座3-3构成;粗滤层3-1设置在回收腔体上,蒸发盘管3-2设置在回收腔体内,回收腔体底部为漏水底座3-3。粗滤层用于阻挡毛发、大颗粒污物进入回叫腔体或浸泡管式换热器,并能够使洗浴落地水以相对均匀的速度流入蒸发盘管,制造均匀换热的条件。漏水底座用于承载人体重量,上下留有放置过滤层和管式换热器的空间并将洗浴落地水即时排放或储存等待处理成中水。
Among them, the pedal type
并且在踏板式热回收器3内设置的洗浴水温度传感器142,它与智能控制器22连接,智能控制器22连接三通阀9的通路控制电路,由温度传感器142、智能控制器22和三通阀9构成余热回收系统的工作状态启动控制电路。使用该洗浴系统洗浴时,洗浴落地水通过踏板式热回收器3上的毛发过滤器3-1(粗滤器),进入踏板式热回收器3中的蒸发盘管3-2,见图7。毛发过滤器可以是一次性用品也可以是采用重复性使用材料。洗浴落地水从毛发过滤器通过将毛发及大颗粒污物拦截,洗浴落地水被延时进入蒸发式洗浴落地水踏板式热回收器3,由图7中的蒸发式盘管3-2回收洗浴落地水中能量。蒸发式洗浴落地水热回收器在有洗浴落地水时,温度传感器142检测到变化,传送给智能控制器22,智能控制器22根据其它信号经运算处理,可确定系统是否进入洗浴落地水热回收工作方式,在洗浴落地水余热回收工作方式时,三通阀9接通余热回收回路,关闭蒸发式太阳能集热器1,压缩机12将高温高压气体压入第一浸泡式冷凝盘管191、第二浸泡式冷凝盘管201、第一浸泡式冷凝盘管151,高温高压气体在冷凝盘管中经过各水箱遇水冷却后,经干燥过滤器13、通过电子膨胀阀11的调节变成低温低压的液体,进入踏板式热回收器3中的蒸发盘管3-2。
And the bath
热水供水管路211、温水供水管路212、节水器213、控制阀21a、21b、混水器18组成节能型恒温供水。在与温水箱连接的温水供水管路212供水水温在36度左右,与热水供水管路211提供的热水在50度、控制阀21a控制温水、控制阀21b控制热水、节水器213控制控制阀21a和控制阀21b采用这样结构的节水器可以同时控制温水和热水进入混水器18,节水器213控制功能及时到位,有利于节水和控制水温同时不改变管路和混水方式(即个性化水温调节),另外热水与温水混水比热水与凉水混水,热水量用的少,混水操作时间短,使用间干扰影响小,可达到节水的目的。
The hot
其中,中水处理系统对洗浴落地水在踏板式热回收器3下面收集,污水先经过毛发过滤器将毛发等大型污物阻隔,经污水泵41将污水送入气浮曝气机中,气浮曝气机在电压的作用下两个电极上析出具有强氧化和负离子特性的10-20微米的气泡,无数细小的气泡在上浮过程中与污水大面积接触同时起到了氧化杀菌和对污水中有机分子吸附絮凝达到高效净化水质的作用,再经絮凝泡沫分离后处理水由水泵42加压通过超滤膜5,开通反冲洗阀6、在消毒器7消毒后(可采用紫外、臭氧等方式)进入中水储水箱8中保存等待使用。水位电极23、25导通智能控制器22发出反冲洗指令开通反冲洗阀6,中水储水箱8的水在重力落差作用下对超滤膜5进行反冲洗将积累的污垢经中水水泵41冲入踏板式热回收器3再打开排水塞由反冲洗排污阀85放出,当水位电极23、24导通时,智能控制器22关闭反冲洗阀6。在图4中,26为非承压中水储水箱溢流管,防止在控制失效时,将水引入下水道。
Among them, the reclaimed water treatment system collects the bathing floor water under the pedal type
智能控制器通过对4个温度测量点反馈的实时温度,确定压缩机,三通阀、电子膨胀阀、风机的启动停止和位置。通过对两个水位测量点及温度测 量点反馈的信号,确定水泵、电磁阀的启动停止。 The intelligent controller determines the start, stop and position of the compressor, three-way valve, electronic expansion valve and fan through the real-time temperature fed back from the 4 temperature measurement points. The start and stop of the water pump and the solenoid valve are determined by the feedback signals from the two water level measurement points and the temperature measurement point. the
在实施例的洗浴系统中,太阳能提供不低于70%的能量。高于阳台壁挂式太阳能热水器的太阳能贡献率。又由于“10℃洗浴”使原始能源消耗下降60%。这意味着生态洗浴热水器可以比普通太阳能热水器在太阳能集热面积和水箱两个方面缩小60%时供热水能力等同。太阳能热水器“瘦身”,为太阳能在城市中的应用,创造了极好的条件。可以改变太阳能热水器,宽大笨重的外观形象。可以创造出与建筑结合为一体的很好形式和外观。污水处理技术通过过滤、絮凝、排污、消毒、储水,中水供水。使占人们生活用水三分之一的洗浴落地水,分类收集资源化处理,用小投入实现高效回收,二次利用。 In the bathing system of the embodiment, solar energy provides no less than 70% of the energy. The solar energy contribution rate is higher than that of the balcony wall-mounted solar water heater. And because of "10 ℃ bathing", the original energy consumption is reduced by 60%. This means that the ecological bathing water heater can provide the same hot water capacity when the solar heat collecting area and the water tank are reduced by 60% compared with the common solar water heater. The "slimming" of solar water heaters has created excellent conditions for the application of solar energy in cities. It can change the appearance image of the solar water heater, which is large and bulky. It can create a great form and appearance that integrates with the building. Sewage treatment technology uses filtration, flocculation, sewage discharge, disinfection, water storage, and reclaimed water for water supply. Let the bathing water, which accounts for one-third of people's domestic water, be classified and collected for resource treatment, and realize efficient recycling with a small investment for secondary use. the
本实施例洗浴系统的实质特点是将太阳能热泵热水器与热泵热回收器进行组合,太阳能热泵热水器的太阳能集热器1(太阳能、空气源蒸发器)安装于室外,用于太阳能和空气中的低品位能量的收集。热泵热回收器安装于室内,用于快速回收洗浴落地水中的热能,使之就近重复使用。三通阀切换太阳能集热器与热回收器(室内外蒸发器)的投入与退出。在自来水与混水阀低温供水管路,间放置一个低温混水阀,使低温供水管路供水水温在30度左右,其目的是使系统在热泵热回收方式时蒸发温度与冷凝温度差降到最小,系统cop值达到最大。电子膨胀阀11使系统的容量从15%-100%之间的大范围变化时,保证系统始终高效工作。智能控制器通过对4个温度测量点反馈的实时温度,确定压缩机,三通阀、电子膨胀阀、风机的启动停止和位置。通过对两个水位测量点及温度测量点反馈的信号,确定水泵、电磁阀的启动停止。该洗浴系统通过太阳能集热器1(太阳能、空气源蒸发器)采用带蜂窝型翅片金属管式结构,并可附加强迫对流风机。金属管上的金属蜂窝翅片以当地纬度为倾角在建筑物南侧安装。当有阳光时蜂窝翅片能最大限度的吸收太阳能,当无阳光时金属蜂窝翅片可大大增加与空气接触的面积。将空气中 的低品位能量吸收。
The essential feature of the bathing system in this embodiment is that the solar heat pump water heater is combined with the heat pump heat recovery device, and the solar heat collector 1 (solar energy and air source evaporator) of the solar heat pump water heater is installed outdoors for solar energy and low-temperature heating in the air. Grade energy collection. The heat pump heat recovery device is installed indoors to quickly recover the heat energy of the bathing water, so that it can be reused nearby. The three-way valve switches the input and output of the solar heat collector and the heat recovery device (indoor and outdoor evaporators). A low-temperature mixing valve is placed between the tap water and the low-temperature water supply pipeline of the mixing valve to keep the water temperature of the low-temperature water supply pipeline at about 30 degrees. The purpose is to reduce the difference between the evaporation temperature and the condensation temperature of the system in the heat pump heat recovery mode The minimum, the system cop value reaches the maximum. When the
三通阀9用于蒸发式太阳能集热器1与洗浴落地水踏板式热回收器3间分时使用时的功能转换,太阳能集热、能量回收两个功能一个压缩机12是为优化系统,降低成本采取的必要方法。
The three-way valve 9 is used for the time-sharing function conversion between the evaporative solar heat collector 1 and the bath floor water pedal
由于洗浴落地水热能被回收利用,大幅降低洗浴过程的能量消耗,其主要能源来源于太阳能、进入系统的是自来水,输出的是可用的中水,且具备节能、高效和谐,巡环使用的开放循环链特征,符合建立人与自然和谐相处的生态学理念,所以称为生态热水器。 Since the thermal energy of bathing ground water is recycled, the energy consumption in the bathing process is greatly reduced. Its main energy comes from solar energy. The characteristics of the circular chain are in line with the ecological concept of establishing a harmonious coexistence between man and nature, so it is called an ecological water heater. the
实施例二 Example two
如图8所示,本实施例提供的生态洗浴系统,其加热设备可以采用太阳能集热器、电加热器或锅炉加热器101中的任一种,为便于描述,本实施例以锅炉加热器为例进行说明,锅炉加热器21的热水出口通过管路与热水箱19的进水口连通,热水箱19的排水口通过管路、水泵4与锅炉加热器101中任一种的回水口连通;在热水箱19内设有温度传感器141,该温度传感器141与智能控制器22连接,由温度传感器141、智能控制器22和与智能控制器22连接的水泵4构成加热系统的水泵4工作状态启动控制电路。该系统的其它部件及各部件的连接关系与实施一相同。其中,加热设备也可以采用太阳能集热器或电加热器,不因此对本发明造成限制。
As shown in Figure 8, in the ecological bathing system provided by this embodiment, its heating equipment can adopt any one of solar collectors, electric heaters or
本实施例的洗浴系统,由于热源可以采用非太阳能的方式,能以更灵活的方式供热,使系统的应用范围更广,可以用在各种需要设置洗浴系统的场所。 The bathing system of this embodiment can provide heat in a more flexible manner because the heat source can be non-solar energy, so that the application range of the system is wider, and it can be used in various places where a bathing system is required. the
上述实施例一、二中洗浴系统的混水处理部分也是与现有技术一个本质区别,图9所示为现有技术的混水处理示意,其中,通过3份54℃热水与1份10℃自来水混合后得到4份43℃洗浴用水,这种混水方式最大温差44℃,与出水温差33℃操作时间长(1-3分钟),操作困难,易受冲击。用水6~20升。热水用量大。普通混水温差大混水操作时间长,使用水量由人均50升,一吨水 一般只可洗20人 The mixed water treatment part of the bathing system in the above-mentioned embodiments 1 and 2 is also an essential difference from the prior art. FIG. ℃ tap water is mixed to obtain 4 parts of 43 ℃ bathing water. The maximum temperature difference of this mixing method is 44 ℃, and the operating time is long (1-3 minutes) compared with the outlet water temperature difference of 33 ℃, which is difficult to operate and vulnerable to impact. Use 6-20 liters of water. Hot water consumption is high. Ordinary mixed water has a large temperature difference and takes a long time to operate. The amount of water used is 50 liters per person, and one ton of water can generally only wash 20 people.
图10为本发明实施例中洗浴系统的混水处理示意,其中,通过将1份54℃热水与3份39℃自来水混合后得到4份43℃洗浴用水,这种混水方式最大温差15℃,与出水温差4℃操作时间短(10-30秒),操作容易,系统温度稳定,用水1-3升。温水用量大。由于混水改变(技术型节水)和节水器(主动型节水)的应用避免了无效用水,使用水量由人均60升,降至33升1吨洗浴用水,可洗30人。 Figure 10 is a schematic diagram of the water mixing treatment of the bathing system in the embodiment of the present invention, in which, 4 parts of 43 °C bath water are obtained by mixing 1 part of 54 °C hot water with 3 parts of 39 °C tap water, and the maximum temperature difference of this mixing method is 15 ℃, with a temperature difference of 4 ℃ from the outlet water, the operation time is short (10-30 seconds), easy to operate, the system temperature is stable, and the water is 1-3 liters. Use a lot of warm water. Due to the change of mixed water (technical water saving) and the application of water saving device (active water saving), the use of water is reduced from 60 liters per capita to 33 liters per ton of bathing water, which can wash 30 people. the
综上所述,本发明实施例的生态洗浴系统充分利用太阳能,使有限的资源达到高级精细化使用的程度。实现城市生态平衡,完成自来水→加热水→热水→洗浴水→落地水→中水的水生态循环过程。 To sum up, the ecological bathing system of the embodiment of the present invention makes full use of solar energy, so that limited resources can be used in a high-level and refined manner. Realize the ecological balance of the city and complete the water ecological cycle process of tap water → heating water → hot water → bathing water → ground water → reclaimed water. the
本发明实施例采用的余热回收技术通过热交换和热泵热回收的全热热回收方式对落地水与自来水温差部分回收,制出温度为37~42℃的左右的温水和55℃左右的热水。温水用于供给太阳能加热系统的储水箱,通过太阳能继续加热,得到用于洗浴时的混水,52~60℃热水与太阳能加热后的热水用于能量储存和热水供应。 The waste heat recovery technology adopted in the embodiment of the present invention recovers part of the temperature difference between ground water and tap water through heat exchange and heat pump heat recovery, and produces warm water with a temperature of about 37-42°C and hot water with a temperature of about 55°C . Warm water is used to supply the water storage tank of the solar heating system, which is continuously heated by solar energy to obtain mixed water for bathing, and hot water at 52-60°C and hot water heated by solar energy are used for energy storage and hot water supply. the
本发明实施例的洗浴系统将太阳能制热技术、热回收技术、节水技术和水处理技术有机组合,形成了水、能、空间、自然资源服务于对人体洗浴的环节上实现了高效、和谐、健康、和自我调控的生态循环链,使节能节水节约空间原本是多元化的技术问题统一到一个完整的系统中,建立起以减量化、再利用、资源化为原则,达到低消耗低排放高效率。 The bathing system of the embodiment of the present invention organically combines solar heating technology, heat recovery technology, water-saving technology and water treatment technology to form water, energy, space, and natural resources to serve the human body to bathe and realize high efficiency and harmony , health, and self-regulating ecological cycle chain, so that energy saving, water saving, and space saving are originally diversified technical issues into a complete system, and the principles of reduction, reuse, and resource utilization are established to achieve low consumption Low emissions and high efficiency. the
以上所述,仅为本发明较佳的具体实施方式,但本发明的保护范围并不局限于此,任何熟悉本技术领域的技术人员在本发明揭露的技术范围内,可轻易想到的变化或替换,都应涵盖在本发明的保护范围之内。因此,本发明的保护范围应该以权利要求的保护范围为准。 The above is only a preferred embodiment of the present invention, but the scope of protection of the present invention is not limited thereto. Any person skilled in the art within the technical scope disclosed in the present invention can easily think of changes or Replacement should be covered within the protection scope of the present invention. Therefore, the protection scope of the present invention should be determined by the protection scope of the claims. the
Claims (10)
Priority Applications (1)
| Application Number | Priority Date | Filing Date | Title |
|---|---|---|---|
| CN2008101063708A CN101581462B (en) | 2008-05-12 | 2008-05-12 | Ecological bath system |
Applications Claiming Priority (1)
| Application Number | Priority Date | Filing Date | Title |
|---|---|---|---|
| CN2008101063708A CN101581462B (en) | 2008-05-12 | 2008-05-12 | Ecological bath system |
Publications (2)
| Publication Number | Publication Date |
|---|---|
| CN101581462A CN101581462A (en) | 2009-11-18 |
| CN101581462B true CN101581462B (en) | 2012-05-09 |
Family
ID=41363722
Family Applications (1)
| Application Number | Title | Priority Date | Filing Date |
|---|---|---|---|
| CN2008101063708A Expired - Fee Related CN101581462B (en) | 2008-05-12 | 2008-05-12 | Ecological bath system |
Country Status (1)
| Country | Link |
|---|---|
| CN (1) | CN101581462B (en) |
Families Citing this family (8)
| Publication number | Priority date | Publication date | Assignee | Title |
|---|---|---|---|---|
| WO2012057098A1 (en) * | 2010-10-27 | 2012-05-03 | オルガノ株式会社 | Water treatment system and water treatment method |
| CN104192079B (en) * | 2014-08-22 | 2016-08-17 | 张建平 | Ecological bath system |
| CN105299916A (en) * | 2015-12-02 | 2016-02-03 | 无锡职业技术学院 | Reusing device for bath water of baby rooms |
| CN105910294B (en) * | 2016-05-11 | 2018-07-31 | 广东工业大学 | A kind of phase transformation smart heat-energy recovery system |
| CN106440860A (en) * | 2016-10-28 | 2017-02-22 | 佛山顺德宸祥轩电子有限公司 | Tube-plate heat exchanger type asynchronous instant waste heat recycling device |
| CN108903731A (en) * | 2018-07-11 | 2018-11-30 | 黄惠珍 | A kind of large-scale spray equipment of automation safety |
| CN114413318A (en) * | 2022-01-28 | 2022-04-29 | 哈尔滨迪康电梯制造有限公司 | Elevator well hot-blast apparatus |
| CN115371268A (en) * | 2022-07-22 | 2022-11-22 | 合肥荣事达太阳能科技有限公司 | Energy storage type heat pipe type flat plate collector |
Citations (8)
| Publication number | Priority date | Publication date | Assignee | Title |
|---|---|---|---|---|
| US4282861A (en) * | 1977-06-28 | 1981-08-11 | Roark Charles F | Water heating system using solar energy |
| JPS5811334A (en) | 1981-07-10 | 1983-01-22 | Mitsubishi Heavy Ind Ltd | Method of supplying hot-water |
| JPS58195743A (en) | 1982-05-07 | 1983-11-15 | Matsushita Electric Ind Co Ltd | Swimming pool water heating device utilizing solar heat |
| WO1997034111A1 (en) * | 1996-03-13 | 1997-09-18 | Boehringer Volker | Modulating solar-power regulator |
| EP1281918A2 (en) * | 2001-08-04 | 2003-02-05 | Robert Bosch Gmbh | Installation for making warm water with a warm water accumulator |
| CN1865783A (en) * | 2006-06-15 | 2006-11-22 | 康树人 | Bathing waste water heat -reclaiming and solar-heating bathing device |
| CN200961908Y (en) * | 2006-05-30 | 2007-10-17 | 高师发 | Hot pump air conditioner and bathing hot water system for large bath room |
| CN201032225Y (en) * | 2007-03-18 | 2008-03-05 | 于兆谦 | Heating and bathing dual-purpose solar water heater |
-
2008
- 2008-05-12 CN CN2008101063708A patent/CN101581462B/en not_active Expired - Fee Related
Patent Citations (8)
| Publication number | Priority date | Publication date | Assignee | Title |
|---|---|---|---|---|
| US4282861A (en) * | 1977-06-28 | 1981-08-11 | Roark Charles F | Water heating system using solar energy |
| JPS5811334A (en) | 1981-07-10 | 1983-01-22 | Mitsubishi Heavy Ind Ltd | Method of supplying hot-water |
| JPS58195743A (en) | 1982-05-07 | 1983-11-15 | Matsushita Electric Ind Co Ltd | Swimming pool water heating device utilizing solar heat |
| WO1997034111A1 (en) * | 1996-03-13 | 1997-09-18 | Boehringer Volker | Modulating solar-power regulator |
| EP1281918A2 (en) * | 2001-08-04 | 2003-02-05 | Robert Bosch Gmbh | Installation for making warm water with a warm water accumulator |
| CN200961908Y (en) * | 2006-05-30 | 2007-10-17 | 高师发 | Hot pump air conditioner and bathing hot water system for large bath room |
| CN1865783A (en) * | 2006-06-15 | 2006-11-22 | 康树人 | Bathing waste water heat -reclaiming and solar-heating bathing device |
| CN201032225Y (en) * | 2007-03-18 | 2008-03-05 | 于兆谦 | Heating and bathing dual-purpose solar water heater |
Also Published As
| Publication number | Publication date |
|---|---|
| CN101581462A (en) | 2009-11-18 |
Similar Documents
| Publication | Publication Date | Title |
|---|---|---|
| CN101581462B (en) | Ecological bath system | |
| CN101718480B (en) | Heat pump unit for recycling afterheat of wastewater | |
| CN101799207B (en) | System and method for recycling waste heat of bath sewage by utilizing absorption heat pump | |
| CN104110675B (en) | A deep heat recovery device and method for boiler flue gas | |
| CN201964612U (en) | Sewage waste heat recycling heat pump water heater | |
| CN201331285Y (en) | Recovery system for waste heat of waste water | |
| CN109737487B (en) | An energy management system suitable for student dormitories that uses sewage source heat pumps to recover waste heat from domestic wastewater for heating. | |
| CN203704343U (en) | Energy-saving bathing waste heat recovery water heater unit | |
| CN201811496U (en) | Heat storage multi-stage sewage waste heat recovery heat pump system | |
| CN207295863U (en) | A kind of bathhouse heat recovery system | |
| CN203501309U (en) | Heat exchange station intelligent-control energy-saving device | |
| CN202747603U (en) | Instant heating type heat recovery hot water system | |
| CN205505179U (en) | Bathroom heating system | |
| CN208059300U (en) | Double-source heat pump thermal energy step utilizes and building integration system | |
| CN102603109B (en) | Water treatment and comprehensive utilization system of energy-saving house | |
| CN201081331Y (en) | Ecological water heater | |
| CN204198442U (en) | Sun power lithiumbromide seawater desalination system | |
| CN204071892U (en) | A kind of recovery type heat bath devices | |
| CN106152822A (en) | A kind of bathroom residual neat recovering system using direct-fired sorption type heat pump and method | |
| CN205980854U (en) | Adopt direct combustion formula to absorb bathroom waste heat recovery system of heat pump | |
| CN115307204B (en) | A solar coupling system combining bathroom wastewater and waste gas waste heat recovery | |
| CN206594511U (en) | A kind of Intelligent bathroom energy-saving control system | |
| CN201014638Y (en) | A centralized hot water supply device utilizing solar energy and heat exchangers | |
| CN110194497A (en) | Desalination plant | |
| CN210345928U (en) | Bathroom hot water supply system of solar energy coupling sewage source heat pump |
Legal Events
| Date | Code | Title | Description |
|---|---|---|---|
| C06 | Publication | ||
| PB01 | Publication | ||
| C10 | Entry into substantive examination | ||
| SE01 | Entry into force of request for substantive examination | ||
| C14 | Grant of patent or utility model | ||
| GR01 | Patent grant | ||
| TR01 | Transfer of patent right |
Effective date of registration: 20190415 Address after: 100076 Building 4-601, No. 5, Nanyuan Chengyuan District, Fengtai District, Beijing Patentee after: Beijing dragon solar energy automatic control technology Co.,Ltd. Address before: 100076 Room 601, Unit 4, Building 5, Nanyuan Chengyuan District, Fengtai District, Beijing Patentee before: Zhang Jianping |
|
| TR01 | Transfer of patent right | ||
| CF01 | Termination of patent right due to non-payment of annual fee |
Granted publication date: 20120509 |
|
| CF01 | Termination of patent right due to non-payment of annual fee |
