CN101576297B - Big supercooling degree completely fresh air air processing machine set - Google Patents
Big supercooling degree completely fresh air air processing machine set Download PDFInfo
- Publication number
- CN101576297B CN101576297B CN2009100331111A CN200910033111A CN101576297B CN 101576297 B CN101576297 B CN 101576297B CN 2009100331111 A CN2009100331111 A CN 2009100331111A CN 200910033111 A CN200910033111 A CN 200910033111A CN 101576297 B CN101576297 B CN 101576297B
- Authority
- CN
- China
- Prior art keywords
- heat exchanger
- processing unit
- unit heat
- compressor
- subcooler
- Prior art date
- Legal status (The legal status is an assumption and is not a legal conclusion. Google has not performed a legal analysis and makes no representation as to the accuracy of the status listed.)
- Expired - Fee Related
Links
Images
Landscapes
- Compression-Type Refrigeration Machines With Reversible Cycles (AREA)
Abstract
本发明机组,其室外处理单元换热器由两个平行冷凝管构成,过冷器位于室外处理单元换热器两个平行冷凝管中间;其制冷/热循环如下:制冷工况下,制冷剂经过冷凝、过冷后,送入室内送风单元换热器换热,最后回至压缩机,完成整个制冷循环过程。制热工况下,制冷剂经过压缩机至室内送风单元换热器换热,再至过冷器过冷,然后进入室外处理单元换热器,最后回至压缩机,完成整个制热循环过程。本发明制冷剂在储液器之后实现过冷,解决过冷度降低的问题。过冷器位于室外处理单元换热器两个平行冷凝管中间,能够有效利用风机中部的强力空气流场,增加系统实际过冷效果。系统的过冷度,增强了膨胀阀工作的稳定性及可靠性,提高了系统的制冷量和制冷能效比。
The unit of the present invention, its outdoor processing unit heat exchanger is composed of two parallel condensing pipes, and the subcooler is located between the two parallel condensing pipes of the outdoor processing unit heat exchanger; its refrigeration/heating cycle is as follows: under refrigeration conditions, the refrigerant After condensation and supercooling, it is sent to the heat exchanger of the indoor air supply unit for heat exchange, and finally returned to the compressor to complete the entire refrigeration cycle process. Under heating conditions, the refrigerant passes through the compressor to the heat exchanger of the indoor air supply unit for heat exchange, then to the subcooler for supercooling, then enters the heat exchanger of the outdoor processing unit, and finally returns to the compressor to complete the entire heating cycle process. The refrigerant of the present invention realizes supercooling after the liquid receiver, and solves the problem of reducing the degree of supercooling. The subcooler is located between the two parallel condensing pipes of the heat exchanger of the outdoor processing unit, which can effectively use the strong air flow field in the middle of the fan to increase the actual supercooling effect of the system. The subcooling degree of the system enhances the stability and reliability of the expansion valve, and improves the cooling capacity and energy efficiency ratio of the system.
Description
技术领域:Technical field:
本发明涉及一种全新风空气处理机组,具体说是一种大过冷度全新风空气处理机组。在该系统中,制冷剂先经过高压储液器,然后进入位于室外处理单元换热器中部的过冷器。系统可以稳定实现8℃以上的有效过冷,这有利于膨胀阀的稳定工作,提高系统制冷量,改善系统的能效比。属于建筑环境与设备工程技术领域。The invention relates to a fresh air handling unit, in particular to a fresh air handling unit with a large supercooling degree. In this system, the refrigerant passes through the high-pressure accumulator and then enters the subcooler located in the middle of the heat exchanger of the outdoor processing unit. The system can stably achieve an effective subcooling above 8°C, which is conducive to the stable operation of the expansion valve, increases the cooling capacity of the system, and improves the energy efficiency ratio of the system. It belongs to the technical field of building environment and equipment engineering.
背景技术:Background technique:
目前,直接蒸发式全新风空气处理机组绝大多数没有过冷设备,少部分系统布置有过冷器,也往往由于过冷器的位置,大大影响了系统实际的过冷效果。这样会带来一系列的问题,比如膨胀阀工作不稳定,制冷能效比(EER)不高,制冷量不够等。这些都在一定程度上影响直接蒸发式全新风空气处理机组的使用效果。At present, the vast majority of direct evaporative fresh air air handling units do not have subcooling equipment, and a small number of systems are equipped with subcoolers. The location of the subcooler often greatly affects the actual subcooling effect of the system. This will bring a series of problems, such as unstable operation of the expansion valve, low cooling energy efficiency ratio (EER), insufficient cooling capacity, etc. These all affect the use effect of the direct evaporative fresh air air handling unit to a certain extent.
发明内容:Invention content:
本发明是针对现有技术存在的缺陷,为了改善机组的运行工况,有利于膨胀阀的稳定工作,提高系统制冷量,改善系统的能效比,提出了一种大过冷度全新风空气处理机组。在该系统中,制冷剂先经过高压储液器,然后进入位于室外处理单元换热器中部的过冷器;系统可以稳定实现8℃以上的有效过冷,可以有效增加系统过冷度,改善自身运行工况;提高制冷量,改善系统制冷能效比(EER)。The present invention aims at the defects existing in the prior art. In order to improve the operating conditions of the unit, facilitate the stable operation of the expansion valve, increase the cooling capacity of the system, and improve the energy efficiency ratio of the system, a fresh air treatment system with a large supercooling degree is proposed. unit. In this system, the refrigerant first passes through the high-pressure accumulator, and then enters the subcooler located in the middle of the heat exchanger of the outdoor processing unit; the system can stably achieve an effective subcooling above 8°C, which can effectively increase the system subcooling degree and improve Self-operating conditions; increase the cooling capacity and improve the energy efficiency ratio (EER) of the system cooling.
本发明为实现发明目的所设计的大过冷度全新风空气处理机组,其结构包括压缩机、四通换向阀、室外处理单元换热器、储液器、过冷器、膨胀阀(节流阀)和室内送风单元换热器。室外处理单元换热器由两个平行冷凝管构成,过冷器位于室外处理单元换热器两个平行冷凝管中间。所述压缩机经过四通换向阀后分别连接至室外处理单元换热器和室内送风单元换热器;室外处理单元换热器经由储液器、过冷器、节流阀和室内送风单元换热器连接。其制冷/热循环如下:The large subcooling fresh air air handling unit designed by the present invention to achieve the purpose of the invention has a structure including a compressor, a four-way reversing valve, an outdoor processing unit heat exchanger, a liquid reservoir, a subcooler, an expansion valve (section Flow valve) and indoor air supply unit heat exchanger. The outdoor processing unit heat exchanger is composed of two parallel condensing pipes, and the subcooler is located between the two parallel condensing pipes of the outdoor processing unit heat exchanger. The compressor is respectively connected to the heat exchanger of the outdoor processing unit and the heat exchanger of the indoor air supply unit after passing through the four-way reversing valve; Air unit heat exchanger connection. Its cooling/heating cycle is as follows:
制冷工况下,制冷剂经过压缩机由四通换向阀至室外处理单元换热器(此时为冷凝器)冷凝,然后进入储液器,再至过冷器过冷,并通过节流阀送入室内送风单元换热器(此时为蒸发器)换热,最后制冷剂再次通过四通换向阀,回至压缩机,完成整个制冷循环过程。Under the cooling condition, the refrigerant passes through the compressor and condenses from the four-way reversing valve to the heat exchanger of the outdoor processing unit (the condenser at this time), then enters the liquid receiver, and then goes to the subcooler for subcooling, and passes through the throttling The valve is sent to the indoor air supply unit heat exchanger (evaporator at this time) for heat exchange, and finally the refrigerant passes through the four-way reversing valve again and returns to the compressor to complete the entire refrigeration cycle process.
制热工况下,制冷剂经过压缩机由四通换向阀至室内送风单元换热器换热,然后进入储液器,再至过冷器过冷,然后经节流阀进入室外处理单元换热器,最后制冷剂再次通过四通换向阀回至压缩机,完成整个制热循环过程。Under heating conditions, the refrigerant passes through the compressor from the four-way reversing valve to the heat exchanger of the indoor air supply unit for heat exchange, then enters the liquid receiver, and then goes to the subcooler for supercooling, and then enters the outdoor treatment through the throttle valve. The unit heat exchanger, and finally the refrigerant returns to the compressor through the four-way reversing valve again to complete the entire heating cycle.
本发明相对于现有技术具有如下有益效果:Compared with the prior art, the present invention has the following beneficial effects:
1、制冷剂在储液器之后实现过冷,有效解决传统的制冷剂过冷后再进入储液器,过冷度降低的问题。1. The refrigerant is supercooled after the accumulator, which effectively solves the problem that the traditional refrigerant enters the accumulator after being supercooled, and the subcooling degree is reduced.
2、过冷器位于室外处理单元换热器两个平行冷凝管中间,能够有效利用风机中部的强力空气流场,增加系统实际过冷效果。2. The subcooler is located between the two parallel condenser pipes of the heat exchanger of the outdoor processing unit, which can effectively use the strong air flow field in the middle of the fan to increase the actual supercooling effect of the system.
3、较高的系统过冷度,确保制冷剂通过膨胀阀时无气泡存在,增强了膨胀阀工作的稳定性及可靠性。3. The higher system subcooling degree ensures that no air bubbles exist when the refrigerant passes through the expansion valve, which enhances the stability and reliability of the expansion valve.
4、过冷度的增加,有效提高了系统的制冷量,改善了系统的制冷能效比(EER)。4. The increase of subcooling degree effectively increases the cooling capacity of the system and improves the cooling energy efficiency ratio (EER) of the system.
附图说明:Description of drawings:
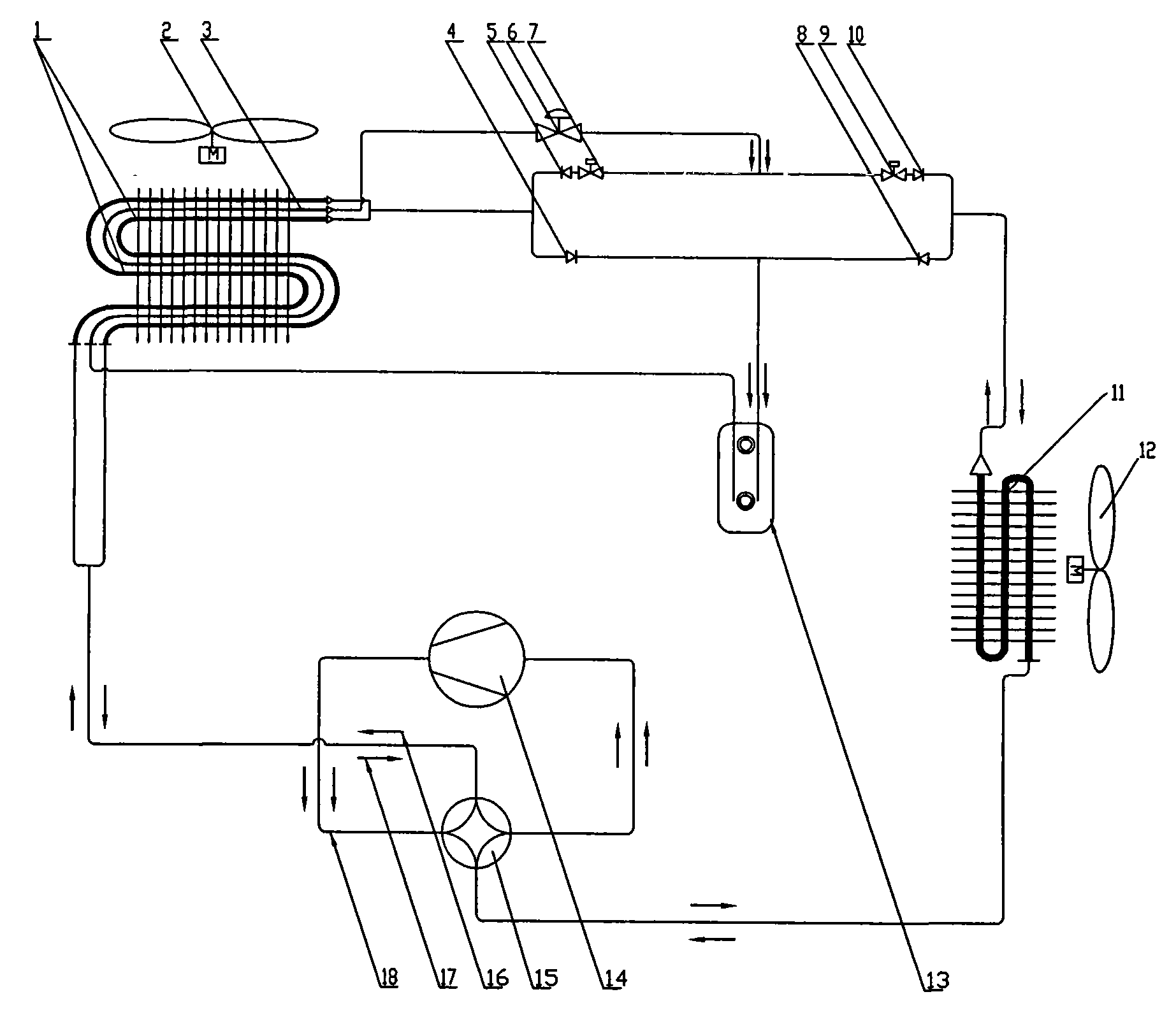
图1是本发明一种大过冷度全新风空气处理机组原理示意图。Fig. 1 is a schematic diagram of the principle of a new fresh air air handling unit with large subcooling degree according to the present invention.
具体实施方式Detailed ways
下面结合附图和实施例,对本发明作进一步详细说明。 The present invention will be described in further detail below in conjunction with the accompanying drawings and embodiments.
实施例:Example:
如图1所示,压缩机14经过四通换向阀15后分别连接至室外处理单元换热器1和室内送风单元换热器11;室外处理单元换热器1经由储液器(高压储液罐)13、过冷器3、节流阀6和室内送风单元换热器11连接;通过四通换向阀15来改变冬、夏两季的制热、制冷两种不同工况;同时在制热、制冷的不同循环中通过单向阀4、5、8、10和电磁阀7、9的截止和导通来保证管路系统按照储液器13、过冷器3和节流阀6的流程来进行工作。室外处理单元换热器1及室内送风单元换热器11上方设置风机2和风机12,用以进行换热器中热量传递的空气输送。As shown in Figure 1, the
夏季制冷工况下,制冷剂经过压缩机14由管路18连接至四通换向阀15后,按照箭头16制冷方向,通过室外处理单元换热器1(此时为冷凝器),系统其中一支路单向阀5截止,于是制冷剂只能经过另一支路导通的单向阀4,储液器13至过冷器3过冷,并通过节流阀6,配合电磁阀9的开启和单向阀10,与室内送风单元换热器11(此时为蒸发器)连接,最后制冷剂管路再次通过四通换向阀15,连接至压缩机14,完成整个制冷循环过程。In summer cooling conditions, after the refrigerant passes through the
冬季制热工况下,制冷剂经过压缩机14由管路18连接至四通换向阀15后,按照箭头17制热方向,通过室内送风单元换热器11后,此时系统其中一支路单向阀10截止,于是制冷剂只能经过另一支路导通的单向阀8,储液器6至过冷器7过冷,并通过节流阀6、配合电磁阀7的开启和单向阀5,与室外处理单元换热器1连接,最后制冷剂管路再次通过四通换向阀15,连接至压缩机14,完成整个制热循环过程。In winter heating conditions, after the refrigerant passes through the
除了适用于直接蒸发式全新风空气处理机组外,本发明可以广泛应用于其他热泵型风冷冷(热)风式蒸汽压缩制冷循环,满足用户对稳定、高效、节能制冷(热)的需要,可望产生巨大的社会效益。In addition to being applicable to direct evaporative fresh air air handling units, the present invention can be widely applied to other heat pump air-cooled cold (hot) air vapor compression refrigeration cycles to meet users' needs for stable, high-efficiency, energy-saving refrigeration (heat), It is expected to produce huge social benefits.
Claims (1)
Priority Applications (1)
| Application Number | Priority Date | Filing Date | Title |
|---|---|---|---|
| CN2009100331111A CN101576297B (en) | 2009-06-12 | 2009-06-12 | Big supercooling degree completely fresh air air processing machine set |
Applications Claiming Priority (1)
| Application Number | Priority Date | Filing Date | Title |
|---|---|---|---|
| CN2009100331111A CN101576297B (en) | 2009-06-12 | 2009-06-12 | Big supercooling degree completely fresh air air processing machine set |
Publications (2)
| Publication Number | Publication Date |
|---|---|
| CN101576297A CN101576297A (en) | 2009-11-11 |
| CN101576297B true CN101576297B (en) | 2010-08-25 |
Family
ID=41271297
Family Applications (1)
| Application Number | Title | Priority Date | Filing Date |
|---|---|---|---|
| CN2009100331111A Expired - Fee Related CN101576297B (en) | 2009-06-12 | 2009-06-12 | Big supercooling degree completely fresh air air processing machine set |
Country Status (1)
| Country | Link |
|---|---|
| CN (1) | CN101576297B (en) |
Families Citing this family (3)
| Publication number | Priority date | Publication date | Assignee | Title |
|---|---|---|---|---|
| CN102954626B (en) * | 2012-11-08 | 2015-07-08 | 南京师范大学 | Multi-branch indoor heat exchanger for synchronous heat exchange |
| CN102914089B (en) * | 2012-11-08 | 2014-10-15 | 南京师范大学 | Multi-branch outdoor heat exchanger with synchronous heat exchange function |
| CN112443679B (en) * | 2019-06-24 | 2024-02-13 | 杭州三花研究院有限公司 | thermal management system |
Citations (6)
| Publication number | Priority date | Publication date | Assignee | Title |
|---|---|---|---|---|
| CN1084266A (en) * | 1992-09-15 | 1994-03-23 | 王博 | Refrigerating heat pump hot water apparatus |
| CN2533421Y (en) * | 2001-11-09 | 2003-01-29 | 刘道军 | Condenser system with liquid-storage overcooler for double heat exchanger |
| JP2003172560A (en) * | 2001-12-04 | 2003-06-20 | Mitsubishi Electric Corp | Air conditioner |
| CN2615600Y (en) * | 2003-01-17 | 2004-05-12 | 清华同方人工环境有限公司 | Undercooling ice suppressing wind side heat exchanging apparatus |
| CN2634398Y (en) * | 2003-06-27 | 2004-08-18 | 上海合众-开利空调设备有限公司 | Super cooled frigeration power machine set |
| CN2637229Y (en) * | 2003-08-02 | 2004-09-01 | 扬州杰信车用空调有限公司 | Supercooling finned condensing device of automobile air conditioner |
-
2009
- 2009-06-12 CN CN2009100331111A patent/CN101576297B/en not_active Expired - Fee Related
Patent Citations (6)
| Publication number | Priority date | Publication date | Assignee | Title |
|---|---|---|---|---|
| CN1084266A (en) * | 1992-09-15 | 1994-03-23 | 王博 | Refrigerating heat pump hot water apparatus |
| CN2533421Y (en) * | 2001-11-09 | 2003-01-29 | 刘道军 | Condenser system with liquid-storage overcooler for double heat exchanger |
| JP2003172560A (en) * | 2001-12-04 | 2003-06-20 | Mitsubishi Electric Corp | Air conditioner |
| CN2615600Y (en) * | 2003-01-17 | 2004-05-12 | 清华同方人工环境有限公司 | Undercooling ice suppressing wind side heat exchanging apparatus |
| CN2634398Y (en) * | 2003-06-27 | 2004-08-18 | 上海合众-开利空调设备有限公司 | Super cooled frigeration power machine set |
| CN2637229Y (en) * | 2003-08-02 | 2004-09-01 | 扬州杰信车用空调有限公司 | Supercooling finned condensing device of automobile air conditioner |
Also Published As
| Publication number | Publication date |
|---|---|
| CN101576297A (en) | 2009-11-11 |
Similar Documents
| Publication | Publication Date | Title |
|---|---|---|
| CN107278253A (en) | Air energy double-stage heat pump air conditioning system | |
| CN101936616B (en) | Evaporative condensate pump circulating year-round refrigeration device | |
| CN105466091A (en) | Heat pump type air conditioner refrigerating circulating system with subcooler | |
| CN107388657B (en) | One kind compressing the regenerated Frostless air-source heat pump system of solution based on low pressure | |
| CN108759210B (en) | A defrosting system based on air source heat pump | |
| CN112325509B (en) | Intermediate cooling heat recovery triple heat supply pump system | |
| CN106225296A (en) | A kind of commutation defrosting net for air-source heat pump units and commutation Defrost method | |
| CN105716324B (en) | The double heat source high-efficiency air-conditioning system being combined based on compression injection and application | |
| CN209763527U (en) | A low-pressure bypass device for the flash barrel of an air-source screw cold water heat pump unit | |
| CN101576328B (en) | An Air Conditioner with Large Subcooling Degree | |
| CN101936614B (en) | Liquid-supplying and cold and hot water-circulating machine set of evaporative condensate pump | |
| CN101576297B (en) | Big supercooling degree completely fresh air air processing machine set | |
| CN112066583B (en) | Air conditioning unit with double heat sources and control method thereof | |
| CN206709446U (en) | A kind of efficient freezer based on ground source technology is with drying storehouse hybrid system | |
| CN101532743B (en) | Heat pump unit of air and water source double-condenser | |
| CN101975494B (en) | Air-cooled energy-saving type motor room air conditioning system | |
| CN203595316U (en) | Screw rod type total heat recovery air-cooled heat pump air conditioning unit | |
| CN201757537U (en) | Liquid-feeding circulation cold/hot water unit of evaporative condensate pump | |
| CN108278791B (en) | Air source air conditioning system with double heat storage device and defrosting method | |
| CN203964488U (en) | Adopt the air source heat pump defrosting device of hot-air evaporation initial liquid drop | |
| CN204806729U (en) | Low warm air of hydrocarbon refrigerant can heat pump set | |
| CN204006857U (en) | A kind of antifrost device of air source heat pump | |
| CN207729867U (en) | A kind of cold and hot combination heat pump drying space cooling system | |
| CN202993422U (en) | Energy-saving and air-cooled air conditioner | |
| CN201757534U (en) | Circulation and year-round refrigeration device of evaporative condensate pump |
Legal Events
| Date | Code | Title | Description |
|---|---|---|---|
| C06 | Publication | ||
| PB01 | Publication | ||
| C10 | Entry into substantive examination | ||
| SE01 | Entry into force of request for substantive examination | ||
| C14 | Grant of patent or utility model | ||
| GR01 | Patent grant | ||
| C17 | Cessation of patent right | ||
| CF01 | Termination of patent right due to non-payment of annual fee |
Granted publication date: 20100825 Termination date: 20110612 |
