CN101551016A - Shaft sealing device for high-temperature pressure-proof star-type feeder - Google Patents
Shaft sealing device for high-temperature pressure-proof star-type feeder Download PDFInfo
- Publication number
- CN101551016A CN101551016A CNA2009100844786A CN200910084478A CN101551016A CN 101551016 A CN101551016 A CN 101551016A CN A2009100844786 A CNA2009100844786 A CN A2009100844786A CN 200910084478 A CN200910084478 A CN 200910084478A CN 101551016 A CN101551016 A CN 101551016A
- Authority
- CN
- China
- Prior art keywords
- lip seal
- seal
- shaft
- shaft sleeve
- pressure
- Prior art date
- Legal status (The legal status is an assumption and is not a legal conclusion. Google has not performed a legal analysis and makes no representation as to the accuracy of the status listed.)
- Granted
Links
Images
Landscapes
- Sealing Devices (AREA)
Abstract
本发明提供了一种高温耐压星型给料机的轴密封装置,在轴密封处采用机械密封和气密封相结合,包括转动轴4、高耐磨轴套3、第一唇密封1、第二唇密封2和壳体5,在干性颗粒状介质的气力输送装置中,本发明的技术方案可保证在一定的压力(0.6MPa)及温度(最高300℃)下,延长轴端密封装置的使用寿命及提高其性能。
The invention provides a shaft sealing device of a high-temperature and pressure-resistant star feeder. The shaft seal adopts a combination of a mechanical seal and an air seal, including a rotating shaft 4, a high wear-resistant shaft sleeve 3, a first lip seal 1, and a second lip seal. Two-lip seal 2 and housing 5, in the pneumatic conveying device of dry granular medium, the technical solution of the present invention can ensure that the shaft end sealing device can be extended under a certain pressure (0.6MPa) and temperature (up to 300°C). service life and improve its performance.
Description
技术领域 technical field
本发明属于粉状或颗粒状物料气力输送领域,特别涉及一种高温耐压星型给料机的轴密封装置。The invention belongs to the field of pneumatic conveying of powdery or granular materials, in particular to a shaft sealing device of a high-temperature and pressure-resistant star feeder.
背景技术 Background technique
电力行业锅炉底渣(干渣)在经过钢带输送机及二级碎渣机破碎后粒度控制在5mm以内,输运至设置于炉侧的缓冲仓,然后通过气力输送系统输送至设置于远端的渣仓内。因渣的料度较大且流动性较差,当瞬时进入管道内的渣过多时会造成输送困难,因此在输送装置的出料口(也即输送管道入口)设置星形给料机以实现均匀给料。所输送的碎渣介质工作温度为300度左右,最高冲击温度瞬时可达350度左右,介质压力最大可至0.6MPa左右。如图2所示现有技术的高温耐压星型给料机的轴端密封装置是在轴封处采用气密封与盘根组合密封,气密封置于靠近介质侧,盘根在轴运转时对轴产生磨损,在密封气的作用下在轴与盘根间会形成间隙,从而导致密封破坏,介质泄漏,在气灰混合物的作用下对轴的磨损加剧,因此现有技术的密封寿命短,并且耐温及承压方面均不能满足要求。Boiler bottom slag (dry slag) in the electric power industry is crushed by a steel belt conveyor and a secondary slag crusher, and the particle size is controlled within 5mm. In the slag bin at the end. Due to the large material size and poor fluidity of the slag, when there is too much slag entering the pipeline instantaneously, it will cause difficulty in transportation. Therefore, a star feeder is installed at the discharge port of the conveying device (that is, the entrance of the conveying pipeline) to realize Feed evenly. The operating temperature of the conveyed slag medium is about 300 degrees, the highest impact temperature can reach about 350 degrees instantaneously, and the maximum medium pressure can reach about 0.6MPa. As shown in Figure 2, the shaft end sealing device of the high-temperature and pressure-resistant star feeder in the prior art adopts a combined seal of an air seal and a packing at the shaft seal. Wear on the shaft, under the action of the sealing gas, a gap will be formed between the shaft and the packing, resulting in seal damage, medium leakage, and increased wear on the shaft under the action of the air-ash mixture, so the sealing life of the prior art is short , and the temperature and pressure aspects can not meet the requirements.
如图1所示,现有技术的高温耐压星型给料机的轴端密封装置密封寿命短,约为10天左右就需要更换密封配件,检修维护量大,且一旦碎渣介质泄漏对锅炉房环境影响较大,并且更换一次轴端密封密封配件的时间最快也需要1小时,此时锅炉的输渣系统需要停止运行,对所运行的电力系统出力造成很大的影响,并且现有的轴端密封装置的耐高温及承压方面的性能也均不能满足工业运行的要求。给料机经常因大颗粒的碎渣介质进入轴端密封装置的间隙而卡住。As shown in Figure 1, the shaft end sealing device of the prior art high-temperature and pressure-resistant star feeder has a short sealing life, and the sealing parts need to be replaced in about 10 days. The environmental impact of the boiler room is relatively large, and the fastest time to replace the shaft end seal and sealing parts is 1 hour. The high temperature resistance and pressure bearing performance of some shaft end sealing devices cannot meet the requirements of industrial operation. The feeder is often stuck due to large particles of slag media entering the gap of the shaft end seal.
因此,本发明的目的是解决现有技术的轴端密封装置寿命过短、耐高温和耐压性能不足的问题。并且因为输送的碎渣介质为气体和固体的混合物,一般的机械密封均需要进行液体冷却,不能满足电力系统高温耐压星型给料机的工况要求,而本发明的高温耐压星型给料机的轴端密封装置在不需要液体冷却的情况下可完全满足设备对耐高温及耐压性的要求。本发明的轴端密封装置采用新型密封结构,在工作温度为300℃时可承受的介质压力为0.6MP。并且本发明的轴端密封装置采用机械密封与气密封相结合,无须液体润滑及冷却,工作温度可达300℃,瞬时冲击温度可达350℃,其寿命可达一年。Therefore, the object of the present invention is to solve the problems of the prior art shaft end sealing device having too short service life, insufficient high temperature resistance and pressure resistance. And because the conveyed slag medium is a mixture of gas and solid, general mechanical seals need to be cooled by liquid, which cannot meet the working conditions of high-temperature and pressure-resistant star feeders in power systems. However, the high-temperature and pressure-resistant star feeder of the present invention The shaft end sealing device of the feeder can fully meet the requirements of the equipment for high temperature resistance and pressure resistance without liquid cooling. The shaft end sealing device of the present invention adopts a new type of sealing structure, and the medium pressure it can withstand is 0.6MP when the working temperature is 300°C. And the shaft end sealing device of the present invention adopts the combination of mechanical seal and air seal, without liquid lubrication and cooling, the working temperature can reach 300°C, the instantaneous impact temperature can reach 350°C, and its service life can reach one year.
发明内容 Contents of the invention
本发明提出了一种高温耐压星型给料机的轴密封装置及方法,在轴密封处采用机械密封和气密封相结合,其特征在于包括转动轴、高耐磨轴套、第一唇密封、第二唇密封和壳体,转动轴和轴套之间通过O形圈密封,在所述轴套上装有两处密封:第一唇密封及第二唇密封,其与轴套的密封为动密封,在所述第一唇密封和第二唇密封之间形成有气压室,在给料机工作时对所述气压室内不断地充入气体以形成密封压力,所述密封气体由专用的气体源提供,所述密封气体的压力大于给料机碎渣介质侧的气压压力,给料机工作时靠近碎渣介质侧的第一唇密封在密封气体的压力与碎渣介质侧气压压差的作用下在轴套与第一唇密封之间形成充气间隙,从而保证第一唇密封与轴套之间不会进入碎渣介质,从而不会对第一唇密封和轴套的表面造成磨损,相对于第一唇密封远离碎渣介质侧的第二唇密封在密封气体的密封压力作用下与轴套紧密贴合,从而保证碎渣介质和密封气体不会泄漏,在转动轴与第一唇密封和第二唇密封之间设置高耐磨轴套。The invention proposes a shaft sealing device and method for a high-temperature and pressure-resistant star feeder. The shaft seal adopts a combination of a mechanical seal and an air seal, and is characterized in that it includes a rotating shaft, a high wear-resistant shaft sleeve, and a first lip seal. , the second lip seal and the housing, the rotating shaft and the shaft sleeve are sealed by an O-ring, and there are two seals on the shaft sleeve: the first lip seal and the second lip seal, and the seal with the shaft sleeve is Dynamic seal, an air pressure chamber is formed between the first lip seal and the second lip seal, and the air pressure chamber is continuously filled with gas to form a sealing pressure when the feeder is working, and the sealing gas is provided by a special Provided by a gas source, the pressure of the sealing gas is greater than the air pressure on the crushed slag medium side of the feeder. When the feeder is working, the first lip close to the crushed slag medium side is sealed at the pressure difference between the pressure of the sealing gas and the crushed slag medium side. Under the action of the action, an air-filled gap is formed between the shaft sleeve and the first lip seal, so as to ensure that no debris medium enters between the first lip seal and the shaft sleeve, so that the surface of the first lip seal and the shaft sleeve will not be worn , relative to the first lip seal, the second lip seal on the side away from the slag medium is in close contact with the shaft sleeve under the sealing pressure of the sealing gas, so as to ensure that the slag medium and sealing gas will not leak. A high wear-resistant sleeve is set between the lip seal and the second lip seal.
其中,所述气压室的外侧设置有至少两个气密封孔,用于从气体源向气压室内充入气体。Wherein, at least two airtight holes are provided on the outside of the air pressure chamber for filling gas into the air pressure chamber from a gas source.
其中,所述高耐磨轴套采用高耐磨合金材料制造。Wherein, the high wear-resistant bushing is made of high wear-resistant alloy material.
其中,所述第一唇密封和第二唇密封采用耐高温的改性四氟材料制造。Wherein, the first lip seal and the second lip seal are made of high temperature resistant modified tetrafluorocarbon material.
本发明的有益效果是:本发明的高温耐压星型给料机的轴端密封装置及方法的最高耐压可达0.6MPa,其易损件寿命可实现一年内免维护,轴密封处的最高耐温在无冷却的情况下可达300摄氏度。The beneficial effects of the present invention are: the maximum pressure resistance of the shaft end sealing device and method of the high temperature and pressure resistant star feeder of the present invention can reach 0.6 MPa, and the life of its wearing parts can be maintenance-free within one year, and the shaft seal The highest temperature resistance can reach 300 degrees Celsius without cooling.
附图说明 Description of drawings
下面结合附图对本发明进一步说明。The present invention will be further described below in conjunction with the accompanying drawings.
图1是现有技术中高温耐压星型给料机轴密封装置的结构示意图,其中,1-壳体,2-气密封环,3-盘根,4-气密封孔,5-盘根压盖,6-轴;Fig. 1 is a structural schematic diagram of the shaft sealing device of a high-temperature and pressure-resistant star feeder in the prior art, in which, 1-housing, 2-air sealing ring, 3-packing, 4-air sealing hole, 5-packing Gland, 6-axis;
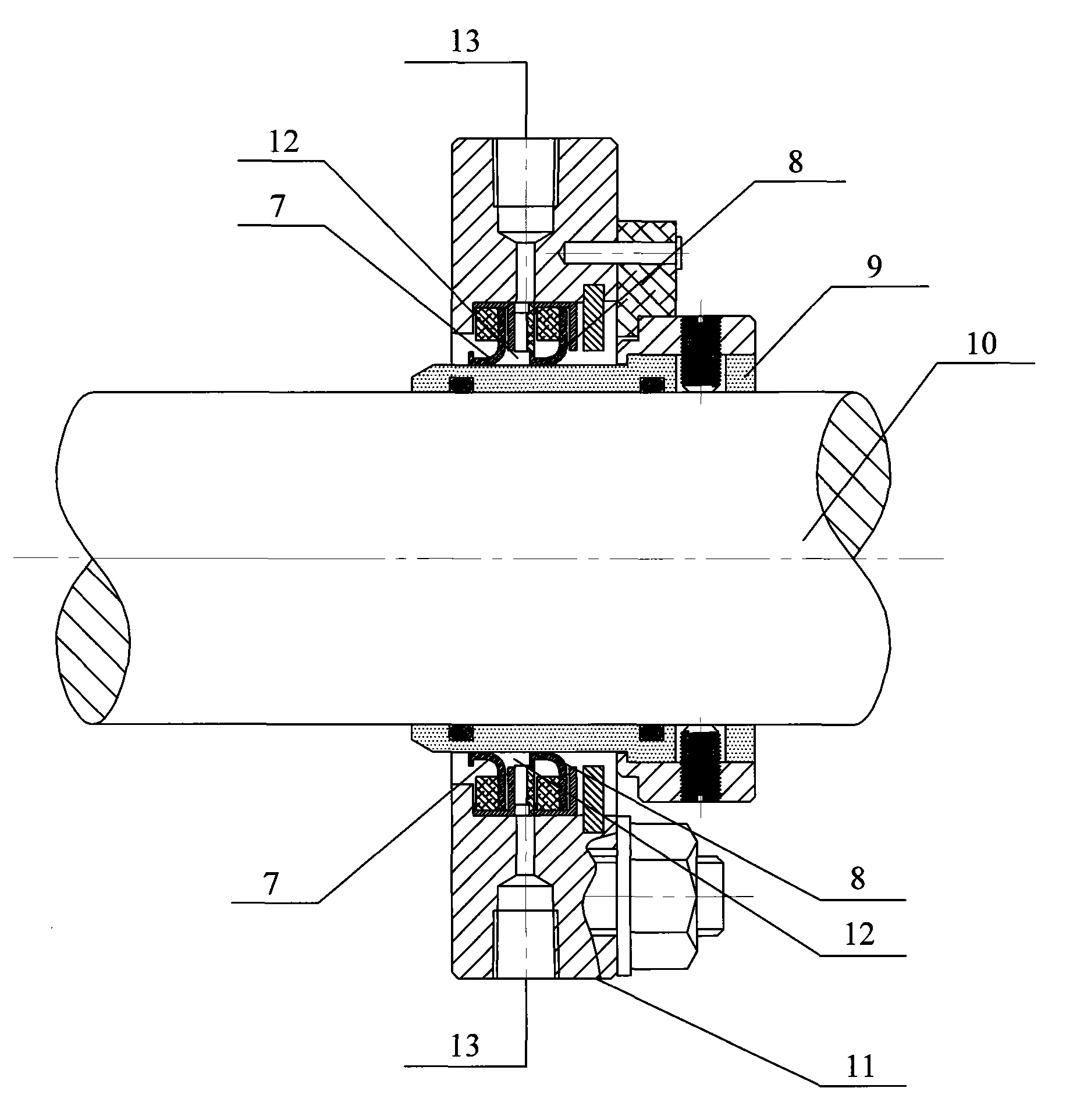
图2是本发明的高温耐压星型给料机轴密封装置的结构示意图,其中,7-第一唇密封,8-第二唇密封,9-轴套,10-转动轴,11-壳体,12-气压室,13-气密封孔。Fig. 2 is a structural schematic diagram of the high temperature and pressure resistant star feeder shaft sealing device of the present invention, wherein, 7-first lip seal, 8-second lip seal, 9-shaft sleeve, 10-rotating shaft, 11-shell Body, 12-pressure chamber, 13-airtight hole.
具体实施方式 Detailed ways
结合图1为本发明的高温耐压星型给料机轴密封装置的结构示意图,转动轴10为主传动轴,在其上装有高耐磨轴套9,高耐磨轴套9采用高耐磨合金材料制造,例如可以是碳化硅复合SS316L,轴10和轴套9两部件间通过O形圈密封,在轴套9上装有两处密封:第一唇密封7及第二唇密封8,其与轴套9的密封为动密封,在第一唇密封7与第二唇密封8之间设有两处气密封孔13。In conjunction with Fig. 1, it is a schematic structural view of the high-temperature and pressure-resistant star feeder shaft sealing device of the present invention. Made of grinding alloy material, such as silicon carbide composite SS316L, the
在气力输渣系统中,采用本装置的给料机入口安装于输送罐的出口,出口下安装输送管道,实测输送罐内炉底渣温为300℃,最高冲击温度为350℃,输送压缩空气气压为0.5MPa,密封气压力为0.6MPa,转子转速为46rpm,效果较好。In the pneumatic slag conveying system, the inlet of the feeder using this device is installed at the outlet of the conveying tank, and the conveying pipeline is installed under the outlet. The actual temperature of the bottom slag in the conveying tank is 300°C, and the maximum impact temperature is 350°C. The air pressure is 0.5MPa, the sealing gas pressure is 0.6MPa, and the rotor speed is 46rpm, the effect is better.
此处已经根据特定的示例性实施例对本发明进行了描述。对本领域的技术人员来说在不脱离本发明的范围下进行适当的替换或修改将是显而易见的。示例性的实施例仅仅是例证性的,而不是对本发明的范围的限制,本发明的范围由所附的权利要求定义。The invention has been described herein in terms of specific exemplary embodiments. Appropriate substitutions or modifications will be apparent to those skilled in the art without departing from the scope of the present invention. The exemplary embodiments are illustrative only, and not limiting of the scope of the invention, which is defined by the appended claims.
Claims (4)
Priority Applications (1)
| Application Number | Priority Date | Filing Date | Title |
|---|---|---|---|
| CN2009100844786A CN101551016B (en) | 2009-05-19 | 2009-05-19 | Shaft sealing device for high-temperature pressure-proof star-type feeder |
Applications Claiming Priority (1)
| Application Number | Priority Date | Filing Date | Title |
|---|---|---|---|
| CN2009100844786A CN101551016B (en) | 2009-05-19 | 2009-05-19 | Shaft sealing device for high-temperature pressure-proof star-type feeder |
Publications (2)
| Publication Number | Publication Date |
|---|---|
| CN101551016A true CN101551016A (en) | 2009-10-07 |
| CN101551016B CN101551016B (en) | 2011-11-30 |
Family
ID=41155416
Family Applications (1)
| Application Number | Title | Priority Date | Filing Date |
|---|---|---|---|
| CN2009100844786A Active CN101551016B (en) | 2009-05-19 | 2009-05-19 | Shaft sealing device for high-temperature pressure-proof star-type feeder |
Country Status (1)
| Country | Link |
|---|---|
| CN (1) | CN101551016B (en) |
Cited By (9)
| Publication number | Priority date | Publication date | Assignee | Title |
|---|---|---|---|---|
| WO2012037893A1 (en) * | 2010-09-25 | 2012-03-29 | 北京清大天一科技有限公司 | Stirring-type animal cell culture bioreactor and method of sealing same |
| CN102644755A (en) * | 2012-04-25 | 2012-08-22 | 蓝星沈阳轻工机械设计研究所 | Sealing structure of rotating shaft of powder feeder |
| CN102900844A (en) * | 2012-10-08 | 2013-01-30 | 江苏华青流体科技有限公司 | Lip-shaped sealing device |
| CN107900369A (en) * | 2017-12-12 | 2018-04-13 | 西安汉仁精密机械有限公司 | A kind of bar support ring of fuel pulverizing plant |
| CN110017376A (en) * | 2018-09-10 | 2019-07-16 | 衡水威达橡塑有限公司 | A kind of sealing ring and ductile iron pipe pressure testing sealing frock |
| CN111022651A (en) * | 2019-12-02 | 2020-04-17 | 东方电气集团东方汽轮机有限公司 | Shaft end sealing structure and method |
| CN112283354A (en) * | 2020-11-16 | 2021-01-29 | 宁波方力密封件有限公司 | A sealing device and its application |
| CN116480780A (en) * | 2023-04-18 | 2023-07-25 | 浙江珂勒曦动力设备股份有限公司 | Combined sealing device |
| CN117625254A (en) * | 2024-01-10 | 2024-03-01 | 北京瑞德克气力输送技术股份有限公司 | A high-pressure quantitative feeder for biomass gasification furnace |
-
2009
- 2009-05-19 CN CN2009100844786A patent/CN101551016B/en active Active
Cited By (10)
| Publication number | Priority date | Publication date | Assignee | Title |
|---|---|---|---|---|
| WO2012037893A1 (en) * | 2010-09-25 | 2012-03-29 | 北京清大天一科技有限公司 | Stirring-type animal cell culture bioreactor and method of sealing same |
| CN102644755A (en) * | 2012-04-25 | 2012-08-22 | 蓝星沈阳轻工机械设计研究所 | Sealing structure of rotating shaft of powder feeder |
| CN102644755B (en) * | 2012-04-25 | 2015-10-21 | 蓝星沈阳轻工机械设计研究所 | A kind of sealing configuration of powder feeder running shaft |
| CN102900844A (en) * | 2012-10-08 | 2013-01-30 | 江苏华青流体科技有限公司 | Lip-shaped sealing device |
| CN107900369A (en) * | 2017-12-12 | 2018-04-13 | 西安汉仁精密机械有限公司 | A kind of bar support ring of fuel pulverizing plant |
| CN110017376A (en) * | 2018-09-10 | 2019-07-16 | 衡水威达橡塑有限公司 | A kind of sealing ring and ductile iron pipe pressure testing sealing frock |
| CN111022651A (en) * | 2019-12-02 | 2020-04-17 | 东方电气集团东方汽轮机有限公司 | Shaft end sealing structure and method |
| CN112283354A (en) * | 2020-11-16 | 2021-01-29 | 宁波方力密封件有限公司 | A sealing device and its application |
| CN116480780A (en) * | 2023-04-18 | 2023-07-25 | 浙江珂勒曦动力设备股份有限公司 | Combined sealing device |
| CN117625254A (en) * | 2024-01-10 | 2024-03-01 | 北京瑞德克气力输送技术股份有限公司 | A high-pressure quantitative feeder for biomass gasification furnace |
Also Published As
| Publication number | Publication date |
|---|---|
| CN101551016B (en) | 2011-11-30 |
Similar Documents
| Publication | Publication Date | Title |
|---|---|---|
| CN201416642Y (en) | A shaft sealing device for a high-temperature and pressure-resistant star feeder | |
| CN101551016A (en) | Shaft sealing device for high-temperature pressure-proof star-type feeder | |
| CN205078455U (en) | Composite seal formula sediment stuff pump | |
| CN204872903U (en) | Atmoseal formula high pressure rotary feeder | |
| CN202531472U (en) | Single-stage double-suction axially split pump | |
| CN204512422U (en) | A kind of novel slurry dryer shaft end seal device | |
| CN108343779A (en) | Millstone type material conveying valve containing spring-actuated sealing ring | |
| CN203836227U (en) | Labyrinth airflow seal | |
| CN102588602B (en) | centrifuge bearing composite sealing device | |
| CN102235369B (en) | Centrifugal pump | |
| CN201605007U (en) | Impeller feeder | |
| CN205226427U (en) | Double containment rotation type material valve | |
| CN202203122U (en) | Centrifugal pump | |
| CN203332853U (en) | Deviated feeder capable of conducting peripheral end dynamic compensation and sealing | |
| CN203379962U (en) | Improved structure of grinding roller sealing frame | |
| CN202440133U (en) | Barotropic air lock | |
| CN206787268U (en) | An adjustment device for dynamic and static ring seals of a rotary drying furnace | |
| CN201404832Y (en) | A new type of ore feeding pipe for ball mill | |
| CN109867143A (en) | A kind of light gas power continuous conveying system altogether that is situated between | |
| CN203255738U (en) | Novel air chamber sealing rotary feeder of rotary shaft | |
| CN210906411U (en) | A coal gasification rod mill end cover sealing structure | |
| CN204038619U (en) | A kind of electric lock pneumatic device | |
| CN206458821U (en) | A kind of medium-speed pulverizer lower frame sealing ring | |
| CN202580029U (en) | High-pressure sealing structure for rotary water delivery device | |
| CN209385658U (en) | A kind of dry-type encapsulated device for twin-screw dry powder pump |
Legal Events
| Date | Code | Title | Description |
|---|---|---|---|
| C06 | Publication | ||
| PB01 | Publication | ||
| C10 | Entry into substantive examination | ||
| SE01 | Entry into force of request for substantive examination | ||
| C14 | Grant of patent or utility model | ||
| GR01 | Patent grant |
